CN201565026U - Elastic Parallel Bar Exercise Rack - Google Patents
Elastic Parallel Bar Exercise Rack Download PDFInfo
- Publication number
- CN201565026U CN201565026U CN2009202911352U CN200920291135U CN201565026U CN 201565026 U CN201565026 U CN 201565026U CN 2009202911352 U CN2009202911352 U CN 2009202911352U CN 200920291135 U CN200920291135 U CN 200920291135U CN 201565026 U CN201565026 U CN 201565026U
- Authority
- CN
- China
- Prior art keywords
- spring
- steel column
- connecting rod
- welded
- hands
- Prior art date
- Legal status (The legal status is an assumption and is not a legal conclusion. Google has not performed a legal analysis and makes no representation as to the accuracy of the status listed.)
- Expired - Fee Related
Links
- 229910000831 Steel Inorganic materials 0.000 claims abstract description 13
- 239000010959 steel Substances 0.000 claims abstract description 13
- 230000009191 jumping Effects 0.000 abstract 1
- 210000001364 upper extremity Anatomy 0.000 description 11
- 210000003205 muscle Anatomy 0.000 description 7
- 206010033425 Pain in extremity Diseases 0.000 description 2
- 208000027418 Wounds and injury Diseases 0.000 description 2
- 230000017531 blood circulation Effects 0.000 description 2
- 230000006378 damage Effects 0.000 description 2
- 208000014674 injury Diseases 0.000 description 2
- 208000006820 Arthralgia Diseases 0.000 description 1
- 208000008035 Back Pain Diseases 0.000 description 1
- 229910001018 Cast iron Inorganic materials 0.000 description 1
- 206010033799 Paralysis Diseases 0.000 description 1
- 208000019804 backache Diseases 0.000 description 1
- 230000009286 beneficial effect Effects 0.000 description 1
- 230000007812 deficiency Effects 0.000 description 1
- 201000010099 disease Diseases 0.000 description 1
- 208000037265 diseases, disorders, signs and symptoms Diseases 0.000 description 1
- 230000000694 effects Effects 0.000 description 1
- 230000001225 therapeutic effect Effects 0.000 description 1
Images
Landscapes
- Rehabilitation Tools (AREA)
Abstract
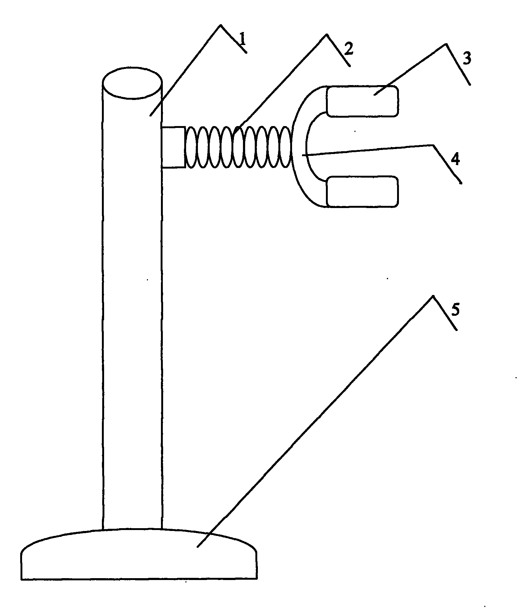
一种弹性双杠练习架,属于体育运动健身器材领域。在弹簧(2)的一端焊接到钢立柱(1)的上方,另一端焊接到半圆形连接杆(4)的中间,在半圆形连接杆(4)的两头按上海绵握手(3),将钢立柱(1)的下端插入到底座(5)中。使用时人面对或背对器械站立,双手握住海绵握手后人体跳起后可进行手臂的前后屈伸、摆起等动作练习。本实用新型结构简单,体积小、不受场地和时间限制搬运方便,容易操作,适用范围广泛,是学校及家庭必备的健身器械。
An elastic parallel bars exercise rack belongs to the field of sports fitness equipment. One end of the spring (2) is welded to the top of the steel column (1), the other end is welded to the middle of the semicircular connecting rod (4), and the two ends of the semicircular connecting rod (4) are pressed with sponge to shake hands (3) , Insert the lower end of the steel column (1) into the base (5). When using it, the person stands facing or facing away from the apparatus, holds the sponge with both hands and shakes hands, and after jumping up, the human body can perform exercises such as forward and backward flexion, extension, and swing of the arm. The utility model has the advantages of simple structure, small volume, convenient transportation without limitation of place and time, easy operation and wide application range, and is a necessary fitness equipment for schools and families.
Description
技术领域technical field
本实用新型涉及一种弹性双杠练习架,属于体育运动健身器材领域。The utility model relates to an elastic parallel bars exercise frame, which belongs to the field of sports fitness equipment.
技术背景technical background
随着全民健身运动的开展,有许多人利用各种健身器械进行体育锻炼,由于受到场地和器械的限制满足不了这种愿望。目前虽然有许多健身器材,但对于上部躯干以上锻炼的健身器械还比较少,该实用新型是一种利用较短的时间进行上体肢体锻炼,既可以节省时间,又可以起到锻炼身体,以满足人们的生活要求。Along with carrying out of the nationwide fitness campaign, many people utilize various body building apparatuses to carry out physical exercise, owing to being subjected to the restriction of place and apparatus can't satisfy this desire. Although there are many fitness equipments at present, there are still few fitness equipments for exercising above the upper trunk. Meet people's living requirements.
体育锻炼由于受场地器械的限制,有许多运动员在训练中经常发生受伤现象,重者瘫痪,轻者腰酸腿疼,给运动生涯带来许多不便。该弹性双杠练习架能给运动员在训练中带来辅助的练习效果。也可以在家庭和办公娱乐场所使用,是学校及家庭必备的健身器械。Due to the limitation of venues and equipment in physical exercise, many athletes often suffer from injuries during training. The serious ones are paralyzed, and the mild ones have backache and leg pain, which brings a lot of inconvenience to sports career. The elastic parallel bars exercise rack can bring auxiliary exercise effect to athletes in training. It can also be used in home and office entertainment places, and it is a necessary fitness equipment for schools and families.
实用新型内容Utility model content
根据以上现有技术中的不足,本实用新型所要解决的技术问题是:提供一种结构简单,操作实用,不受场地和时间限制的弹性双杠练习架。According to the deficiencies in the prior art above, the technical problem to be solved by the utility model is: to provide an elastic parallel bars exercise frame with simple structure, practical operation, and not limited by the place and time.
本实用新型解决其技术问题所采用的技术方案是:该弹性双杠练习架,其特征在于:包括弹簧、钢立柱、底座。在弹簧的一端焊接到钢立柱的上方,另一端焊接到半圆形连接杆的中间。在半圆形连接杆的两头按上海绵握手。将钢立柱的下端插入到底座中。The technical solution adopted by the utility model to solve the technical problem is: the elastic parallel bar exercise frame is characterized in that it includes a spring, a steel column and a base. One end of the spring is welded to the top of the steel column, and the other end is welded to the middle of the semicircular connecting rod. Press the sponge on both ends of the semicircular connecting rod to shake hands. Insert the lower end of the steel post into the base.
使用时:人面对或背对器械站立,双手握住海绵握手,人体跳起后可进行手臂的前后屈伸、摆起等动作练习。利用人体上肢肌肉力量用力向上、向下压弹簧,让弹簧伸张,弹簧伸张越长,人体上肢肌肉通过往返上下交替运动就会加大,以增强上肢肌肉的力量。When in use: People stand facing or facing away from the equipment, hold the sponge with both hands to shake hands, and after the human body jumps up, they can perform exercises such as forward and backward flexion, extension and swing of the arm. Utilize the muscle power of the upper limbs to press the spring upwards and downwards to let the spring stretch. The longer the spring stretches, the upper limb muscles will be strengthened through alternating up and down movements to enhance the strength of the upper limb muscles.
与现有技术相比,本实用新型所具有的有益效果是:通过在钢立柱上安装弹簧,人通过在半圆形连接杆上练习,安全系数较大,不易发生伤害事故。该弹性双杠练习架充分利用弹簧的力学原理,使弹簧收缩与伸张均匀,上体全部压迫在弹簧上面,人体上肢压弹簧力量有多大,伸张压力就有多大,并且使全身产生对弹簧的压力,加大了上肢肌肉群的协调作用,加快上肢各部位血液循环,使腰部和上肢肌肉加强,提高锻炼身体的功能,对于上肢关节疼痛、腰腿疼患者还具有辅助治疗作用。Compared with the prior art, the utility model has the beneficial effects that: by installing the spring on the steel column, people practice on the semicircular connecting rod, the safety factor is relatively large, and injury accidents are not easy to occur. The elastic parallel bars exercise frame makes full use of the mechanical principle of the spring, so that the spring shrinks and stretches evenly, and the upper body is completely pressed on the spring. As much as the force of the upper body pressing the spring, the stretching pressure will be as large, and the whole body will generate pressure on the spring. It increases the coordination of the upper limb muscles, accelerates blood circulation in various parts of the upper limbs, strengthens the muscles of the waist and upper limbs, improves the function of exercising the body, and also has an auxiliary therapeutic effect on patients with upper limb joint pain, waist and leg pain.
本实用新型结构简单,体积小、不受场地和时间限制,搬运方便,容易操作,比较适用于青少年、中老年、广大体育锻炼和专业体育运动员使用以及有关疾病的辅助治疗。The utility model has the advantages of simple structure, small volume, no limitation of place and time, convenient transportation and easy operation, and is more suitable for teenagers, middle-aged and elderly people, general physical exercise and professional sports players, and auxiliary treatment of related diseases.
附图说明Description of drawings
图1是本实用新型弹性双杠练习架的最佳实例,其中:1钢立柱 2弹簧 3海绵握手4半圆形连接杆 5底座Fig. 1 is the best example of the utility model elastic parallel bars exercise frame, wherein: 1
具体实施方式Detailed ways
下面结合附图对本实用新型弹性双杠练习架作进一步说明:Below in conjunction with accompanying drawing, the utility model elastic parallel bars exercise frame is further described:
如图1所示:弹性双杠练习架,其特征在于:包括弹簧、钢立柱、底座。在弹簧(2)的一端焊接到钢立柱(1)的上方,另一端焊接到半圆形连接杆(4)的中间;在半圆形连接杆(4)的两头按上海绵握手(3);将钢立柱(1)的下端插入到底座(5)中。As shown in Figure 1: elastic parallel bars exercise frame, it is characterized in that: comprise spring, steel column, base. One end of the spring (2) is welded to the top of the steel column (1), and the other end is welded to the middle of the semicircular connecting rod (4); press the sponge to shake hands (3) at both ends of the semicircular connecting rod (4) ; Insert the lower end of the steel column (1) into the base (5).
弹簧可随人体上肢肌肉力量大小更换,弹簧的粗细、伸张力的长短的也可随人体高矮上下移动弹簧的高度。底座可用铸铁,也可以将底座埋在地里。在底座前可根据场地大小调整长度铺上地毯或放置木板。在钢立柱上可设置多个套孔。The spring can be replaced with the strength of the upper limb muscles of the human body. The thickness of the spring and the length of the stretching force can also move the height of the spring up and down with the height of the human body. The base can be made of cast iron, or the base can be buried in the ground. In front of the base, the length can be adjusted according to the size of the site to lay a carpet or place a wooden board. Multiple casings can be set on the steel column.
使用时,人面对或背对器械站立,双手握住海绵握手后人体跳起后可进行手臂的前后屈伸、摆起等动作练习。使得上肢和双腿交替上下屈伸,屈伸速度随人体运动量的大小自由掌握,运动量也可以通过上肢屈伸力量大小自己调节。加快上肢各部位血液循环,使腰部和臂部肌肉加强,提高锻炼身体的功能,本实用新型适合青少年和中老年锻炼身体。When in use, the person stands facing or facing away from the apparatus, holds the sponge with both hands to shake hands, and after the human body jumps up, can perform exercises such as forward and backward flexion, extension, and swing of the arm. The upper limbs and legs are flexed and stretched up and down alternately. The speed of flexion and extension can be controlled freely according to the amount of human exercise, and the amount of exercise can also be adjusted by the strength of upper limb flexion and extension. The blood circulation of each part of the upper limbs is accelerated, the muscles of the waist and arms are strengthened, and the function of exercising is improved. The utility model is suitable for adolescents and middle-aged and elderly persons to exercise.
Claims (3)
Priority Applications (1)
| Application Number | Priority Date | Filing Date | Title |
|---|---|---|---|
| CN2009202911352U CN201565026U (en) | 2009-12-28 | 2009-12-28 | Elastic Parallel Bar Exercise Rack |
Applications Claiming Priority (1)
| Application Number | Priority Date | Filing Date | Title |
|---|---|---|---|
| CN2009202911352U CN201565026U (en) | 2009-12-28 | 2009-12-28 | Elastic Parallel Bar Exercise Rack |
Publications (1)
| Publication Number | Publication Date |
|---|---|
| CN201565026U true CN201565026U (en) | 2010-09-01 |
Family
ID=42657306
Family Applications (1)
| Application Number | Title | Priority Date | Filing Date |
|---|---|---|---|
| CN2009202911352U Expired - Fee Related CN201565026U (en) | 2009-12-28 | 2009-12-28 | Elastic Parallel Bar Exercise Rack |
Country Status (1)
| Country | Link |
|---|---|
| CN (1) | CN201565026U (en) |
Cited By (1)
| Publication number | Priority date | Publication date | Assignee | Title |
|---|---|---|---|---|
| CN109045557A (en) * | 2018-09-06 | 2018-12-21 | 康建国 | A kind of high amputation patient exercise apparatus |
-
2009
- 2009-12-28 CN CN2009202911352U patent/CN201565026U/en not_active Expired - Fee Related
Cited By (2)
| Publication number | Priority date | Publication date | Assignee | Title |
|---|---|---|---|---|
| CN109045557A (en) * | 2018-09-06 | 2018-12-21 | 康建国 | A kind of high amputation patient exercise apparatus |
| CN109045557B (en) * | 2018-09-06 | 2020-05-22 | 于建民 | Exercise equipment for high amputation patient |
Similar Documents
| Publication | Publication Date | Title |
|---|---|---|
| CN201565026U (en) | Elastic Parallel Bar Exercise Rack | |
| CN202355785U (en) | Hand drawn muscle builder | |
| CN202219065U (en) | Arm pulling trainer | |
| CN102526984A (en) | Barbell pushing stand | |
| CN102553172A (en) | Sitting double-arm muscle exerciser | |
| CN201978390U (en) | Muscle training racket for inner thighs | |
| CN202355787U (en) | Integrated exercising machine for upper limb strength | |
| CN202161752U (en) | Unit walking machine | |
| CN202409957U (en) | Massage chest-expander | |
| CN202409995U (en) | Upper limb chest-developer | |
| CN202637814U (en) | Recovery side swinging machine | |
| CN201578803U (en) | Elastic powerlifting rack | |
| CN202237148U (en) | Elastic free combat trainer | |
| CN201912684U (en) | Jumping plate | |
| CN201978389U (en) | Flexible shank exerciser | |
| CN201988102U (en) | Elastic pedal rowing exerciser | |
| CN202211961U (en) | Elastic swing frame | |
| CN102553128A (en) | Crowhop exercise device | |
| CN201939946U (en) | Elastic-swinging skateboard exerciser | |
| CN102526940A (en) | Tension fitness device for double persons | |
| CN201578793U (en) | Elastic resistance fitness equipment | |
| CN102107058A (en) | Double-lever elastic frame | |
| CN102553196A (en) | Elastic training target | |
| CN202620602U (en) | Sitting-type kicking support | |
| CN202355782U (en) | Muscle building device having foot pedals |
Legal Events
| Date | Code | Title | Description |
|---|---|---|---|
| C14 | Grant of patent or utility model | ||
| GR01 | Patent grant | ||
| C17 | Cessation of patent right | ||
| CF01 | Termination of patent right due to non-payment of annual fee |
Granted publication date: 20100901 Termination date: 20101228 |
