CN201492272U - Low-pressure energy-saving steam cooker - Google Patents

Low-pressure energy-saving steam cooker Download PDF

Info

Publication number
CN201492272U
CN201492272U CN2009200977209U CN200920097720U CN201492272U CN 201492272 U CN201492272 U CN 201492272U CN 2009200977209 U CN2009200977209 U CN 2009200977209U CN 200920097720 U CN200920097720 U CN 200920097720U CN 201492272 U CN201492272 U CN 201492272U
Authority
CN
China
Prior art keywords
cooker
low
pressure energy
steam
pot
Prior art date
Legal status (The legal status is an assumption and is not a legal conclusion. Google has not performed a legal analysis and makes no representation as to the accuracy of the status listed.)
Expired - Fee Related
Application number
CN2009200977209U
Other languages
Chinese (zh)
Inventor
张贵岺
Current Assignee (The listed assignees may be inaccurate. Google has not performed a legal analysis and makes no representation or warranty as to the accuracy of the list.)
Individual
Original Assignee
Individual
Priority date (The priority date is an assumption and is not a legal conclusion. Google has not performed a legal analysis and makes no representation as to the accuracy of the date listed.)
Filing date
Publication date
Application filed by Individual filed Critical Individual
Priority to CN2009200977209U priority Critical patent/CN201492272U/en
Application granted granted Critical
Publication of CN201492272U publication Critical patent/CN201492272U/en
Anticipated expiration legal-status Critical
Expired - Fee Related legal-status Critical Current

Links

Images

Landscapes

  • Cookers (AREA)

Abstract

The utility model discloses a low-pressure energy-saving steam cooker which comprises a cooker body and a cooker cover. An automatic water replenishing device is arranged in the cooker body, thereby solving the problem that enough water needs to be added in the prior cooker firstly and time and resources are wasted in the process of heating and steam producing. The cooker body adopts a cooker bottom provided with an increased heat absorption area and closely tallied with a heat source; and the cooker bottom adopts a device closely contact and tallied with the cooker cover and the cooker body and capable of keeping a low steam pressure in the cooker. The steam cooker with the technical characteristics different from the prior technology has the positive effects of energy conservation, time conservation, safety and reliability when in use.

Description

Low-pressure energy-saving steamer
Technical field
The utility model relates to a kind of pot, in particular, the utility model relates to a kind of steam cooking food, during energy-conservation, joint, and can be according to the consumption of water in the pot, moisturizing keeps the low-pressure energy-saving steamer of water surface desired location in the trend pot.
Background technology
At present, sell the pot of various kinds on the market, need to add abundant water when cooking food in pot, these water need the time of a fixed length to cause unnecessary energy waste in the vaporific process of heating, have also prolonged steaming time.
The utility model content
The purpose of the utility model content is to overcome deficiency of the prior art, and a kind of simple in structure, low-pressure energy-saving steamer when being easy to processing and manufacturing, energy-conservation joint is provided.
The purpose of this utility model is achieved by following technical proposals.
Energy-saving steamer of the present utility model comprises pot body, pot cover with the different heat sources heating.Unlike the prior art be, described bottom of pot body adopts the concave-convex type shape to increase the area that the bottom of a pan absorbs heat, described pot nside is provided with automatic water-replenishing device, the top of pot body is provided with storage tank, the top of pot body is provided with in the U type groove U type groove water is arranged, and described pot cover bottom is provided with enclosure, and the back enclosure of lid pot contacts identical with water in the U type groove, keep having in the pot pressure of certain low-pressure steam, described pot cover top is provided with the automatic emissions adjustment valve of low-pressure steam.
The utility model compared with prior art advantage is: 1, energy savings is convenient to promote; 2, save time easy to use; 3, the structure uniqueness is easy to make.
Description of drawings
Accompanying drawing is the utility model structural representation
The specific embodiment
Below in conjunction with accompanying drawing the utility model is further described.
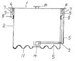
The concaveconvex shape the bottom of a pan is adopted in the bottom 11 of pot body 2 in the drawings, the inside of pot body 2 is provided with automatic water-replenishing device 4, automatic water-replenishing device 4 is made up of float and water stopping valve, the bottom pot wall of pot body 2 is provided with outside storage tank 3 on joint 9 and the pot body, be communicated with by water-supply-pipe 5 with automatic water-replenishing device 4, the bottom enclosure 6 of pot cover 1 and pot body top have the U type groove 7 lid pot back enclosures 6 of water to contact identical with water in the U type groove 7, storage tank 3 has thermal insulation layer 8 with pot body 2 junctions, and the automatic low-pressure steam control valve 10 in the top of pot cover 1 is regulated the pressure of low-pressure steam in the pot.

Claims (4)

1. a low-pressure energy-saving steamer comprises pot body, pot cover that following different heat sources heats, it is characterized in that, in the described pot body automatic water-replenishing device is arranged.
2. low-pressure energy-saving steamer according to claim 1 is characterized in that described automatic water-replenishing device is made of float and water stopping valve.
3. low-pressure energy-saving steamer according to claim 1 is characterized in that the bottom of a pan is the concave-convex type shape when described.
4. low-pressure energy-saving steamer according to claim 1 is characterized in that described pot cover bottom is provided with enclosure, and the top of pot body is provided with the U type groove of water.
CN2009200977209U 2009-07-10 2009-07-10 Low-pressure energy-saving steam cooker Expired - Fee Related CN201492272U (en)

Priority Applications (1)

Application Number Priority Date Filing Date Title
CN2009200977209U CN201492272U (en) 2009-07-10 2009-07-10 Low-pressure energy-saving steam cooker

Applications Claiming Priority (1)

Application Number Priority Date Filing Date Title
CN2009200977209U CN201492272U (en) 2009-07-10 2009-07-10 Low-pressure energy-saving steam cooker

Publications (1)

Publication Number Publication Date
CN201492272U true CN201492272U (en) 2010-06-02

Family

ID=42435482

Family Applications (1)

Application Number Title Priority Date Filing Date
CN2009200977209U Expired - Fee Related CN201492272U (en) 2009-07-10 2009-07-10 Low-pressure energy-saving steam cooker

Country Status (1)

Country Link
CN (1) CN201492272U (en)

Cited By (1)

* Cited by examiner, † Cited by third party
Publication number Priority date Publication date Assignee Title
CN102987905A (en) * 2012-08-20 2013-03-27 郝晨宇 Energy-saving cooker

Cited By (1)

* Cited by examiner, † Cited by third party
Publication number Priority date Publication date Assignee Title
CN102987905A (en) * 2012-08-20 2013-03-27 郝晨宇 Energy-saving cooker

Similar Documents

Publication Publication Date Title
CN201492272U (en) Low-pressure energy-saving steam cooker
CN201206859Y (en) Induction heating apparatus with heating area variable
CN201091517Y (en) Novel steam porridge soup cooker
CN201571939U (en) Energy-saving kettle
CN202382399U (en) Instant-heating water heater
CN101889816A (en) Low-pressure energy-saving steamer
CN201929704U (en) Energy-saving pot
CN201328722Y (en) Egg-frying pot
CN201230818Y (en) Energy-saving steamer
CN201384389Y (en) Water kettle with energy conservation function
CN202681641U (en) High-efficiency and energy-saving kettle
CN203735983U (en) Automatic control device for steaming pot
CN201115610Y (en) Electric kettle capable of saving energy
CN201855100U (en) Electric pressure cooker
CN201710124U (en) Energy-saving coffee pot
CN201551148U (en) Energy-saving electric rice cooker
CN201253121Y (en) Vacuum energy-saving incubation boiler
CN2907490Y (en) Water-saving and energy-saving pot for boiling egg
CN201782580U (en) Control circuit of electric hot-water bottle
CN202311103U (en) Energy-saving pot
CN201332939Y (en) Energy accumulation pan
CN201855094U (en) Energy-saving kettle
CN205066182U (en) Self -circulation formula solar water heater
CN201153852Y (en) Energy-saving heat insulation pot
CN2805614Y (en) Egg boiling device

Legal Events

Date Code Title Description
C14 Grant of patent or utility model
GR01 Patent grant
DD01 Delivery of document by public notice

Addressee: Zhang Guiling

Document name: Notification to Pay the Fees

DD01 Delivery of document by public notice

Addressee: Zhang Guiling

Document name: Notification of Termination of Patent Right

C17 Cessation of patent right
CF01 Termination of patent right due to non-payment of annual fee

Granted publication date: 20100602

Termination date: 20110710