CN201488415U - Chiller Centrifugal Oil Separator - Google Patents

Chiller Centrifugal Oil Separator Download PDF

Info

Publication number
CN201488415U
CN201488415U CN2009201857628U CN200920185762U CN201488415U CN 201488415 U CN201488415 U CN 201488415U CN 2009201857628 U CN2009201857628 U CN 2009201857628U CN 200920185762 U CN200920185762 U CN 200920185762U CN 201488415 U CN201488415 U CN 201488415U
Authority
CN
China
Prior art keywords
cylindrical shell
end cover
cylinder
vent connection
centrifugal oil
Prior art date
Legal status (The legal status is an assumption and is not a legal conclusion. Google has not performed a legal analysis and makes no representation as to the accuracy of the status listed.)
Ceased
Application number
CN2009201857628U
Other languages
Chinese (zh)
Inventor
李璐峰
史珂
Current Assignee (The listed assignees may be inaccurate. Google has not performed a legal analysis and makes no representation or warranty as to the accuracy of the list.)
Trane Air Conditioning Systems China Co Ltd
Original Assignee
Trane Air Conditioning Systems China Co Ltd
Priority date (The priority date is an assumption and is not a legal conclusion. Google has not performed a legal analysis and makes no representation as to the accuracy of the date listed.)
Filing date
Publication date
Family has litigation
First worldwide family litigation filed litigation Critical https://patents.darts-ip.com/?family=42427292&utm_source=google_patent&utm_medium=platform_link&utm_campaign=public_patent_search&patent=CN201488415(U) "Global patent litigation dataset” by Darts-ip is licensed under a Creative Commons Attribution 4.0 International License.
Application filed by Trane Air Conditioning Systems China Co Ltd filed Critical Trane Air Conditioning Systems China Co Ltd
Priority to CN2009201857628U priority Critical patent/CN201488415U/en
Application granted granted Critical
Publication of CN201488415U publication Critical patent/CN201488415U/en
Anticipated expiration legal-status Critical
Ceased legal-status Critical Current

Links

Images

Landscapes

  • Separating Particles In Gases By Inertia (AREA)

Abstract

本实用新型涉及一种冷水机组离心式油分离器,其包括内部具有离心分离空间的筒体、设置在筒体内的进气接管和排气接管,进气接管的轴心线方向沿筒体的切线方向设置,筒体上端部设置有上端盖,筒体下端部设置有下端盖,下端盖具有回油孔,筒体下端部设置有油加热器套管接口,排气接管的下端部穿过上端盖伸入到筒体内,且排气接管的轴心线与筒体的轴心线重合,排气接管的下端部位于进气接管的下方,进气接管的一侧内壁与筒体的内壁相切。本实用新型的冷水机组离心式油分离器,内部不再设计滤网结构,降低了制冷剂气体流经油分离器所造成的压力损失,同时通过合理的设计,本实用新型能够提高油分离效率。

Figure 200920185762

The utility model relates to a centrifugal oil separator of a water chiller, which comprises a cylinder body with a centrifugal separation space inside, an air intake connection pipe and an exhaust connection pipe arranged in the cylinder body, and the axial direction of the air intake connection pipe is along the direction of the cylinder body The tangential direction is set, the upper end of the cylinder is provided with an upper end cover, the lower end of the cylinder is provided with a lower end cover, the lower end cover has an oil return hole, the lower end of the cylinder is provided with an oil heater sleeve interface, and the lower end of the exhaust pipe passes through The upper end cover extends into the cylinder, and the axis of the exhaust pipe coincides with the axis of the cylinder, the lower end of the exhaust pipe is located below the intake pipe, and the inner wall of one side of the intake pipe is aligned with the inner wall of the cylinder. Tangent. The centrifugal oil separator of the chiller of the utility model does not have a filter screen structure inside, which reduces the pressure loss caused by the refrigerant gas flowing through the oil separator, and at the same time, through a reasonable design, the utility model can improve the oil separation efficiency .

Figure 200920185762

Description

The centrifugal oil eliminator of handpiece Water Chilling Units
Technical field
The utility model relates to a kind of centrifugal oil eliminator of handpiece Water Chilling Units of refrigeration plant.
Background technology
Oil eliminator is being played the part of vital role in a lot of refrigeration systems.In the high-temperature exhaust air of refrigeration unit compressor, all be dissolved with a large amount of lubricating oil drops, refrigeration unit all can be provided with an oil eliminator usually and the lubricating oil separation in the high-temperature exhaust air be come and send compressor back to and participate in lubricated, do not make excessive lubricating oil enter refrigeration system with cold-producing medium, to prevent that compressor from losing the oil running, influences compression efficiency; Simultaneously, high efficiency oil eliminator also can reduce oil film in the thermal resistance that the heat exchanger tube surface forms, and improves the heat exchange efficiency of refrigeration unit heat exchanger.
The centrifugal oil eliminator of handpiece Water Chilling Units of widespread usage generally has two kinds of patterns at present, first kind of pattern seen accompanying drawing 1, it stretches into air inlet pipe 3 ' and blast pipe 5 ' cylindrical shell 2 ' in by cylindrical shell 2 ', the upper cover 4 ' that is separately positioned on the cylindrical shell above and below and low head 1 ', part, be provided with inner core 6 ' in the cylindrical shell, filter screen 7 ' is set on the inner core, have fuel feeding and drip the dividing plate 8 ' that passes through but the bottom of cylindrical shell is provided with, offer spill port 9 ' and heater hole 10 ' on the low head 1 '.Second kind of pattern seen accompanying drawing 2, oil eliminator is by bottom end cover 1 ", cylindrical shell 2 ", air inlet pipe 3 ", upper end cover 4 ", blast pipe 6 ", dividing plate 7 " form, offer spill port 8 on the bottom end cover " and heater hole 9 ", blast pipe is arranged on cylindrical shell 2 " inside; and the top of blast pipe is provided with filter screen 5 ", centrifugalled refrigerant gas rises by blast pipe, and discharges oil eliminator after seeing through filter screen.
More than the oil eliminator of two kinds of patterns all have common shortcoming: refrigeration unit is when running at full capacity, because capacity is big, flow velocity is fast, and filter screen can make the refrigerant gas flow resistance through filter screen become big, it is big that the pressure loss becomes, the delivery temperature degree of superheat is cut down, and then influences the condensation efficiency of condenser.
Summary of the invention
Technical problem to be solved in the utility model is that lubricating oil causes the pressure loss excessive in oil eliminator in the separating process, provides a kind of self oil separation efficient the higher centrifugal oil eliminator of handpiece Water Chilling Units.
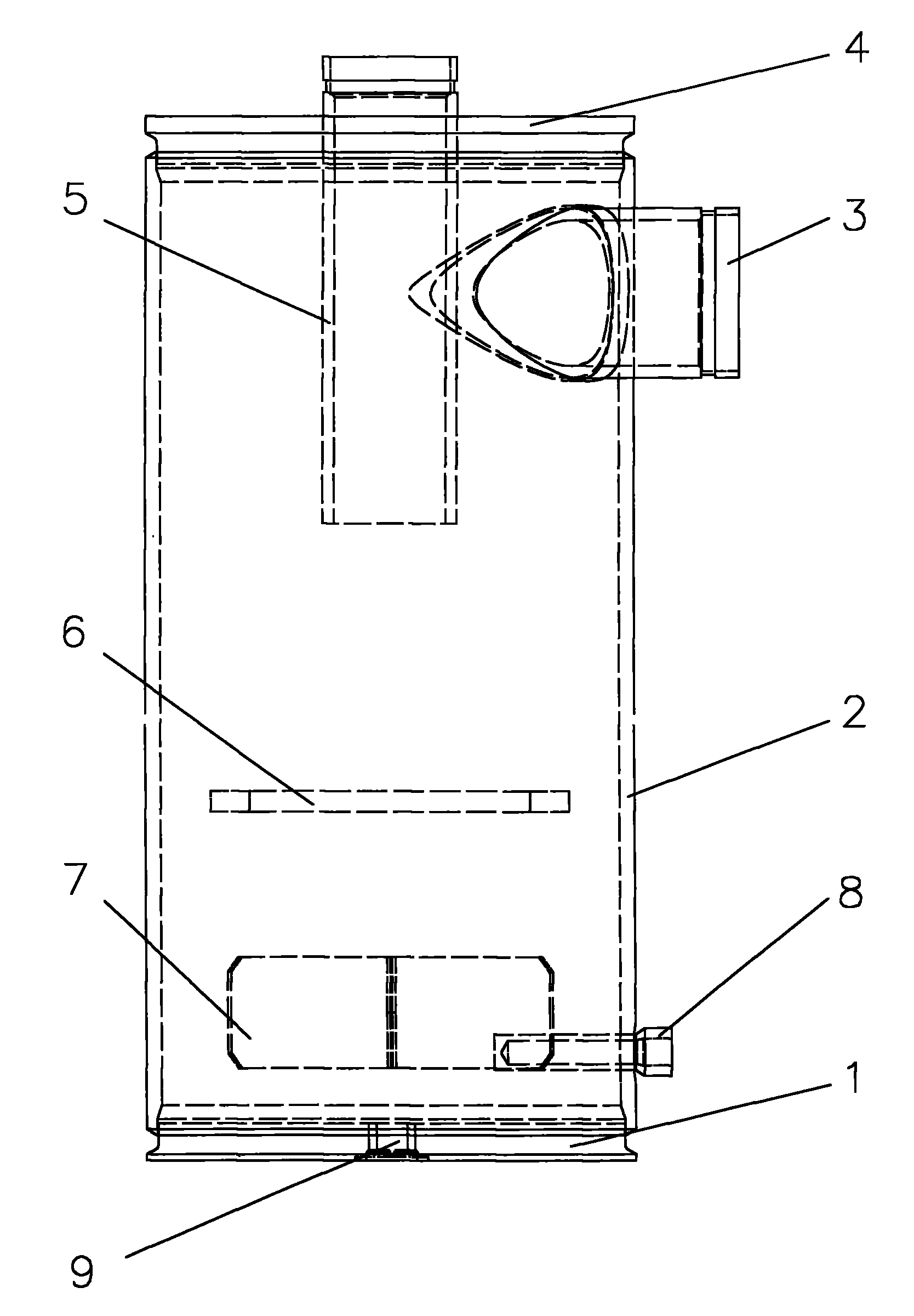
For achieving the above object, the technical solution adopted in the utility model is: the centrifugal oil eliminator of a kind of handpiece Water Chilling Units, comprise that inside has the cylindrical shell in centrifugation space, be arranged on air inlet tube and vent connection in the described cylindrical shell, the direction of axis line of described air inlet tube is along the tangential direction setting of described cylindrical shell, described cylindrical shell upper end is provided with upper end cover, the cylindrical shell bottom is provided with bottom end cover, bottom end cover has spill port, the cylindrical shell bottom is provided with oil heater cover interface tube, the bottom of described vent connection is passed described upper end cover and is gone in described cylindrical shell, and the axial line of described vent connection overlaps with the axial line of described cylindrical shell, the lower end part of described vent connection is in the below of described air inlet tube, and a side inwall of described air inlet tube and the inwall of cylindrical shell are tangent.
The further technical scheme of the utility model is: also be provided with the buffer board that extend perpendicular to the direction of the axial line of described cylindrical shell on the edge in the described cylindrical shell, this buffer board is positioned at the below of described vent connection.
Further, the below of described cylindrical shell also is provided with the vortex shield that radially extends along described cylindrical shell.
More preferably, be provided with two described vortex shields in the described cylindrical shell, and two described vortex shields intersect mutually at the place, axle center of described cylindrical shell.
More preferably, described buffer board is between described vent connection and described vortex shield.
The utility model compared with prior art has following advantage: at first, the centrifugal oil eliminator of handpiece Water Chilling Units of the present utility model, filter structure is no longer designed in inside, has reduced the refrigerant gas pressure loss that oil eliminator caused of flowing through.
Secondly, the utility model can improve oil separation efficient:
1, air inlet tube tangentially is arranged on the cylindrical shell, has guaranteed can flow into along the cylinder inboard wall tangential direction when exhaust enters cylindrical shell, increases circular motion radius, and then increases centrifugal force, makes centrifugal separating effect better, improves oil content efficient;
2, the inlet of vent connection is positioned at the below of air inlet tube outlet, can prevent that condensing agent gas directly is deflated the adapter suction and enters refrigeration system;
3, the horizontal positioned of buffer board can intercept eddy current, prevent its will be separated lubricating oil roll again, thereby further guarantee the separative efficiency of oil eliminator;
4, the vortex shield of two orthogonal placements is set, has effectively guaranteed the stable of oil return.
Description of drawings
Accompanying drawing 1 is the front view of the centrifugal oil eliminator of handpiece Water Chilling Units in the prior art;
Accompanying drawing 2 is the front view of the centrifugal oil eliminator of handpiece Water Chilling Units in the prior art;
Accompanying drawing 3 is a front view of the present invention;
Accompanying drawing 4 is a right view of the present invention;
Accompanying drawing 5 is a vertical view of the present invention;
Wherein:
1 ', low head; 2 ', cylindrical shell; 3 ', air inlet tube; 4 ', upper cover; 5 ', vent connection; 6 ', inner core; 7 ', filter screen; 8 ', dividing plate; 9 ', spill port; 10 ', heater hole;
1 ", bottom end cover; 2 ", cylindrical shell; 3 ", air inlet tube; 4 ", upper end cover; 5 ", filter screen; 6 ", blast pipe; 7 ", dividing plate; 8 ", spill port; 9 ", heater hole;
1, bottom end cover; 2, cylindrical shell; 3, air inlet tube; 4, upper end cover; 5, vent connection; 6, buffer board; 7, vortex shield; 8, oil heater sleeve pipe; 9, spill port.
The specific embodiment
Be introduced below in conjunction with accompanying drawing 3 to 5 pairs of the utility model of accompanying drawing.
The utility model discloses the centrifugal oil eliminator of a kind of handpiece Water Chilling Units, it comprises that inside has the cylindrical shell 2 in centrifugation space, be arranged on air inlet tube 3 and vent connection 5 in the cylindrical shell 2, air inlet tube 3 is horizontally disposed with, and its direction of axis line is along the tangential direction setting of cylindrical shell 2, and a side inwall of air inlet tube 3 and the inwall of cylindrical shell 2 are tangent, the exit of air inlet tube 3 sidewall direct and cylindrical shell 2 joins as can be seen from accompanying drawing 5, enter into like this refrigerant gas in the cylindrical shell 2 can head-on crash to the inwall of cylindrical shell 2, but directly form whirlwind, and centrifugal radius maximum, the effect of centrifugation is best.
Cylindrical shell 2 upper ends are provided with upper end cover 4, cylindrical shell 2 bottoms are provided with bottom end cover 1, bottom end cover 1 has spill port 9, the bottom of vent connection 5 is passed upper end cover 4 and is extend in the cylindrical shell 2, and the lower end part of vent connection 5 is in the below of air inlet tube 3, the axial line of vent connection 5 overlaps with the axial line of cylindrical shell 2, refrigerant gas is entered into after the cylindrical shell 2 by air inlet tube 3 like this, will form whirlwind, thereby carrying out centrifugal oil separates, vent connection 5 is positioned at the central authorities of this cyclonic air flow, and the refrigerant gas after separating rises by vent connection 5 and enters refrigeration system.
For prevent air-flow its will be separated lubricating oil roll again, also be provided with the buffer board 6 that extends along perpendicular to the direction of the axial line of cylindrical shell 2 in the cylindrical shell 2, this buffer board 6 is positioned at the below of vent connection 5.The horizontal positioned of buffer board 6 can intercept eddy current.
For further reducing the air-flow vortex of cylindrical shell 2 belows, prevent that the oil of cylindrical shell 2 belows from forming vortex, influence the oil return effect, below buffer board 6, also be provided with the vortex shield 7 that radially extends along cylindrical shell 2, vortex shield 7 is positioned at cylindrical shell 2 belows near the place, bottom.In the present embodiment, be provided with two 7, two vortex shields 7 of vortex shield that are 90 degree mutually in the cylindrical shell 2 and intersect mutually at the place, axle center of cylindrical shell 2.
The concrete course of work of the utility model as shown in Figure 3, the high temperature refrigerant gas that compressor is discharged is through the tangential direction inflow cylindrical shell 2 of air inlet tube 3 along cylindrical shell 2 inwalls, form eddy current, under action of centrifugal force, oil droplet in the exhaust is thrown on cylindrical shell 2 internal faces and is separated, flow into the bottom of cylindrical shell 2 through the gap between buffer board 6 and the cylindrical shell 2, and collect in bottom end cover 1 place, under the effect of vortex shield 7, separate lubricating oil and can't form eddy current, thereby guaranteed the stable of oil return in the bottom of cylindrical shell 2.Refrigerant gas after oil droplet is separated is under the promotion of exhaust vortex and simultaneously under the barrier effect of buffer board 6, near vortex and discharge oil eliminators through vent connection 5 upwards buffer board 6 middle parts.

Claims (5)

1. centrifugal oil eliminator of handpiece Water Chilling Units, comprise that inside has the cylindrical shell in centrifugation space (2), be arranged on air inlet tube (3) and vent connection (5) in the described cylindrical shell (2), the direction of axis line of described air inlet tube (3) is along the tangential direction setting of described cylindrical shell (2), described cylindrical shell (2) upper end is provided with upper end cover (4), the bottom is provided with bottom end cover (1), described bottom end cover (1) has spill port (9), it is characterized in that: the bottom of described vent connection (5) is passed described upper end cover (4) and is extend in the described cylindrical shell (2), and the axial line of described vent connection (5) overlaps with the axial line of described cylindrical shell (2), the lower end part of described vent connection (5) is in the below of described air inlet tube (3), and a side inwall of described air inlet tube (3) and the inwall of cylindrical shell (2) are tangent.
2. the centrifugal oil eliminator of handpiece Water Chilling Units according to claim 1, it is characterized in that: also be provided with the buffer board (6) that extend perpendicular to the direction of the axial line of described cylindrical shell (2) on the edge in the described cylindrical shell (2), this buffer board (6) is positioned at the below of described vent connection (5).
3. the centrifugal oil eliminator of handpiece Water Chilling Units according to claim 2 is characterized in that: the below of described cylindrical shell (2) also is provided with the vortex shield (7) that radially extends along described cylindrical shell (2).
4. the centrifugal oil eliminator of handpiece Water Chilling Units according to claim 3 is characterized in that: be provided with two described vortex shields (7) in the described cylindrical shell (2), and two described vortex shields (7) intersect mutually at the place, axle center of described cylindrical shell (2).
5. the centrifugal oil eliminator of handpiece Water Chilling Units according to claim 3 is characterized in that: described buffer board (6) is positioned between described vent connection (5) and the described vortex shield (7).
CN2009201857628U 2009-07-10 2009-07-10 Chiller Centrifugal Oil Separator Ceased CN201488415U (en)

Priority Applications (1)

Application Number Priority Date Filing Date Title
CN2009201857628U CN201488415U (en) 2009-07-10 2009-07-10 Chiller Centrifugal Oil Separator

Applications Claiming Priority (1)

Application Number Priority Date Filing Date Title
CN2009201857628U CN201488415U (en) 2009-07-10 2009-07-10 Chiller Centrifugal Oil Separator

Publications (1)

Publication Number Publication Date
CN201488415U true CN201488415U (en) 2010-05-26

Family

ID=42427292

Family Applications (1)

Application Number Title Priority Date Filing Date
CN2009201857628U Ceased CN201488415U (en) 2009-07-10 2009-07-10 Chiller Centrifugal Oil Separator

Country Status (1)

Country Link
CN (1) CN201488415U (en)

Cited By (7)

* Cited by examiner, † Cited by third party
Publication number Priority date Publication date Assignee Title
CN102954636A (en) * 2012-11-15 2013-03-06 重庆美的通用制冷设备有限公司 Centrifugal oil separator
WO2014111044A1 (en) * 2013-01-18 2014-07-24 四川长虹电器股份有限公司 Air conditioning system, control system, and air conditioning control method
CN104748462A (en) * 2013-12-25 2015-07-01 珠海格力节能环保制冷技术研究中心有限公司 Oil and gas separation device and air conditioner system
CN107747833A (en) * 2017-09-12 2018-03-02 江苏成科新能源有限公司 Vehicle-mounted air conditioner compressor gs-oil separator and vehicle-mounted air conditioner compressor
CN108019991A (en) * 2018-01-23 2018-05-11 天津商业大学 A kind of refrigeration system refrigerant gas and lubricating oil separation equipment
CN110486273A (en) * 2019-08-07 2019-11-22 珠海凌达压缩机有限公司 A kind of screw compressor and the electric appliance including the screw compressor
CN111238088A (en) * 2020-03-11 2020-06-05 浙江峰煌热交换器有限公司 Universal efficient tank for condenser and evaporator and air conditioning system thereof

Cited By (9)

* Cited by examiner, † Cited by third party
Publication number Priority date Publication date Assignee Title
CN102954636A (en) * 2012-11-15 2013-03-06 重庆美的通用制冷设备有限公司 Centrifugal oil separator
CN102954636B (en) * 2012-11-15 2014-12-17 重庆美的通用制冷设备有限公司 Centrifugal oil separator
WO2014111044A1 (en) * 2013-01-18 2014-07-24 四川长虹电器股份有限公司 Air conditioning system, control system, and air conditioning control method
CN104748462A (en) * 2013-12-25 2015-07-01 珠海格力节能环保制冷技术研究中心有限公司 Oil and gas separation device and air conditioner system
CN107747833A (en) * 2017-09-12 2018-03-02 江苏成科新能源有限公司 Vehicle-mounted air conditioner compressor gs-oil separator and vehicle-mounted air conditioner compressor
CN107747833B (en) * 2017-09-12 2023-11-03 江苏成科新能源有限公司 Oil-gas separator for vehicle-mounted air conditioner compressor and vehicle-mounted air conditioner compressor
CN108019991A (en) * 2018-01-23 2018-05-11 天津商业大学 A kind of refrigeration system refrigerant gas and lubricating oil separation equipment
CN110486273A (en) * 2019-08-07 2019-11-22 珠海凌达压缩机有限公司 A kind of screw compressor and the electric appliance including the screw compressor
CN111238088A (en) * 2020-03-11 2020-06-05 浙江峰煌热交换器有限公司 Universal efficient tank for condenser and evaporator and air conditioning system thereof

Similar Documents

Publication Publication Date Title
CN201488415U (en) Chiller Centrifugal Oil Separator
CN201748726U (en) Oil separator structure of air conditioner
CN102914105B (en) Oil eliminator
CN201997239U (en) Three-in-one heat exchanger
CN102463006B (en) Oil separator
CN102230704A (en) Centrifugal gas and oil separator
CN102878735B (en) High-efficiency oil-gas separator and separation method thereof
CN106352622A (en) Oil separator and refrigeration system using it
CN106678046B (en) Oil content device, screw compressor and air conditioning system
CN113405283B (en) Air inlet pipe, shell and tube type condenser and air conditioner
CN201935494U (en) Vertical two-stage oil separator
CN108671638B (en) Rearmounted gas separator of vehicle air conditioner compressor
CN214250231U (en) Oil separator and air conditioning system
CN203274383U (en) Oil separator used for refrigeration system
CN113819687A (en) Knockout and compressor
CN102767925A (en) Cyclone oil-gas separator for multi-online system
CN102401517A (en) Centrifugal high-efficiency oil separator
CN202973690U (en) Oil separator
CN114111135B (en) Oil separation structure, heat exchanger and air conditioner
CN202204221U (en) Centrifugal type oil and gas separator
CN113790553B (en) Oil, gas and liquid three-phase separation device, heat pump system and air conditioner
CN106352621A (en) Oil-gas separator and air conditioning system with oil-gas separator
CN106907883A (en) A kind of handpiece Water Chilling Units are with parallel dual system gs-oil separator
CN201599993U (en) New Centrifugal Oil Separator
CN214371115U (en) Air conditioning system

Legal Events

Date Code Title Description
C14 Grant of patent or utility model
GR01 Patent grant
C35 Partial or whole invalidation of patent or utility model
IW01 Full invalidation of patent right

Decision date of declaring invalidation: 20110907

Decision number of declaring invalidation: 17186

Granted publication date: 20100526