CN201423244Y - Flue gas desulfurization absorption tower - Google Patents

Flue gas desulfurization absorption tower Download PDF

Info

Publication number
CN201423244Y
CN201423244Y CN2009201275167U CN200920127516U CN201423244Y CN 201423244 Y CN201423244 Y CN 201423244Y CN 2009201275167 U CN2009201275167 U CN 2009201275167U CN 200920127516 U CN200920127516 U CN 200920127516U CN 201423244 Y CN201423244 Y CN 201423244Y
Authority
CN
China
Prior art keywords
flue gas
absorption tower
tower body
desulfurization absorption
washing liquid
Prior art date
Legal status (The legal status is an assumption and is not a legal conclusion. Google has not performed a legal analysis and makes no representation as to the accuracy of the status listed.)
Expired - Lifetime
Application number
CN2009201275167U
Other languages
Chinese (zh)
Inventor
邓佳佳
杜云贵
余宇
吴其荣
何凡
刘艳荣
唐灿
丁开平
Current Assignee (The listed assignees may be inaccurate. Google has not performed a legal analysis and makes no representation or warranty as to the accuracy of the list.)
Chongqing University
CPI Yuanda Environmental Protection Engineering Co Ltd
Original Assignee
Chongqing University
CPI Yuanda Environmental Protection Engineering Co Ltd
Priority date (The priority date is an assumption and is not a legal conclusion. Google has not performed a legal analysis and makes no representation as to the accuracy of the date listed.)
Filing date
Publication date
Application filed by Chongqing University, CPI Yuanda Environmental Protection Engineering Co Ltd filed Critical Chongqing University
Priority to CN2009201275167U priority Critical patent/CN201423244Y/en
Application granted granted Critical
Publication of CN201423244Y publication Critical patent/CN201423244Y/en
Anticipated expiration legal-status Critical
Expired - Lifetime legal-status Critical Current

Links

Images

Landscapes

  • Treating Waste Gases (AREA)

Abstract

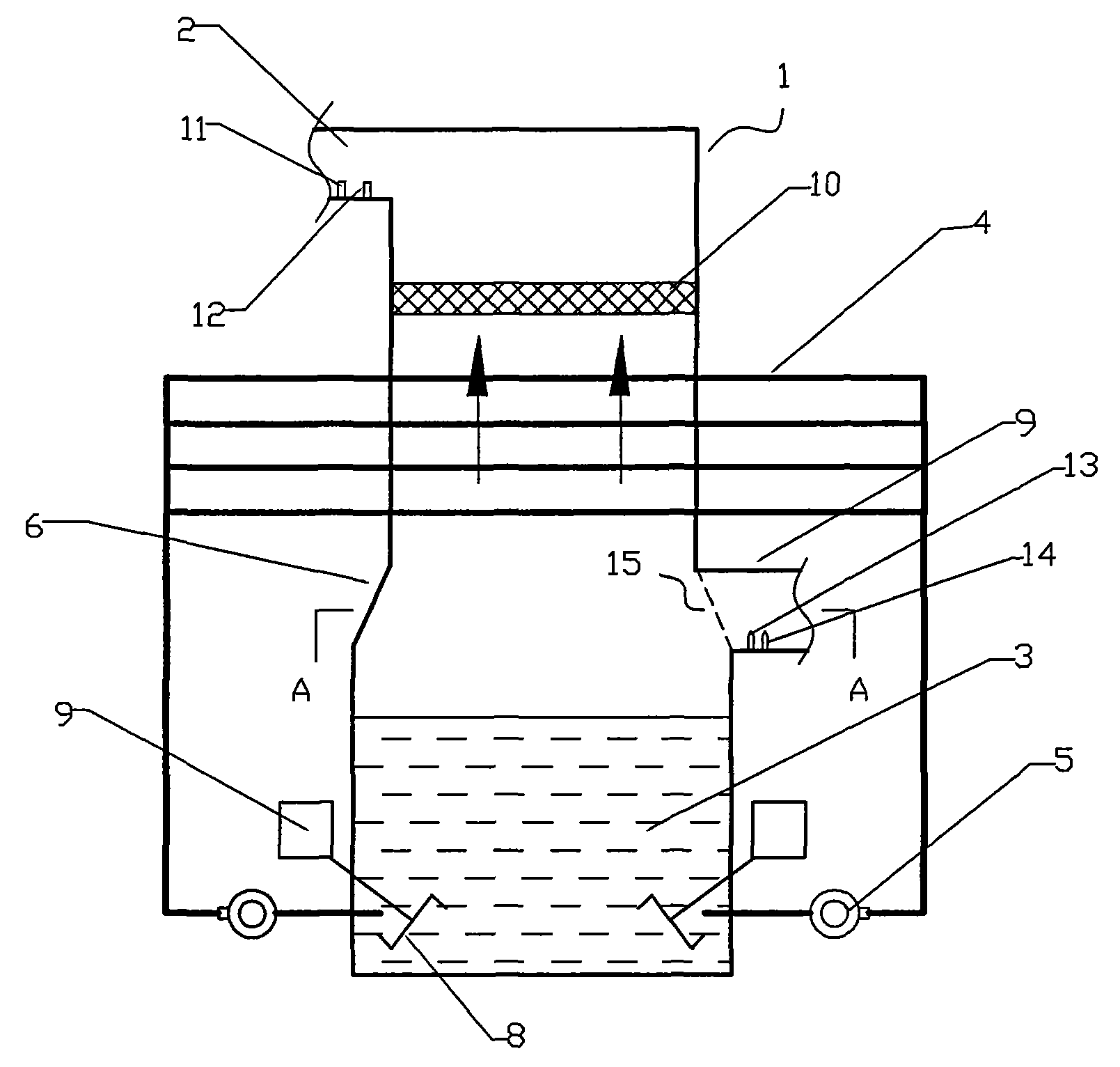
本实用新型公开了一种烟气脱硫吸收塔,包括塔身,所述塔身的顶部设置有烟气出口,塔身的内腔底部设置有用于盛放脱硫洗涤液的浆液池;塔身内部横向设置有洗涤液喷淋管,洗涤液喷淋管位于烟气出口的下方且通过循环泵与浆液池相连通,塔身的中部设置有烟气入口,烟气入口位于洗涤液喷淋管的下方,沿向下的垂直方向,至少部分塔身采用环径逐渐增大的外扩喇叭口结构,烟气入口设置在所述外扩喇叭口结构上,塔身采用外扩喇叭口结构设计,消除了吸收塔的入口倾角,将吸收塔烟气入口管道由倾斜改为水平,降低了设计难度,节省了工程项目的材料需求,同时还降低了入口段的压损,达到了优化设计方法、降低施工工程成本、降低吸收塔运行能耗的目的。

Figure 200920127516

The utility model discloses a flue gas desulfurization absorption tower, which comprises a tower body, the top of the tower body is provided with a flue gas outlet, and the bottom of the inner cavity of the tower body is provided with a slurry pool for containing desulfurization washing liquid; A washing liquid spray pipe is arranged horizontally, and the washing liquid spray pipe is located below the flue gas outlet and communicated with the slurry pool through a circulation pump. Below, along the downward vertical direction, at least part of the tower body adopts an outwardly expanding bell-mouth structure with a ring diameter gradually increasing. The entrance inclination angle of the absorption tower is eliminated, and the flue gas inlet pipe of the absorption tower is changed from inclined to horizontal, which reduces the difficulty of design, saves the material demand of the project, and also reduces the pressure loss of the entrance section, achieving the optimal design method, The purpose of reducing the cost of construction engineering and reducing the energy consumption of the absorption tower operation.

Figure 200920127516

Description

Fume desulfurating absorption tower
Technical field
The utility model belongs to the flue gas desulfurization device field, particularly a kind of fume desulfurating absorption tower.
Background technology
It is the country of main energy sources with coal that China is one, and coal fired power generation is one of most important approach of coal in China utilization.According to the national conditions of China, 21st century coal fired power generation will occupy an leading position.In numerous atmosphere pollutions of coal-fired fired power generating unit discharging, SO 2And dust is bigger to the harm of environment, is the major pollutants that will control.Along with the progress and the expanding economy of society, thermal power plant has been subjected to people's common concern to the pollution of atmospheric environment, and therefore effectively reducing pollutant emission is the severe challenge that China's energy field sustainable development is faced with the influence that improves environment.
At present, existing flue gas desulfurization technique comprises wet desulphurization and dry desulfurization etc.The utilization of wherein wet desulphurization technology is the most extensive.Wet process of FGD is the technological process that current 85% left and right sides large thermal power plant in the world adopts, and fume desulfurating absorption tower is its key core equipment, has obtained extensive use on engineering.The principle of wet flue gas desulfurization absorption tower is to utilize the lime stone alkaline slurry to spray from the top down, and flue gas flows from bottom to top, and lime stone slurry drops in the SO that absorbs in the dropping process in the flue gas 2, reach the SO that removes in the flue gas 2Purpose.
Characteristics such as investment is big, equipment is complicated because the wet process of FGD technology has, operating cost and specification requirement height, and in order to prevent that slurries from entering the absorption tower inlet, now Yun Hang wet flue gas desulfurization absorption tower all is designed to the inlet form to the absorption tower inner inclination, its design is complicated and can cause air-flow to dirty rather than upwards mobile, causes the pressure loss of porch excessive.The operation energy consumption that how to reduce desulfuration absorbing tower becomes the problem that presses for solution.
The utility model content
In view of this, the utility model provides a kind of fume desulfurating absorption tower, by the ingenious design of body of the tower, eliminated the inlet inclination angle on absorption tower, change the adsorption tower smoke inlet duct into level by inclination, reach the reduction design difficulty, reduce the purpose of desulfurizing tower operation energy consumption.
The purpose of this utility model provides a kind of fume desulfurating absorption tower, comprises body of the tower, and the top of described body of the tower is provided with exhanst gas outlet, and the intracavity bottom of described body of the tower is provided with the slurries pond that is used to hold the desulfurization cleaning solution; Described body of the tower inner transverse is provided with the cleaning solution shower, described cleaning solution shower is positioned at the below of exhanst gas outlet and is connected with the slurries pond by circulating pump, the middle part of described body of the tower is provided with smoke inlet, described smoke inlet is positioned at the below of cleaning solution shower, along downward vertical direction, described all or part of body of the tower adopts and encircles the structure that extends out that directly increases gradually, and described smoke inlet is arranged on described extending out on the structure.
Further, the upper extreme point of described smoke inlet and the upper end surface that extends out structure are on same level cross-sectionn, and the lower extreme point of described smoke inlet is on the same level cross-sectionn with the lower surface that extends out structure;
Further, described smoke inlet is provided with the smoke inlet pipeline of horizontal positioned;
Further, described slurries pond also is provided with the slurries stirring system, and described slurries stirring system comprises rotation slurry and the drive motors that is arranged on inside, slurries pond, and described rotation slurry connects with the drive motors axle;
Further, also comprise demister, described demister is arranged between exhanst gas outlet and the cleaning solution shower;
Further, described smoke outlet is provided with flue gas flow monitoring device I and smoke components sniffer I;
Further, described smoke inlet place is provided with flue gas flow monitoring device II and smoke components sniffer II;
Further, the described structure that extends out is horn-like hatch frame, and the described structure that extends out is connected with other parts employing rounding ofves on the body of the tower.
The beneficial effects of the utility model are: body of the tower adopts outer bell mouth expanding structural design, eliminated the inlet inclination angle on absorption tower, change the adsorption tower smoke inlet duct into level by inclination, can effectively prevent to wash slurries and enter inlet duct, reduced design difficulty, save the materials demand of engineering project, also reduced the crushing of entrance simultaneously, reached the purpose of optimizing spray type desulphurization tower method for designing, reduction construction work cost, reducing the absorption tower operation energy consumption.
Other advantages of the present utility model, target, to set forth in the following description to a certain extent with feature, and to a certain extent, based on being conspicuous to those skilled in the art, perhaps can from practice of the present utility model, obtain instruction to investigating hereinafter.Target of the present utility model and other advantages can realize and obtain by following specification and claims.
Description of drawings
In order to make the purpose of this utility model, technical scheme and advantage clearer, below in conjunction with accompanying drawing the utility model is described in further detail, wherein:
Fig. 1 is the utility model structural representation;
Fig. 2 Fig. 1 along A-A to structural representation.
The specific embodiment
Hereinafter with reference to accompanying drawing, preferred embodiment of the present utility model is described in detail.Should be appreciated that preferred embodiment only for the utility model is described, rather than in order to limit protection domain of the present utility model.
The 1-body of the tower; The 2-exhanst gas outlet; 3-slurries pond; 4-cleaning solution shower; The 5-circulating pump; 6-extends out structure; 7-smoke inlet pipeline; 8-rotates slurry; The 9-drive motors; The 10-demister; 11-flue gas flow monitoring device I; 12-smoke components sniffer I; 13-flue gas flow monitoring device II; 14-smoke components sniffer II; The 15-smoke inlet.
Fume desulfurating absorption tower comprises body of the tower 1, and the top of body of the tower 1 is provided with exhanst gas outlet 2, and the intracavity bottom of body of the tower 1 is provided with the slurries pond 3 that is used to hold the desulfurization cleaning solution; Body of the tower 1 inner transverse is provided with cleaning solution shower 4, cleaning solution shower 4 is positioned at the below of exhanst gas outlet 2 and is connected with slurries pond 3 by circulating pump 5, the middle part of body of the tower 1 is provided with smoke inlet 15, smoke inlet 15 is positioned at the below of cleaning solution shower 4, along downward vertical direction, part body of the tower 1 adopts that the ring footpath increases gradually extends out structure 6, smoke inlet 15 is arranged on and extends out on the structure 6, wherein, the upper extreme point of smoke inlet 15 with extend out the upper end surface of structure 6 on same level cross-sectionn, the lower extreme point of smoke inlet 15 is on the same level cross-sectionn with the lower surface that extends out structure 6, and smoke inlet 15 is provided with the smoke inlet pipeline 7 of horizontal positioned.
In the present embodiment, extend out structure 6 and be horn-like hatch frame, extend out on structure 6 and the body of the tower 1 and being connected of other parts adopt the rounding off connection.
Desulfuration absorbing tower body of the tower of the present utility model adopts and extends out structure, eliminate inlet inclination angle, absorption tower, changed the absorption tower inlet into horizontal access, not only reached the purpose of avoiding slurries to enter the absorption tower inlet, and reduced design difficulty, saved the engineering project materials demand.
The slurries pond also is provided with the slurries stirring system, and the slurries stirring system comprises rotation slurry 8 and the drive motors 9 that is arranged on 3 inside, slurries pond, and rotation slurry 8 connects with 9 of drive motors.
The utility model also comprises demister 10, and demister 10 is arranged between exhanst gas outlet 2 and the cleaning solution shower 4.Exhanst gas outlet 2 is provided with flue gas flow monitoring device I 11 and smoke components sniffer I 12, the smoke inlet place is provided with flue gas flow monitoring device II 13 and smoke components sniffer II 14, be used to monitor absorption tower inlet flue gas flow, by flue gas flow monitoring device 11 and smoke components sniffer 14, can monitor SO in real time 2Concentration, according to the calcium sulfur molecule than be 1.03, the ratio of sulphur oxygen molecule is 2, the oxidation air excess coefficient is 1.9~3 principle, in time regulates lime stone slurry straying quatity and oxidation air amount.
Explanation is at last, above embodiment is only unrestricted in order to the explanation the technical solution of the utility model, although the utility model is had been described in detail with reference to preferred embodiment, those of ordinary skill in the art is to be understood that, can make amendment or be equal to replacement the technical solution of the utility model, and not breaking away from the aim and the scope of the technical program, it all should be encompassed in the middle of the claim scope of the present utility model.

Claims (8)

1.烟气脱硫吸收塔,包括塔身(1),所述塔身(1)的顶部设置有烟气出口(2),所述塔身(1)的内腔底部设置有用于盛放脱硫洗涤液的浆液池(3);所述塔身(1)内部横向设置有洗涤液喷淋管(4),所述洗涤液喷淋管(4)位于烟气出口(2)的下方且通过循环泵(5)与浆液池(3)相连通,所述塔身(1)的中部设置有烟气入口(15),所述烟气入口(15)位于洗涤液喷淋管(4)的下方,其特征在于:沿向下的垂直方向,至少部分塔身(1)采用环径逐渐增大的外扩结构(6),所述烟气入口(15)设置在所述外扩结构(6)上。1. A flue gas desulfurization absorption tower, comprising a tower body (1), the top of the tower body (1) is provided with a flue gas outlet (2), and the bottom of the inner chamber of the tower body (1) is provided with a A slurry tank (3) for washing liquid; a washing liquid spray pipe (4) is arranged laterally inside the tower body (1), and the washing liquid spray pipe (4) is located below the flue gas outlet (2) and passes through The circulating pump (5) is in communication with the slurry pool (3), and the middle part of the tower body (1) is provided with a flue gas inlet (15), and the flue gas inlet (15) is located at the side of the washing liquid spray pipe (4). Below, it is characterized in that: along the downward vertical direction, at least part of the tower body (1) adopts an outwardly expanding structure (6) with a gradually increasing ring diameter, and the flue gas inlet (15) is arranged at the outwardly expanding structure ( 6) on. 2.根据权利要求1所述的烟气脱硫吸收塔,其特征在于:所述烟气入口(15)的上端点与外扩结构(6)的上端面处于同一水平横截面上,所述烟气入口(15)的下端点与外扩结构(6)的下端面处于同一水平横截面上。2. The flue gas desulfurization absorption tower according to claim 1, characterized in that: the upper end point of the flue gas inlet (15) is on the same horizontal cross-section as the upper end surface of the outward expansion structure (6), and the flue gas The lower end point of the gas inlet (15) is on the same horizontal cross-section as the lower end surface of the outward expansion structure (6). 3.根据权利要求2所述的烟气脱硫吸收塔,其特征在于:所述烟气入口(15)上设置有水平放置的烟气入口管道(7)。3. The flue gas desulfurization absorption tower according to claim 2, characterized in that: the flue gas inlet (15) is provided with a flue gas inlet pipe (7) placed horizontally. 4.根据权利要求3所述的烟气脱硫吸收塔,其特征在于:所述浆液池还设置有浆液搅拌系统,所述浆液搅拌系统包括设置在浆液池(3)内部的旋转浆(8)和驱动电机(9),所述旋转浆(8)与驱动电机(9)轴联接。4. The flue gas desulfurization absorption tower according to claim 3, characterized in that: the slurry pool is also provided with a slurry stirring system, and the slurry stirring system includes a rotating paddle (8) arranged inside the slurry pool (3) and a drive motor (9), the rotary paddle (8) is shaft-coupled with the drive motor (9). 5.根据权利要求4所述的烟气脱硫吸收塔,其特征在于:还包括除雾器(10),所述除雾器(10)设置在烟气出口(2)与洗涤液喷淋管(4)之间。5. The flue gas desulfurization absorption tower according to claim 4, characterized in that: it also includes a demister (10), and the demister (10) is arranged between the flue gas outlet (2) and the washing liquid spray pipe (4) between. 6.根据权利要求5所述的烟气脱硫吸收塔,其特征在于:所述烟气出口(2)设置有烟气流量监测装置I(11)和烟气成分探测装置I(12)。6. The flue gas desulfurization absorption tower according to claim 5, characterized in that: the flue gas outlet (2) is provided with a flue gas flow monitoring device I (11) and a flue gas component detection device I (12). 7.根据权利要求6所述的烟气脱硫吸收塔,其特征在于:所述烟气入口处设置有烟气流量监测装置II(13)和烟气成分探测装置II(14)。7. The flue gas desulfurization absorption tower according to claim 6, characterized in that: a flue gas flow monitoring device II (13) and a flue gas component detection device II (14) are arranged at the flue gas inlet. 8.根据权利要求7所述的烟气脱硫吸收塔,其特征在于:所述外扩结构(6)为喇叭状开口结构,所述外扩结构(6)与塔身(1)上其他部分的连接采用圆滑过渡连接。8. The flue gas desulfurization absorption tower according to claim 7, characterized in that: the outer expansion structure (6) is a trumpet-shaped opening structure, and the outer expansion structure (6) is connected with other parts of the tower body (1) The connection adopts a smooth transition connection.
CN2009201275167U 2009-05-31 2009-05-31 Flue gas desulfurization absorption tower Expired - Lifetime CN201423244Y (en)

Priority Applications (1)

Application Number Priority Date Filing Date Title
CN2009201275167U CN201423244Y (en) 2009-05-31 2009-05-31 Flue gas desulfurization absorption tower

Applications Claiming Priority (1)

Application Number Priority Date Filing Date Title
CN2009201275167U CN201423244Y (en) 2009-05-31 2009-05-31 Flue gas desulfurization absorption tower

Publications (1)

Publication Number Publication Date
CN201423244Y true CN201423244Y (en) 2010-03-17

Family

ID=42022678

Family Applications (1)

Application Number Title Priority Date Filing Date
CN2009201275167U Expired - Lifetime CN201423244Y (en) 2009-05-31 2009-05-31 Flue gas desulfurization absorption tower

Country Status (1)

Country Link
CN (1) CN201423244Y (en)

Cited By (2)

* Cited by examiner, † Cited by third party
Publication number Priority date Publication date Assignee Title
CN102180529A (en) * 2011-03-30 2011-09-14 东南大学 L-shaped desulphurization wastewater flue gas evaporating plant
CN101564642B (en) * 2009-05-31 2011-09-28 中电投远达环保工程有限公司 Fume desulfurization absorber

Cited By (3)

* Cited by examiner, † Cited by third party
Publication number Priority date Publication date Assignee Title
CN101564642B (en) * 2009-05-31 2011-09-28 中电投远达环保工程有限公司 Fume desulfurization absorber
CN102180529A (en) * 2011-03-30 2011-09-14 东南大学 L-shaped desulphurization wastewater flue gas evaporating plant
CN102180529B (en) * 2011-03-30 2012-08-22 东南大学 L-shaped desulphurization wastewater flue gas evaporating plant

Similar Documents

Publication Publication Date Title
CN204710097U (en) A kind of improved high-efficiency desulfurizing tower
CN201543380U (en) Efficient wet-type flue gas desulfurization device employing dual-alkali method for industrial coal-fired boiler
CN202683052U (en) Front semi-dry gas desulfurization system
CN201701871U (en) Desulfuration, denitration, decarburization, dedusting and black smoke removing integrated equipment
CN113385009A (en) Combustion flue gas desulfurization and denitrification tower
CN203533589U (en) Dust removing and desulfurizing device for coal-fired boiler
CN201423244Y (en) Flue gas desulfurization absorption tower
CN101564641B (en) Spray-optimized liquid column column
CN201389423Y (en) Flue gas desulphurization dust removing tower for coal burning boiler
CN210229606U (en) Tower type desulfurization and denitrification device
CN209406000U (en) A kind of novel demisting water seal tank arrangement
CN204325296U (en) A kind of gas desulfurizer
CN208852689U (en) A kind of Novel flue gas desulphurization system
CN208627006U (en) Cyclone device in flue gas desulfurization tower device of coal-fired boiler
CN102657985A (en) Smoke sulfur-removing and dust-removing system
CN207076323U (en) A kind of Full connected wet desulphurization tower
CN101564642B (en) Fume desulfurization absorber
CN201423243Y (en) Uniform flow spray pipe structure liquid column tower
CN202590617U (en) Flue gas desulfurization system adopting gravity moving bed reactor
CN201454363U (en) Two-phase rectification flue gas desulfurization absorption tower
CN205495334U (en) Efficient dry flue gas desulfurization device of desulfurization
CN102512943B (en) Smoke desulfurization tower with smashing device
CN202438258U (en) Dual-ring high-efficiency desulfurization absorbing tower and desulfurization system using same
CN204073751U (en) A kind of dedusting and desulphurization integrated system based on spray drying tower
CN201505503U (en) Special desulfurizing decontamination device of cremator

Legal Events

Date Code Title Description
C14 Grant of patent or utility model
GR01 Patent grant
AV01 Patent right actively abandoned

Granted publication date: 20100317

Effective date of abandoning: 20090531