CN201418526Y - 广告储物架 - Google Patents
广告储物架 Download PDFInfo
- Publication number
- CN201418526Y CN201418526Y CN2009201178294U CN200920117829U CN201418526Y CN 201418526 Y CN201418526 Y CN 201418526Y CN 2009201178294 U CN2009201178294 U CN 2009201178294U CN 200920117829 U CN200920117829 U CN 200920117829U CN 201418526 Y CN201418526 Y CN 201418526Y
- Authority
- CN
- China
- Prior art keywords
- folded sheet
- baffle
- gripper shoe
- baffle plate
- propaganda
- Prior art date
- Legal status (The legal status is an assumption and is not a legal conclusion. Google has not performed a legal analysis and makes no representation as to the accuracy of the status listed.)
- Expired - Fee Related
Links
- XEEYBQQBJWHFJM-UHFFFAOYSA-N Iron Chemical compound [Fe] XEEYBQQBJWHFJM-UHFFFAOYSA-N 0.000 claims description 20
- 229910052742 iron Inorganic materials 0.000 claims description 10
- 230000007812 deficiency Effects 0.000 description 2
- 238000005516 engineering process Methods 0.000 description 2
- 230000000694 effects Effects 0.000 description 1
- 239000012780 transparent material Substances 0.000 description 1
Images
Landscapes
- Holders For Apparel And Elements Relating To Apparel (AREA)
Abstract
本实用新型涉及一种储物架,尤其涉及一种折叠式储物架,公开了一种广告储物架,包括支撑板(1)和折叠板(3),折叠板(3)通过转动装置(2)与支撑板(1)相连,支撑板(1)上设有支撑面广告宣传栏(7),折叠板(3)上设有折叠面广告宣传栏(8);还包括挡板(5),挡板(5)通过从转动装置(4)与折叠板(3)相连,挡板(5)上设有挡板面广告宣传栏(9);折叠板(3)两侧设有护栏(6),护栏(6)与支撑板(1)、折叠板(3)和挡板(5)相连形成储物空间(10)。本实用新型将储物架兼具广告宣传栏的功能,使其更适合公共场所使用,同时使放置物品不易被撞落和折叠状态更稳定。
Description
技术领域
本实用新型涉及一种储物架,尤其涉及一种折叠式储物架。
背景技术
折叠式储物架因其使用方便和空间占用小而倍受人们的喜爱。目前常用的折叠储物架已由名称为折叠式挂壁储物架,申请号为200720068001.5,申请日为2007.03.20,公开号为CN201067187,公开日为2008.06.04的中国专利所揭示。上述专利公开了一种折叠式挂壁储物架,其包括架框、挂壁部件、折叠面板、转动连接装置,其折叠面板底部有至少一个凸点、架框下端有横撑。
上述专利产品小巧方便,可用于各种公共场所,但作为公共产品它却未能兼具广告宣传栏的功能,即未设置可供人们方便更换广告宣传件的装置,无法满足人们广告宣传的需求。
上述专利产品虽可储物,但因未设置护栏装置,使得放置在折叠面板上的物品易被撞落,从而给人们带来造成不必要的损失。
上述专利产品还未设置锁扣装置,使得折叠状态不稳定。
发明内容
本实用新型针对现有技术中存在的未兼具广告宣传栏功能,未设置护栏物品易被撞落和未设置锁扣装置折叠状态不稳定的不足,提供了一种兼具广告宣传栏功能,物品不易被撞落和折叠状态稳定的广告储物架。
为了解决上述技术问题,本实用新型通过下述技术方案得以解决:
广告储物架,包括支撑板和折叠板,折叠板通过转动装置与支撑板相连,支撑板上设有支撑面广告宣传栏。该技术方案解决了公共产品未兼具广告宣传栏功能的不足,使得折叠式储物架在方便储物的同时达到了广告宣传的目的。
作为优选,折叠板上设有折叠面广告宣传栏。该技术方案增加广告宣传栏的面积,即增大了广告宣传的效果。若采用透明材质,使得储物架在折起和打开时均可实现广告宣传。
作为优选,还包括挡板,挡板通过从转动装置与折叠板相连,挡板上设有挡板面广告宣传栏。增加挡板使得放置在折叠板上的物品不易被撞落,同时可多角度的实现广告宣传。
作为优选,折叠板两侧设有护栏,护栏与支撑板、折叠板和挡板相连形成储物空间。该技术方案使得放置在折叠板上的物品四周被包围,完全不会被撞落。
作为优选,护栏包括横挡和斜挡,斜挡一端与支撑板滑动连接,另一端与折叠板转动连接;横挡一端与斜挡转动连接,另一端与挡板转动连接。该技术方案中护栏的结构简单方便折叠,同时也加强了折叠板的承重。
作为优选,支撑板两侧边缘设有支撑板凸台,支撑板凸台内侧设有条形凹槽,斜挡滑动端嵌于条形凹槽中,并可在条形凹槽内滑动;折叠板两侧边缘设有折叠板凸台,折叠板凸台内侧设有斜挡凹槽,斜挡转动端嵌于斜挡凹槽中,并可在斜挡凹槽内转动;挡板两侧边缘设有挡板凸台,挡板凸台内侧设有横档凹槽,横档一端嵌于横档凹槽,另一端与斜挡铰接。该技术方案中护栏的连接点均在凸台内侧,折叠后护栏可被凸台形成的空间完全收纳,既节省空间又美观。
作为优选,还包括锁扣装置。该技术方案不是仅仅依靠转动装置使储物架保持折叠状态,同时增加锁扣装置,使得储物架折叠状态的稳定性更高。
作为优选,所述锁扣装置包括磁铁和铁片,铁片设于折叠板的边缘处,磁铁设于支撑板的边缘处,折叠板和挡板折叠后铁片可与磁铁接触。该技术方案中的锁扣装置采用磁铁和铁片,结构简单,不易损坏,适合用于公共产品。
作为优选,支撑面广告宣传栏包括支撑面宣传件夹持板,支撑面宣传件夹持板与支撑板平行固定,支撑面宣传件夹持板与支撑板之间设有支撑面宣传件放置空间,支撑面宣传件放置空间至少设有一个支撑面宣传件放置开口。该技术方案使得支撑面广告宣传栏中的广告宣传件可方便更换。
作为优选,折叠面广告宣传栏包括折叠面宣传件夹持板,折叠面宣传件夹持板与折叠板平行固定,折叠面宣传件夹持板与折叠板之间设有折叠面宣传件放置空间,折叠面宣传件放置空间至少设有一个折叠面宣传件放置开口;挡板面广告宣传栏包括挡板面宣传件夹持板,挡板面宣传件夹持板与挡板平行固定,挡板面宣传件夹持板与挡板之间设有挡板面宣传件放置空间,挡板面宣传件放置空间至少设有一个挡板面宣传件放置开口。该技术方案使得折叠面广告宣传栏和挡板面广告宣传栏中的广告宣传件也可方便更换。
按照本实用新型的技术方案,将储物架兼具广告宣传栏的功能,使其更适合公共场所使用;同时增加挡板和护栏,使得被置于广告储物架上的物品不易被撞落;增加锁扣装置,使得广告储物架折叠状态更稳定。
附图说明
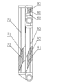
图1为本实用新型实施例的结构示意图。
图2为图1的俯视图。
图3为图1的右视图。
图4为本实用新型折叠后的结构示意图。
具体实施方式
下面结合附图与具体实施方式对本实用新型作进一步详细描述:
实施例
广告储物架,包括支撑板1、折叠板3、挡板5、护栏6和锁扣装置,折叠板3通过转动装置2与支撑板1相连,挡板5通过从转动装置4与折叠板3相连,支撑板1上设有支撑面广告宣传栏7,折叠板3上设有折叠面广告宣传栏8,挡板5上设有挡板面广告宣传栏9。
所述折叠板3两侧设有护栏6,护栏6包括横挡61和斜挡62。
斜挡62一端与支撑板1滑动连接,即支撑板1两侧边缘设有支撑板凸台11,支撑板凸台11内侧设有条形凹槽12,斜挡滑动端621嵌于条形凹槽12中,并可在条形凹槽12内滑动;
斜挡62另一端与折叠板3转动连接,即折叠板3两侧边缘设有折叠板凸台31,折叠板凸台31内侧设有斜挡凹槽32,斜挡转动端622嵌于斜挡凹槽32中,并可在斜挡凹槽32内转动;
横挡61一端与斜挡62转动连接,另一端与挡板5转动连接,即挡板5两侧边缘设有挡板凸台51,挡板凸台51内侧设有横档凹槽52,横档61一端与斜挡62铰接,另一端嵌于横档凹槽52;
即护栏6与支撑板1、折叠板3和挡板5相连形成储物空间10。
所述锁扣装置包括磁铁21和铁片22,铁片22设于折叠板3的边缘处,磁铁21设于支撑板1的边缘处,折叠板3和挡板5折叠后铁片22可与磁铁21接触。
所述支撑面广告宣传栏7包括支撑面宣传件夹持板71,支撑面宣传件夹持板71与支撑板1平行固定,支撑面宣传件夹持板71与支撑板1之间设有支撑面宣传件放置空间72,支撑面宣传件放置空间72至少设有一个支撑面宣传件放置开口73;
所述折叠面广告宣传栏8包括折叠面宣传件夹持板81,折叠面宣传件夹持板81与折叠板3平行固定,折叠面宣传件夹持板81与折叠板3之间设有折叠面宣传件放置空间82,折叠面宣传件放置空间82至少设有一个折叠面宣传件放置开口83;
所述挡板面广告宣传栏9包括挡板面宣传件夹持板91,挡板面宣传件夹持板91与挡板5平行固定,挡板面宣传件夹持板91与挡板5之间设有挡板面宣传件放置空间92,挡板面宣传件放置空间92至少设有一个挡板面宣传件放置开口93。
本实用新型采用透明薄板制成,可清楚展示广告宣传件的内容,在所述的折叠面宣传件放置空间82中可放置两份广告宣传件,使折叠板3展开和折起时均可展示广告宣传件。
使用说明:将支撑板1固定于公共场所的墙面等支撑物上,折叠板3和挡板5折起如图4所示,此时人们可看到放置于折叠面广告宣传栏8和挡板面广告宣传栏9中的广告宣传件;当人们需储物时可先将折叠板3和挡板5展开,再将物品放置于折叠板3上,此时人们还可看到支撑面广告宣传栏7中的广告宣传件;当人们不需储物时再将折叠板3和挡板5折起恢复至图4所示。
总之,以上所述仅为本实用新型的较佳实施例,凡依本实用新型申请专利范围所作的均等变化与修饰,皆应属本实用新型专利的涵盖范围。
Claims (10)
1.广告储物架,包括支撑板(1)和折叠板(3),折叠板(3)通过转动装置(2)与支撑板(1)相连,其特征在于:支撑板(1)上设有支撑面广告宣传栏(7)。
2.根据权利要求1所述广告储物架,其特征在于:折叠板(3)上设有折叠面广告宣传栏(8)。
3.根据权利要求2所述广告储物架,其特征在于:还包括挡板(5),挡板(5)通过从转动装置(4)与折叠板(3)相连,挡板(5)上设有挡板面广告宣传栏(9)。
4.根据权利要求3所述广告储物架,其特征在于:折叠板(3)两侧设有护栏(6),护栏(6)与支撑板(1)、折叠板(3)和挡板(5)相连形成储物空间(10)。
5.根据权利要求4所述广告储物架,其特征在于:护栏(6)包括横挡(61)和斜挡(62),斜挡(62)一端与支撑板(1)滑动连接,另一端与折叠板(3)转动连接;横挡(61)一端与斜挡(62)转动连接,另一端与挡板(5)转动连接。
6.根据权利要求5所述广告储物架,其特征在于:
支撑板(1)两侧边缘设有支撑板凸台(11),支撑板凸台(11)内侧设有条形凹槽(12),斜挡滑动端(621)嵌于条形凹槽(12)中,并可在条形凹槽(12)内滑动;
折叠板(3)两侧边缘设有折叠板凸台(31),折叠板凸台(31)内侧设有斜挡凹槽(32),斜挡转动端(622)嵌于斜挡凹槽(32)中,并可在斜挡凹槽(32)内转动;
挡板(5)两侧边缘设有挡板凸台(51),挡板凸台(51)内侧设有横档凹槽(52),横档(61)一端嵌于横档凹槽(52),另一端与斜挡(62)铰接。
7.根据权利要求1所述广告储物架,其特征在于:还包括锁扣装置。
8.根据权利要求7所述广告储物架,其特征在于:所述锁扣装置包括磁铁(21)和铁片(22),铁片(22)设于折叠板(3)的边缘处,磁铁(21)设于支撑板(1)的边缘处,折叠板(3)和挡板(5)折叠后铁片(22)可与磁铁(21)接触。
9.根据权利要求1或2或3或4或5或6或7或8所述广告储物架,其特征在于:支撑面广告宣传栏(7)包括支撑面宣传件夹持板(71),支撑面宣传件夹持板(71)与支撑板(1)平行固定,支撑面宣传件夹持板(71)与支撑板(1)之间设有支撑面宣传件放置空间(72),支撑面宣传件放置空间(72)至少设有一个支撑面宣传件放置开口(73)。
10.根据权利要求9所述广告储物架,其特征在于:
折叠面广告宣传栏(8)包括折叠面宣传件夹持板(81),折叠面宣传件夹持板(81)与折叠板(3)平行固定,折叠面宣传件夹持板(81)与折叠板(3)之间设有折叠面宣传件放置空间(82),折叠面宣传件放置空间(82)至少设有一个折叠面宣传件放置开口(83);
挡板面广告宣传栏(9)包括挡板面宣传件夹持板(91),挡板面宣传件夹持板(91)与挡板(5)平行固定,挡板面宣传件夹持板(91)与挡板(5)之间设有挡板面宣传件放置空间(92),挡板面宣传件放置空间(92)至少设有一个挡板面宣传件放置开口(93)。
Priority Applications (1)
| Application Number | Priority Date | Filing Date | Title |
|---|---|---|---|
| CN2009201178294U CN201418526Y (zh) | 2009-04-16 | 2009-04-16 | 广告储物架 |
Applications Claiming Priority (1)
| Application Number | Priority Date | Filing Date | Title |
|---|---|---|---|
| CN2009201178294U CN201418526Y (zh) | 2009-04-16 | 2009-04-16 | 广告储物架 |
Publications (1)
| Publication Number | Publication Date |
|---|---|
| CN201418526Y true CN201418526Y (zh) | 2010-03-10 |
Family
ID=41805167
Family Applications (1)
| Application Number | Title | Priority Date | Filing Date |
|---|---|---|---|
| CN2009201178294U Expired - Fee Related CN201418526Y (zh) | 2009-04-16 | 2009-04-16 | 广告储物架 |
Country Status (1)
| Country | Link |
|---|---|
| CN (1) | CN201418526Y (zh) |
Cited By (3)
| Publication number | Priority date | Publication date | Assignee | Title |
|---|---|---|---|---|
| CN104867425A (zh) * | 2015-06-16 | 2015-08-26 | 安徽机电职业技术学院 | 一种移动式广告牌展示架 |
| CN108877584A (zh) * | 2018-07-16 | 2018-11-23 | 广东粤动传媒有限公司 | 一种便于拆卸的户外宣传用广告架 |
| CN109903701A (zh) * | 2019-03-26 | 2019-06-18 | 江西师范大学 | 一种多功能文化宣传栏 |
-
2009
- 2009-04-16 CN CN2009201178294U patent/CN201418526Y/zh not_active Expired - Fee Related
Cited By (4)
| Publication number | Priority date | Publication date | Assignee | Title |
|---|---|---|---|---|
| CN104867425A (zh) * | 2015-06-16 | 2015-08-26 | 安徽机电职业技术学院 | 一种移动式广告牌展示架 |
| CN108877584A (zh) * | 2018-07-16 | 2018-11-23 | 广东粤动传媒有限公司 | 一种便于拆卸的户外宣传用广告架 |
| CN109903701A (zh) * | 2019-03-26 | 2019-06-18 | 江西师范大学 | 一种多功能文化宣传栏 |
| CN109903701B (zh) * | 2019-03-26 | 2020-11-24 | 江西师范大学 | 一种多功能文化宣传栏 |
Similar Documents
| Publication | Publication Date | Title |
|---|---|---|
| CN202436644U (zh) | 一种简易折叠展示架 | |
| CN201418526Y (zh) | 广告储物架 | |
| CN206025825U (zh) | 一种创新创业宣传用展柜 | |
| CN201097807Y (zh) | 一种折叠柜 | |
| CN103416996B (zh) | 一种浏览方便的密集架 | |
| CN207912488U (zh) | 一种快速收纳和展开的展示柜 | |
| CN202750984U (zh) | 可收缩式鞋架 | |
| CN202878957U (zh) | 一种阅读翻书固定架 | |
| CN112365821A (zh) | 一种便于张贴海报的折叠展架 | |
| CN203106483U (zh) | 一种单边折叠置物架 | |
| CN209843191U (zh) | 一种具有加固结构的便携折叠式室外宣传展示架 | |
| CN105286312B (zh) | 垂直循环图纸整理组合架 | |
| CN202739271U (zh) | 多功能置物柜 | |
| CN210018679U (zh) | 一种艺术设计用作品展示架 | |
| CN202496717U (zh) | 可折叠式书立 | |
| CN210354088U (zh) | 一种便于拆卸收纳的日用百货用展示架 | |
| CN215502231U (zh) | 一种纸板展示架 | |
| CN108741946A (zh) | 一种用于袜子售卖的货架及其使用方法 | |
| CN209471689U (zh) | 一种平面广告投放装置 | |
| CN215730782U (zh) | 一种稳定性高的双面广告板 | |
| CN217885583U (zh) | 一种方便收纳的展柜结构 | |
| CN208892124U (zh) | 一种便携式货架 | |
| CN205100463U (zh) | 一种新型装饰墙板 | |
| CN207506294U (zh) | 一种便携式展架 | |
| CN218729827U (zh) | 广告展架 |
Legal Events
| Date | Code | Title | Description |
|---|---|---|---|
| C14 | Grant of patent or utility model | ||
| GR01 | Patent grant | ||
| C17 | Cessation of patent right | ||
| CF01 | Termination of patent right due to non-payment of annual fee |
Granted publication date: 20100310 Termination date: 20110416 |