CN201413887Y - Rectangular power connector, plug and socket - Google Patents

Rectangular power connector, plug and socket Download PDF

Info

Publication number
CN201413887Y
CN201413887Y CN2009200888987U CN200920088898U CN201413887Y CN 201413887 Y CN201413887 Y CN 201413887Y CN 2009200888987 U CN2009200888987 U CN 2009200888987U CN 200920088898 U CN200920088898 U CN 200920088898U CN 201413887 Y CN201413887 Y CN 201413887Y
Authority
CN
China
Prior art keywords
plug
contact
socket
side wall
installation cavity
Prior art date
Legal status (The legal status is an assumption and is not a legal conclusion. Google has not performed a legal analysis and makes no representation as to the accuracy of the status listed.)
Expired - Fee Related
Application number
CN2009200888987U
Other languages
Chinese (zh)
Inventor
周文富
Current Assignee (The listed assignees may be inaccurate. Google has not performed a legal analysis and makes no representation or warranty as to the accuracy of the list.)
China Aviation Optical Electrical Technology Co Ltd
Original Assignee
China Aviation Optical Electrical Technology Co Ltd
Priority date (The priority date is an assumption and is not a legal conclusion. Google has not performed a legal analysis and makes no representation as to the accuracy of the date listed.)
Filing date
Publication date
Application filed by China Aviation Optical Electrical Technology Co Ltd filed Critical China Aviation Optical Electrical Technology Co Ltd
Priority to CN2009200888987U priority Critical patent/CN201413887Y/en
Application granted granted Critical
Publication of CN201413887Y publication Critical patent/CN201413887Y/en
Anticipated expiration legal-status Critical
Expired - Fee Related legal-status Critical Current

Links

Images

Landscapes

  • Connector Housings Or Holding Contact Members (AREA)
  • Details Of Connecting Devices For Male And Female Coupling (AREA)

Abstract

本实用新型涉及一种矩形电源连接器插头,包括插头壳体,插头壳体内设有插头接触件安装腔,插头接触件安装腔内设有插头接触件,所述插头接触件安装腔的第一侧壁上设有从插头壳体后端面沿插接方向向前延伸的插头接触件夹持槽,所述插头接触件安装腔内与第一侧壁相对的侧壁为插头接触件安装腔第二侧壁,插头接触件安装腔的第二侧壁的内面上设有与插头接触件安装腔第一侧壁上的插头接触件夹持槽相对应的插头接触件定位盲槽,所述插头接触件具有载流片,该载流片的前、后端分别卡持于插头接触件定位盲槽和插头接触件夹持槽内。该矩形电源连接器插头结构简单,插头接触件与插头壳体插接可靠性好,同时也丰富了矩形电源连接器的种类。

Figure 200920088898

The utility model relates to a plug of a rectangular power connector, which comprises a plug housing. A plug contact installation cavity is arranged in the plug housing, and a plug contact is arranged in the plug contact installation cavity. The first plug contact installation cavity The side wall is provided with a plug contact holding groove extending forward from the rear end face of the plug housing along the insertion direction, and the side wall opposite to the first side wall in the plug contact installation cavity is the second plug contact installation cavity. Two side walls, the inner surface of the second side wall of the plug contact mounting cavity is provided with a plug contact positioning blind groove corresponding to the plug contact clamping groove on the first side wall of the plug contact mounting cavity, the plug The contact piece has a current-carrying piece, and the front end and the rear end of the current-carrying piece are held in the plug contact piece positioning blind groove and the plug contact piece holding groove respectively. The plug structure of the rectangular power connector is simple, the plug contact piece and the plug housing are highly reliable, and meanwhile the types of the rectangular power connector are enriched.

Figure 200920088898

Description

A kind of rectangle power connector and plug, socket
Technical field
The utility model relates to a kind of rectangle power connector, also relates to a kind of rectangle plug of power connector and socket simultaneously.
Background technology
Development of integrated circuits has driven the increase of electronic building brick density in the Electronic Packaging product, also driven simultaneously the increase that the power connector of electric power demand is provided, for example, a kind of connector of coming to this of the electric connector that provided of Chinese patent ZL02141437.8.But the kind of this class power connector is more limited, can not satisfy under different user and the different environment for use to the diversified requirement of power connector.
The utility model content
The purpose of this utility model is to provide a kind of rectangle power connector, and a kind of rectangle plug of power connector and socket also are provided simultaneously.
For achieving the above object, the utility model adopts following technical scheme: a kind of rectangle plug of power connector, comprise plug casing, be provided with plug contact installation cavity in the plug casing, be provided with the plug contact in the plug contact installation cavity, the first side wall of described plug contact installation cavity is provided with the plug contact holding tank that extends forward from the plug casing rear end face along the grafting direction, this plug contact holding tank connect in the horizontal described socket contact installation cavity the first side wall in, the outside, the sidewall relative with the first side wall is plug contact installation cavity second sidewall in the described plug contact installation cavity, the inner face of second sidewall of plug contact installation cavity be provided with plug contact installation cavity the first side wall on the corresponding plug contact of plug contact holding tank locate blind groove, described plug contact has current carrying lug, before this current carrying lug, the rear end is fastened in the plug contact respectively and locatees in blind groove and the plug contact holding tank.
On the interior sidewall adjacent of described plug contact installation cavity, be provided with the radiating groove that extends along this plug grafting direction with plug contact installation cavity the first side wall.
Described plug contact is made of tabular public plug and a pair of space at rear portion, the parallel relative current carrying lug of its front portion, respectively to the both sides formation that overhangs, the lower limb of described two current carrying lugs respectively is provided with at least one termination pin to this two current carrying lug from the tail end of tabular public plug.
Described current carrying lug is provided with the protrusion of evagination; The sidewall adjacent with plug contact installation cavity the first side wall is provided with the retaining draw-in groove in the described plug contact installation cavity, and this retaining draw-in groove cooperates with described ridge retaining.
A kind of rectangle power connector socket, comprise Socket casing, be provided with socket contact installation cavity in the Socket casing, be provided with the socket contact in the socket contact installation cavity, the first side wall of described socket contact installation cavity is provided with the socket contact holding tank that extends forward from the Socket casing rear end face along the grafting direction, this socket contact holding tank connect in the horizontal described socket contact installation cavity the first side wall in, the outside, the sidewall relative with the first side wall is socket contact installation cavity second sidewall in the described socket contact installation cavity, and the inner face of socket contact installation cavity second sidewall is provided with the socket contact and locatees blind groove; Described socket contact has two relative current carrying lugs, and the rear end of described current carrying lug is fastened in the holding tank, and the front end of described two current carrying lugs is connected by connector, and described connector is fastened in the socket contact and locatees in the blind groove.
On the interior sidewall adjacent of described socket contact installation cavity, be provided with the radiating groove that extends along this socket grafting direction with socket contact installation cavity the first side wall.
Described socket contact comprises a pair of space, parallel relative current carrying lug, be oppositely arranged from the extended separately elastic cantilever of the mutually same end of these two current carrying lugs, form the space that plugs together of the tabular public plug of plug contact between two elastic cantilevers, the free end of two elastic cantilevers inserts mouth away from forming the male end contact mutually; Be provided with at least one indent arc-shaped contact part by arm roots to free end on each elastic cantilever, indent arc-shaped contact part quantity on two elastic cantilevers equates, is oppositely arranged one by one, beeline between every group of relative indent arc-shaped contact part is all less than the thickness of the tabular public plug of supporting plug contact, when the male end contact insert described plug together the space after, two elastic cantilevers clamp the tabular public plug elasticity of male end contact; The lower limb of two current carrying lugs respectively is provided with at least one termination pin.
Described current carrying lug is provided with the protrusion of evagination; The sidewall adjacent with socket contact installation cavity the first side wall is provided with the retaining draw-in groove in the described socket contact installation cavity, and this retaining draw-in groove cooperates with described ridge retaining.
A kind of rectangle power connector, comprise plug and socket, described plug comprises plug casing, be provided with plug contact installation cavity in the plug casing, be provided with the plug contact in the plug contact installation cavity, it is characterized in that: the first side wall of described plug contact installation cavity is provided with the plug contact holding tank that extends forward from the plug casing rear end face along the grafting direction, this plug contact holding tank connect in the horizontal described socket contact installation cavity the first side wall in, the outside, the sidewall relative with the first side wall is plug contact installation cavity second sidewall in the described plug contact installation cavity, the inner face of second sidewall of plug contact installation cavity be provided with plug contact installation cavity the first side wall on the corresponding plug contact of plug contact holding tank locate blind groove, described plug contact has current carrying lug, before this current carrying lug, the rear end is fastened in the plug contact respectively and locatees in blind groove and the plug contact holding tank; Described socket comprises Socket casing, be provided with socket contact installation cavity in the Socket casing, be provided with the socket contact in the socket contact installation cavity, the first side wall of described socket contact installation cavity is provided with the socket contact holding tank that extends forward from the Socket casing rear end face along the grafting direction, this socket contact holding tank connect in the horizontal described socket contact installation cavity the first side wall in, the outside, the sidewall relative with the first side wall is socket contact installation cavity second sidewall in the described socket contact installation cavity, and the inner face of socket contact installation cavity second sidewall is provided with the socket contact and locatees blind groove; Described socket contact has two relative current carrying lugs, and the rear end of described current carrying lug is fastened in the holding tank, and the front end of described two current carrying lugs is connected by connector, and described connector is fastened in the socket contact and locatees in the blind groove.
On the interior sidewall adjacent of described plug contact installation cavity, be provided with the radiating groove that extends along this plug grafting direction with plug contact installation cavity the first side wall; On the interior sidewall adjacent of described socket contact installation cavity, be provided with the radiating groove that extends along this socket grafting direction with socket contact installation cavity the first side wall.
The rectangle power connector of such scheme comprises plug and socket, holding tank on plug casing and the Socket casing fixes corresponding plug contact of clamping and socket contact, adopt this kind mode simple in structure, clamping reliability height, in addition, plug casing prevents getting loose of plug contact and socket contact by cooperating of protrusion and retaining draw-in groove with plug contact and Socket casing respectively with the socket contact.Also have, be respectively equipped with radiating groove on plug casing and the Socket casing, after plug and socket grafting, radiating groove on the plug and the radiating groove mutual conduction on the socket form heat dissipation channel, this heat dissipation channel has been strengthened the radiating effect of connector, has optimized the performance of connector.Rectangle plug of power connector of this programme and socket have enriched the kind of power connector, provide another possibility for the user selects power connector.
Description of drawings
Fig. 1 is the perspective view of the utility model rectangle plug of power connector;
Fig. 2 is the perspective view of the utility model plug casing;
Fig. 3 is the front view of Fig. 2;
Fig. 4 is the vertical view of Fig. 3;
Fig. 5 is the B-B cutaway view of Fig. 4;
Fig. 6 is the perspective view of plug contact;
Fig. 7 is the partial sectional perspective view of the utility model rectangle plug of power connector;
Fig. 8 is the perspective view of the utility model Socket casing;
Fig. 9 is the front view of Fig. 8;
Figure 10 is the vertical view of Fig. 9;
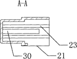
Figure 11 is the A-A cutaway view of Figure 10;
Figure 12 is the perspective view of socket contact;
Figure 13 is the perspective view of the utility model rectangle power connector socket;
Figure 14 is the partial sectional perspective view of the utility model rectangle power connector socket;
Figure 15 is the perspective view of the utility model rectangle power connector.
Embodiment
Fig. 1~rectangle plug of power connector of the present utility model shown in Figure 7, comprise plug casing 1, go up along its length in the plug casing 1 and evenly be laid with plug contact installation cavity 5,5 are equipped with plug contact 6 in the plug contact installation cavity, wherein, the sidewall that plug contact installation cavity 5 is positioned on the plug casing length direction is a first side wall, the first side wall is provided with the holding tank 4 that extends forward from the plug casing rear end face along the grafting direction, and this holding tank 4 connects inside and outside of socket contact installation cavity 5 the first side walls in the horizontal; In addition, the sidewalls relative with the first side wall are second sidewall in the plug contact installation cavity 5, the inner face of second sidewall be provided with the first side wall on the corresponding plug contact of holding tank locate blind groove 2; Also have, plug contact 6 is made of tabular public plug and a pair of space at rear portion, the parallel relative current carrying lug 7 of its front portion, this two current carrying lug 7 from the tail end of tabular public plug respectively to the both sides formation that overhangs, wherein, the lower limb of two current carrying lugs 7 respectively is provided with at least one termination pin 18, and the front and back ends of current carrying lug 7 is fastened in the plug contact respectively and locatees in blind groove 2 and the holding tank 4.Also have, the sidewall adjacent with the first side wall is provided with retaining draw-in groove 11 in the plug contact installation cavity 5, and the current carrying lug 7 of plug contact 6 is provided with the corresponding protrusion that holds 8 with the retaining draw-in groove.In addition, on the plug contact installation cavity 5 interior sidewalls adjacent, be provided with the radiating groove 3 that extends along this plug grafting direction with the first side wall.
Fig. 8~rectangle power connector socket of the present utility model shown in Figure 14, comprise Socket casing 21, go up along its length in the Socket casing 21 and evenly be laid with socket contact installation cavity 24, in the socket contact installation cavity 24 socket contact 26 is installed, wherein, the sidewall that socket contact installation cavity 24 is positioned on Socket casing 21 length directions is a first side wall, the first side wall is provided with the holding tank 25 that extends back along the grafting direction from the end face of this housing inserted terminal, this holding tank 25 connect in the horizontal described socket contact installation cavity 24 the first side walls in, the outside; In addition, the sidewall relative with the first side wall is second sidewall in the socket contact installation cavity 24, and the inner face of second sidewall is provided with the plug contact and locatees blind groove 22; Described socket contact 26 comprises a pair of space, parallel relative current carrying lug 27, be oppositely arranged from the extended separately elastic cantilever of the mutually same end of these two current carrying lugs 27, form the space that plugs together of the tabular public plug of plug contact between two elastic cantilevers, the free end of two elastic cantilevers inserts mouth away from forming the male end contact mutually; Be provided with at least one indent arc-shaped contact part by arm roots to free end on each elastic cantilever, indent arc-shaped contact part quantity on two elastic cantilevers equates, is oppositely arranged one by one, beeline between every group of relative indent arc-shaped contact part is all less than the thickness of the tabular public plug of supporting plug contact, when the male end contact insert described plug together the space after, two elastic cantilevers clamp the tabular public plug elasticity of male end contact; The lower limb of two current carrying lugs 27 respectively is provided with at least one termination pin 60, wherein, the side that current carrying lug 27 has the termination pin is fastened in the holding tank 25, and the front end of two current carrying lugs 27 is connected by connector 28, and connector 28 is fastened in the plug contact and locatees in the blind groove 22.Also have, the sidewall adjacent with the first side wall is provided with retaining draw-in groove 30 in the socket contact installation cavity 24, and the current carrying lug 27 of socket contact 26 is provided with and the retaining draw-in groove 30 corresponding protrusions that hold 29.In addition, on the socket contact installation cavity 24 interior sidewalls adjacent, be provided with the radiating groove 23 that extends along this socket grafting direction with the first side wall.
Fig. 1~rectangle power connector of the present utility model shown in Figure 15, comprise plug 40 and socket 50, described plug 40, comprise plug casing 1, go up along its length in the plug casing 1 and evenly be laid with plug contact installation cavity 5,5 are equipped with plug contact 6 in the plug contact installation cavity, wherein, the sidewall that plug contact installation cavity 5 is positioned on the plug casing length direction is a first side wall, the first side wall is provided with the holding tank 4 that extends forward from the plug casing rear end face along the grafting direction, this holding tank 4 connect in the horizontal socket contact installation cavity 5 the first side walls in, the outside; In addition, the sidewalls relative with the first side wall are second sidewall in the plug contact installation cavity 5, the inner face of second sidewall be provided with the first side wall on the corresponding plug contact of holding tank locate blind groove 2; Also have, plug contact 6 is made of tabular public plug and a pair of space at rear portion, the parallel relative current carrying lug 7 of its front portion, this two current carrying lug 7 from the tail end of tabular public plug respectively to the both sides formation that overhangs, wherein, the lower limb of two current carrying lugs 7 respectively is provided with at least one termination pin 18, and the front and back ends of current carrying lug 7 is fastened in the plug contact respectively and locatees in blind groove 2 and the holding tank 4.Also have, the sidewall adjacent with the first side wall is provided with retaining draw-in groove 11 in the plug contact installation cavity 5, and the current carrying lug 7 of plug contact 6 is provided with the corresponding protrusion that holds 8 with the retaining draw-in groove.In addition, on the plug contact installation cavity 5 interior sidewalls adjacent, be provided with the radiating groove 3 that extends along this plug grafting direction with the first side wall.
Described socket 50, comprise Socket casing 21, go up along its length in the Socket casing 21 and evenly be laid with socket contact installation cavity 24, in the socket contact installation cavity 24 socket contact 26 is installed, wherein, the sidewall that socket contact installation cavity 24 is positioned on Socket casing 21 length directions is a first side wall, the first side wall is provided with the holding tank 25 that extends back along the grafting direction from the end face of this housing inserted terminal, and this holding tank 25 connects inside and outside of described socket contact installation cavity 24 the first side walls in the horizontal; In addition, the sidewall relative with the first side wall is second sidewall in the socket contact installation cavity 24, and the inner face of second sidewall is provided with the plug contact and locatees blind groove 22; Described socket contact 26 comprises a pair of space, parallel relative current carrying lug 27, be oppositely arranged from the extended separately elastic cantilever of the mutually same end of these two current carrying lugs 27, form the space that plugs together of the tabular public plug of plug contact between two elastic cantilevers, the free end of two elastic cantilevers inserts mouth away from forming the male end contact mutually; Be provided with at least one indent arc-shaped contact part by arm roots to free end on each elastic cantilever, indent arc-shaped contact part quantity on two elastic cantilevers equates, is oppositely arranged one by one, beeline between every group of relative indent arc-shaped contact part is all less than the thickness of the tabular public plug of supporting plug contact, when the male end contact insert described plug together the space after, two elastic cantilevers clamp the tabular public plug elasticity of male end contact; The lower limb of two current carrying lugs 27 respectively is provided with at least one termination pin 60, wherein, the side that current carrying lug 27 has the termination pin is fastened in the holding tank 25, and the front end of two current carrying lugs 27 is connected by connector 28, and connector 28 is fastened in the plug contact and locatees in the blind groove 22.Also have, the sidewall adjacent with the first side wall is provided with retaining draw-in groove 30 in the socket contact installation cavity 24, and the current carrying lug 27 of socket contact 26 is provided with and the retaining draw-in groove 30 corresponding protrusions that hold 29.In addition, on the socket contact installation cavity 24 interior sidewalls adjacent, be provided with the radiating groove 23 that extends along this socket grafting direction with the first side wall.

Claims (10)

1.一种矩形电源连接器插头,包括插头壳体(1),插头壳体(1)内设有插头接触件安装腔(5),插头接触件安装腔(5)内设有插头接触件(6),其特征在于:所述插头接触件安装腔(5)的第一侧壁上设有从插头壳体(1)后端面沿插接方向向前延伸的插头接触件夹持槽(4),该插头接触件夹持槽(4)在横向上贯通所述插座接触件安装腔第一侧壁的内、外面,所述插头接触件安装腔(5)内与第一侧壁相对的侧壁为插头接触件安装腔第二侧壁,插头接触件安装腔的第二侧壁的内面上设有与插头接触件安装腔第一侧壁上的插头接触件夹持槽(4)相对应的插头接触件定位盲槽(2),所述插头接触件具有载流片(7),该载流片(7)的前、后端分别卡持于插头接触件定位盲槽(2)和插头接触件夹持槽(4)内。1. A rectangular power connector plug, comprising a plug housing (1), the plug housing (1) is provided with a plug contact mounting cavity (5), and the plug contact mounting cavity (5) is provided with a plug contact (6), characterized in that: the first side wall of the plug contact installation cavity (5) is provided with a plug contact clamping groove ( 4), the plug contact holding groove (4) runs through the inside and outside of the first side wall of the socket contact installation cavity in the transverse direction, and the inside of the plug contact installation cavity (5) is opposite to the first side wall The side wall is the second side wall of the plug contact installation cavity, and the inner surface of the second side wall of the plug contact installation cavity is provided with the plug contact clamping groove (4) on the first side wall of the plug contact installation cavity. The corresponding plug contact positioning blind groove (2), the plug contact has a current carrier (7), the front and rear ends of the current carrier (7) are respectively clamped in the plug contact positioning blind slot (2 ) and plug contact holding groove (4). 2.根据权利要求1所述的矩形电源连接器插头,其特征在于:所述插头接触件安装腔(5)内与插头接触件安装腔第一侧壁相邻的侧壁上,设有沿该插头插接方向延伸的散热槽(3)。2. The rectangular power connector plug according to claim 1, characterized in that: on the side wall adjacent to the first side wall of the plug contact installation cavity (5) in the plug contact installation cavity, there is a The heat dissipation groove (3) extending in the insertion direction of the plug. 3.根据权利要求1或2所述的矩形电源连接器插头,其特征在于:所述插头接触件(6)由其前部的板状公插头和后部的一对相互间隔、平行相对的载流片(7)构成,该两载流片(7)自板状公插头的尾端分别向两侧悬伸形成,所述两块载流片(7)的下边缘各设有至少一个端接脚(18)。3. The rectangular power connector plug according to claim 1 or 2, characterized in that: the plug contact (6) consists of a plate-shaped male plug at the front and a pair of spaced apart and parallel opposite plugs at the rear. The two current carriers (7) are formed by hanging from the tail end of the plate-shaped male plug to both sides, and the lower edges of the two current carriers (7) are each provided with at least one Termination pin (18). 4.根据权利要求3所述的矩形电源连接器插头,其特征在于:所述载流片(7)上设有外凸的突出物(8);所述插头接触件安装腔(5)内与插头接触件安装腔第一侧壁相邻的侧壁上设有止退卡槽(11),该止退卡槽(11)与所述凸出物(8)止退配合。4. The rectangular power connector plug according to claim 3, characterized in that: the current carrier (7) is provided with a protruding protrusion (8); On the side wall adjacent to the first side wall of the plug contact piece installation cavity, there is provided a retreat-preventing groove (11), and the retreat-preventing groove (11) cooperates with the protrusion (8) to prevent retreat. 5.一种矩形电源连接器插座,包括插座壳体(21),插座壳体(21)内设有插座接触件安装腔(24),插座接触件安装腔(24)内设有插座接触件(26),其特征在于:所述插座接触件安装腔(24)的第一侧壁上设有从插座壳体后端面沿插接方向向前延伸的插座接触件夹持槽(25),该插座接触件夹持槽(25)在横向上贯通所述插座接触件安装腔第一侧壁的内、外面,所述插座接触件安装腔(24)内与第一侧壁相对的侧壁为插座接触件安装腔第二侧壁,插座接触件安装腔第二侧壁的内面上设有插座接触件定位盲槽(22);所述插座接触件具有两相对的载流片(27),所述载流片(27)的后端卡持于插座接触件夹持槽(25)内,所述两载流片(27)的前端通过连接件(28)相连接,所述连接件(28)卡持于插座接触件定位盲槽(22)内。5. A rectangular power connector socket, comprising a socket housing (21), the socket housing (21) is provided with a socket contact mounting cavity (24), and the socket contact mounting cavity (24) is provided with a socket contact (26), characterized in that: the first side wall of the socket contact installation cavity (24) is provided with a socket contact clamping groove (25) extending forward from the rear end surface of the socket housing along the insertion direction, The socket contact holding groove (25) runs through the inside and outside of the first side wall of the socket contact mounting cavity in the transverse direction, and the side wall opposite to the first side wall in the socket contact mounting cavity (24) It is the second side wall of the socket contact installation cavity, and the socket contact positioning blind groove (22) is provided on the inner surface of the second side wall of the socket contact installation cavity; the socket contact has two opposite current carrying pieces (27) , the rear end of the current carrier (27) is clamped in the socket contact holding groove (25), and the front ends of the two current carriers (27) are connected by a connecting piece (28), and the connecting piece (28) is clamped in the positioning blind groove (22) of the socket contact piece. 6.根据权利要求5所述的矩形电源连接器插座,其特征在于:所述插座接触件安装腔(24)内与插座接触件安装腔第一侧壁相邻的侧壁上,设有沿该插座插接方向延伸的散热槽(23)。6. The rectangular power connector socket according to claim 5, characterized in that: on the side wall adjacent to the first side wall of the socket contact mounting cavity in the socket contact mounting cavity (24), there is a The heat dissipation groove (23) extending in the insertion direction of the socket. 7.根据权利要求5或6所述的矩形电源连接器插座,其特征在于:所述插座接触件(26)包括一对相互间隔、平行相对的载流片(27),从该两块载流片(27)的相同一端各自延伸出的弹性悬臂相对设置,在两弹性悬臂之间形成插头接触件板状公插头的插合空间,两弹性悬臂的自由端相互远离形成公端接触件插入口;每一弹性悬臂上由臂根部至自由端设有至少一个内凹弧形接触部,两弹性悬臂上的内凹弧形接触部数量相等、一一相对设置,每组相对的内凹弧形接触部之间的最短距离均小于配套插头接触件板状公插头的厚度,当公端接触件插入所述插合空间后,两弹性悬臂对公端接触件板状公插头弹性夹紧;两块载流片(27)的下边缘各设有至少一个端接脚(60)。7. The rectangular power connector receptacle according to claim 5 or 6, characterized in that: said receptacle contact (26) includes a pair of mutually spaced, parallel and opposite current-carrying pieces (27), from which two pieces of carrying The elastic cantilevers extended from the same ends of the flow sheet (27) are arranged opposite to each other, and the insertion space of the plug contact plate-shaped male plug is formed between the two elastic cantilevers. Each elastic cantilever is provided with at least one concave arc-shaped contact part from the root of the arm to the free end. The shortest distance between the contact parts is less than the thickness of the plate-shaped male plug of the matching plug contact piece. When the male-end contact piece is inserted into the insertion space, the two elastic cantilevers elastically clamp the plate-shaped male plug of the male-end contact piece; The lower edges of the two current carriers (27) are respectively provided with at least one terminal pin (60). 8.根据权利要求7所述的矩形电源连接器插座,其特征在于:所述载流片(27)上设有外凸的突出物(29);所述插座接触件安装腔(24)内与插座接触件安装腔第一侧壁相邻的侧壁上设有止退卡槽(30),该止退卡槽(30)与所述凸出物(29)止退配合。8. The rectangular power connector socket according to claim 7, characterized in that: the current carrier (27) is provided with a protruding protrusion (29); An anti-retreat groove (30) is provided on the side wall adjacent to the first side wall of the mounting cavity of the socket contact piece, and the anti-retreat groove (30) cooperates with the protrusion (29) for anti-retreat. 9.一种矩形电源连接器,包括插头和插座,其特征在于:所述插头包括插头壳体(1),插头壳体(1)内设有插头接触件安装腔(5),插头接触件安装腔(5)内设有插头接触件(6),所述插头接触件安装腔(5)的第一侧壁上设有从插头壳体(1)后端面沿插接方向向前延伸的插头接触件夹持槽(4),该插头接触件夹持槽(4)在横向上贯通所述插座接触件安装腔第一侧壁的内、外面,所述插头接触件安装腔(5)内与第一侧壁相对的侧壁为插头接触件安装腔第二侧壁,插头接触件安装腔的第二侧壁的内面上设有与插头接触件安装腔第一侧壁上的插头接触件夹持槽(4)相对应的插头接触件定位盲槽(2),所述插头接触件具有载流片(7),该载流片(7)的前、后端分别卡持于插头接触件定位盲槽(2)和插头接触件夹持槽(4)内;所述插座包括插座壳体(21),插座壳体(21)内设有插座接触件安装腔(24),插座接触件安装腔(24)内设有插座接触件(26),所述插座接触件安装腔(24)的第一侧壁上设有从插座壳体后端面沿插接方向向前延伸的插座接触件夹持槽(25),该插座接触件夹持槽(25)在横向上贯通所述插座接触件安装腔第一侧壁的内、外面,所述插座接触件安装腔(24)内与第一侧壁相对的侧壁为插座接触件安装腔第二侧壁,插座接触件安装腔第二侧壁的内面上设有插座接触件定位盲槽(22);所述插座接触件具有两相对的载流片(27),所述载流片(27)的后端卡持于插座接触件夹持槽(25)内,所述两载流片(27)的前端通过连接件(28)相连接,所述连接件(28)卡持于插座接触件定位盲槽(22)内。9. A rectangular power connector, including a plug and a socket, characterized in that: the plug includes a plug housing (1), the plug housing (1) is provided with a plug contact mounting cavity (5), and the plug contact A plug contact (6) is provided in the installation cavity (5), and on the first side wall of the plug contact installation cavity (5), there is a plug extending forward from the rear end surface of the plug housing (1) along the insertion direction. Plug contact holding groove (4), the plug contact holding groove (4) runs through the inside and outside of the first side wall of the socket contact mounting cavity in the transverse direction, and the plug contact mounting cavity (5) The side wall opposite to the first side wall is the second side wall of the plug contact installation cavity, and the inner surface of the second side wall of the plug contact installation cavity is provided with a plug contact on the first side wall of the plug contact installation cavity. The plug contact positioning blind slot (2) corresponding to the piece holding groove (4), the plug contact has a current carrier (7), and the front and rear ends of the current carrier (7) are respectively clamped on the plug The contact positioning blind groove (2) and the plug contact holding groove (4); the socket includes a socket housing (21), and the socket housing (21) is provided with a socket contact mounting cavity (24), and the socket A socket contact (26) is provided in the contact installation cavity (24), and a socket extending forward from the rear end surface of the socket housing along the insertion direction is provided on the first side wall of the socket contact installation cavity (24). The contact clamping groove (25), the socket contact clamping groove (25) runs through the inner and outer sides of the first side wall of the socket contact mounting cavity in the transverse direction, and the socket contact mounting cavity (24) The side wall opposite to the first side wall is the second side wall of the socket contact mounting cavity, and the socket contact positioning blind groove (22) is provided on the inner surface of the socket contact mounting cavity second side wall; the socket contact has Two relative current carriers (27), the rear ends of the current carriers (27) are clamped in the socket contact holding groove (25), and the front ends of the two current carriers (27) pass through the connector ( 28) are connected, and the connecting piece (28) is clamped in the positioning blind groove (22) of the socket contact piece. 10.根据权利要求9所述的矩形电源连接器,其特征在于:所述插头接触件安装腔内与插头接触件安装腔第一侧壁相邻的侧壁上,设有沿该插头插接方向延伸的散热槽;所述插座接触件安装腔内与插座接触件安装腔第一侧壁相邻的侧壁上,设有沿该插座插接方向延伸的散热槽。10. The rectangular power connector according to claim 9, characterized in that: on the side wall adjacent to the first side wall of the plug contact mounting cavity in the plug contact mounting cavity, there is a The heat dissipation groove extending in the direction; the side wall adjacent to the first side wall of the socket contact installation cavity in the socket contact installation cavity is provided with a heat dissipation groove extending along the socket insertion direction.
CN2009200888987U 2009-03-11 2009-03-11 Rectangular power connector, plug and socket Expired - Fee Related CN201413887Y (en)

Priority Applications (1)

Application Number Priority Date Filing Date Title
CN2009200888987U CN201413887Y (en) 2009-03-11 2009-03-11 Rectangular power connector, plug and socket

Applications Claiming Priority (1)

Application Number Priority Date Filing Date Title
CN2009200888987U CN201413887Y (en) 2009-03-11 2009-03-11 Rectangular power connector, plug and socket

Publications (1)

Publication Number Publication Date
CN201413887Y true CN201413887Y (en) 2010-02-24

Family

ID=41715768

Family Applications (1)

Application Number Title Priority Date Filing Date
CN2009200888987U Expired - Fee Related CN201413887Y (en) 2009-03-11 2009-03-11 Rectangular power connector, plug and socket

Country Status (1)

Country Link
CN (1) CN201413887Y (en)

Cited By (8)

* Cited by examiner, † Cited by third party
Publication number Priority date Publication date Assignee Title
CN102064408A (en) * 2010-11-24 2011-05-18 中航光电科技股份有限公司 Rectangular electric connector
CN102157833A (en) * 2011-03-30 2011-08-17 中航光电科技股份有限公司 Male end power contact element and rectangular electric connector with the same
CN102185199A (en) * 2011-02-28 2011-09-14 中航光电科技股份有限公司 Rectangular electric connector with power contact piece
CN102185198A (en) * 2011-02-28 2011-09-14 中航光电科技股份有限公司 Power contact piece and contact sheet thereof
CN102403602A (en) * 2010-09-13 2012-04-04 凡甲电子(苏州)有限公司 Socket power supply connector, a plug power supply connector and component of socket power supply connector and plug power supply connector
CN102403603A (en) * 2010-09-13 2012-04-04 凡甲电子(苏州)有限公司 Socket power source connector and components thereof
CN103594842A (en) * 2012-08-17 2014-02-19 温州意华通讯接插件有限公司 Power connector
CN104733911B (en) * 2013-12-23 2017-03-15 凡甲电子(苏州)有限公司 Electric connector combination

Cited By (12)

* Cited by examiner, † Cited by third party
Publication number Priority date Publication date Assignee Title
CN102403602A (en) * 2010-09-13 2012-04-04 凡甲电子(苏州)有限公司 Socket power supply connector, a plug power supply connector and component of socket power supply connector and plug power supply connector
CN102403603A (en) * 2010-09-13 2012-04-04 凡甲电子(苏州)有限公司 Socket power source connector and components thereof
CN102403603B (en) * 2010-09-13 2013-09-25 凡甲电子(苏州)有限公司 Socket power source connector and components thereof
CN102403602B (en) * 2010-09-13 2014-05-14 凡甲电子(苏州)有限公司 Socket power supply connector, plug power supply connector and component of socket power supply connector and plug power supply connector
CN102064408A (en) * 2010-11-24 2011-05-18 中航光电科技股份有限公司 Rectangular electric connector
CN102064408B (en) * 2010-11-24 2012-10-24 中航光电科技股份有限公司 Rectangular electric connector
CN102185199A (en) * 2011-02-28 2011-09-14 中航光电科技股份有限公司 Rectangular electric connector with power contact piece
CN102185198A (en) * 2011-02-28 2011-09-14 中航光电科技股份有限公司 Power contact piece and contact sheet thereof
CN102157833A (en) * 2011-03-30 2011-08-17 中航光电科技股份有限公司 Male end power contact element and rectangular electric connector with the same
CN102157833B (en) * 2011-03-30 2012-12-26 中航光电科技股份有限公司 Male end power contact element and rectangular electric connector with the same
CN103594842A (en) * 2012-08-17 2014-02-19 温州意华通讯接插件有限公司 Power connector
CN104733911B (en) * 2013-12-23 2017-03-15 凡甲电子(苏州)有限公司 Electric connector combination

Similar Documents

Publication Publication Date Title
CN201413887Y (en) Rectangular power connector, plug and socket
CN201142415Y (en) power connector
CN106450866B (en) Can positive and negative plug attaching plug and power outlet and combinations thereof structure
CN201130757Y (en) electrical connector
CN101587995B (en) Power contact and electrical connector with same
CN210074343U (en) Multi-I-shaped rail socket
CN201758219U (en) Network connector with angled socket
CN201112885Y (en) connector socket
CN201966439U (en) Electrical connector
CN201466279U (en) Male and female contacts for power connectors
CN203326277U (en) Easy-swap strip connectors
CN201051582Y (en) Improved Micro-Serial Port Electrical Connector Construction
CN204030062U (en) a cable connector
CN201690033U (en) electrical connector
CN102157833B (en) Male end power contact element and rectangular electric connector with the same
CN201315362Y (en) Connector for circuit board
CN201392918Y (en) Connector for flexible circuit board
CN202094399U (en) Combination structure of electrical connector
CN221305044U (en) Vertical patch RJ11 connector
CN205069974U (en) Audio connector
CN202058938U (en) Plug-in wire connector
CN204577657U (en) A kind of connector
CN201270312Y (en) Plug connector and combination of plug connector and socket connector
CN216488674U (en) a power cord connector
CN202025909U (en) Board-to-board socket connector

Legal Events

Date Code Title Description
C14 Grant of patent or utility model
GR01 Patent grant
C56 Change in the name or address of the patentee
CP02 Change in the address of a patent holder

Address after: 471003 Luoyang high tech Development Zone, Henan, Zhou Shan Road, No. 10

Patentee after: Zhonghang Photoelectric Science & Technology Co., Ltd.

Address before: 471003 Zhou Shan Road, Jianxi District, Henan, Luoyang

Patentee before: Zhonghang Photoelectric Science & Technology Co., Ltd.

C17 Cessation of patent right
CF01 Termination of patent right due to non-payment of annual fee

Granted publication date: 20100224

Termination date: 20130311