CN201404926Y - Recycling decontamination device - Google Patents
Recycling decontamination device Download PDFInfo
- Publication number
- CN201404926Y CN201404926Y CN2009200567153U CN200920056715U CN201404926Y CN 201404926 Y CN201404926 Y CN 201404926Y CN 2009200567153 U CN2009200567153 U CN 2009200567153U CN 200920056715 U CN200920056715 U CN 200920056715U CN 201404926 Y CN201404926 Y CN 201404926Y
- Authority
- CN
- China
- Prior art keywords
- decontamination
- air
- separation box
- pump
- pipe
- Prior art date
- Legal status (The legal status is an assumption and is not a legal conclusion. Google has not performed a legal analysis and makes no representation as to the accuracy of the status listed.)
- Expired - Fee Related
Links
- 238000005202 decontamination Methods 0.000 title claims abstract description 38
- 230000003588 decontaminative effect Effects 0.000 title claims abstract description 37
- 238000004064 recycling Methods 0.000 title claims description 4
- XLYOFNOQVPJJNP-UHFFFAOYSA-N water Substances O XLYOFNOQVPJJNP-UHFFFAOYSA-N 0.000 claims abstract description 33
- 238000000926 separation method Methods 0.000 claims abstract description 29
- 239000010865 sewage Substances 0.000 claims abstract description 24
- 238000005201 scrubbing Methods 0.000 claims abstract description 16
- 239000007788 liquid Substances 0.000 abstract description 6
- 238000011084 recovery Methods 0.000 abstract description 3
- 239000007921 spray Substances 0.000 abstract description 2
- 239000006260 foam Substances 0.000 description 3
- 238000000034 method Methods 0.000 description 3
- 238000000889 atomisation Methods 0.000 description 2
- 230000009286 beneficial effect Effects 0.000 description 2
- 230000015572 biosynthetic process Effects 0.000 description 2
- 238000004140 cleaning Methods 0.000 description 2
- 238000004891 communication Methods 0.000 description 2
- 239000013530 defoamer Substances 0.000 description 2
- 239000003814 drug Substances 0.000 description 2
- 238000005507 spraying Methods 0.000 description 2
- 239000002351 wastewater Substances 0.000 description 2
- 230000007812 deficiency Effects 0.000 description 1
- 238000010586 diagram Methods 0.000 description 1
- 229940079593 drug Drugs 0.000 description 1
- 230000000694 effects Effects 0.000 description 1
- 230000007613 environmental effect Effects 0.000 description 1
- 208000015181 infectious disease Diseases 0.000 description 1
- 230000003993 interaction Effects 0.000 description 1
- 230000001737 promoting effect Effects 0.000 description 1
- 238000004659 sterilization and disinfection Methods 0.000 description 1
- 238000003756 stirring Methods 0.000 description 1
- 230000001360 synchronised effect Effects 0.000 description 1
Images
Classifications
-
- Y—GENERAL TAGGING OF NEW TECHNOLOGICAL DEVELOPMENTS; GENERAL TAGGING OF CROSS-SECTIONAL TECHNOLOGIES SPANNING OVER SEVERAL SECTIONS OF THE IPC; TECHNICAL SUBJECTS COVERED BY FORMER USPC CROSS-REFERENCE ART COLLECTIONS [XRACs] AND DIGESTS
- Y02—TECHNOLOGIES OR APPLICATIONS FOR MITIGATION OR ADAPTATION AGAINST CLIMATE CHANGE
- Y02A—TECHNOLOGIES FOR ADAPTATION TO CLIMATE CHANGE
- Y02A50/00—TECHNOLOGIES FOR ADAPTATION TO CLIMATE CHANGE in human health protection, e.g. against extreme weather
- Y02A50/20—Air quality improvement or preservation, e.g. vehicle emission control or emission reduction by using catalytic converters
Landscapes
- Activated Sludge Processes (AREA)
Abstract
一种回收式洗消装置,回收式洗消装置,包括有清水箱、水泵、水管、雾化喷咀、洗刷头、回风管、分离箱、风泵、污水箱;其中水泵、清水箱、雾化喷咀通过水管连通,污水箱、分离箱、洗刷头和风泵通过回风管连通;其特征在于分离箱中设有消泡转盘,分离箱的回风口设于箱体内一侧,出风口设于固定消泡转盘的顶部。利用水泵和雾化喷咀将雾化的洗消液喷到洗消对象上进行冲刷洗消,利用风泵的吸力产生的负压通过回风管及时的将洗消后的洗消污水及时吸回到污水箱中,实现快速安全高效的洗消目的。
A recovery type decontamination device, the recovery type decontamination device includes a clean water tank, a water pump, a water pipe, an atomizing nozzle, a scrub head, a return air pipe, a separation box, an air pump, and a sewage tank; wherein the water pump, the clean water tank, The atomizing nozzle is connected through the water pipe, and the sewage tank, the separation box, the scrubbing head and the air pump are connected through the return air pipe; Set on the top of the fixed defoaming turntable. Use the water pump and atomizing nozzle to spray the atomized decontamination liquid onto the decontamination object for rinsing and decontamination, and use the negative pressure generated by the suction of the air pump to suck the decontamination sewage in time through the return air pipe Return to the sewage tank to achieve the purpose of fast, safe and efficient decontamination.
Description
技术领域 technical field
本实用新型是一种洗消装置,特别是一种在洗消的同时将污水同步回收自动消泡的回收式洗消装置。The utility model relates to a decontamination device, in particular to a recycling type decontamination device which synchronously recycles sewage and automatically defoams while decontaminating.
背景技术 Background technique
现有的洗消装置,一是结构复杂,体积大,机动性差。二是现有的洗消装置,为了消除在洗消过程中产生大量的泡沫,主要办法是在洗消液中添加消泡剂,或者需要增加专门的消泡泵。添加消泡剂,因为药品的相互作用,有时会直接影响到洗消液的效果,而增加专门的消泡泵的同时,也增加了洗消装置复杂性削弱了灵活性。Existing decontamination device, the one, complex structure, bulky, mobility is poor. The second is the existing decontamination device. In order to eliminate the large amount of foam generated during the decontamination process, the main method is to add a defoamer to the decontamination solution, or a special defoaming pump needs to be added. Adding a defoamer, because of the interaction of drugs, sometimes directly affects the effect of the decontamination solution, and adding a special defoaming pump also increases the complexity of the decontamination device and weakens the flexibility.
实用新型内容 Utility model content
针对上述的现有技术的不足,本实用新型的目的在于提供了一种利用水泵和雾化喷咀将雾化的洗消液喷到洗消对象上进行冲刷洗消,利用风泵的吸力产生的负压通过回风管及时的将洗消后的洗消污水及时吸回到污水箱中,实现快速安全高效的洗消目的。Aiming at the deficiencies of the above-mentioned prior art, the purpose of this utility model is to provide a water pump and an atomizing nozzle to spray the atomized decontamination liquid onto the decontamination object for rinsing and decontamination, and use the suction of the air pump to generate The negative pressure will suck the decontaminated sewage back into the sewage tank in time through the return air pipe, so as to achieve the purpose of fast, safe and efficient decontamination.
本实用新型主要包括有清水箱、水泵、水管、雾化喷咀、洗刷头、回风管、分离箱、风泵、污水箱;其中水泵、清水箱、雾化喷咀通过水管连通,污水箱、分离箱和风泵连通,分离箱通过回风管与洗刷头连通;和水管连接的雾化喷咀设置在洗刷头内,回风管同时也与洗刷头相联接。洗刷头与洗消对象接确的口外周设有一圈的软毛,既有帮助刷洗,也防保障洗刷头与洗消对象的表面之间形成一定的平衡负压,有利于洗刷头移动灵活性。分离箱中则设有消泡转盘。The utility model mainly includes a clean water tank, a water pump, a water pipe, an atomizing nozzle, a scrub head, a return air pipe, a separation box, an air pump, and a sewage tank; wherein the water pump, the clean water tank, and the atomizing nozzle are connected through a water pipe, and the sewage tank 1. The separation box is connected with the air pump, and the separation box is connected with the scrubbing head through the air return pipe; the atomizing nozzle connected with the water pipe is arranged in the scrubbing head, and the air return pipe is also connected with the scrubbing head at the same time. There is a circle of soft bristles around the mouth where the scrub head is connected to the decontamination object, which not only helps scrubbing, but also prevents the formation of a certain balanced negative pressure between the scrub head and the surface of the decontamination object, which is conducive to the mobility of the scrub head . A defoaming turntable is provided in the separation box.
装置启动时,水泵将清水箱中的干净洗消液加压通过水管送到洗刷头内的雾化喷咀处进行雾化喷射到与洗消刷头接触的洗消对象上;风泵工作抽吸分离箱和污水箱内的空气,使两个箱体内及回风管内产生负压,洗刷头内喷射到洗消对象上经刷洗后的洗消污水则又通过回风管被吸到分离箱内,并通过连通口流到污水箱中存贮起来。分离箱中设置的消泡转盘,当风泵启动产生负压将洗消污水从回风管吸到分离箱时,污水回流的动力带动消泡转盘转动,对分离箱内产生的泡沫进行搅拌实现消泡。When the device is started, the water pump pressurizes the clean decontamination liquid in the clean water tank through the water pipe to the atomizing nozzle in the scrub head for atomization and spraying to the decontamination objects in contact with the decontamination brush head; the air pump works to pump Suction the air in the separation box and the waste water tank, so that negative pressure is generated in the two boxes and the return air pipe, and the scrubbing head is sprayed onto the decontamination object, and the decontamination sewage after scrubbing is sucked into the separation box through the return air pipe Inside, and through the connecting port to flow into the sewage tank for storage. The defoaming turntable installed in the separation box, when the air pump starts to generate negative pressure to suck the decontaminated sewage from the return air pipe to the separation box, the power of the sewage backflow drives the defoaming turntable to rotate, and the foam generated in the separation box is stirred to achieve defoaming.
本实用新型与现有技术相比具有的有益效果是体积紧凑,操作方便,及时将洗消后的污水同步回收,在清洗消毒过程中药液不会到处飞溅或流淌,大大减少了对救治空间污染和对医疗人员的感染;同时便于集中统一处理污水,减少了环境清洁的工作量。利用自身洗消液的回流动力进行搅拌消泡,减少功耗。Compared with the prior art, the utility model has the beneficial effects of compact size, convenient operation, synchronous recovery of the decontaminated sewage in time, and no splashing or flowing of the liquid medicine during the cleaning and disinfection process, which greatly reduces the impact on the treatment space. Pollution and infection of medical personnel; at the same time, it is convenient for centralized and unified treatment of sewage, reducing the workload of environmental cleaning. Use the backflow power of its own decontamination liquid to stir and defoam, reducing power consumption.
附图说明 Description of drawings
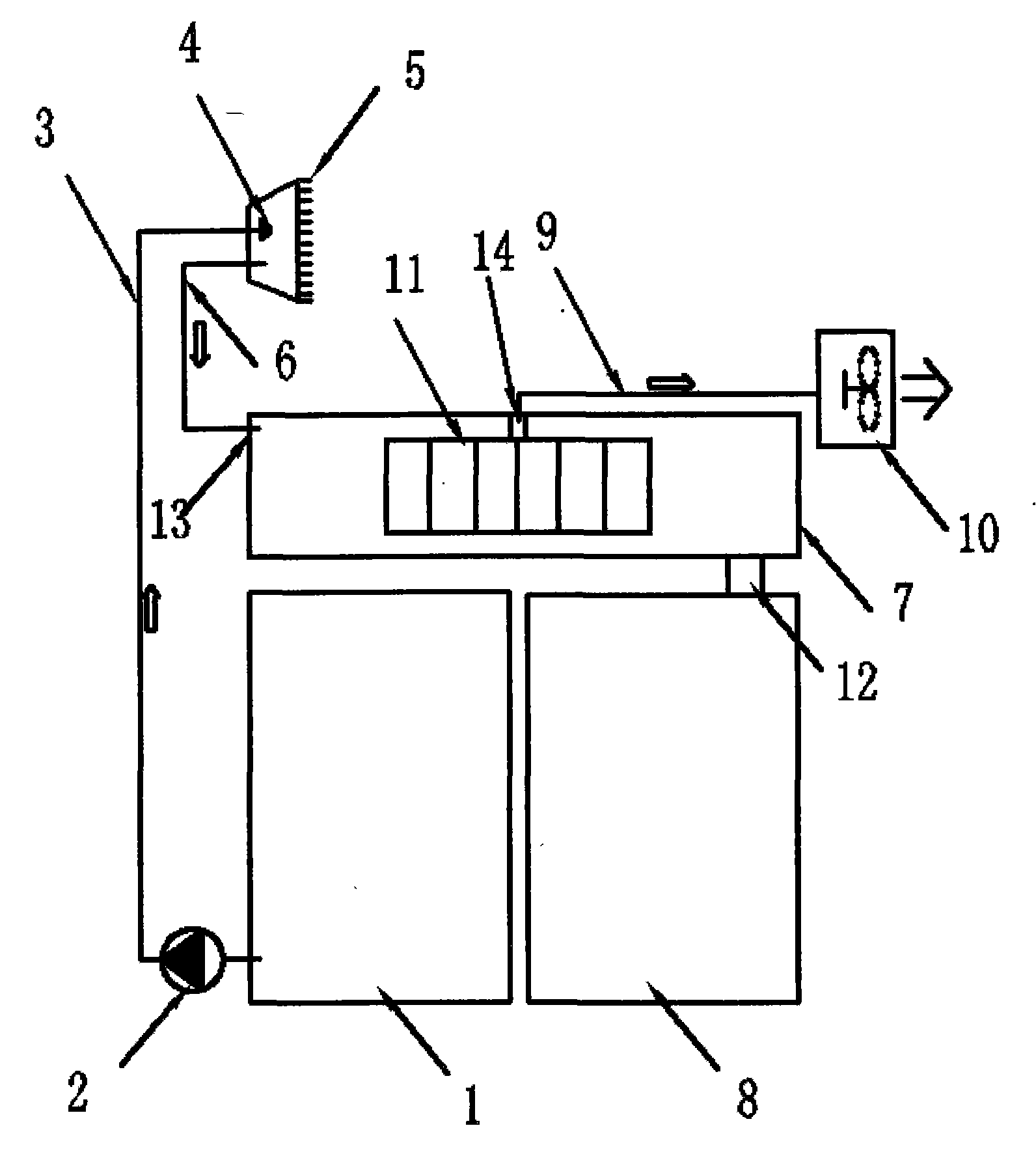
图1为本实用新型的结构剖示图,其中包括清水箱1、水泵2、水管3、雾化喷咀4、洗刷头5、回风管6、分离箱7、回风管9、风泵10、消泡转盘11、连通口12、回风口13、出风口14。Fig. 1 is the structural cross-sectional diagram of the present utility model, which comprises clean water tank 1,
图2为本实用新型的消泡转盘11的俯视图。Fig. 2 is a top view of the
具体实施方式 Detailed ways
下面结合附图和实施例对本实用新型进一步说明。Below in conjunction with accompanying drawing and embodiment the utility model is further described.
如图1所示,水泵2、清水箱1、雾化喷咀4通过水管3连通,污水箱8通过连通口12与分离箱7连通,分离箱7在顶部的出风口14与风泵10通过回风管9连通,分离箱7在入风口13处通过回风管6与洗刷头5的一端连通;和水管6连接的雾化喷咀4设置在洗刷头5内。洗刷头5与洗消对象接触的一端的外周设有一圈的软毛,目的是既帮助刷洗,也使到洗刷头与洗消对象的表面之间形成一定的平衡负压,有利于洗刷头5在洗消对象表面上的通灵活的移动。分离箱7中则设有消泡转盘11,消泡转盘11置于回风管9与分离箱7连接口下方,确保回风管9吸入的是消泡后的空气。As shown in Figure 1, the
如图2所示,分离箱7的回风口13设置于箱体一侧内,有利于回收的洗消污水在分离箱内形成旋转流向,有利于推动消泡转盘11旋转运动实现消泡。分离箱7的出风口14设置于箱体顶部,同时也是位于消泡转盘之后,这样有利于回风管9抽吸的是消泡后的空气,否则气泡被抽吸到风泵上,影响风泵的性能。As shown in Figure 2, the
装置启动时,水泵2将清水箱1中的干净洗消液加压通过水管3送到洗刷头5内的雾化喷咀4处进行雾化喷射到与洗消刷头5接触的洗消对象上进行洗消;风泵10工作,通过连接分离箱7的顶部出风口14处的回风管9抽吸分离箱7和污水箱8内的空气,使两个箱体内及回风管内都产生负压,洗刷头5内喷射到洗消对象上经刷洗后的洗消污水则又通过回风管6被吸到分离箱7内,并通过连通口12流到污水箱8中存贮起来实现污水的回收。当风泵10启动产生负压将洗消污水从回风管6吸到分离箱7时,污水回流的动力带动消泡转盘11转动,对分离箱7内产生的泡沫进行搅拌实现消泡。When the device is started, the
Claims (2)
Priority Applications (1)
| Application Number | Priority Date | Filing Date | Title |
|---|---|---|---|
| CN2009200567153U CN201404926Y (en) | 2009-05-18 | 2009-05-18 | Recycling decontamination device |
Applications Claiming Priority (1)
| Application Number | Priority Date | Filing Date | Title |
|---|---|---|---|
| CN2009200567153U CN201404926Y (en) | 2009-05-18 | 2009-05-18 | Recycling decontamination device |
Publications (1)
| Publication Number | Publication Date |
|---|---|
| CN201404926Y true CN201404926Y (en) | 2010-02-17 |
Family
ID=41675847
Family Applications (1)
| Application Number | Title | Priority Date | Filing Date |
|---|---|---|---|
| CN2009200567153U Expired - Fee Related CN201404926Y (en) | 2009-05-18 | 2009-05-18 | Recycling decontamination device |
Country Status (1)
| Country | Link |
|---|---|
| CN (1) | CN201404926Y (en) |
Cited By (4)
| Publication number | Priority date | Publication date | Assignee | Title |
|---|---|---|---|---|
| CN101897647A (en) * | 2009-05-31 | 2010-12-01 | 中国人民解放军第二炮兵防护防疫环境监测队 | Recycling type casualty decontamination device |
| WO2016045372A1 (en) * | 2014-09-23 | 2016-03-31 | 京东方科技集团股份有限公司 | Cleaner |
| CN107913865A (en) * | 2017-11-21 | 2018-04-17 | 沈家豪 | A kind of musical instrument secondary equipment |
| CN111494033A (en) * | 2020-04-21 | 2020-08-07 | 重庆军卫医药物流有限公司 | Decontamination device capable of recycling waste liquid |
-
2009
- 2009-05-18 CN CN2009200567153U patent/CN201404926Y/en not_active Expired - Fee Related
Cited By (7)
| Publication number | Priority date | Publication date | Assignee | Title |
|---|---|---|---|---|
| CN101897647A (en) * | 2009-05-31 | 2010-12-01 | 中国人民解放军第二炮兵防护防疫环境监测队 | Recycling type casualty decontamination device |
| CN101897647B (en) * | 2009-05-31 | 2014-01-08 | 中国人民解放军第二炮兵防护防疫环境监测队 | Recycling type casualty decontamination device |
| WO2016045372A1 (en) * | 2014-09-23 | 2016-03-31 | 京东方科技集团股份有限公司 | Cleaner |
| US9975150B2 (en) | 2014-09-23 | 2018-05-22 | Boe Technology Group Co., Ltd. | Cleaning device |
| CN107913865A (en) * | 2017-11-21 | 2018-04-17 | 沈家豪 | A kind of musical instrument secondary equipment |
| CN111494033A (en) * | 2020-04-21 | 2020-08-07 | 重庆军卫医药物流有限公司 | Decontamination device capable of recycling waste liquid |
| CN111494033B (en) * | 2020-04-21 | 2022-03-18 | 重庆军卫医药物流有限公司 | Decontamination device capable of recycling waste liquid |
Similar Documents
| Publication | Publication Date | Title |
|---|---|---|
| CN204218748U (en) | A kind of fruit-vegetable cleaner | |
| CN203874935U (en) | Water spraying device with water-saving function | |
| CN204602732U (en) | A kind of test tube cleaning device | |
| CN201404926Y (en) | Recycling decontamination device | |
| CN221412633U (en) | A dust removal equipment for environmental engineering | |
| CN203885833U (en) | Portable electric spray nasal washer | |
| CN101897647B (en) | Recycling type casualty decontamination device | |
| CN205386759U (en) | Dedusting cutting machine | |
| CN207521344U (en) | A kind of circulating cleaning device for medical appliance with tedding rod | |
| CN203410605U (en) | Trash removing equipment for tank ship | |
| CN107296558A (en) | A kind of hand washing machine | |
| CN206285084U (en) | A kind of teacup cleaning device | |
| CN209630868U (en) | A kind of supersonic dust removal device | |
| CN201921856U (en) | Ultrasonic cleaning machine for cleaning micro-porous aerator | |
| CN216169165U (en) | Medical patient flowing water washs nursing device | |
| CN202314996U (en) | Multi-functional ultrasonic debridement therapeutic instrument capable of recycling waste liquor | |
| CN218775252U (en) | Component cleaning mechanism for machining middle chuck gas source plate | |
| CN109281279B (en) | High-efficiency energy-saving cleaning system for ground washing vehicle | |
| CN210277009U (en) | Air suction type skin massage dirt suction device | |
| CN203739507U (en) | Blackboard cleaning device | |
| CN207952105U (en) | The super atomization plane cleaning device of one kind | |
| CN211723973U (en) | Nasal cavity cleaner utilizing positive pressure and negative pressure | |
| CN207769448U (en) | Energy conservation and environmental protection cleaner | |
| CN206747190U (en) | A kind of particulate instrument flask for medicinal preparations cleaning mechanism | |
| CN222534430U (en) | Construction dust removal device |
Legal Events
| Date | Code | Title | Description |
|---|---|---|---|
| C14 | Grant of patent or utility model | ||
| GR01 | Patent grant | ||
| ASS | Succession or assignment of patent right |
Owner name: PROTECTION + EPIDEMIC PREVENTION ENVIRONMENT MONIT Free format text: FORMER OWNER: CAO YIWEN Effective date: 20110615 Owner name: GUANGDONG WOLFE NEW ENERGY TECHNOLOGY CO., LTD. |
|
| C41 | Transfer of patent application or patent right or utility model | ||
| COR | Change of bibliographic data |
Free format text: CORRECT: ADDRESS; FROM: 528200 E13-402, XINGYAYUAN, XINGYE NEW VILLAGE, GUICHENG, NANHAI DISTRICT, FOSHAN CITY, GUANGDONG PROVINCE TO: 100071 NO. 81, WEST 4TH RING ROAD SOUTH, FENGTAI DISTRICT, BEIJING |
|
| TR01 | Transfer of patent right |
Effective date of registration: 20110615 Address after: 100071 No. 81 South Fourth Ring Road, Beijing, Fengtai District Co-patentee after: Guangdong WoErFu New Energy Technology Co., Ltd. Patentee after: PLA Second Artillery Corps Environmental Monitoring Protection and Epidemic Prevention Team Address before: 528200 Guangdong Province Nanhai District of Foshan city Guicheng industrial village Hing Nga Court E13-402 Patentee before: Cao Yiwen |
|
| CF01 | Termination of patent right due to non-payment of annual fee |
Granted publication date: 20100217 Termination date: 20170518 |
|
| CF01 | Termination of patent right due to non-payment of annual fee |
