CN201316432Y - Air sterilization device - Google Patents

Air sterilization device Download PDF

Info

Publication number
CN201316432Y
CN201316432Y CNU2008201238286U CN200820123828U CN201316432Y CN 201316432 Y CN201316432 Y CN 201316432Y CN U2008201238286 U CNU2008201238286 U CN U2008201238286U CN 200820123828 U CN200820123828 U CN 200820123828U CN 201316432 Y CN201316432 Y CN 201316432Y
Authority
CN
China
Prior art keywords
air
bracket
hole
fixed
lampshade
Prior art date
Legal status (The legal status is an assumption and is not a legal conclusion. Google has not performed a legal analysis and makes no representation as to the accuracy of the status listed.)
Expired - Fee Related
Application number
CNU2008201238286U
Other languages
Chinese (zh)
Inventor
幸乾富
Current Assignee (The listed assignees may be inaccurate. Google has not performed a legal analysis and makes no representation or warranty as to the accuracy of the list.)
Individual
Original Assignee
Individual
Priority date (The priority date is an assumption and is not a legal conclusion. Google has not performed a legal analysis and makes no representation as to the accuracy of the date listed.)
Filing date
Publication date
Application filed by Individual filed Critical Individual
Priority to CNU2008201238286U priority Critical patent/CN201316432Y/en
Application granted granted Critical
Publication of CN201316432Y publication Critical patent/CN201316432Y/en
Anticipated expiration legal-status Critical
Expired - Fee Related legal-status Critical Current

Links

Images

Classifications

    • YGENERAL TAGGING OF NEW TECHNOLOGICAL DEVELOPMENTS; GENERAL TAGGING OF CROSS-SECTIONAL TECHNOLOGIES SPANNING OVER SEVERAL SECTIONS OF THE IPC; TECHNICAL SUBJECTS COVERED BY FORMER USPC CROSS-REFERENCE ART COLLECTIONS [XRACs] AND DIGESTS
    • Y02TECHNOLOGIES OR APPLICATIONS FOR MITIGATION OR ADAPTATION AGAINST CLIMATE CHANGE
    • Y02ATECHNOLOGIES FOR ADAPTATION TO CLIMATE CHANGE
    • Y02A50/00TECHNOLOGIES FOR ADAPTATION TO CLIMATE CHANGE in human health protection, e.g. against extreme weather
    • Y02A50/20Air quality improvement or preservation, e.g. vehicle emission control or emission reduction by using catalytic converters

Landscapes

  • Disinfection, Sterilisation Or Deodorisation Of Air (AREA)

Abstract

本实用新型公开一种对人和环境完全无害,又可持续对环境空气中细菌和化学污染物具有洁净作用的空气灭菌消毒装置,包括具有进风口和出风口的壳体,沿空气流动方向顺序设置的紫外线灯和二氧化钛网,其中紫外线灯安置在壳体上,靠近进风口;二氧化钛网固定于壳体上与紫外线灯相对,位于紫外线灯的紫外线照射区域内,此外,进风口处设沸石除臭过滤网。本实用新型采用沸石空气过滤网与二氧化钛网组合使用,不但结构简单、使用方便,而且连续运行,有效达到灭菌、消毒、除臭及空气净化的作用,微生物净化一次通过率≥90%,30分钟灭菌率达到94.2%以上,苯和甲醛6小时内的净化率>85%。

Figure 200820123828

The utility model discloses an air sterilization and disinfection device which is completely harmless to people and the environment and can continuously clean bacteria and chemical pollutants in the ambient air. Ultraviolet lamps and titanium dioxide nets arranged in sequence in the direction, wherein the ultraviolet lamps are placed on the housing, close to the air inlet; the titanium dioxide net is fixed on the housing opposite to the ultraviolet lamps, and is located in the ultraviolet irradiation area of the ultraviolet lamps. In addition, the air inlet is set Zeolite deodorizing filter. The utility model adopts the combination of zeolite air filter net and titanium dioxide net, which is not only simple in structure and convenient to use, but also operates continuously to effectively achieve the functions of sterilization, disinfection, deodorization and air purification, and the pass rate of microbial purification is more than 90%. The sterilization rate in minutes reaches over 94.2%, and the purification rate of benzene and formaldehyde within 6 hours is more than 85%.

Figure 200820123828

Description

The air sterillization bactericidal unit
Technical field
This utility model relate to a kind of to room air carry out disinfection, sterilization and deodorant device, particularly a kind of irradiation under ultraviolet ray and filter screen of utilizing carries out air sterillization, sterilization and deodorant device.
Background technology
Along with the requirement of people to high-quality life, and owing to global population constantly increases, comsumption of natural resources amount constantly increases, cause natural environment and environmental destruction, many new infectious disease constantly attack the mankind, and a lot of in addition construction materials and finishing material volatile matter cause people's living environment is polluted.These factors form serious threat to environment for human survival, therefore, improve our environmental health situation, reduce the influence of environmental pollution to health of people, are the problems that present people show great attention to.
Investigation shows that the major pollutants in the air-conditioning have four kinds: the one, and biological pollution comprises antibacterial, mycete, pollen, algae, plant, insecticide, protozoacide, virus etc., can cause allergy, acariasis; The 2nd, chemical contamination comprises volatile organic matter, carbon monoxide, ozone etc.; The 3rd, physical contamination comprises extraneous dust coal ash, flue dust, heavy metal, concrete grey, greasy dirt, inorfil, lubricating oil and oil etc.; The 4th, other microorganism.The water tank of air conditioning system is the main breeding spot of legionella especially.Can spread all over the bed rearrangement building through pipeline, along with flowing of air, dirt in these pipelines propagates into various antibacterials, mycete, fungus, virus and biological pollutant indoor, and infringement is active people in the air conditioning chamber for a long time, and the time has been grown and just caused so-called " sick building syndrome " easily.I.e. " sick building syndrome " or other relevant diseases.EPA was done similarly investigation, proved that the pollution from air conditioner ventilation accounts for the over half of room air gross contamination degree.
In the past in decades, the scientific research personnel has made unremitting effort for solving air sterillization and air cleaning problem, has developed multiple air to be purified and the disinfectant device, and more widely used have ozonization equipment and a ultraviolet circulated air sterilizing equipment decontaminating apparatus.
For example, notification number is to disclose a kind of " ultrathin room air sterilizer " in the utility model patent of CN2209529Y, this device produces ozone by increase anion generator in existing air cleaner, ozone is delivered to wind channel by blower fan and discharge, thereby reach the effect of removing foreign flavor indoors and sterilization from air outlet.
In addition, notification number is to disclose a kind of " dedusting and purifying air disinfector " in the utility model patent of CN2549370Y, is applicable to the ventilation shaft inside that is arranged on central air conditioner system.Its primary structure is that the side near air inlet is installed electrostatic precipitator in housing, the outlet of electrostatic precipitator is connected with ozonator, end near air outlet in housing is provided with the ozone decomposer, in housing, the position that is positioned at air inlet is provided with centrifugal blower, and the outlet of centrifugal blower utilizes guide duct to be connected with electrostatic precipitator.This device can utilize electrostatic precipitation, utilizes the ozone with high concentration generation technique that air is carried out the taste removal sterilization processing, and air is purified.
Above-mentioned equipment adopts ozone generating-device to discharge ozone, ozone is a kind of strong oxidizer, carry out very rapid reacted in deactivation to antibacterial, by reacting with the two keys of bacteria cell wall lipid, penetrate thalline inside, act on albumen and lipopolysaccharide, change the permeability of cell, thereby cause antibacterial death, its shortcoming is: a little less than the penetration power of ozone, low to object vertical-depth killing bacteria ability; And the demonstration of scientist's current research, ozone has negative effect to the cholesterol in the human blood, and it can promote arteriosclerotic formation, and then causes cardiopathic burst.
In addition, publication number is to disclose a kind of " air sterillization sterilization purification device " in the utility model patent of CN264231Y, is provided with the high-pressure mercury Burdick lamp in this device, and inwall scribbles photocatalyst of titanium dioxide, also is provided with drainage screen and anion generator.The intravital air of access to plant shell, at first it is shone by the high-pressure mercury Burdick lamp, bacterial micro-organism is killed, making air ionization produce ozone by ultraviolet simultaneously sterilizes, air fully contacts with the photocatalyst of titanium dioxide that is coated in inner walls under the irradiation of high-pressure mercury Burdick lamp, and Organic substance and photocatalyst carry out decomposition reaction, so that the elimination harmful gas, and reach deodorization, taste removal and sterilization effects; Subsequently, through drainage screen filtration and interpolation anion air is further purified again.
By ultraviolet to the technology of air sterillization be utilize the ultraviolet of suitable wavelength in can the destroy microorganisms body cell DNA (DNA (deoxyribonucleic acid)) or the molecular structure of RNA (ribonucleic acid), cause the growth cell death and (or) the reproducibility cell death, reach the effect of sterilizing.Its shortcoming is: ultraviolet only shines body surface and reaches certain exposure rate standard just bactericidal effect, and it is invalid substantially to surpass in 1.5 meters scopes in addition of ultraviolet light source; The ultraviolet radiation sterilization needs long action time, generally will shine more than 6 hours; And ultraviolet can not be removed airborne chemical pollutant such as formaldehyde etc.
The utility model content
The purpose of this utility model is at above problem, propose a kind of harmless fully to human and environment, the sustainable again air sterilization decontaminating apparatus that antibacterial in the surrounding air and chemical pollutant is had clean effect.
For realizing this utility model purpose, a kind of disinfection apparatus is provided, comprise housing, have air inlet and air outlet, also comprise: Burdick lamp, have the lampshade of settling quartz burner, lampshade is fixed on the housing by mounting structure, and near air inlet; The titanium dioxide net is fixed on the housing relatively with Burdick lamp, is positioned at the Burdick lamp irradiation area, and near air outlet.
In addition, also be provided with the zeolite deodorization drainage screen that is fixed in air inlet.Zeolite deodorization drainage screen is fixed on the air inlet by the air inlet cover piece.
Wherein, mounting structure comprise the holder that is fixed on the housing and with the carriage assembly of holder socket, carriage assembly is connected with lampshade.Carriage assembly comprises lamp bracket that is fixed on the lampshade and the support that is connected with lamp bracket, and the support of carriage assembly and holder carry out socket.Particularly, belled support is fixedlyed connected by the pin that inserts wherein with holder.
Wherein, lamp bracket has orthogonal lampshade fixing head and rack connecting plate, and support has orthogonal adjusting portion and axial region, and lampshade fixing head and lampshade are fixed, and is connected by screw between rack connecting plate and the adjusting portion, and axial region inserts in the axis hole of holder.Particularly, adjusting portion is provided with the installation adjustment hole that extends longitudinally, and screw passes across the installation adjustment hole and is tightened on the rack connecting plate.
Wherein, holder has and is used for described belled axis hole, has the radially pin-and-hole that runs through the axis hole wall on the wall of axis hole, and axial region is offered fixing hole with the position that radially pin-and-hole is corresponding, and pin-and-hole and fixing hole are aimed at and also inserted pin so that interfix between axial region and the holder.
In addition, and offer access hole on the wall of the vertical housing of air inlet, access hole is sealed by cover piece.
Advantage of the present utility model:
1, this utility model adopts zeolite airstrainer and titanium dioxide net to be used in combination, not only simple in structure, and have effective sterilization, sterilization, deodorization and an air cleaning effect, microbial cleaning First Pass Yield 〉=90%, sterilization rate reached more than 94.2% in 30 minutes, purifying rate>85% in benzene and the formaldehyde 6 hours.
2, this utility model is safe in utilization and the life-span is long.Owing to use the titanium dioxide net to promote chemical reaction, so himself do not change, can make to reach 10 years service life; In addition, the chemical action thing of this chemical reaction generation is OH +And H +, therefore safe in utilization to human body without any side effect.
3, this utility model adopts the ultraviolet light spool irradiation titanium dioxide net surface of specific wavelength, and the ozone wavelength is isolated, and causes the outer ozone of machine to be tending towards 0.
4, this utility model is applicable to and is arranged in the air circulation duct, in the ventilation shaft inside of central air conditioner system, common air-conditioning machine, can moves continuously and carry out sterilization, and is therefore easy to use.
Description of drawings
Fig. 1 is the structural representation of this utility model air sterilization decontaminating apparatus;
Fig. 2 is the partial enlarged view of Fig. 1 middle-ultraviolet lamp lamp mounting portion;
Fig. 3 a is the profile along A-A line among Fig. 2;
To be Burdick lamp be rotated counterclockwise view after 90 ° from state shown in Fig. 3 a around axial region 12b to Fig. 3 b;
Fig. 4 be along B among Fig. 1 to partial view.
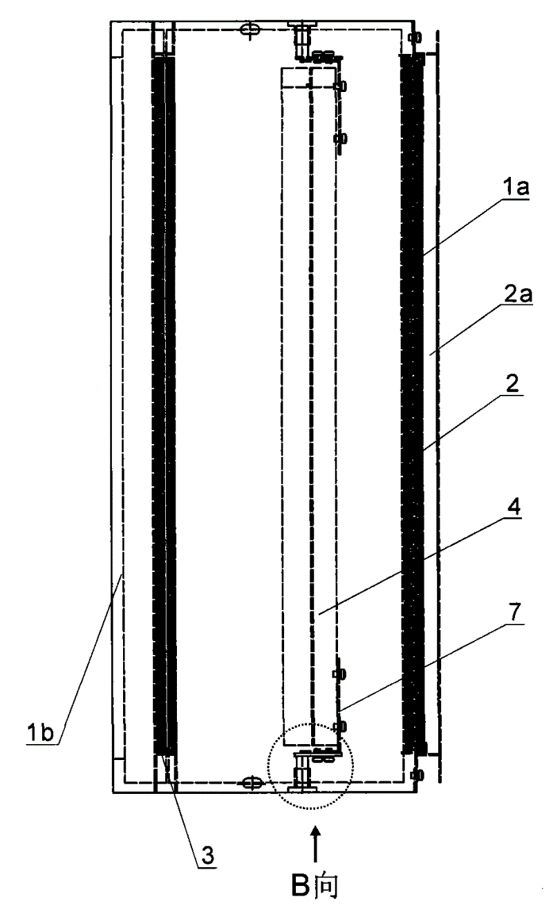
Description of reference numerals: 1, housing; 1a, air inlet; 1b, air outlet; 2, drainage screen; 2a, air inlet cover piece; 3, titanium dioxide net; 4, Burdick lamp; 4a, lampshade; 5, support; 5a, installation adjustment hole; 6, holder; 7, lamp bracket; 7a, lampshade fixing head; 7b, rack connecting plate; 8, cover plate; 8a, access hole; 12a, bracket adjustment portion; 12b, support axial region; 13, steady pin; 14, adjustment screw
The specific embodiment of the present utility model is described with reference to the accompanying drawings.
The specific embodiment
As shown in Figure 1, disinfection apparatus of the present utility model has housing 1, has air inlet 1a and air outlet 1b.Be provided with zeolite airstrainer 2, Burdick lamp 4 and titanium dioxide net 3 successively along air inlet 1a to air outlet 1b direction in the housing 1, wherein titanium dioxide net 3 is arranged in the ultraviolet radiation zone of Burdick lamp 4, and zeolite airstrainer 2 is fixed on air inlet 1a place by air inlet cover piece 2a.
On near housing 1 wall that air inlet 1a is and air inlet 1a face is perpendicular, also offer an opening 8a as access hole, by cover plate 8 sealings, as shown in Figure 4, air inlet 1a and access hole 8a can exchange.Cover plate 8 can be fixed on the access hole 8a housing wall on every side by screw.Air intake at disinfection apparatus of the present invention is provided with the access hole 8a and the air inlet 1a that can change mutually, has made things convenient for maintenance and maintenance.
Shown in Fig. 2,3, Burdick lamp 4 has lampshade 4a, lamp bracket 7 and the support 5 of settling quartz burner, and it is fixed on by support 5 on the wall of housing 1, and lamp bracket 7 fixes by screw with lampshade 4a, and as shown in Figure 1, lampshade 4a two ends respectively are fixed with a lamp bracket 7.As shown in Figure 2, lamp bracket 7 has two plate portions of mutual vertical fixing, and one of them is lampshade fixing head 7a, and it is by the fixing (see figure 1) of screw and lampshade 4a; Another is rack connecting plate 7b, and the tabular 12a of bracket adjustment portion that also is of itself and support 5 fits, and interfixes by adjustment screw 14.
Support 5 has the 12a of bracket adjustment portion and the support axial region 12b of mutual vertical fixing, wherein offer the installation adjustment hole 5a along the 12a of bracket adjustment portion longitudinal extension on the 12a of bracket adjustment portion, two adjustment screw 14 are passed and adjustment hole 5a are installed and rack connecting plate 7b tightens and support 5 and lamp bracket 7 are interfixed.Need to regulate Burdick lamp 4 to titanium dioxide net 3 apart from the time, can unclamp adjustment screw 14 makes installation adjustment hole 5a move along adjustment screw 14 towards titanium dioxide net 3 or away from titanium dioxide net 3, thereby make the relative rack connecting plate 7b of the 12a of bracket adjustment portion displacement longitudinally, can realize the distance adjustment of Burdick lamp 4 by the mutual displacement of regulating between rack connecting plate 7b and the 12a of bracket adjustment portion longitudinally like this to titanium dioxide net 3.
Support axial region 12b is placed on the housing 1 by inserting holder 6, and axial region 12b can rotate in holder 6, rotates around holder 6 so that drive lampshade 4a, is convenient to change fluorescent tube and maintenance.The axis hole wall of holder 6 is along offering locating hole perpendicular to axis direction, on the axial region 12b and the corresponding position of locating hole on the axis hole wall, along the circumferential direction offer a plurality of adjustment holes, be at least two, as shown in Figure 2, one of locating hole and adjustment hole are aimed at, and insert and sell 13, axial region 12b is fixed in the axis hole on the holder 6, (uviol lamp can be from Fig. 1 when needs rotate Burdick lamp 4, operating position inhour shown in the 3a is rotated 0-180 ° at least) time, extract pin 13, rotate axial region 12b certain angle, such as shown in Fig. 3 b, in order to change quartz burner, make lampshade 4a inhour rotate 90 ℃ after lampshade 4a opening surface downwards, and make locating hole and axial region 12b go up another adjustment hole aligning and insertion pin 13, thereby axial region 12b is fixed in the axis hole of holder 6.
The housing 1 of this utility model air sterilization decontaminating apparatus can link to each other by the housing of flange arrangement with central air-conditioning fan coil device, perhaps is set directly at the air intake of fan coil device or aircondition.
The following describes operation principle of the present utility model: by extractor fan or air-supply arrangement, room air is entered by disinfection apparatus air inlet 1a, filter the back by zeolite deodorization drainage screen 2 and remove abnormal flavour, then enter in the housing 1 of disinfection apparatus, then by titanium dioxide net 3, wherein, titanium dioxide on the titanium dioxide net 3 is under certain wavelength irradiation under ultraviolet ray effect of being sent by uviol lamp 4, bring out the energy that is equivalent to ten thousand times of sunlight natural lights, airborne steam is dissociated into OH +And H +, with antibacterial and virus, formaldehyde and benzene oxidation or resolve into nontoxic H 2O and CO 2Afterwards, the air after sterilization and deodorization is discharged by air outlet 1b, thereby room air is filtered removal abnormal flavour and sterilization.

Claims (10)

1.一种空气消毒灭菌装置,包括壳体(1),具有进风口(1a)和出风口(1b),其特征在于还包括以下部件:1. An air disinfection and sterilization device, comprising a housing (1), having an air inlet (1a) and an air outlet (1b), is characterized in that it also includes the following parts: 紫外线灯(4),靠近进风口(1a),具有安置紫外线灯管的灯罩(4a),灯罩(4a)通过安装结构固定于壳体(1)上;The ultraviolet lamp (4), near the air inlet (1a), has a lampshade (4a) for placing the ultraviolet lamp tube, and the lampshade (4a) is fixed on the housing (1) through the installation structure; 二氧化钛网(3),靠近出风口(1b),固定于壳体(1)上,其面向紫外线灯(4)并位于紫外线灯(4)发出的紫外线照射区域内。The titanium dioxide mesh (3), close to the air outlet (1b), is fixed on the casing (1), faces the ultraviolet lamp (4) and is located in the ultraviolet irradiation area emitted by the ultraviolet lamp (4). 2.如权利要求1所述的空气消毒灭菌装置,其特征在于还具有固定于进风口(1a)的沸石除臭过滤网(2)。2. The air disinfection and sterilization device according to claim 1, characterized in that it also has a zeolite deodorizing filter (2) fixed to the air inlet (1a). 3、如权利要求1或2所述的空气消毒灭菌装置,其特征在于所述安装结构包括固定在壳体(1)上的固定座(6)和与固定座(6)套接的支架组件(5、7),支架组件与灯罩(4a)连接。3. The air disinfection and sterilization device according to claim 1 or 2, characterized in that the installation structure includes a fixed seat (6) fixed on the housing (1) and a bracket socketed with the fixed seat (6) Assemblies (5, 7), the bracket assembly is connected with the lampshade (4a). 4、如权利要求3所述的空气消毒灭菌装置,其特征在于所述支架组件(5、7)包括固定在灯罩上的灯架(7)和与灯架(7)连接的支架(5),所述支架组件(5、7)的支架(5)与所述固定座(6)进行所述套接。4. The air disinfection and sterilization device according to claim 3, characterized in that the bracket assembly (5, 7) includes a lamp bracket (7) fixed on the lampshade and a bracket (5) connected to the lamp bracket (7). ), the bracket (5) of the bracket assembly (5, 7) is socketed with the fixing base (6). 5、如权利要求4所述的空气消毒灭菌装置,其特征在于所述套接的所述支架(5)和所述固定座(6)通过插入其中的销(13)固定连接。5. The air disinfection and sterilization device according to claim 4, characterized in that the socketed bracket (5) and the fixing seat (6) are fixedly connected by a pin (13) inserted therein. 6、如权利要求4所述的空气消毒灭菌装置,其特征在于所述灯架(7)具有相互垂直的灯罩固定板(7a)和支架连接板(7b),所述支架(5)具有相互垂直的调节部(12a)和轴部(12b),所述灯罩固定板(7a)与所述灯罩(4a)固定,所述支架连接板(7b)与所述调节部(12a)之间通过螺钉(14)连接,所述轴部(12b)插入固定座(6)的轴孔中。6. The air disinfection and sterilization device according to claim 4, characterized in that the lamp holder (7) has a lampshade fixing plate (7a) and a bracket connecting plate (7b) perpendicular to each other, and the bracket (5) has The adjustment part (12a) and the shaft part (12b) are perpendicular to each other, the lampshade fixing plate (7a) is fixed to the lampshade (4a), the bracket connecting plate (7b) and the adjustment part (12a) Connected by screws (14), the shaft portion (12b) is inserted into the shaft hole of the fixing base (6). 7、如权利要求6所述的空气消毒灭菌装置,其特征在于所述调节部(12a)上设有沿纵向延伸的安装调节孔(5a),所述螺钉(14)横穿过安装调节孔(5a)并拧紧在支架连接板(5)上。7. The air disinfection and sterilization device according to claim 6, characterized in that the adjustment part (12a) is provided with an installation adjustment hole (5a) extending longitudinally, and the screw (14) crosses the installation adjustment hole (5a). hole (5a) and screw it on the bracket connecting plate (5). 8、如权利要求6所述的空气消毒灭菌装置,其特征在于所述固定座(6)具有用于所述套接的轴孔,所述轴孔的壁上开有贯穿轴孔壁的径向销孔,所述轴部(12b)与径向销孔对应的位置开设固定孔,所述销孔和固定孔对准并插入销(13)以使轴部(12b)与固定座(6)之间相互固定。8. The air disinfection and sterilization device according to claim 6, characterized in that the fixed seat (6) has a shaft hole for the socket, and the wall of the shaft hole is provided with a hole penetrating through the shaft hole wall. radial pin hole, the position corresponding to the shaft part (12b) and the radial pin hole is provided with a fixing hole, and the pin hole and the fixing hole are aligned and inserted into the pin (13) to make the shaft part (12b) and the fixing seat ( 6) are fixed to each other. 9、如权利要求6所述的空气灭菌消毒装置,其特征在于所述沸石除臭过滤网(2)通过进风口盖件(2a)固定在所述进风口(1a)上。9. The air sterilization and disinfection device according to claim 6, characterized in that the zeolite deodorizing filter (2) is fixed on the air inlet (1a) through an air inlet cover (2a). 10、如权利要求6所述的空气消毒灭菌装置,其特征在于:与进风口(1a)垂直的壳体(1)壁上开设有检修口(8a),所述检修口(8a)由盖件(8)封闭。10. The air disinfection and sterilization device according to claim 6, characterized in that: an inspection port (8a) is opened on the wall of the casing (1) perpendicular to the air inlet (1a), and the inspection port (8a) is formed by The cover (8) is closed.
CNU2008201238286U 2008-11-19 2008-11-19 Air sterilization device Expired - Fee Related CN201316432Y (en)

Priority Applications (1)

Application Number Priority Date Filing Date Title
CNU2008201238286U CN201316432Y (en) 2008-11-19 2008-11-19 Air sterilization device

Applications Claiming Priority (1)

Application Number Priority Date Filing Date Title
CNU2008201238286U CN201316432Y (en) 2008-11-19 2008-11-19 Air sterilization device

Publications (1)

Publication Number Publication Date
CN201316432Y true CN201316432Y (en) 2009-09-30

Family

ID=41195205

Family Applications (1)

Application Number Title Priority Date Filing Date
CNU2008201238286U Expired - Fee Related CN201316432Y (en) 2008-11-19 2008-11-19 Air sterilization device

Country Status (1)

Country Link
CN (1) CN201316432Y (en)

Cited By (4)

* Cited by examiner, † Cited by third party
Publication number Priority date Publication date Assignee Title
CN107965821A (en) * 2017-04-29 2018-04-27 宁波方太厨具有限公司 It is a kind of that there is the range hood of sterilizing deodoring
CN107975832A (en) * 2017-04-29 2018-05-01 宁波方太厨具有限公司 It is a kind of that there is the range hood of sterilizing deodoring
CN115192757A (en) * 2022-09-01 2022-10-18 潍坊生命方舟生物技术有限公司 Composite ultraviolet high-efficiency sterilization and disinfection device
CN107965819B (en) * 2017-04-29 2024-01-16 宁波方太厨具有限公司 Range hood with sterilization and deodorization functions

Cited By (7)

* Cited by examiner, † Cited by third party
Publication number Priority date Publication date Assignee Title
CN107965821A (en) * 2017-04-29 2018-04-27 宁波方太厨具有限公司 It is a kind of that there is the range hood of sterilizing deodoring
CN107975832A (en) * 2017-04-29 2018-05-01 宁波方太厨具有限公司 It is a kind of that there is the range hood of sterilizing deodoring
CN107975832B (en) * 2017-04-29 2024-01-16 宁波方太厨具有限公司 Range hood with sterilization and deodorization functions
CN107965821B (en) * 2017-04-29 2024-01-16 宁波方太厨具有限公司 Range hood with sterilization and deodorization functions
CN107965819B (en) * 2017-04-29 2024-01-16 宁波方太厨具有限公司 Range hood with sterilization and deodorization functions
CN115192757A (en) * 2022-09-01 2022-10-18 潍坊生命方舟生物技术有限公司 Composite ultraviolet high-efficiency sterilization and disinfection device
CN115192757B (en) * 2022-09-01 2023-08-29 潍坊生命方舟生物技术有限公司 Compound ultraviolet ray high-efficient degassing unit that disinfects

Similar Documents

Publication Publication Date Title
US5993738A (en) Electrostatic photocatalytic air disinfection
CN201322393Y (en) Combined air-conditioning unit with functions of air disinfection and sterilization
KR101075959B1 (en) Microbial Sterilization and Odor Removal System in Air
KR102181069B1 (en) Photo-catalyst purifying apparatus for air sterilization purifying and lighting apparatus using the same
CN101839534A (en) Wall-hanging multifunctional laminar flow sterilization machine
CN201316432Y (en) Air sterilization device
US20180147312A1 (en) Ventilation Duct to Eradicate Indoor Odor and Microbes
CN201363832Y (en) Fan coil air conditioner with air sterilization function
CN214249990U (en) Suspended ceiling type photocatalyst disinfection and purification device
CN101469895A (en) Simple multifunctional indoor air purifier
KR20230094901A (en) A quarantine air sterilizer
CN213312093U (en) Space degerming device of compound degerming filter screen of ultraviolet
CN101296741A (en) Internal suction type air filtering and sterilizing method and system
CN113983632A (en) A combined air conditioning unit purification and disinfection device and method
KR200443340Y1 (en) Air Sterilizer with Double Fan and Double Case
CN101285608A (en) Optical hydrogen ion air clarifying device
CN217482907U (en) Special disinfection and purification precision air conditioning unit for nuclear magnetic resonance room
CN201558344U (en) Laminar flow dynamic air disinfection machine
KR100915413B1 (en) Air purifying system using photocatalyst
CN212227275U (en) Air purifying device
CN213608471U (en) A rotatable ultraviolet disinfection lamp for ventilation system
RU2728711C1 (en) Combined recirculator for cleaning air from harmful microorganisms
CN212227330U (en) Modular gas disinfection and sterilization device
CN212841964U (en) Air duct for disinfection, sterilization and dust removal, fresh air system comprising same and central air conditioning system
CN212179102U (en) Sterilizing device and air purification equipment

Legal Events

Date Code Title Description
C14 Grant of patent or utility model
GR01 Patent grant
C17 Cessation of patent right
CF01 Termination of patent right due to non-payment of annual fee

Granted publication date: 20090930

Termination date: 20121119