CN201252584Y - Integrated charge type mobile phone - Google Patents
Integrated charge type mobile phone Download PDFInfo
- Publication number
- CN201252584Y CN201252584Y CNU2008200718638U CN200820071863U CN201252584Y CN 201252584 Y CN201252584 Y CN 201252584Y CN U2008200718638 U CNU2008200718638 U CN U2008200718638U CN 200820071863 U CN200820071863 U CN 200820071863U CN 201252584 Y CN201252584 Y CN 201252584Y
- Authority
- CN
- China
- Prior art keywords
- plug
- mobile phone
- power plug
- type mobile
- charge type
- Prior art date
- Legal status (The legal status is an assumption and is not a legal conclusion. Google has not performed a legal analysis and makes no representation as to the accuracy of the status listed.)
- Expired - Fee Related
Links
- 230000002441 reversible effect Effects 0.000 claims abstract description 9
- 230000009286 beneficial effect Effects 0.000 description 1
- 238000005516 engineering process Methods 0.000 description 1
- 238000010295 mobile communication Methods 0.000 description 1
- 230000007306 turnover Effects 0.000 description 1
Images
Classifications
-
- Y—GENERAL TAGGING OF NEW TECHNOLOGICAL DEVELOPMENTS; GENERAL TAGGING OF CROSS-SECTIONAL TECHNOLOGIES SPANNING OVER SEVERAL SECTIONS OF THE IPC; TECHNICAL SUBJECTS COVERED BY FORMER USPC CROSS-REFERENCE ART COLLECTIONS [XRACs] AND DIGESTS
- Y02—TECHNOLOGIES OR APPLICATIONS FOR MITIGATION OR ADAPTATION AGAINST CLIMATE CHANGE
- Y02E—REDUCTION OF GREENHOUSE GAS [GHG] EMISSIONS, RELATED TO ENERGY GENERATION, TRANSMISSION OR DISTRIBUTION
- Y02E60/00—Enabling technologies; Technologies with a potential or indirect contribution to GHG emissions mitigation
- Y02E60/10—Energy storage using batteries
Landscapes
- Telephone Set Structure (AREA)
- Charge And Discharge Circuits For Batteries Or The Like (AREA)
Abstract
在移动电话上设有可以翻转的电源插头、插头隐蔽槽,充电线路版块、插头翻转轴孔,可以翻转的电源插头与充电线路版连接,电源插头两侧有翻转轴与翻转轴孔连接,平时电源插头收藏在隐蔽槽内,充电时翻转插头使之露出即可使用。适合旅行者使用。
The mobile phone is provided with a reversible power plug, a hidden slot for the plug, a charging circuit board, and a plug reversing shaft hole. The reversible power plug is connected to the charging circuit board. The power plug is stored in the hidden groove, and the plug can be turned over to expose it to be used when charging. Suitable for travelers.
Description
所属领域 本实用新型是电信领域移动通讯器材,一体充电式移动电话。Field of Belonging The utility model relates to mobile communication equipment in the field of telecommunications, and an integrated rechargeable mobile phone.
背景技术 目前有一种创新的移动电话本身设有充电功能,不需要单独配备充电器就可以使用,很方便,如在(中国)专利号为ZL200620029615.8的设计,但是其滑块式的插头要占用电话内部较大的空间。Background technology At present, there is an innovative mobile phone with a charging function, which can be used without a separate charger, which is very convenient, such as the design in (China) Patent No. ZL200620029615.8, but the slider-type plug requires Occupies a large space inside the phone.
发明内容 本实用新型要解决的技术问题是公开一种带有翻转式插头的一体充电式移动电话。SUMMARY OF THE INVENTION The technical problem to be solved by this utility model is to disclose an integrated rechargeable mobile phone with a reversible plug.
本实用新型解决其技术问题的具体方案:在移动电话上设有可以翻转的电源插头、插头隐蔽槽,充电线路版块、插头翻转轴孔,可以翻转的电源插头与充电线路版连接,电源插头两侧有翻转轴与翻转轴孔连接,平时电源插头收藏在隐蔽槽内,充电时翻转插头使之露出即可使用。The specific solution of the utility model to solve its technical problems: the mobile phone is provided with a reversible power plug, a plug concealed groove, a charging circuit plate, and a plug reversing shaft hole, and the reversible power plug is connected with the charging circuit version, and the power plug is two There is a turning shaft on the side to connect with the turning shaft hole. Usually the power plug is stored in the hidden groove, and when charging, turn the plug to expose it and use it.
本实用新型的有益效果是:用翻转式插头替代滑块式插头,减少了空间的占用。The beneficial effect of the utility model is that the slider-type plug is replaced by the flip-type plug, which reduces the occupation of space.
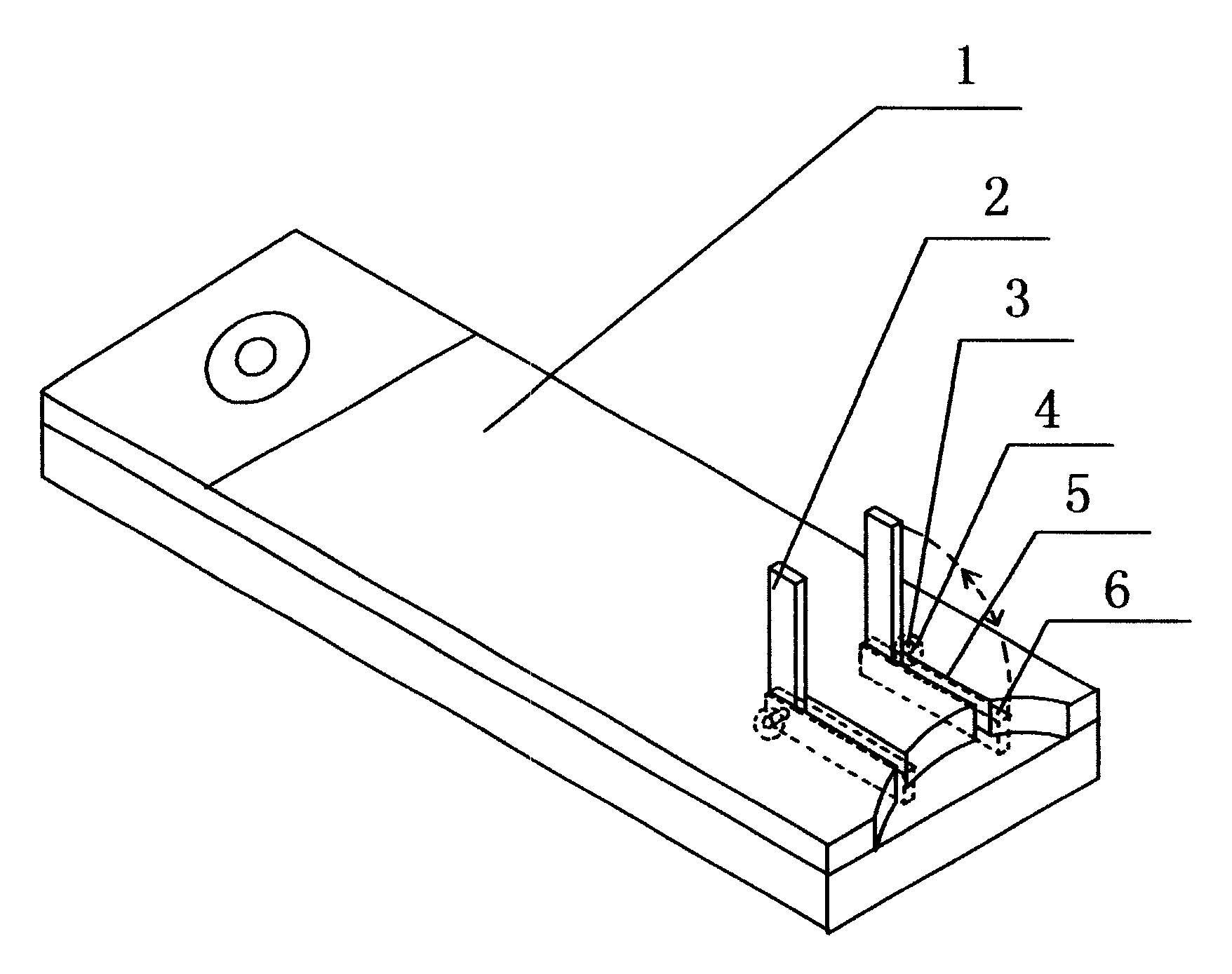
附图说明 附图是本实用新型的结构示意图。BRIEF DESCRIPTION OF THE DRAWINGS The accompanying drawing is a structural representation of the utility model.
附图中1、移动电话,2、电源插头,3、翻转轴,4、翻转轴孔,5、插头隐蔽槽,6、隐蔽在槽内的插头。In the accompanying
具体实施方式 在移动电话(1)上设有可以翻转的电源插头(2)、插头隐蔽槽(5),充电线路版块、插头翻转轴孔(4),可以翻转的电源插头(2)与充电线路版块连接,电源插头(2)两侧有翻转轴(3)与翻转轴孔(4)连接,平时电源插头(2)收藏在隐蔽槽(5)内,如图中(6)所示,充电时翻转插头(2),使之露出即可使用。DETAILED DESCRIPTION A mobile phone (1) is provided with a reversible power plug (2), a plug concealed slot (5), a charging circuit block, a plug reversing shaft hole (4), and a reversible power plug (2) connected to the charging The circuit block is connected, and the turning shaft (3) on both sides of the power plug (2) is connected with the turning shaft hole (4). Usually, the power plug (2) is stored in the hidden groove (5), as shown in (6) in the figure. Turn over the plug (2) when charging, so that it can be used after being exposed.
Claims (2)
Priority Applications (1)
| Application Number | Priority Date | Filing Date | Title |
|---|---|---|---|
| CNU2008200718638U CN201252584Y (en) | 2008-05-21 | 2008-05-21 | Integrated charge type mobile phone |
Applications Claiming Priority (1)
| Application Number | Priority Date | Filing Date | Title |
|---|---|---|---|
| CNU2008200718638U CN201252584Y (en) | 2008-05-21 | 2008-05-21 | Integrated charge type mobile phone |
Publications (1)
| Publication Number | Publication Date |
|---|---|
| CN201252584Y true CN201252584Y (en) | 2009-06-03 |
Family
ID=40748247
Family Applications (1)
| Application Number | Title | Priority Date | Filing Date |
|---|---|---|---|
| CNU2008200718638U Expired - Fee Related CN201252584Y (en) | 2008-05-21 | 2008-05-21 | Integrated charge type mobile phone |
Country Status (1)
| Country | Link |
|---|---|
| CN (1) | CN201252584Y (en) |
Cited By (1)
| Publication number | Priority date | Publication date | Assignee | Title |
|---|---|---|---|---|
| WO2010136650A1 (en) * | 2009-05-28 | 2010-12-02 | Saeynaejaekangas Seppo | Charging adapter for radiotelephone |
-
2008
- 2008-05-21 CN CNU2008200718638U patent/CN201252584Y/en not_active Expired - Fee Related
Cited By (1)
| Publication number | Priority date | Publication date | Assignee | Title |
|---|---|---|---|---|
| WO2010136650A1 (en) * | 2009-05-28 | 2010-12-02 | Saeynaejaekangas Seppo | Charging adapter for radiotelephone |
Similar Documents
| Publication | Publication Date | Title |
|---|---|---|
| CN203193688U (en) | a mobile phone | |
| CN201114038Y (en) | A bluetooth mobile phone and its bluetooth earphone | |
| CN202772933U (en) | Mobile phone charging sleeve with Bluetooth earphone | |
| CN204118800U (en) | A kind of portable power source charging syndeton | |
| CN201252584Y (en) | Integrated charge type mobile phone | |
| CN202586427U (en) | Mobile phone charging cover provided with bluetooth earphone | |
| CN201289912Y (en) | Mobile phone data line for charge | |
| CN202444516U (en) | Plug-in type game mobile phone | |
| CN205249438U (en) | A bluetooth earphone with conversion interface | |
| CN203243096U (en) | Mobile phone case provided with mobile power source | |
| CN202889411U (en) | Portable charging cell phone | |
| CN204334016U (en) | A kind of portable power source with handset mounting | |
| CN201207708Y (en) | Multi-functional mobile phone | |
| CN201207675Y (en) | Mobile phone having electricity charger | |
| CN204559662U (en) | A kind of mobile phone being furnished with polylith battery | |
| CN202424816U (en) | Cell phone camera device | |
| CN202424828U (en) | Conversion and recording device for assisting mobile phone | |
| CN210379501U (en) | Plug-in type circuit board input interface | |
| CN202121753U (en) | Anti-breaking earphone | |
| CN201328136Y (en) | Novel sliding music phone | |
| CN201893818U (en) | Mobile phone with plug | |
| CN201478855U (en) | Mobile phone charger with timing function | |
| CN206542216U (en) | A kind of mobile phone back splint portable power source mainboard | |
| CN202444529U (en) | Cellphone | |
| CN201142698Y (en) | Mobile phone with USB plug jack |
Legal Events
| Date | Code | Title | Description |
|---|---|---|---|
| C14 | Grant of patent or utility model | ||
| GR01 | Patent grant | ||
| DD01 | Delivery of document by public notice |
Addressee: Xu Zunshi Document name: Notification to Pay the Fees |
|
| C17 | Cessation of patent right | ||
| CF01 | Termination of patent right due to non-payment of annual fee |
Granted publication date: 20090603 Termination date: 20100521 |
