CN201244234Y - Air-purifying device for infusion - Google Patents
Air-purifying device for infusion Download PDFInfo
- Publication number
- CN201244234Y CN201244234Y CNU2008200269624U CN200820026962U CN201244234Y CN 201244234 Y CN201244234 Y CN 201244234Y CN U2008200269624 U CNU2008200269624 U CN U2008200269624U CN 200820026962 U CN200820026962 U CN 200820026962U CN 201244234 Y CN201244234 Y CN 201244234Y
- Authority
- CN
- China
- Prior art keywords
- disinfectant
- infusion
- bottle
- air
- outlet pipe
- Prior art date
- Legal status (The legal status is an assumption and is not a legal conclusion. Google has not performed a legal analysis and makes no representation as to the accuracy of the status listed.)
- Expired - Fee Related
Links
- 238000001802 infusion Methods 0.000 title claims abstract description 22
- 239000000645 desinfectant Substances 0.000 claims abstract description 32
- 239000007788 liquid Substances 0.000 claims abstract description 8
- 238000004887 air purification Methods 0.000 claims abstract description 6
- 229920000742 Cotton Polymers 0.000 description 1
- 230000000249 desinfective effect Effects 0.000 description 1
- 238000000034 method Methods 0.000 description 1
- 210000003437 trachea Anatomy 0.000 description 1
Images
Classifications
-
- Y—GENERAL TAGGING OF NEW TECHNOLOGICAL DEVELOPMENTS; GENERAL TAGGING OF CROSS-SECTIONAL TECHNOLOGIES SPANNING OVER SEVERAL SECTIONS OF THE IPC; TECHNICAL SUBJECTS COVERED BY FORMER USPC CROSS-REFERENCE ART COLLECTIONS [XRACs] AND DIGESTS
- Y02—TECHNOLOGIES OR APPLICATIONS FOR MITIGATION OR ADAPTATION AGAINST CLIMATE CHANGE
- Y02A—TECHNOLOGIES FOR ADAPTATION TO CLIMATE CHANGE
- Y02A50/00—TECHNOLOGIES FOR ADAPTATION TO CLIMATE CHANGE in human health protection, e.g. against extreme weather
- Y02A50/20—Air quality improvement or preservation, e.g. vehicle emission control or emission reduction by using catalytic converters
Landscapes
- Apparatus For Disinfection Or Sterilisation (AREA)
Abstract
一种输液空气净化装置,适用于输液病人使用。包括:消毒液瓶体,消毒液瓶体内装有消毒液,消毒液瓶体的下端分别插有出气管和“L”形进气管;出气管的上端位于消毒液的液面之上,出气管的下端位于消毒液瓶体的外面并且带有堵塞;“L”形进气管的短端插入消毒液瓶体内并且位于消毒液的液面之下,长端伸出消毒液瓶体外并且向上。本实用新型可以有效地对进入输液瓶的空气进行消毒处理。
An infusion air purification device is suitable for infusion patients. Including: disinfectant bottle body, which contains disinfectant, and the lower end of the disinfectant bottle is respectively inserted with an air outlet pipe and an "L"-shaped air inlet pipe; the upper end of the air outlet pipe is located above the liquid surface of the disinfectant, and the air outlet pipe The lower end of the lower end is located outside the disinfectant bottle and has a blockage; the short end of the "L"-shaped air inlet pipe is inserted into the disinfectant bottle and is located below the liquid level of the disinfectant, and the long end extends out of the disinfectant bottle and goes upward. The utility model can effectively disinfect the air entering the infusion bottle.
Description
技术领域 technical field
本实用新型涉及一种输液病人使用的输液辅助装置,尤其涉及一种对进入输液瓶的空气进行消毒处理的输液空气净化装置。The utility model relates to an infusion auxiliary device used by infusion patients, in particular to an infusion air purification device for disinfecting air entering an infusion bottle.
背景技术 Background technique
目前,病人输液使用的一次性输液器的进气管的头部只带有过滤棉,可以对进入输液瓶的空气进行基本过滤,但并不能对进入输液瓶的空气进行有效地消毒处理。At present, the head of the air inlet pipe of the disposable infusion set used by patients for infusion only has filter cotton, which can basically filter the air entering the infusion bottle, but cannot effectively disinfect the air entering the infusion bottle.
发明内容 Contents of the invention
本实用新型的目的是提供一种可以有效地对进入输液瓶的空气进行消毒处理的输液空气净化装置。The purpose of the utility model is to provide an infusion air purification device which can effectively sterilize the air entering the infusion bottle.
为实现上述目的,本实用新型采用的技术方案为:In order to achieve the above object, the technical solution adopted by the utility model is:
一种输液空气净化装置,包括:消毒液瓶体,消毒液瓶体内装有消毒液,其特征是:消毒液瓶体的下端分别插有出气管和“L”形进气管;出气管的上端位于消毒液的液面之上,出气管的下端位于消毒液瓶体的外面并且带有堵塞;“L”形进气管的短端插入消毒液瓶体内并且位于消毒液的液面之下,长端伸出消毒液瓶体外并且向上。An air purification device for infusion, comprising: a disinfectant bottle, which contains disinfectant, and is characterized in that: the lower end of the disinfectant bottle is respectively inserted with an air outlet pipe and an "L"-shaped air inlet pipe; the upper end of the air outlet pipe Located above the liquid level of the disinfectant, the lower end of the outlet pipe is located outside the disinfectant bottle and has a blockage; the short end of the "L"-shaped air inlet pipe is inserted into the disinfectant bottle and is located below the liquid surface of the disinfectant. The end stretches out of the disinfectant bottle and upwards.
本实用新型可以有效地对进入输液瓶的空气进行消毒处理。The utility model can effectively disinfect the air entering the infusion bottle.
附图说明 Description of drawings
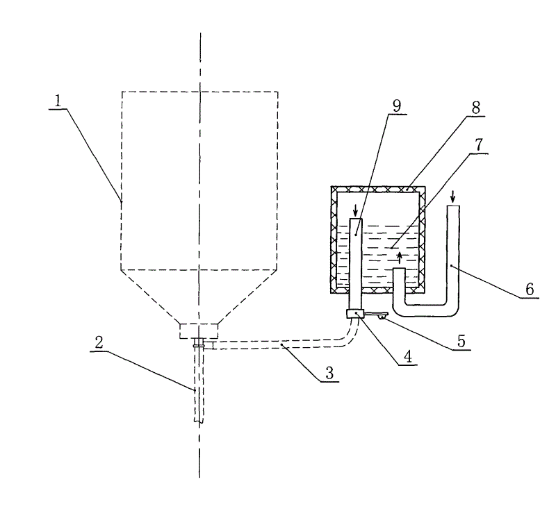
图为本实用新型的结构示意图。The figure is a structural representation of the utility model.
附图中:1、输液瓶;2、输液管;3、输液器进气管;4、出气管接头;5、堵塞;6、“L”形进气管;7、消毒液;8、消毒液瓶体;9、出气管。In the attached drawings: 1. Infusion bottle; 2. Infusion tube; 3. Inlet pipe of infusion set; 4. Outlet pipe joint; 5. Blockage; body; 9, the trachea.
具体实施方式 Detailed ways
下面结合附图和具体实施例对本实用新型作进一步说明:Below in conjunction with accompanying drawing and specific embodiment the utility model is further described:
本实用新型一种输液空气净化装置如图所示,包括:消毒液瓶体8,消毒液瓶体8内装有消毒液7,消毒液瓶体8的下端分别插有出气管9和“L”形进气管6;出气管9的上端位于消毒液7的液面之上,出气管9的下端位于消毒液瓶体8的外面并且带有堵塞5;“L”形进气管6的短端插入消毒液瓶体8内并且位于消毒液7的液面之下,长端伸出消毒液瓶体8外并且向上。An infusion air purification device of the utility model is shown in the figure, comprising: a
本实用新型可以有效地对进入输液瓶的空气进行消毒处理。The utility model can effectively disinfect the air entering the infusion bottle.
Claims (1)
Priority Applications (1)
| Application Number | Priority Date | Filing Date | Title |
|---|---|---|---|
| CNU2008200269624U CN201244234Y (en) | 2008-08-18 | 2008-08-18 | Air-purifying device for infusion |
Applications Claiming Priority (1)
| Application Number | Priority Date | Filing Date | Title |
|---|---|---|---|
| CNU2008200269624U CN201244234Y (en) | 2008-08-18 | 2008-08-18 | Air-purifying device for infusion |
Publications (1)
| Publication Number | Publication Date |
|---|---|
| CN201244234Y true CN201244234Y (en) | 2009-05-27 |
Family
ID=40728051
Family Applications (1)
| Application Number | Title | Priority Date | Filing Date |
|---|---|---|---|
| CNU2008200269624U Expired - Fee Related CN201244234Y (en) | 2008-08-18 | 2008-08-18 | Air-purifying device for infusion |
Country Status (1)
| Country | Link |
|---|---|
| CN (1) | CN201244234Y (en) |
Cited By (1)
| Publication number | Priority date | Publication date | Assignee | Title |
|---|---|---|---|---|
| CN112220131A (en) * | 2020-10-28 | 2021-01-15 | 烟台南山学院 | A mask with disinfection function |
-
2008
- 2008-08-18 CN CNU2008200269624U patent/CN201244234Y/en not_active Expired - Fee Related
Cited By (1)
| Publication number | Priority date | Publication date | Assignee | Title |
|---|---|---|---|---|
| CN112220131A (en) * | 2020-10-28 | 2021-01-15 | 烟台南山学院 | A mask with disinfection function |
Similar Documents
| Publication | Publication Date | Title |
|---|---|---|
| CN203829388U (en) | Flushing device for urinary surgery | |
| CN203329096U (en) | Sputum suction machine | |
| CN206026464U (en) | Trinity oral cavity flusher | |
| CN201244234Y (en) | Air-purifying device for infusion | |
| CN208741589U (en) | A kind of sputum aspirator for paediatrics | |
| CN201058113Y (en) | Nasal cavity cleaner | |
| CN208464752U (en) | A kind of pulmonary tuberculosis sputum aspirator | |
| CN202270239U (en) | Trachea cannula provided with suction tubes | |
| CN211214352U (en) | Nose washer for rhinitis | |
| CN201223464Y (en) | Oral cavity rinser | |
| CN207755613U (en) | Atomizer is difficult to articulate | |
| CN202136615U (en) | Self-control type negative pressure nasal aspirator | |
| CN202459473U (en) | Disposable continuous phlegm-absorbing device | |
| CN205924578U (en) | Disposable bladder irrigator | |
| CN201248944Y (en) | Air pipe casing one-time humidification dust filtration sleeve | |
| CN201123898Y (en) | Self-using nasal cavity irrigator | |
| CN201921261U (en) | Flushable tracheal casing pipe | |
| CN204840550U (en) | Novel otolaryngology passes a sentence liquid medicine spraying device | |
| CN103623489A (en) | Multifunctional cough assist external connecting pipe | |
| CN201379775Y (en) | Irrigator used after anorectal disease operation | |
| CN211382974U (en) | A special nasal aspirator for children to prevent respiratory diseases | |
| CN202682496U (en) | Respiratory assist device for internal medicine of tuberculosis | |
| CN201719579U (en) | Spittle air sterilizer used for infectious disease prevention | |
| CN109938863A (en) | A kind of vacuum suction oral cavity nursing device | |
| CN201361257Y (en) | Water sucking device for patients |
Legal Events
| Date | Code | Title | Description |
|---|---|---|---|
| C14 | Grant of patent or utility model | ||
| GR01 | Patent grant | ||
| C17 | Cessation of patent right | ||
| CF01 | Termination of patent right due to non-payment of annual fee |
Granted publication date: 20090527 Termination date: 20100818 |
