CN201230089Y - Radio frequency coaxial connector - Google Patents
Radio frequency coaxial connector Download PDFInfo
- Publication number
- CN201230089Y CN201230089Y CNU200820038034XU CN200820038034U CN201230089Y CN 201230089 Y CN201230089 Y CN 201230089Y CN U200820038034X U CNU200820038034X U CN U200820038034XU CN 200820038034 U CN200820038034 U CN 200820038034U CN 201230089 Y CN201230089 Y CN 201230089Y
- Authority
- CN
- China
- Prior art keywords
- radio frequency
- frequency coaxial
- coaxial connector
- connector
- sleeve
- Prior art date
- Legal status (The legal status is an assumption and is not a legal conclusion. Google has not performed a legal analysis and makes no representation as to the accuracy of the status listed.)
- Expired - Fee Related
Links
Images
Landscapes
- Connector Housings Or Holding Contact Members (AREA)
Abstract
一种射频同轴连接器,其可与对接连接器锁扣配合,所述射频同轴连接器包括圆筒形的金属壳体、及固持在金属壳体上的锁紧套,所述金属壳体内形成可供对接连接器插入的收容空间、及设置在收容空间面向对接连接器的台阶面,所述对接连接器包括外壳体,射频同轴连接器还设有抵靠安装在台阶面上的弹性导电橡胶圈,当对接连接器插入收容空间后,锁紧力使得外壳体的前端面与台阶面共同夹持弹性导电橡胶圈实现防水及电气密封。本实用新型射频同轴连接器,采用弹性导电橡胶,实现了防水及电气密封,从而生产成本低。
A radio frequency coaxial connector, which can be locked and matched with a butt connector, the radio frequency coaxial connector includes a cylindrical metal shell and a locking sleeve held on the metal shell, the metal shell A storage space for the insertion of the docking connector is formed in the body, and a step surface facing the docking connector is arranged in the storage space. The docking connector includes an outer shell, and the radio frequency coaxial connector is also provided with a buttress mounted on the step surface. The elastic conductive rubber ring, when the docking connector is inserted into the receiving space, the locking force makes the front surface of the outer shell and the step surface jointly clamp the elastic conductive rubber ring to achieve waterproof and electrical sealing. The radio frequency coaxial connector of the utility model adopts elastic conductive rubber, realizes waterproof and electrical sealing, and thus has low production cost.
Description
【技术领域】 【Technical field】
本实用新型涉及一种射频同轴连接器,尤其是关于该射频同轴连接器的防水及电气密封结构。The utility model relates to a radio frequency coaxial connector, in particular to a waterproof and electrical sealing structure of the radio frequency coaxial connector.
【背景技术】 【Background technique】
美国专利公告第US6709289号揭示了一种射频同轴连接器,所述射频同轴连接器包括金属壳体、收容在金属壳体内的绝缘体、收容在绝缘体内的中心端子、安装在金属壳体一端的卡锁结构,所述金属壳体设有可供对接连接器插入的具有开口的收容空间,所述射频同轴连接器还设有安装在金属壳体内侧的弹性橡胶圈、及安装在收容空间远离开口一端的弹性金属环,当对接连接器插入收容空间后,对接连接器的外壳体与橡胶圈相挤压实现防水密封,外壳体与金属环相压实现电气密封。U.S. Patent No. US6709289 discloses a radio frequency coaxial connector, the radio frequency coaxial connector includes a metal shell, an insulator accommodated in the metal shell, a central terminal accommodated in the insulator, mounted on one end of the metal shell The metal shell is provided with a receiving space with an opening for the insertion of the docking connector, and the radio frequency coaxial connector is also provided with an elastic rubber ring installed inside the metal shell and installed in the receiving space. Space away from the elastic metal ring at the end of the opening , when the butt connector is inserted into the receiving space, the outer shell of the butt connector is squeezed with the rubber ring to achieve a waterproof seal, and the outer shell and the metal ring Mutually pressure to achieve an electrical seal.
现有技术中防水密封与电气密封分开设计,从而零件数量较多,进而生产成本较高。In the prior art, the waterproof seal and the electrical seal are designed separately, so the number of parts is large, and the production cost is high.
【实用新型内容】【Content of utility model】
本实用新型所要解决的技术问题是:提供一种低生产成本的具防水及电气密封性能射频同轴连接器。The technical problem to be solved by the utility model is to provide a low production cost radio frequency coaxial connector with waterproof and electrical sealing performance.
为解决上述问题,本实用新型提供一种射频同轴连接器,其可与对接连接器锁扣配合,所述射频同轴连接器包括圆筒形的金属壳体、及固持在金属壳体上的锁紧套,所述金属壳体内形成可供对接连接器插入的收容空间、及设置在收容空间面向对接连接器的台阶面,所述对接连接器包括外壳体,射频同轴连接器还设有靠安装在台阶面上的弹性导电橡胶圈,当对接连接器插入收容空间后,锁紧力使得外壳体的前端面与台阶面共同夹持弹性导电橡胶圈实现防水及电气密封。In order to solve the above problems, the utility model provides a radio frequency coaxial connector, which can be locked and matched with the docking connector. The radio frequency coaxial connector includes a cylindrical metal shell and is fixed on the metal shell A locking sleeve, the metal housing forms a storage space for the insertion of the docking connector, and a stepped surface facing the docking connector in the storage space, the docking connector includes an outer shell, and the radio frequency coaxial connector is also provided have Relying on the elastic conductive rubber ring installed on the step surface, when the docking connector is inserted into the receiving space, the locking force makes the front surface of the outer shell and the step surface clamp the elastic conductive rubber ring together to achieve waterproof and electrical sealing.
相较于现有技术,本实用新型射频同轴连接器在收容空间中装设有弹性导电橡胶圈,当对接连接器插入后,对接连接器的外壳体的前端面与台阶面共同夹持弹性导电橡胶圈实现防水及电气密封,所需要零件较少,进而生产成本低。Compared with the prior art, the radio frequency coaxial connector of the utility model is equipped with an elastic conductive rubber ring in the accommodation space. The conductive rubber ring realizes waterproof and electrical sealing, requires fewer parts, and thus lowers the production cost.
【附图说明】 【Description of drawings】
图1是本实用新型射频同轴连接器与对接连接器的立体图。Fig. 1 is a perspective view of the radio frequency coaxial connector and the docking connector of the utility model.
图2是图1所示射频同轴连接器与对接连接器配合后的立体图。FIG. 2 is a perspective view of the radio frequency coaxial connector shown in FIG. 1 mated with the docking connector.
图3是图1所示射频同轴连接器的分解图。FIG. 3 is an exploded view of the radio frequency coaxial connector shown in FIG. 1 .
图4是图2所示射频同轴连接器与对接连接器配合后的剖视图。FIG. 4 is a cross-sectional view of the radio frequency coaxial connector shown in FIG. 2 mated with the butt connector.
【具体实施方式】 【Detailed ways】
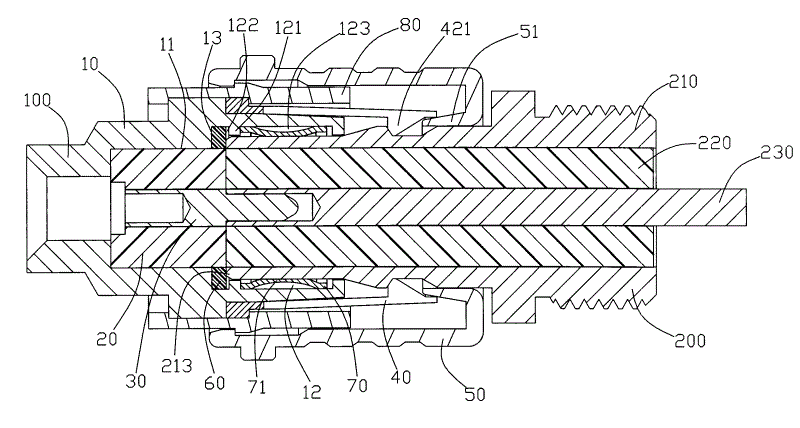
如图1至4所示,符合本实用新型的一种射频同轴连接器100,其可与对接连接器200锁扣配合。所述射频同轴连接器100包括金属壳体10、收容在金属壳体10内的绝缘体20、收容在绝缘体20内的中心端子30、固持在金属壳体10上的锁紧套40、安装在锁紧套40外侧的滑动套50、收容在金属壳体10内的弹性导电橡胶圈60、及收容在金属壳体10内的弹性定位套70。所述对接连接器200包括外壳体210、收容在外壳体210内的绝缘子220、及收容在绝缘子220内的中心针230。As shown in FIGS. 1 to 4 , a radio frequency
所述金属壳体10是圆筒结构,其包括收容绝缘体20的容置部11、及与容置部11相连通用以收容对接连接器200的收容空间12,所述收容空间12的直大于容置部11的直,从而在收容空间12内形成有面向对接连接器200的环形台阶面13,根据需要台阶面13也可以设计成其它形状。收容空间12内设有一环形凸肋121从而将收容空间12分隔成靠近容置部11的第一环形凹槽122、及远离容置部11的第二环形凹槽123。The
所述绝缘体20收容在金属壳体10的容置部11内,所述绝缘体20具有中心通孔21。所述中心端子30固持在绝缘体20的中心通孔21中。The
所述锁紧套40固持在金属壳体10的外侧,锁紧套40也可以固持在金属壳体10的内侧,锁紧套40包括圆筒形的基部41及自基部41向对接连接器200方向延伸的若干弹臂42,所述各弹臂42的自由末端的内侧上设有凸出部421,当对接连接器200插入后,锁紧套40与对接连接器200相锁扣,所述外壳体210外侧面上设有环形凸起211,所述环形凸起211的后侧面212是斜面,也可以设计成竖直平面,所述弹臂42上的凸出部421锁扣在后侧面212上。The
所述滑动套50是圆筒结构,其安装在锁紧套40的外侧并可以沿中心轴线方向滑动,滑动套50与锁紧套40之间还可以设有一圆筒形的固定套80,滑动套50的一端内侧设有配合部51,所述配合部51可与锁紧套40的弹臂42的自由末端的内侧相配合,当将滑动套50沿对接连接器200插入方向滑动时,配合部51可将各弹臂42向远离中心轴线方向撑开,从而与对接连接器200解除锁扣。The
所述弹性导电橡胶圈60安装在第一环形凹槽122内并靠在台阶面13上,对接连接器200锁扣在射频同轴连接器100中时,锁紧套40对外体210的夹紧力将分成一沿中心轴线方向的力,从而使得外壳体210与弹性导电橡胶圈60相弹性压,外壳体210设有前端面213,从而前端面213与台阶面13共同夹持弹性导电橡胶圈60而实现了防水及电气密封。The elastic
所述弹性定位套70是圆筒结构,其安装在第二环形凹槽123内,弹性定位筒70的侧壁71向内弹性凸起,所述侧壁71设有断口72从而可以压缩弹性定位套70的直而方便安装到第二环形凹槽123内,当然也可以不设计断口72而采用现有及述中其他方法将弹性定位套70安装到金属壳体10内,对接连接器200插入后,所述侧壁71弹性挤压外壳体210,从而使得对接连接器200与射频同轴连接器100保持同轴连接。The
采用本实用新型射频同轴连接器100,采用弹性导电橡胶圈60实现与对接连接器100连接时的防水及电气密封,生产零件少,从而生产成本较低。Adopting the radio frequency
Claims (6)
Priority Applications (2)
| Application Number | Priority Date | Filing Date | Title |
|---|---|---|---|
| CNU200820038034XU CN201230089Y (en) | 2008-06-06 | 2008-06-06 | Radio frequency coaxial connector |
| US12/478,702 US7857651B2 (en) | 2008-06-04 | 2009-06-04 | Coxial connector having resilient ring and sealing ring |
Applications Claiming Priority (1)
| Application Number | Priority Date | Filing Date | Title |
|---|---|---|---|
| CNU200820038034XU CN201230089Y (en) | 2008-06-06 | 2008-06-06 | Radio frequency coaxial connector |
Publications (1)
| Publication Number | Publication Date |
|---|---|
| CN201230089Y true CN201230089Y (en) | 2009-04-29 |
Family
ID=40635031
Family Applications (1)
| Application Number | Title | Priority Date | Filing Date |
|---|---|---|---|
| CNU200820038034XU Expired - Fee Related CN201230089Y (en) | 2008-06-04 | 2008-06-06 | Radio frequency coaxial connector |
Country Status (1)
| Country | Link |
|---|---|
| CN (1) | CN201230089Y (en) |
Cited By (4)
| Publication number | Priority date | Publication date | Assignee | Title |
|---|---|---|---|---|
| CN103199397A (en) * | 2013-03-27 | 2013-07-10 | 江苏宏信电子科技有限公司 | Radio frequency coaxial connector |
| CN103687395A (en) * | 2012-08-31 | 2014-03-26 | 利勃海尔-电子有限责任公司 | Airtight housing device |
| EP2933881A1 (en) * | 2014-04-15 | 2015-10-21 | IMS Connector Systems GmbH | Hf connector |
| CN110233388A (en) * | 2019-05-27 | 2019-09-13 | 中航光电科技股份有限公司 | A kind of pin connector shell, pin connector and connector assembly |
-
2008
- 2008-06-06 CN CNU200820038034XU patent/CN201230089Y/en not_active Expired - Fee Related
Cited By (5)
| Publication number | Priority date | Publication date | Assignee | Title |
|---|---|---|---|---|
| CN103687395A (en) * | 2012-08-31 | 2014-03-26 | 利勃海尔-电子有限责任公司 | Airtight housing device |
| CN103687395B (en) * | 2012-08-31 | 2018-05-01 | 利勃海尔-电子有限责任公司 | Airtight canning |
| CN103199397A (en) * | 2013-03-27 | 2013-07-10 | 江苏宏信电子科技有限公司 | Radio frequency coaxial connector |
| EP2933881A1 (en) * | 2014-04-15 | 2015-10-21 | IMS Connector Systems GmbH | Hf connector |
| CN110233388A (en) * | 2019-05-27 | 2019-09-13 | 中航光电科技股份有限公司 | A kind of pin connector shell, pin connector and connector assembly |
Similar Documents
| Publication | Publication Date | Title |
|---|---|---|
| US7762854B1 (en) | RF connector assembly | |
| CN101546882B (en) | Quick locking and separation mechanism of coaxial connector | |
| CN202633583U (en) | Radio-frequency connector and contact element thereof | |
| CN201230089Y (en) | Radio frequency coaxial connector | |
| CN201230088Y (en) | RF connector | |
| CN105490059A (en) | Positive-negative insertion USB socket | |
| CN201247870Y (en) | Rapid-insertion self-locking type RF coaxial connector | |
| CN201207525Y (en) | RF coaxial connector | |
| CN105071172A (en) | Rectangular high and low frequency mixed connector assembly | |
| CN108649371A (en) | A kind of Split type electric connector | |
| CN101986472B (en) | Plug connectors and plugs | |
| CN201126906Y (en) | RF coaxial connector with rapid-insertion self-locking | |
| CN109565127B (en) | Electric plug device and electric automobile | |
| CN109950761B (en) | Double-end floating radio frequency coaxial adapter | |
| CN201667468U (en) | A coaxial contact piece and an electrical connector using the same | |
| CN201160179Y (en) | coaxial connector | |
| CN204464546U (en) | A T-SMP radio frequency connector structure | |
| CN101494338A (en) | Rapid insertion, self-locking type electric connector | |
| CN208257055U (en) | Radio frequency (RF) coaxial connector and its plug | |
| CN218182607U (en) | A connection structure of a small current connector | |
| CN2938518Y (en) | Cable branch joint | |
| CN203288864U (en) | Snap fastening type radio frequency coaxial connector | |
| CN113113816B (en) | Radio frequency coaxial connector convenient to installation is dismantled | |
| CN105932475B (en) | Radio frequency connector component and its radio frequency connector and adaptation radio frequency connector | |
| CN109361121A (en) | A kind of terminative connector from limit assembling |
Legal Events
| Date | Code | Title | Description |
|---|---|---|---|
| C14 | Grant of patent or utility model | ||
| GR01 | Patent grant | ||
| C17 | Cessation of patent right | ||
| CF01 | Termination of patent right due to non-payment of annual fee |
Granted publication date: 20090429 Termination date: 20120606 |




