CN201198588Y - Water-saving device for secondary use of domestic water - Google Patents
Water-saving device for secondary use of domestic water Download PDFInfo
- Publication number
- CN201198588Y CN201198588Y CNU2008200361673U CN200820036167U CN201198588Y CN 201198588 Y CN201198588 Y CN 201198588Y CN U2008200361673 U CNU2008200361673 U CN U2008200361673U CN 200820036167 U CN200820036167 U CN 200820036167U CN 201198588 Y CN201198588 Y CN 201198588Y
- Authority
- CN
- China
- Prior art keywords
- water
- storage tank
- filter
- intake pipe
- screen pack
- Prior art date
- Legal status (The legal status is an assumption and is not a legal conclusion. Google has not performed a legal analysis and makes no representation as to the accuracy of the status listed.)
- Expired - Fee Related
Links
- XLYOFNOQVPJJNP-UHFFFAOYSA-N water Substances O XLYOFNOQVPJJNP-UHFFFAOYSA-N 0.000 title claims abstract description 82
- 238000003860 storage Methods 0.000 claims abstract description 26
- 239000010865 sewage Substances 0.000 claims abstract description 13
- 238000005406 washing Methods 0.000 abstract description 7
- 238000011010 flushing procedure Methods 0.000 abstract description 3
- 238000003912 environmental pollution Methods 0.000 abstract description 2
- 238000004519 manufacturing process Methods 0.000 abstract description 2
- 240000007594 Oryza sativa Species 0.000 description 1
- 235000007164 Oryza sativa Nutrition 0.000 description 1
- 238000003287 bathing Methods 0.000 description 1
- 238000000034 method Methods 0.000 description 1
- 235000009566 rice Nutrition 0.000 description 1
- 239000002699 waste material Substances 0.000 description 1
Images
Classifications
-
- Y—GENERAL TAGGING OF NEW TECHNOLOGICAL DEVELOPMENTS; GENERAL TAGGING OF CROSS-SECTIONAL TECHNOLOGIES SPANNING OVER SEVERAL SECTIONS OF THE IPC; TECHNICAL SUBJECTS COVERED BY FORMER USPC CROSS-REFERENCE ART COLLECTIONS [XRACs] AND DIGESTS
- Y02—TECHNOLOGIES OR APPLICATIONS FOR MITIGATION OR ADAPTATION AGAINST CLIMATE CHANGE
- Y02A—TECHNOLOGIES FOR ADAPTATION TO CLIMATE CHANGE
- Y02A20/00—Water conservation; Efficient water supply; Efficient water use
Landscapes
- Domestic Plumbing Installations (AREA)
Abstract
二次使用生活用水的节水装置,涉及节水工程技术领域。在储水箱内立向设置过滤网,过滤网的下端密封连接在储水箱底部,在过滤网一侧的储水箱内分别布置排污口、进水口,排污口布置在储水箱的底部,进水口布置在储水箱的上部,在过滤网的另一侧的底部布置取水口,在过滤网的另一侧的布置取水管,在取水管上端连接水泵,水泵的另一端设置可与座便器连接的连接口。将来自厨房、洗衣机、沐浴的各种生活用水通过管道收集至进水口,通过过滤网过滤后,由取水管进入水泵用于冲便。打开堵头,通过排污口放出沉集的污物。本实用新型结构简单、合理,造价低,一次投资终身受益,能充分利用水资源,达到节约用水、减少环境污染。
A water-saving device for secondary use of domestic water relates to the technical field of water-saving engineering. A filter is installed vertically in the water storage tank. The lower end of the filter is sealed and connected to the bottom of the water storage tank. The sewage outlet and water inlet are respectively arranged in the water storage tank on one side of the filter. The sewage outlet is arranged at the bottom of the water storage tank, and the water inlet is arranged. On the upper part of the water storage tank, a water intake is arranged at the bottom of the other side of the filter screen, a water intake pipe is arranged on the other side of the filter screen, a water pump is connected to the upper end of the water intake pipe, and a connection that can be connected to the toilet is provided at the other end of the water pump mouth. Collect all kinds of domestic water from the kitchen, washing machine and bath to the water inlet through the pipeline, filter through the filter, and then enter the water pump from the water intake pipe for flushing. Open the plug and discharge the accumulated dirt through the sewage outlet. The utility model has the advantages of simple and reasonable structure, low manufacturing cost, life-long benefit from one investment, full utilization of water resources, saving water and reducing environmental pollution.
Description
技术领域 technical field
本实用新型涉及节水工程技术领域。The utility model relates to the technical field of water-saving engineering.
背景技术 Background technique
水是人类的生命之源,而可以使用的水资源有限,尤其在我国部分地区已出现的水资源短缺,使节水更具有紧迫性。当务之急是合理利用有限的水资源,节约用水、减少污染是关键。Water is the source of human life, but the available water resources are limited, especially the shortage of water resources in some areas of our country, which makes water saving more urgent. The top priority is to rationally utilize limited water resources, and saving water and reducing pollution are the key.
目前生活用水只是一次使用,大量的被直接排放,这此来自于厨房的淘米、洗涤用水,来自于洗衣机的洗衣水,来自于沐浴房的洗脸、沐浴用水给小家庭、小单位带来的不但是资金的浪费,还加大了水处理成本。At present, domestic water is only used once, and a large amount is directly discharged. This comes from the rice washing and washing water in the kitchen, the washing water from the washing machine, and the face washing and bathing water from the shower room to small families and small units. It is not only a waste of funds, but also increases the cost of water treatment.
实用新型内容Utility model content
本实用新型目的在于充分利用家庭、单位的日常生活用水,作为冲便器用水使用、节水的二次使用生活用水的节水装置。The purpose of the utility model is to make full use of the daily life water of families and units, as a water-saving device for flushing toilet water and water-saving secondary use of domestic water.
本实用新型包括一储水箱,在储水箱内立向设置过滤网,所述过滤网的下端密封连接在储水箱底部,在过滤网一侧的储水箱内分别布置排污口、进水口,所述排污口布置在储水箱的底部,进水口布置在储水箱的上部,在过滤网的另一侧的底部布置取水口,在过滤网的另一侧的布置取水管,在取水管上端连接水泵,所述水泵的另一端设置可与座便器连接的连接口。The utility model comprises a water storage tank, and a filter screen is vertically arranged in the water storage tank, and the lower end of the filter screen is sealed and connected to the bottom of the water storage tank, and a sewage outlet and a water inlet are respectively arranged in the water storage tank on one side of the filter screen. The sewage outlet is arranged at the bottom of the water storage tank, the water inlet is arranged at the upper part of the water storage tank, the water intake is arranged at the bottom of the other side of the filter screen, the water intake pipe is arranged on the other side of the filter screen, and the water pump is connected to the upper end of the water intake pipe. The other end of the water pump is provided with a connection port that can be connected with the toilet.
将来自厨房、洗衣机、沐浴的各种生活用水通过管道收集至进水口,通过过滤网过滤后,由取水管进入水泵用于冲便。打开堵头,通过排污口放出沉集的污物。本实用新型结构简单、合理,造价低,一次投资终身受益,能充分利用水资源,达到节约用水、减少环境污染。Collect all kinds of domestic water from the kitchen, washing machine and bath to the water inlet through the pipeline, filter through the filter, and then enter the water pump from the water intake pipe for flushing. Open the plug and release the accumulated dirt through the drain. The utility model has the advantages of simple and reasonable structure, low manufacturing cost, life-long benefit from one investment, full utilization of water resources, saving water and reducing environmental pollution.
为了防止储水箱内水位过高,在布置排污口、进水口一侧的储水箱上还设置溢水口。In order to prevent the water level in the water storage tank from being too high, an overflow port is also arranged on the water storage tank on the side where the sewage outlet and the water inlet are arranged.
为了提高过滤水位,过滤网的上端连接在储水箱的顶部。In order to improve the filtered water level, the upper end of the filter screen is connected to the top of the water storage tank.
所述过滤网的网眼自下而上渐大。The mesh of the filter screen gradually increases from bottom to top.
附图说明 Description of drawings
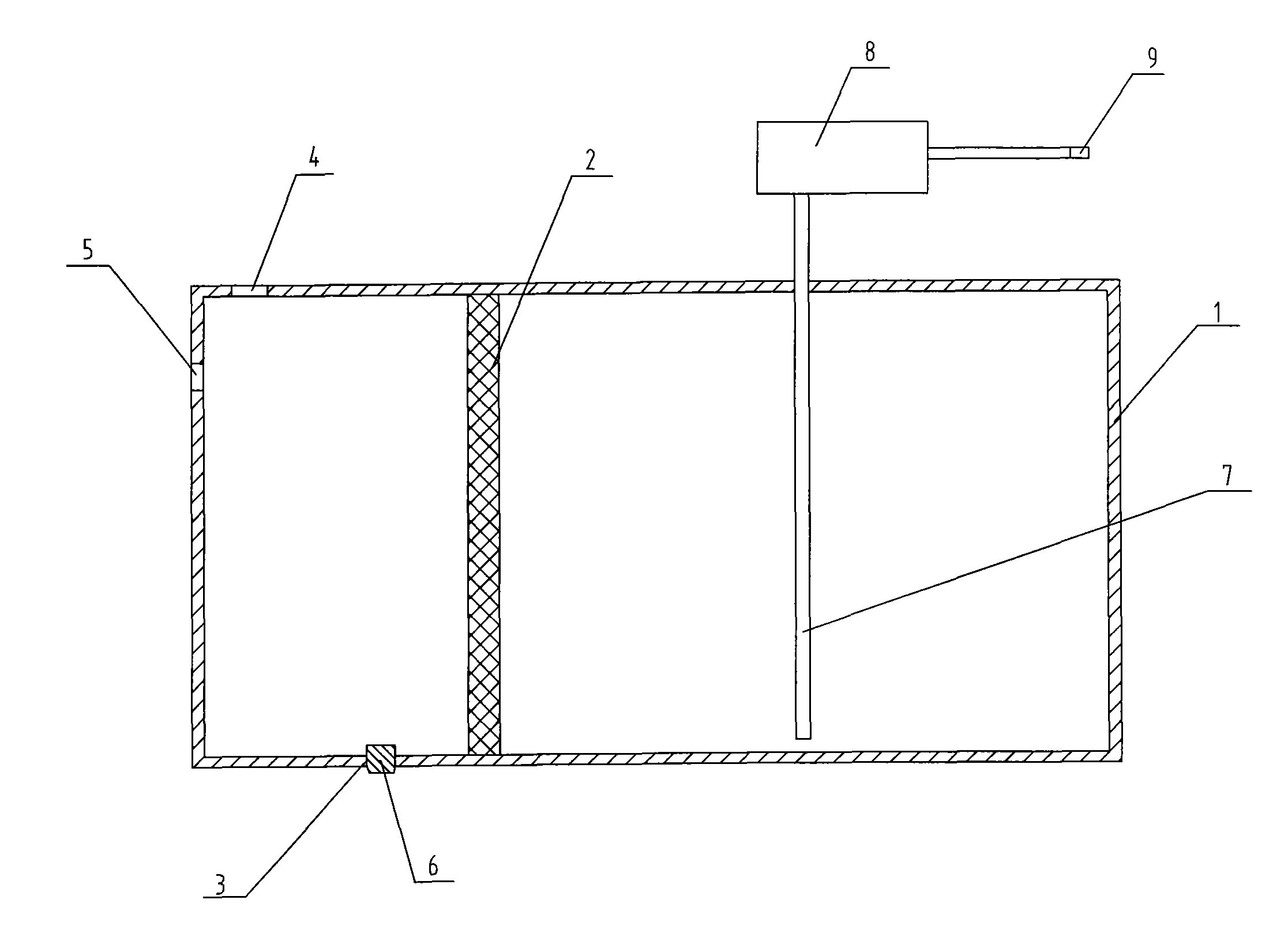
图1为本实用新型的一种结构示意图。Fig. 1 is a kind of structural representation of the utility model.
具体实施方式 Detailed ways
如图1所示,在四壁密封的储水箱1内立向设置网眼自下而上渐大的过滤网2,过滤网2的下端密封连接在储水箱1底部,上端连接在储水箱1的顶部。As shown in Figure 1, in the four-wall sealed water storage tank 1, a
在过滤网2一侧的储水箱1内分别布置排污口3、进水口4和溢水口5,进水口4布置在储水箱1的上部,排污口3布置在储水箱1的底部,在排污口3上设置堵头6,溢水口5布置在进水口4下方。In the water storage tank 1 on one side of the
在过滤网2的另一侧的底部布置取水管7,在取水管7上端连接水泵8,水泵8的另一端设置可与座便器连接的连接口9。A
还可将溢水口5和排污口3的外端通过管道连接至建筑物的排污总管上。The outer ends of the
Claims (4)
Priority Applications (1)
| Application Number | Priority Date | Filing Date | Title |
|---|---|---|---|
| CNU2008200361673U CN201198588Y (en) | 2008-05-15 | 2008-05-15 | Water-saving device for secondary use of domestic water |
Applications Claiming Priority (1)
| Application Number | Priority Date | Filing Date | Title |
|---|---|---|---|
| CNU2008200361673U CN201198588Y (en) | 2008-05-15 | 2008-05-15 | Water-saving device for secondary use of domestic water |
Publications (1)
| Publication Number | Publication Date |
|---|---|
| CN201198588Y true CN201198588Y (en) | 2009-02-25 |
Family
ID=40449746
Family Applications (1)
| Application Number | Title | Priority Date | Filing Date |
|---|---|---|---|
| CNU2008200361673U Expired - Fee Related CN201198588Y (en) | 2008-05-15 | 2008-05-15 | Water-saving device for secondary use of domestic water |
Country Status (1)
| Country | Link |
|---|---|
| CN (1) | CN201198588Y (en) |
Cited By (1)
| Publication number | Priority date | Publication date | Assignee | Title |
|---|---|---|---|---|
| CN104492140A (en) * | 2014-12-12 | 2015-04-08 | 平顶山市创想电子科技有限公司 | Wastewater recovery filter device |
-
2008
- 2008-05-15 CN CNU2008200361673U patent/CN201198588Y/en not_active Expired - Fee Related
Cited By (1)
| Publication number | Priority date | Publication date | Assignee | Title |
|---|---|---|---|---|
| CN104492140A (en) * | 2014-12-12 | 2015-04-08 | 平顶山市创想电子科技有限公司 | Wastewater recovery filter device |
Similar Documents
| Publication | Publication Date | Title |
|---|---|---|
| CN201040865Y (en) | A domestic waste water filter tank | |
| CN201198588Y (en) | Water-saving device for secondary use of domestic water | |
| CN200992727Y (en) | Water-saving device | |
| CN202227414U (en) | Water-saving drainage system | |
| CN202187395U (en) | Water-saving device for kitchens and toilets | |
| CN201241359Y (en) | Domestic wastewater recycling device | |
| CN2782786Y (en) | Domestic water saving device | |
| CN205935170U (en) | Shower room that is favorable to water reuse | |
| CN202164667U (en) | Water saving device for multi-storey house | |
| CN2918551Y (en) | Water-saving device | |
| CN201106191Y (en) | Waste water recycling device in building | |
| CN201250422Y (en) | Overhead storied house secondary water system | |
| CN205935085U (en) | Bathroom water cyclic utilization device | |
| CN200946299Y (en) | Family bathroom water saving device | |
| CN201943128U (en) | Domestic wastewater recycling and utilizing device | |
| CN205444342U (en) | Domestic water -saving device | |
| CN201901910U (en) | Sanitary wastewater reutilization device | |
| CN204326181U (en) | A kind of Domestic water-saving apparatus | |
| CN2719936Y (en) | Building nousehold domestic waste water reuse water-collecting tank | |
| CN202324091U (en) | Domestic wastewater recycling device | |
| CN2898140Y (en) | Toilet by waste water | |
| CN202000414U (en) | Comprehensive utilization system of household sewage | |
| CN202055297U (en) | Domestic water reutilization device for building | |
| CN201459820U (en) | A household water saving device | |
| CN2787739Y (en) | Water-saving device for treating household circulated water |
Legal Events
| Date | Code | Title | Description |
|---|---|---|---|
| C14 | Grant of patent or utility model | ||
| GR01 | Patent grant | ||
| C17 | Cessation of patent right | ||
| CF01 | Termination of patent right due to non-payment of annual fee |
Granted publication date: 20090225 Termination date: 20100515 |
