CN201174514Y - 一种玻璃钢电控柜防护隔离门 - Google Patents
一种玻璃钢电控柜防护隔离门 Download PDFInfo
- Publication number
- CN201174514Y CN201174514Y CNU2008200738171U CN200820073817U CN201174514Y CN 201174514 Y CN201174514 Y CN 201174514Y CN U2008200738171 U CNU2008200738171 U CN U2008200738171U CN 200820073817 U CN200820073817 U CN 200820073817U CN 201174514 Y CN201174514 Y CN 201174514Y
- Authority
- CN
- China
- Prior art keywords
- door
- case body
- casing
- protection
- isolating door
- Prior art date
- Legal status (The legal status is an assumption and is not a legal conclusion. Google has not performed a legal analysis and makes no representation as to the accuracy of the status listed.)
- Expired - Lifetime
Links
- 239000011152 fibreglass Substances 0.000 title claims abstract description 17
- 238000000926 separation method Methods 0.000 title 1
- 229920003023 plastic Polymers 0.000 claims abstract description 9
- 239000000463 material Substances 0.000 claims abstract description 4
- 239000004033 plastic Substances 0.000 claims description 7
- 239000000203 mixture Substances 0.000 claims description 2
- 238000002955 isolation Methods 0.000 abstract 6
- 230000001681 protective effect Effects 0.000 abstract 6
- 230000005611 electricity Effects 0.000 abstract 1
- 238000004519 manufacturing process Methods 0.000 abstract 1
- 239000002184 metal Substances 0.000 description 6
- 230000000694 effects Effects 0.000 description 2
- 230000007797 corrosion Effects 0.000 description 1
- 238000005260 corrosion Methods 0.000 description 1
- 238000009413 insulation Methods 0.000 description 1
- 239000007769 metal material Substances 0.000 description 1
- 239000002985 plastic film Substances 0.000 description 1
- 230000005855 radiation Effects 0.000 description 1
- 238000003466 welding Methods 0.000 description 1
Images
Landscapes
- Patch Boards (AREA)
Abstract
本实用新型涉及一种玻璃钢电控柜防护隔离门。其特点是:箱体上面安装有上盖,箱体前面安装有前门,箱体底部安装有底板,箱体内安装有电器安装门,箱体、上盖、电器开关门均由玻璃钢材料制成,箱体由前门框、左右箱体侧板和箱体后板组合而成,在电器安装门前面的左右箱体侧板之间还安装有矩形防护隔离门,防护隔离门是一个由玻璃钢制成矩形框架,框架内安装有高强度透明塑料板,防护隔离门侧边与一箱体侧板之间安装有合页,防护隔离门与另一箱体侧板之间安装有门锁。在前门内加装防护隔离门不仅观察方便而且防触电和窃电,大大提高了电控柜的安全性和可靠性;另外本实用新型还具有外形美观、结构简单、易于制造的优点。
Description
技术领域
本实用新型涉及一种电控柜,尤其是一种玻璃钢电控柜防护隔离门。
背景技术
随着我国电力事业的发展电力配电设备不断增加,电力控制柜是主要电力设备之一,它安装于企业、机关、街道、住宅小区等地。目前公知的电力控制柜箱体主要是金属材料焊接而成,其结构是:在矩形金属箱体上面焊接有带排气散热窗的金属上盖,在箱体前面安装有金属前门,在箱体底部安装有金属底板,在箱体两侧面安装有金属的分户开关门,在箱体内安装有金属的电器安装门。这种铁质电控柜在安装电器时箱体与带电体之间必须作绝缘处理,而且容易锈蚀、漏电;另外,这种电控柜观察电表和其他仪器时,必须打开前门,这样所有的电表、仪器、电线就全部暴露在外很不安全;另外,由于缺少电表、仪器的保护而多次发生窃电事件,给国家带来经济损失。
发明内容
本实用新型为解决公知技术中存在的技术问题而提供一种观察方便、安全的玻璃钢电控柜防护隔离门。
本实用新型为解决公知技术中存在的技术问题所采取的技术方案是:
一种玻璃钢电控柜防护隔离门,包括箱体、安装在箱体上面的上盖、安装在箱体前面的前门、安装在箱体底部的底板、以及安装在箱体内的电器安装门组成,所述箱体、上盖、电器开关门均由玻璃钢材料制成,所述箱体由前门框、左右箱体侧板和箱体后板连接而成,在电器安装门前面的左右箱体侧板之间还安装有保护电器安装门的矩形防护隔离门,防护隔离门是一个由玻璃钢制成矩形框架,框架内安装有高强度透明塑料板,防护隔离门侧边与一箱体侧板之间安装有合页,防护隔离门与另一箱体侧板之间安装有门锁。
本实用新型还可以采用如下技术方案:
所述门锁的锁柄为塑料锚形锁柄,其手柄的中间杆制有矩形槽孔,防护隔离门框架上安装有与槽孔匹配的锁鼻,锁鼻上制有挂锁的通孔。
本实用新型具有的优点和积极效果是:
由于在电器安装门前面的左右箱体侧板之间安装有保护电器安装门的矩形防护隔离门,防护隔离门框架内安装有高强度透明塑料板,不仅观察方便而且防触电和窃电,大大提高了电控柜的安全性和可靠性;另外本实用新型还具有外形美观、结构简单、易于制造的优点。
附图说明
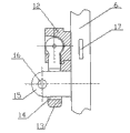
图1是本实用新型的结构示意图;
图2是图1右侧剖视图;
图3是打开前门时的防护隔离门的正面图;
图4是图3中门锁侧视图。
图中:1、前门框;2、前门;3、左箱体侧板;4、上盖;5、右箱体侧板;6、矩形框架;7、合页;8、电器安装门;9、箱体后板;10、底板;11、透明塑料板;12、门锁;13、锁柄;14、槽孔;15、锁鼻;16、通孔;17、锁舌。
具体实施方式
为能进一步了解本实用新型的发明内容、特点及功效,兹例举以下实施例,并配合附图详细说明如下:
请参阅图1、图2、图3,箱体上面安装有上盖4,箱体前面安装有前门2,箱体底部安装有底板10,箱体内安装有电器安装门8。所述箱体、上盖、电器开关门均由玻璃钢材料制成,所述箱体由前门框1、左箱体侧板3、右箱体侧板5和箱体后板9组合连接而成。在电器安装门前面的左箱体侧板和右箱体侧板之间还安装有保护电器安装门的矩形防护隔离门,防护隔离门是一个由玻璃钢制成矩形框架6,框架内安装有高强度透明塑料板11,防护隔离门侧边与一箱体侧板之间安装有合页7,防护隔离门与另一箱体侧板之间安装有门锁12。所述门锁的锁柄13为塑料锚形锁柄,其手柄的中间杆制有矩形槽孔14,防护隔离门框架上安装有与槽孔匹配的锁鼻15,锁鼻上制有挂锁的通孔16。转动锁柄,则锁舌17伸出,锁住防护隔离门,如图4所示。这样,安装了防护隔离门不仅观察方便而且防触电和窃电,大大提高了电控柜的安全性和可靠性;另外本实用新型还具有外形美观、结构简单、易于制造的优点。
Claims (2)
1.一种玻璃钢电控柜防护隔离门,包括箱体、安装在箱体上面的上盖、安装在箱体前面的前门、安装在箱体底部的底板、以及安装在箱体内的电器安装门组成,其特征是:所述箱体、上盖、电器开关门均由玻璃钢材料制成,所述箱体由前门框、左右箱体侧板和箱体后板连接而成,在电器安装门前面的左右箱体侧板之间还安装有保护电器安装门的矩形防护隔离门,防护隔离门是一个由玻璃钢制成矩形框架,框架内安装有高强度透明塑料板,防护隔离门侧边与一箱体侧板之间安装有合页,防护隔离门与另一箱体侧板之间安装有门锁。
2.根据权利要求1所述的玻璃钢电控柜防护隔离门,其特征是:所述门锁的锁柄为塑料锚形锁柄,其手柄的中间杆制有矩形槽孔,防护隔离门框架上安装有与槽孔匹配的锁鼻,锁鼻上制有挂锁的通孔。
Priority Applications (1)
| Application Number | Priority Date | Filing Date | Title |
|---|---|---|---|
| CNU2008200738171U CN201174514Y (zh) | 2008-02-01 | 2008-02-01 | 一种玻璃钢电控柜防护隔离门 |
Applications Claiming Priority (1)
| Application Number | Priority Date | Filing Date | Title |
|---|---|---|---|
| CNU2008200738171U CN201174514Y (zh) | 2008-02-01 | 2008-02-01 | 一种玻璃钢电控柜防护隔离门 |
Publications (1)
| Publication Number | Publication Date |
|---|---|
| CN201174514Y true CN201174514Y (zh) | 2008-12-31 |
Family
ID=40201641
Family Applications (1)
| Application Number | Title | Priority Date | Filing Date |
|---|---|---|---|
| CNU2008200738171U Expired - Lifetime CN201174514Y (zh) | 2008-02-01 | 2008-02-01 | 一种玻璃钢电控柜防护隔离门 |
Country Status (1)
| Country | Link |
|---|---|
| CN (1) | CN201174514Y (zh) |
Cited By (2)
| Publication number | Priority date | Publication date | Assignee | Title |
|---|---|---|---|---|
| CN102951505A (zh) * | 2011-08-26 | 2013-03-06 | 康力电梯股份有限公司 | 用于无机房电梯的控制柜 |
| CN110797761A (zh) * | 2019-06-20 | 2020-02-14 | 德邻智能科技(天津)有限责任公司 | 一种带有防护功能的电控柜 |
-
2008
- 2008-02-01 CN CNU2008200738171U patent/CN201174514Y/zh not_active Expired - Lifetime
Cited By (2)
| Publication number | Priority date | Publication date | Assignee | Title |
|---|---|---|---|---|
| CN102951505A (zh) * | 2011-08-26 | 2013-03-06 | 康力电梯股份有限公司 | 用于无机房电梯的控制柜 |
| CN110797761A (zh) * | 2019-06-20 | 2020-02-14 | 德邻智能科技(天津)有限责任公司 | 一种带有防护功能的电控柜 |
Similar Documents
| Publication | Publication Date | Title |
|---|---|---|
| CN201789214U (zh) | 一种新型户内双门配电箱 | |
| CN201174514Y (zh) | 一种玻璃钢电控柜防护隔离门 | |
| CN201674130U (zh) | 铠装式开关柜检修智能防护屏 | |
| CN203684839U (zh) | 抽屉式开关柜柜门多联锁结构 | |
| CN202917843U (zh) | 一种防盗、防火配电箱 | |
| CN210489470U (zh) | 充气环网柜联锁机构 | |
| CN201176760Y (zh) | 一种玻璃钢电控柜箱体锚形门锁 | |
| CN202631594U (zh) | 防窃电电表箱 | |
| CN201110863Y (zh) | 变台计量箱 | |
| CN201546593U (zh) | 家用防盗门 | |
| CN201466515U (zh) | 电控柜箱体的绝缘锁盒 | |
| CN204030306U (zh) | 一种电磁锁暗装的高压环网柜 | |
| CN207368505U (zh) | 一种防窃电电表箱 | |
| CN206250627U (zh) | 一种电表箱 | |
| CN201278287Y (zh) | 配变罩 | |
| CN203377507U (zh) | 一种隔爆型双回路变频变压器低压保护箱 | |
| CN207782202U (zh) | 一种建筑用配电箱 | |
| CN201620665U (zh) | 客车电器柜门锁 | |
| CN202710627U (zh) | 一种防窃电低压计量柜 | |
| CN211236371U (zh) | 一种新型光缆交接箱 | |
| CN202627925U (zh) | 带有报警装置的防盗纱门窗 | |
| CN202059056U (zh) | 带有断路器防误操作罩的开关柜 | |
| CN209434827U (zh) | 便携式电缆分支箱 | |
| CN212965109U (zh) | 防触电型电表箱 | |
| CN202840336U (zh) | 10kV高压整体式电能计量装置 |
Legal Events
| Date | Code | Title | Description |
|---|---|---|---|
| C14 | Grant of patent or utility model | ||
| GR01 | Patent grant | ||
| CX01 | Expiry of patent term |
Granted publication date: 20081231 |
|
| CX01 | Expiry of patent term |