CN201148433Y - A submerged membrane bioreactor - Google Patents
A submerged membrane bioreactor Download PDFInfo
- Publication number
- CN201148433Y CN201148433Y CN200720187344.3U CN200720187344U CN201148433Y CN 201148433 Y CN201148433 Y CN 201148433Y CN 200720187344 U CN200720187344 U CN 200720187344U CN 201148433 Y CN201148433 Y CN 201148433Y
- Authority
- CN
- China
- Prior art keywords
- membrane
- membrane module
- hollow fiber
- air distributor
- fiber membrane
- Prior art date
- Legal status (The legal status is an assumption and is not a legal conclusion. Google has not performed a legal analysis and makes no representation as to the accuracy of the status listed.)
- Expired - Fee Related
Links
Classifications
-
- C—CHEMISTRY; METALLURGY
- C12—BIOCHEMISTRY; BEER; SPIRITS; WINE; VINEGAR; MICROBIOLOGY; ENZYMOLOGY; MUTATION OR GENETIC ENGINEERING
- C12M—APPARATUS FOR ENZYMOLOGY OR MICROBIOLOGY; APPARATUS FOR CULTURING MICROORGANISMS FOR PRODUCING BIOMASS, FOR GROWING CELLS OR FOR OBTAINING FERMENTATION OR METABOLIC PRODUCTS, i.e. BIOREACTORS OR FERMENTERS
- C12M29/00—Means for introduction, extraction or recirculation of materials, e.g. pumps
- C12M29/16—Hollow fibers
-
- Y—GENERAL TAGGING OF NEW TECHNOLOGICAL DEVELOPMENTS; GENERAL TAGGING OF CROSS-SECTIONAL TECHNOLOGIES SPANNING OVER SEVERAL SECTIONS OF THE IPC; TECHNICAL SUBJECTS COVERED BY FORMER USPC CROSS-REFERENCE ART COLLECTIONS [XRACs] AND DIGESTS
- Y02—TECHNOLOGIES OR APPLICATIONS FOR MITIGATION OR ADAPTATION AGAINST CLIMATE CHANGE
- Y02W—CLIMATE CHANGE MITIGATION TECHNOLOGIES RELATED TO WASTEWATER TREATMENT OR WASTE MANAGEMENT
- Y02W10/00—Technologies for wastewater treatment
- Y02W10/10—Biological treatment of water, waste water, or sewage
Landscapes
- Wood Science & Technology (AREA)
- Life Sciences & Earth Sciences (AREA)
- Engineering & Computer Science (AREA)
- Bioinformatics & Cheminformatics (AREA)
- Health & Medical Sciences (AREA)
- Organic Chemistry (AREA)
- Chemical & Material Sciences (AREA)
- Zoology (AREA)
- Biomedical Technology (AREA)
- Sustainable Development (AREA)
- Microbiology (AREA)
- Biochemistry (AREA)
- General Engineering & Computer Science (AREA)
- General Health & Medical Sciences (AREA)
- Genetics & Genomics (AREA)
- Biotechnology (AREA)
- Apparatus Associated With Microorganisms And Enzymes (AREA)
- Separation Using Semi-Permeable Membranes (AREA)
Abstract
本实用新型涉及一种沉浸式膜生物反应器,它是利用膜组件进行产物在线分离的,主要用于改善冬虫夏草等微生物生长代谢过程中高附加值的次生代谢产物的生成与分离。属于微生物纯培养与膜分离技术的技术领域。该反应器包括发酵罐、空气分布器、导流筒、中空纤维膜组件。所述发酵罐底端有与中空纤维膜端口衔接密封的出口,通过管路与真空泵连接;所述中空纤维膜组件,动态置于发酵罐底部,下面是空气分布器,膜组件为聚合物分离膜。本实用新型可用于生物连续纯培养领域,尤其是好氧细胞培养领域,具有占地面积小,高密度细胞发酵,产物转化率高的优势。
The utility model relates to a submerged membrane bioreactor, which utilizes membrane components to separate products online, and is mainly used to improve the generation and separation of secondary metabolites with high added value in the growth and metabolism process of microorganisms such as Cordyceps sinensis. The invention belongs to the technical field of microorganism pure culture and membrane separation technology. The reactor includes a fermenter, an air distributor, a draft tube, and a hollow fiber membrane module. The bottom of the fermenter has an outlet that is connected to the port of the hollow fiber membrane and is sealed, and is connected to a vacuum pump through a pipeline; the hollow fiber membrane module is dynamically placed at the bottom of the fermenter, with an air distributor below it, and the membrane module is used for polymer separation. membrane. The utility model can be used in the field of continuous biological pure culture, especially in the field of aerobic cell culture, and has the advantages of small footprint, high-density cell fermentation and high product conversion rate.
Description
技术领域 technical field
本实用新型涉及一种原位分离一体膜式生物反应器——沉浸式膜生物反应器,属于微生物纯培养与膜分离技术的交叉领域。The utility model relates to an in-situ separation integrated membrane bioreactor—a submerged membrane bioreactor, which belongs to the intersecting field of microbial pure culture and membrane separation technology.
背景技术 Background technique
产物和底物抑制是生物反应中限制生产强度和产物浓度的两个主要因素。由于产物和底物抑制,生物细胞及酶的潜力不能充分发挥,造成反应过程的转化率(或产率)也难以提高。例如在细胞培养过程中,伴随着细胞代谢产物的累积,对细胞生长会产生反馈抑制作用,引起代谢产物生成速率降低,从而降低了代谢物的产量。在具有我国特色的药用真菌冬虫夏草、桑黄、灵芝等具有极高经济价值的真菌类抗癌新型药物的现代化生产方面,虫草多糖、桑黄多糖和灵芝多糖等高附加值产物是微生物生长代谢过程中的次生代谢产物,在间歇发酵过程后期存在再利用现象。Product and substrate inhibition are the two major factors limiting production intensity and product concentration in biological reactions. Due to the inhibition of products and substrates, the potential of biological cells and enzymes cannot be fully exerted, which makes it difficult to increase the conversion rate (or yield) of the reaction process. For example, in the process of cell culture, with the accumulation of cell metabolites, there will be a feedback inhibition effect on cell growth, resulting in a decrease in the rate of metabolite production, thereby reducing the yield of metabolites. In the modern production of new fungal anti-cancer drugs with high economic value, such as medicinal fungi Cordyceps sinensis, Phellinus, and Ganoderma lucidum with Chinese characteristics, high value-added products such as Cordyceps polysaccharides, Phellinus polysaccharides, and Ganoderma lucidum polysaccharides are the growth and metabolism of microorganisms. The secondary metabolites in the batch fermentation process are reused in the later stage of the batch fermentation process.
长期以来,人们一直在探索解决这一问题的途径。传统的生物反应器主要包括气升式反应器、机械搅拌式反应器、固定化酶反应器和固态发酵反应器,但是上述反应器仅仅是一个生物反应调节与控制装置,产物的分离要通过后续生物分离单元过滤、蒸馏、离心、重结晶等方法实现。固定化酶膜式反应器是一种把酶固定化在薄膜上构成的反应器。把附有酶的膜(酶膜)和一半透性膜贴在一起制成复合膜。半透性膜一侧与原料接触,使底物能选择性地通过半透性膜后进入酶膜进行反应,反应产品从酶膜一侧流出。可以使产物不断从反应系统中分离出来。底物是靠膜两侧的压差通过膜的。故在酶膜上底物和产物的浓度都较低,特别有利于底物和产物有抑制作用的反应。For a long time, people have been exploring ways to solve this problem. Traditional bioreactors mainly include airlift reactors, mechanically stirred reactors, immobilized enzyme reactors and solid-state fermentation reactors, but the above-mentioned reactors are only a biological reaction adjustment and control device, and the separation of products must be carried out through subsequent processes. The bio-separation unit is realized by methods such as filtration, distillation, centrifugation, and recrystallization. The immobilized enzyme membrane reactor is a reactor composed of immobilized enzymes on a membrane. The membrane with enzyme (enzyme membrane) and the semi-permeable membrane are pasted together to form a composite membrane. One side of the semipermeable membrane is in contact with the raw material, so that the substrate can selectively pass through the semipermeable membrane and then enter the enzyme membrane for reaction, and the reaction product flows out from the side of the enzyme membrane. The product can be continuously separated from the reaction system. The substrate is passed through the membrane by the pressure difference across the membrane. Therefore, the concentrations of substrates and products on the enzyme membrane are relatively low, which is especially beneficial to reactions where substrates and products have inhibitory effects.
膜生物反应器(MBR)是一种膜分离单元与生物处理单元相结合的新型水处理技术,已进入实用化阶段,膜生物反应器不仅能将所有的细胞而且能够将大分子物质截留在反应器内,能够保持反应器内高浓度的菌体量。由此本实用新型将中空纤维膜引入发酵领域,采用膜生物反应器系统不断将细胞和产物分离,控制产物的累积,有效防止多糖产物的消耗或乙醇、乳酸等发酵产物对菌种的反馈抑制作用,解决了细胞生长过程中产物抑制、底物选择供给、代谢物产率低、发酵液成分复杂分离困难等问题,实现细胞高密度连续发酵。Membrane bioreactor (MBR) is a new type of water treatment technology that combines membrane separation unit and biological treatment unit. It has entered the practical stage. Membrane bioreactor can not only trap all cells but also macromolecular substances In the reactor, it can maintain a high concentration of bacteria in the reactor. Therefore, the utility model introduces the hollow fiber membrane into the fermentation field, adopts the membrane bioreactor system to continuously separate the cells and products, controls the accumulation of products, and effectively prevents the consumption of polysaccharide products or the feedback inhibition of bacteria by fermentation products such as ethanol and lactic acid It solves the problems of product inhibition, substrate selective supply, low yield of metabolites, and difficult separation of complex components of fermentation broth during cell growth, and realizes high-density continuous fermentation of cells.
实用新型内容Utility model content
本实用新型的目的在于解决细胞生长过程中产物抑制、底物选择供给、代谢物产率低、发酵液成分复杂分离困难等问题,提供一种利用膜组件进行原位分离的一体式膜生物反应器。它结构紧凑、能耗低并能大幅度减小膜污染,从而可实现更小的占地面积、更低的成本并实现更高目标产物的得率。The purpose of this utility model is to solve the problems of product inhibition, substrate selective supply, low yield of metabolites, and difficult separation of fermentation liquid components in the process of cell growth, and provide an integrated membrane bioreactor that uses membrane components for in-situ separation . It has compact structure, low energy consumption and can greatly reduce membrane fouling, so that it can achieve smaller footprint, lower cost and higher yield of target products.
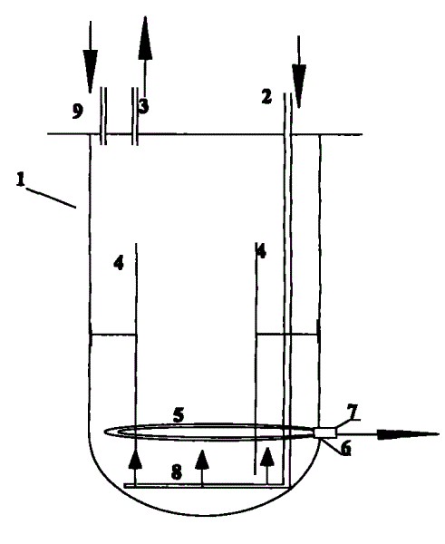
本实用新型提供的一种沉浸式膜生物反应器,其特征在于:它含有生物培养罐1,进气口2,出气口3,导流筒4,中空纤维膜组件5,生物培养罐出口6,中空纤维膜组件端口7,空气分布器8,发酵罐培养基入口9;所述导流筒4、空气分布器8和膜组件5内置于生物培养罐1内部;所述膜组件5为中空纤维膜,它内置于生物培养罐1底部,且位于空气分布器8上部,一端开口,通过密封垫与反应器外部管路连接。An immersed membrane bioreactor provided by the utility model is characterized in that it contains a biological culture tank 1, an air inlet 2, an air outlet 3, a guide tube 4, a hollow fiber membrane module 5, and a biological culture tank outlet 6 , hollow fiber membrane module port 7, air distributor 8, fermenter culture medium inlet 9; said guide tube 4, air distributor 8 and membrane module 5 are built in biological culture tank 1; said membrane module 5 is hollow The fiber membrane is built in the bottom of the biological culture tank 1 and is located on the upper part of the air distributor 8, with one end open and connected with the external pipeline of the reactor through a gasket.
在上述的沉浸式膜生物反应器中,所述中空纤维膜组件5为动态的环形微滤膜或超滤膜组件且能够耐受115℃高温,膜孔径为0.01-0.3um,膜组件位于反应器内部下端,中空纤维膜组件端口7通过硅胶垫与生物培养出口6密封。In the above-mentioned submerged membrane bioreactor, the hollow fiber membrane module 5 is a dynamic annular microfiltration membrane or ultrafiltration membrane module and can withstand a high temperature of 115 ° C. The membrane pore size is 0.01-0.3um. At the lower end inside the device, the port 7 of the hollow fiber membrane module is sealed with the biological culture outlet 6 through a silica gel pad.
在上述的沉浸式膜生物反应器中,所述导流筒4为一固定于反应器内的框体,所述中空纤维膜组件5环绕导流筒4下端;所述空气分布器8为一环形空气分布器,位于膜组件下面,其直径与环形膜组件5直径相同。In the above-mentioned submerged membrane bioreactor, the guide tube 4 is a frame fixed in the reactor, and the hollow fiber membrane module 5 surrounds the lower end of the guide tube 4; the air distributor 8 is a The annular air distributor is located under the membrane module, and its diameter is the same as that of the annular membrane module 5 .
在上述的沉浸式膜生物反应器中,所述膜生物反应器为气升式生物反应器,氧气通过反应器底部的环形空气分布器8供给。In the above submerged membrane bioreactor, the membrane bioreactor is an airlift bioreactor, and oxygen is supplied through the annular air distributor 8 at the bottom of the reactor.
本实用新型的沉浸式膜生物反应器由生物培养罐、导流筒、空气分布器和环型膜组件组成;导流筒、空气分布器和膜组件内置于生物培养罐内部,膜组件为中空纤维膜,置于空气分布器上部,一端开口,通过密封垫与反应器外部管路连接,并通过真空泵抽吸得到澄清发酵液。The submerged membrane bioreactor of the utility model is composed of a biological cultivation tank, a diversion cylinder, an air distributor and a ring-shaped membrane module; the diversion cylinder, the air distributor and the membrane module are built inside the biological cultivation tank, and the membrane module is hollow The fiber membrane is placed on the upper part of the air distributor, one end is open, connected with the external pipeline of the reactor through the sealing gasket, and the clarified fermentation liquid is obtained by suction by the vacuum pump.
由于本发明提供的沉浸式膜生物反应器,整个反应器及膜组件采用高温湿热灭菌操作进行,保证了微生物纯培养要求,很好的改善了冬虫夏草等微生物生长代谢过程中高附加值的次生代谢产物的生成与分离。本实用新型可用于生物连续纯培养领域,尤其是好氧细胞培养领域,具有占地面积小,高密度细胞发酵,产物转化率高的优势。Due to the submerged membrane bioreactor provided by the present invention, the whole reactor and membrane modules are sterilized by high temperature and moist heat, which ensures the pure culture requirements of microorganisms and improves the high value-added secondary growth and metabolism of microorganisms such as Cordyceps sinensis. Generation and separation of metabolites. The utility model can be used in the field of continuous biological pure culture, especially in the field of aerobic cell culture, and has the advantages of small footprint, high-density cell fermentation and high product conversion rate.
附图说明 Description of drawings
图1是本实用新型所述的应用于生物纯培养领域中的一种沉浸式膜生物反应器剖视图;Fig. 1 is a sectional view of a kind of submerged membrane bioreactor applied in the field of pure biological cultivation described in the utility model;
图中:1、生物培养罐,2、进气口,3、出气口,4、导流筒,5、中空纤维膜组件,6、生物培养罐出口,7、中空纤维膜端口,8、空气分布器,9、发酵罐培养基入口。In the figure: 1. Biological culture tank, 2. Air inlet, 3. Air outlet, 4. Guide tube, 5. Hollow fiber membrane module, 6. Biological culture tank outlet, 7. Hollow fiber membrane port, 8. Air Distributor, 9. Fermentation medium inlet.
具体实施方式: Detailed ways:
参见图1,本实用新型所述的应用于微生物纯培养领域的一种沉浸式膜生物反应器,包括生物培养罐(1)、导流筒(4)、空气分布器(8)和环型膜组件(5)。中空纤维膜组件(5)置于发酵罐底部,空气分布器(8)上面,当仪器运转时,从空气分布器喷出的气泡上升过程中经过中空纤维膜表面时,气泡破裂,产生巨大的剪切力,从而对动态膜进行冲刷,从而延缓膜的污染。中空纤维膜端口(7)和生物培养罐出口(6)之间通过硅胶垫密封,并通过管路与真空泵连接。Referring to Fig. 1, a kind of submerged membrane bioreactor applied to the pure culture field of microorganisms described in the utility model comprises a biological culture tank (1), a guide tube (4), an air distributor (8) and an annular Membrane module (5). The hollow fiber membrane module (5) is placed at the bottom of the fermenter and above the air distributor (8). When the instrument is running, when the air bubbles ejected from the air distributor pass through the surface of the hollow fiber membrane during the rising process, the bubbles burst and generate huge Shear force, so as to scour the dynamic membrane, thereby delaying the fouling of the membrane. The port (7) of the hollow fiber membrane and the outlet (6) of the biological culture tank are sealed by a silica gel pad, and are connected to a vacuum pump through a pipeline.
组装好膜生物反应器(5L),对反应器进行灭菌,灭菌参数115℃,30min,然后接入种子发酵液进行微生物纯培养。发酵进行到一定时间后,打开蠕动泵,通过发酵罐培养基入口(9)不断向反应器内流加无菌培养基;同时打开真空泵设置真空度0.02MPa,通过发酵罐出口(6)不断流出膜处理后发酵液。发酵液浊度0.49NTU,中空纤维膜组件(5)的反冲洗周期达100h。经过此膜生物反应器流出的发酵液,无需任何预处理,可直接用于产物提纯等操作。Assemble a membrane bioreactor (5 L), and sterilize the reactor with a sterilization parameter of 115° C. for 30 minutes, and then insert the seed fermentation broth for pure microbial culture. After the fermentation has been carried out for a certain period of time, turn on the peristaltic pump, and continuously add sterile medium into the reactor through the medium inlet (9) of the fermenter; at the same time, turn on the vacuum pump to set a vacuum degree of 0.02MPa, and continuously flow out through the outlet (6) of the fermenter Fermentation broth after membrane treatment. The turbidity of the fermentation broth is 0.49NTU, and the backwash cycle of the hollow fiber membrane module (5) reaches 100h. The fermentation broth flowing out of the membrane bioreactor can be directly used for product purification and other operations without any pretreatment.
Claims (4)
Priority Applications (1)
| Application Number | Priority Date | Filing Date | Title |
|---|---|---|---|
| CN200720187344.3U CN201148433Y (en) | 2007-12-21 | 2007-12-21 | A submerged membrane bioreactor |
Applications Claiming Priority (1)
| Application Number | Priority Date | Filing Date | Title |
|---|---|---|---|
| CN200720187344.3U CN201148433Y (en) | 2007-12-21 | 2007-12-21 | A submerged membrane bioreactor |
Publications (1)
| Publication Number | Publication Date |
|---|---|
| CN201148433Y true CN201148433Y (en) | 2008-11-12 |
Family
ID=40116200
Family Applications (1)
| Application Number | Title | Priority Date | Filing Date |
|---|---|---|---|
| CN200720187344.3U Expired - Fee Related CN201148433Y (en) | 2007-12-21 | 2007-12-21 | A submerged membrane bioreactor |
Country Status (1)
| Country | Link |
|---|---|
| CN (1) | CN201148433Y (en) |
Cited By (2)
| Publication number | Priority date | Publication date | Assignee | Title |
|---|---|---|---|---|
| CN103865792A (en) * | 2014-03-28 | 2014-06-18 | 济南大学 | Circulating microbial fermentation reaction and feed liquid separation integrated equipment |
| CN107794219A (en) * | 2016-08-30 | 2018-03-13 | 上海吉态来生物技术有限公司 | A kind of bioreactor for fermentation of gaseous substrates |
-
2007
- 2007-12-21 CN CN200720187344.3U patent/CN201148433Y/en not_active Expired - Fee Related
Cited By (4)
| Publication number | Priority date | Publication date | Assignee | Title |
|---|---|---|---|---|
| CN103865792A (en) * | 2014-03-28 | 2014-06-18 | 济南大学 | Circulating microbial fermentation reaction and feed liquid separation integrated equipment |
| CN103865792B (en) * | 2014-03-28 | 2016-02-03 | 济南大学 | A kind of circulating fermentable reaction and feed liquid isolation integral equipment |
| CN107794219A (en) * | 2016-08-30 | 2018-03-13 | 上海吉态来生物技术有限公司 | A kind of bioreactor for fermentation of gaseous substrates |
| CN107794219B (en) * | 2016-08-30 | 2024-05-28 | 吉态来博(北京)生物科技发展有限公司 | Bioreactor for fermenting gaseous substrate |
Similar Documents
| Publication | Publication Date | Title |
|---|---|---|
| CN103865792B (en) | A kind of circulating fermentable reaction and feed liquid isolation integral equipment | |
| CN103243023B (en) | Circulating synchronous straw enzymatic hydrolysis fermentation fuel ethanol reactor and reaction method thereof | |
| Arcuri et al. | Ethanol production by immobilized cells of Zymomonas mobilis | |
| CN101831382A (en) | Bubble-free air supply and solid-liquid separation integrated membrane biomembrane reactor taking indissoluble gases as fermentation raw materials | |
| CN101538532B (en) | External circulation air stripping type membrane bioreactor | |
| CN102071137A (en) | Device and method for preparing stem cells through continuous perfusion bioreactor/tank (bag) system | |
| CN105543314A (en) | Method for producing polymyxin E through fermentation and foam separation coupling | |
| CN101195801A (en) | Glossy ganoderma polyoses producing equipment and technique | |
| CN201148433Y (en) | A submerged membrane bioreactor | |
| CN201648392U (en) | Bubble-free gas supply-solid-liquid separation integrated membrane biofilm reactor | |
| CN101525645A (en) | Membrane-sterilization method for sorbose fermentation medium by using ceramic microfiltration membranes | |
| CN204125452U (en) | Multistage continuous fermentation device | |
| CN104031834B (en) | A kind of photosynthetic bacterium successive reaction hydrogen production process | |
| CN103497890B (en) | Perfusion culture system and method for bacteria fermentation tank | |
| CN108424855A (en) | A plant cell and organ liquid culture device | |
| CN203820791U (en) | Integrated circulating-type microbial fermentation reaction and feed liquid separation device | |
| CN203247263U (en) | Straw synchronized enzymolysis and fermentation fuel alcohol circulation reactor | |
| CN203625373U (en) | Batch culture tank | |
| CN102492614A (en) | Microbial fermentation method for solid and liquid phase separation | |
| CN104403937B (en) | Rotate internal circulation gas-lift type membrane bioreactor and process system thereof | |
| CN108841580A (en) | A kind of production producing hydrogen and methane reactor handling solid waste | |
| CN108892238B (en) | Hydrogen-producing and methane-producing reactor for treating sewage | |
| CN107236769B (en) | Method for preparing L-ornithine and succinic acid by stages by utilizing membrane circulation bioreactor | |
| CN202509078U (en) | Lactic acid fermentation device based on dual-bacterium fermentation | |
| CN207828299U (en) | A kind of device of continuous production ethyl alcohol |
Legal Events
| Date | Code | Title | Description |
|---|---|---|---|
| C14 | Grant of patent or utility model | ||
| GR01 | Patent grant | ||
| CF01 | Termination of patent right due to non-payment of annual fee |
Granted publication date: 20081112 Termination date: 20151221 |
|
| EXPY | Termination of patent right or utility model |
