CN201129026Y - 用于脚手架的可伸缩拉结杆件 - Google Patents
用于脚手架的可伸缩拉结杆件 Download PDFInfo
- Publication number
- CN201129026Y CN201129026Y CNU2008200576552U CN200820057655U CN201129026Y CN 201129026 Y CN201129026 Y CN 201129026Y CN U2008200576552 U CNU2008200576552 U CN U2008200576552U CN 200820057655 U CN200820057655 U CN 200820057655U CN 201129026 Y CN201129026 Y CN 201129026Y
- Authority
- CN
- China
- Prior art keywords
- steel pipe
- tie bar
- scaffold
- screwed
- holes
- Prior art date
- Legal status (The legal status is an assumption and is not a legal conclusion. Google has not performed a legal analysis and makes no representation as to the accuracy of the status listed.)
- Expired - Fee Related
Links
- 229910000831 Steel Inorganic materials 0.000 claims abstract description 34
- 239000010959 steel Substances 0.000 claims abstract description 34
- 238000003466 welding Methods 0.000 claims description 5
- 238000009435 building construction Methods 0.000 abstract description 4
- 238000005516 engineering process Methods 0.000 abstract description 3
- 230000008092 positive effect Effects 0.000 abstract 1
- 238000010586 diagram Methods 0.000 description 4
- 238000000034 method Methods 0.000 description 2
- 230000000694 effects Effects 0.000 description 1
- 239000012467 final product Substances 0.000 description 1
- 238000004519 manufacturing process Methods 0.000 description 1
- 239000000463 material Substances 0.000 description 1
- 239000002699 waste material Substances 0.000 description 1
Images
Landscapes
- Mutual Connection Of Rods And Tubes (AREA)
Abstract
用于脚手架的可伸缩拉结杆件,属建筑施工技术领域,确切地说是涉及建筑施工用辅助工具的设计技术。其特点是:两节整段带外螺纹的钢管,中间各有六角形圆柱体相连接,一端按需拧入整段带内螺纹的外钢管,另一端拧入另一个带整段内螺纹的外钢管,该外钢管另一端的管中心焊接一垂直带孔的连接钢板,穿过孔由连接螺栓和螺母固定在四角带孔的方钢板中心焊接着一垂直连接钢板的孔上。实施本实用新型后的积极效果是:本实用新型装拆简单,长度可伸缩,可在脚手架与建筑物之间的不同距离使用,安全可靠,且可重复使用,是一个很实用的建筑施工辅助工具。
Description
技术领域
属建筑施工技术领域,确切地说是涉及建筑施工用辅助工具的设计技术。
背景技术
脚手架为防止倾覆,需根据计算设置拉结杆件,拉结于建筑结构上。现时常用方法为:拉结杆件使用普通钢管,因脚手架与建筑物间的距离及拉结的位置不同,拉结杆件的长度也大不相同。用普通钢管作为拉结杆件,需根据距离选择长度,不同距离要选择不同长度,不能重复使用,既费时又容易造成材料浪费。
发明内容
本实用新型提供一种制作简便,成本低廉,又可反复使用,很实用的一种用于脚手架的可伸缩拉结杆件。
本实用新型的技术方案:
用于脚手架的可伸缩拉结杆件,包含拉结杆件和固定座,其特征是:两节整段带外螺纹的钢管,中间各有六角形圆柱体相连接,一端按需拧入整段带内螺纹的外钢管,另一端拧入另一个带整段内螺纹的外钢管,该外钢管另一端的管中心焊接一垂直带孔的连接钢板,穿过孔由连接螺栓和螺母固定在四角带孔的方钢板中心焊接着一垂直连接钢板的孔上。
实施本实用新型后的积极效果是:
本实用新型装拆简单,长度可伸缩,可在脚手架与建筑物之间的不同距离使用,安全可靠,且可重复使用,是一个很实用的建筑施工辅助工具。
附图说明
图1、为本实用新型结构图
图2、两节整段带外螺纹的钢管示意图
图3、焊着垂直连接钢板的钢管示意图
图4、垂直连接钢板示意图
图5、螺栓
图6、为本实用新型使用状态示意图
具体实施方式
现结合附图对本实用新型作进一步说明
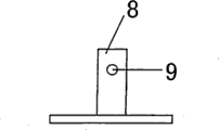
用于脚手架的可伸缩拉结杆件,包含拉结杆件和固定座,其特征是:两节整段带外螺纹的钢管2,中间各有六角形圆柱体6相连接,一端按需拧入整段带内螺纹的外钢管1,另一端拧入另一个带整段内螺纹的外钢管3,该外钢管另一端的管中心焊接一垂直带孔10的连接钢板7,穿过孔10由连接螺栓5和螺母固定在四角带孔的方钢板中心焊接着一垂直连接钢板8的孔9上。
实施例:
采用带螺纹的圆形管材制作而成,拧动管材可使杆件根据所需尺寸伸缩,固定端采用膨胀螺栓固定于建筑物柱、墙、板上,不用时松掉螺栓即可。
Claims (1)
1、用于脚手架的可伸缩拉结杆件,包含拉结杆件和固定座,其特征是:两节整段带外螺纹的钢管(2),中间各有六角形圆柱体(6)相连接,一端按需拧入整段带内螺纹的外钢管(1),另一端拧入另一个带整段内螺纹的外钢管(3),该外钢管另一端的管中心焊接一垂直带孔(10)的连接钢板(7),穿过孔(10)由连接螺栓(5)和螺母固定在四角带孔的方钢板中心焊接着一垂直连接钢板(8)的孔(9)上。
Priority Applications (1)
| Application Number | Priority Date | Filing Date | Title |
|---|---|---|---|
| CNU2008200576552U CN201129026Y (zh) | 2008-04-24 | 2008-04-24 | 用于脚手架的可伸缩拉结杆件 |
Applications Claiming Priority (1)
| Application Number | Priority Date | Filing Date | Title |
|---|---|---|---|
| CNU2008200576552U CN201129026Y (zh) | 2008-04-24 | 2008-04-24 | 用于脚手架的可伸缩拉结杆件 |
Publications (1)
| Publication Number | Publication Date |
|---|---|
| CN201129026Y true CN201129026Y (zh) | 2008-10-08 |
Family
ID=40016864
Family Applications (1)
| Application Number | Title | Priority Date | Filing Date |
|---|---|---|---|
| CNU2008200576552U Expired - Fee Related CN201129026Y (zh) | 2008-04-24 | 2008-04-24 | 用于脚手架的可伸缩拉结杆件 |
Country Status (1)
| Country | Link |
|---|---|
| CN (1) | CN201129026Y (zh) |
Cited By (9)
| Publication number | Priority date | Publication date | Assignee | Title |
|---|---|---|---|---|
| CN101956452A (zh) * | 2010-11-08 | 2011-01-26 | 四川华山建筑有限公司 | 附着升降脚手架的多功能附墙支承座 |
| CN103410307A (zh) * | 2013-07-17 | 2013-11-27 | 何华强 | 无级调节长度的脚手架横杆 |
| CN103967508A (zh) * | 2014-04-24 | 2014-08-06 | 西南交通大学 | 一种可伸式应力快速补偿型钢架联接构造 |
| EP2669449A3 (en) * | 2012-06-01 | 2014-11-12 | WLS Intellectual Property Limited | Improvements in scaffolding |
| EP2669448A3 (en) * | 2012-06-01 | 2014-11-19 | WLS Intellectual Property Limited | Improvements in building components and structures |
| CN104372929A (zh) * | 2013-08-13 | 2015-02-25 | 姚磊 | 一种附着式升降脚手架的抗风荷载装置 |
| CN105317207A (zh) * | 2014-07-18 | 2016-02-10 | 湖南金峰金属构件有限公司 | 一种多角度可调脚手架钢管及钢管脚手架 |
| CN105317208A (zh) * | 2014-07-18 | 2016-02-10 | 湖南金峰金属构件有限公司 | 一种角度可调承插型键槽式脚手架钢管 |
| CN107165407A (zh) * | 2017-07-11 | 2017-09-15 | 常州市君成机械有限公司 | 新型锚型脚手架 |
-
2008
- 2008-04-24 CN CNU2008200576552U patent/CN201129026Y/zh not_active Expired - Fee Related
Cited By (10)
| Publication number | Priority date | Publication date | Assignee | Title |
|---|---|---|---|---|
| CN101956452A (zh) * | 2010-11-08 | 2011-01-26 | 四川华山建筑有限公司 | 附着升降脚手架的多功能附墙支承座 |
| CN101956452B (zh) * | 2010-11-08 | 2012-07-04 | 四川华山建筑有限公司 | 附着升降脚手架的多功能附墙支承座 |
| EP2669449A3 (en) * | 2012-06-01 | 2014-11-12 | WLS Intellectual Property Limited | Improvements in scaffolding |
| EP2669448A3 (en) * | 2012-06-01 | 2014-11-19 | WLS Intellectual Property Limited | Improvements in building components and structures |
| CN103410307A (zh) * | 2013-07-17 | 2013-11-27 | 何华强 | 无级调节长度的脚手架横杆 |
| CN104372929A (zh) * | 2013-08-13 | 2015-02-25 | 姚磊 | 一种附着式升降脚手架的抗风荷载装置 |
| CN103967508A (zh) * | 2014-04-24 | 2014-08-06 | 西南交通大学 | 一种可伸式应力快速补偿型钢架联接构造 |
| CN105317207A (zh) * | 2014-07-18 | 2016-02-10 | 湖南金峰金属构件有限公司 | 一种多角度可调脚手架钢管及钢管脚手架 |
| CN105317208A (zh) * | 2014-07-18 | 2016-02-10 | 湖南金峰金属构件有限公司 | 一种角度可调承插型键槽式脚手架钢管 |
| CN107165407A (zh) * | 2017-07-11 | 2017-09-15 | 常州市君成机械有限公司 | 新型锚型脚手架 |
Similar Documents
| Publication | Publication Date | Title |
|---|---|---|
| CN201129026Y (zh) | 用于脚手架的可伸缩拉结杆件 | |
| CN102733487B (zh) | 方钢管内套筒t型螺栓长圆孔拼接节点及其施工方法 | |
| CN203062190U (zh) | 锅炉厚壁管道的对接调整装置 | |
| CN105178443A (zh) | 一种适用于矩形钢管单层网壳的螺栓连接节点 | |
| CN202627475U (zh) | 脚手架连墙件 | |
| CN202755656U (zh) | 双层钢板剪力墙对拉螺栓固定结构 | |
| CN204435869U (zh) | 楼板预留洞口快拆模板系统 | |
| CN202611223U (zh) | 可循环使用的螺栓式脚手架连墙件 | |
| CN202850476U (zh) | 脚手架穿墙可调节工具式连墙装置 | |
| CN103498536B (zh) | 挤压锥套锁紧式钢筋接头 | |
| CN206784918U (zh) | 一种用于建筑新型铝木复合模板体系的局部加固背楞 | |
| CN201407441Y (zh) | 嵌入式螺栓法兰盘 | |
| CN203603376U (zh) | 挤压锥套锁紧式钢筋接头 | |
| CN201428238Y (zh) | 胀套式脚手架连接件 | |
| CN202969933U (zh) | 一种混凝土墙体浇筑用防水螺栓 | |
| CN203475614U (zh) | 一种梁柱节点的减震连接结构 | |
| CN203755044U (zh) | 一种晾衣架两通接头 | |
| CN204826226U (zh) | 一种适用于矩形钢管单层网壳的螺栓连接节点 | |
| CN103267055A (zh) | 紧固螺栓 | |
| CN203113881U (zh) | 一种复合材料管型构件与角钢塔身的连接结构 | |
| CN202706511U (zh) | 高耸构筑物拆除悬空脚手架固定装置 | |
| CN202187482U (zh) | 一种钢筋连接装置 | |
| CN202559714U (zh) | 一种钢管对接定位装置 | |
| CN203730918U (zh) | 一种固定液下泵扬水管的结构 | |
| CN206562767U (zh) | 建筑梁模板定型夹具 |
Legal Events
| Date | Code | Title | Description |
|---|---|---|---|
| C14 | Grant of patent or utility model | ||
| GR01 | Patent grant | ||
| C17 | Cessation of patent right | ||
| CF01 | Termination of patent right due to non-payment of annual fee |
Granted publication date: 20081008 Termination date: 20130424 |