CN201118707Y - Mobile phone detection device - Google Patents
Mobile phone detection device Download PDFInfo
- Publication number
- CN201118707Y CN201118707Y CNU2007201814553U CN200720181455U CN201118707Y CN 201118707 Y CN201118707 Y CN 201118707Y CN U2007201814553 U CNU2007201814553 U CN U2007201814553U CN 200720181455 U CN200720181455 U CN 200720181455U CN 201118707 Y CN201118707 Y CN 201118707Y
- Authority
- CN
- China
- Prior art keywords
- mobile phone
- interface
- base
- detection
- pcb
- Prior art date
- Legal status (The legal status is an assumption and is not a legal conclusion. Google has not performed a legal analysis and makes no representation as to the accuracy of the status listed.)
- Expired - Fee Related
Links
Images
Landscapes
- Mobile Radio Communication Systems (AREA)
Abstract
本实用新型涉及一种手机检测装置,包括底座、导轨、夹具、PCB板检测装置和接口检测装置,导轨设置在底座上,导轨上设置有夹具,夹具上设置有待测手机,夹具在导轨上往复运动将待测手机从第一起始位置移送至检测位置;接口检测装置设置在底座上,接口检测装置在底座上往复运动,从第二起始位置运动到检测位置,接口检测装置与位于检测位置的待测手机相接触,对待测手机进行检测;PCB板检测装置设置在底座上,PCB板接口装置在底座上往复运动,从第三起始位置运动至检测位置,PCB板接口装置与位于检测位置的待测手机相接触,对待测手机进行检测。本实用新型能够同时对手机进行多项检测,节省了人力物力,测试结果稳定可靠,效率较高。
The utility model relates to a mobile phone detection device, which includes a base, a guide rail, a fixture, a PCB board detection device and an interface detection device. The guide rail is arranged on the base, and a clamp is arranged on the guide rail. A mobile phone to be tested is arranged on the clamp, and the clamp is on the guide rail. The reciprocating motion moves the mobile phone to be tested from the first initial position to the detection position; the interface detection device is arranged on the base, and the interface detection device reciprocates on the base, moving from the second initial position to the detection position, and the interface detection device is in contact with the detection position. The mobile phone to be tested is in contact with each other, and the mobile phone to be tested is detected; the PCB board detection device is arranged on the base, and the PCB board interface device reciprocates on the base, moving from the third starting position to the detection position, and the PCB board interface device is located on the base. The mobile phone to be tested at the detection position is in contact with each other, and the mobile phone to be tested is detected. The utility model can carry out multiple tests on the mobile phone at the same time, saves manpower and material resources, has stable and reliable test results and high efficiency.
Description
技术领域 technical field
本实用新型涉及检测领域,尤其涉及一种手机检测装置。The utility model relates to the detection field, in particular to a mobile phone detection device.
背景技术 Background technique
在手机零部件装配生产过程中,为确保装配品质,对组装完毕后的产品零部件的功能进行检测是必不可少的检验程序。目前,大多厂家采用的方式是对不同的零部件分别进行检测,每检验一种零部件就要采购或者制作一台专门的检测设备,检测一部手机需要多人分批分次进行,这样做既浪费大量的人力和财力又占据了大量的空间。In the assembly and production process of mobile phone parts, in order to ensure the quality of assembly, it is an indispensable inspection procedure to test the function of the assembled product parts. At present, the method adopted by most manufacturers is to test different parts separately. Each time a part is tested, a special testing equipment needs to be purchased or manufactured. Testing a mobile phone requires multiple people to do it in batches. Not only waste a lot of manpower and financial resources but also take a lot of space.
实用新型内容Utility model content
本实用新型提供一种手机多功能检测仪,能够对手机的多个零部件的功能分别进行检测。The utility model provides a mobile phone multifunctional detector, which can detect the functions of multiple components of the mobile phone respectively.
本实用新型提供一种手机检测装置,包括底座、导轨、夹具、PCB板检测装置和接口检测装置,上述导轨设置在底座上,导轨上设置有夹具,夹具上设置有待测手机,夹具在导轨上往复运动将待测手机从第一起始位置移送至检测位置;上述接口检测装置设置在底座上,接口检测装置在底座上往复运动,从第二起始位置运动到检测位置,接口检测装置与位于检测位置的待测手机相接触,对待测手机进行检测;上述PCB板检测装置设置在底座上,PCB板接口装置在底座上往复运动,从第三起始位置运动至检测位置,PCB板接口装置与位于检测位置的待测手机相接触,对待测手机进行检测。The utility model provides a mobile phone detection device, which includes a base, a guide rail, a fixture, a PCB board detection device and an interface detection device. The upper reciprocating movement moves the mobile phone to be tested from the first initial position to the detection position; the above-mentioned interface detection device is arranged on the base, and the interface detection device reciprocates on the base, and moves from the second initial position to the detection position. The mobile phone to be tested at the detection position is in contact with each other, and the mobile phone to be tested is detected; the above-mentioned PCB board detection device is arranged on the base, and the PCB board interface device reciprocates on the base, moving from the third starting position to the detection position, and the PCB board interface The device is in contact with the mobile phone to be tested at the detection position, and the mobile phone to be tested is detected.
上述PCB板检测装置包括支撑柱、PCB下压板和PCB运动汽缸,支撑柱设置在底座上,PCB下压板活动的设置在支撑柱上,PCB运动汽缸与PCB下压板相连接,控制PCB下压板从第三起始位置运动至检测位置。The above-mentioned PCB board detection device includes a supporting column, a PCB lower pressing plate and a PCB moving cylinder. The supporting column is arranged on the base, and the PCB lower pressing plate is movably arranged on the supporting column. The PCB moving cylinder is connected with the PCB lower pressing plate to control the PCB lower pressing plate from The third initial position moves to the detection position.
上述接口检测装置包括接口运动汽缸和检测接口安装座,检测接口安装座活动的设置在底座上,接口运动汽缸设置在底座上,并与检测接口安装座相连接,控制检测接口安装座从第二起始位置运动至检测位置。The above-mentioned interface detection device includes an interface movement cylinder and a detection interface mounting seat, the detection interface mounting seat is movable on the base, the interface movement cylinder is arranged on the base, and is connected with the detection interface mounting seat, and the detection interface mounting seat is controlled from the second The starting position moves to the detection position.
上述手机检测装置,还包括分析装置,分析装置与所述接口检测装置和PCB板检测装置相连接,对接口检测装置和PCB板检测装置的测试结果进行分析。The above-mentioned mobile phone detection device also includes an analysis device, which is connected with the interface detection device and the PCB board detection device, and analyzes the test results of the interface detection device and the PCB board detection device.
上述分析装置采用工控机。The above analysis device adopts industrial computer.
上述还包括显示装置,显示装置与分析装置相连接,对分析装置的分析结果进行显示。The above also includes a display device, which is connected with the analysis device and displays the analysis results of the analysis device.
本实用新型提供一种手机检测装置能够同时对手机的多个功能进行检测,节省了人力物力,测试结果稳定可靠,效率较高。The utility model provides a mobile phone detection device which can simultaneously detect multiple functions of the mobile phone, saves manpower and material resources, and has stable and reliable test results and high efficiency.
附图说明 Description of drawings
图1是本实用新型第一实施例的手机检测装置前视立体示意图;Fig. 1 is a front perspective schematic diagram of a mobile phone detection device according to the first embodiment of the present invention;
图2是本实用新型第一实施例的手机检测装置斜后视立体示意图;Fig. 2 is a three-dimensional schematic diagram of the oblique rear view of the mobile phone detection device according to the first embodiment of the present invention;
图3是本实用新型第一实施例的夹具的结构示意图;Fig. 3 is a schematic structural view of the fixture of the first embodiment of the present invention;
图4是本实用新型第一实施例的PCB下压板的结构示意图;Fig. 4 is a schematic structural view of the PCB lower platen in the first embodiment of the present invention;
图5是本实用新型第一实施例的检测用PCB板结构示意图;Fig. 5 is a schematic structural diagram of a detection PCB board according to the first embodiment of the present invention;
图6是本实用新型第一实施例的检测接口安装座结构示意图;Fig. 6 is a schematic structural diagram of the detection interface mounting seat of the first embodiment of the present invention;
本实用新型目的、功能及优点将结合实施例,参照附图做进一步说明。The purpose, functions and advantages of the utility model will be further described in conjunction with the embodiments and with reference to the accompanying drawings.
具体实施方式 Detailed ways
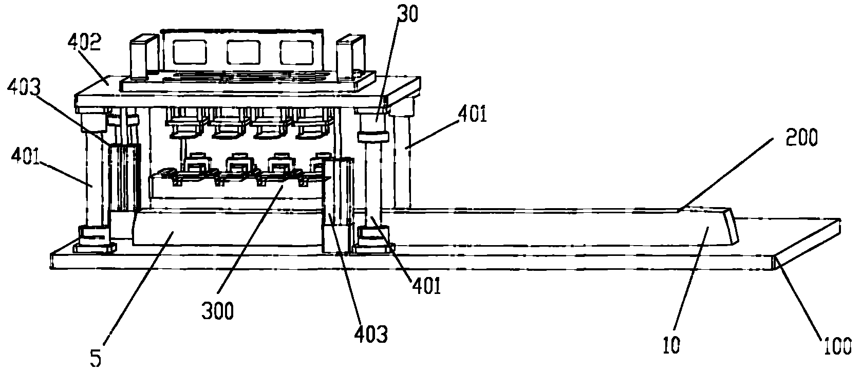
参照图1和图2,手机检测装置包括底座100、导轨200、夹具300、PCB板检测装置和接口检测装置。Referring to FIG. 1 and FIG. 2 , the mobile phone testing device includes a
导轨200设置在底座100上,导轨200上设置有夹具300,夹具300能够在导轨200上往复运动。夹具300采用双手开关控制启动和停止,采用双手开关禁止操作员单手启动,防止夹具对操作员另外一只手可能造成的伤害。The
参照图3,夹具300上设置有待测手机1000,,启动夹具300的双手开关,夹具300在导轨200上往复运动将待测手机1000从第一起始位置10移送至检测位置5。第一起始位置10位于导轨200远离PCB板检测装置和接口检测装置的一端,检测位置5与第一起始位置10相对,在导轨200的另一端。Referring to FIG. 3 , the
PCB板检测装置包括支撑柱401、PCB下压板402和PCB运动汽缸403,支撑柱401设置在底座100上,PCB下压板402活动地设置在支撑柱401上,PCB运动汽缸403与PCB下压板402相连接,PCB运动汽缸403能够往复运动,控制PCB下压板402从第三起始位置30运动至检测位置5。第三起始位置30位于支撑柱401的上部最末端,PCB下压板402上设置有检测用PCB板600(图4、图5所示),PCB下压板402位于第三起始位置30时,检测用PCB板600与设置在夹具300上位于检测位置5的待测手机1000相分离,不能对待测手机1000进行检测。PCB下压板402位于检测位置5时,检测用PCB板600与待测手机1000的PCB板相接触,对待测手机100进行检测。PCB运动汽缸403采用双手开关控制启动和停止,采用双手开关禁止操作员单手启动PCB运动汽缸403,防止PCB运动汽缸403对操作员另外一只手可能造成的伤害。The PCB board detection device comprises a supporting
参照图6,接口检测装置包括接口运动汽缸502和检测接口安装座501,检测接口安装座501活动的设置在底座100上,接口运动汽缸502设置在底座100上,并与检测接口安装座501相连接,接口运动汽缸502能够往复运动,控制检测接口安装座501从第二起始位置20运动至检测位置5。检测接口安装座501设置有检测用接口插头700。第二起始位置20远离检测位置5,使位于第二起始位置20的检测接口安装座501上的接口插头700不能与夹具300上的位于检测位置5的待测手机相接触,不能检测手机的各种接口。检测接口安装座501位于检测位置5时,检测用接口插头700与待测手机1000的充电、耳机等接口相接触对待测手机1000进行检测。接口运动汽缸502也采用双手开关,理由同上。Referring to Fig. 6, the interface detection device includes an
本实施例中手机检测装置外接计算机,PCB板检测装置和接口检测装置与外接计算机相连接,将采集到的检测数据发送至计算机进行分析。In this embodiment, the mobile phone detection device is connected to an external computer, the PCB board detection device and the interface detection device are connected to the external computer, and the collected detection data are sent to the computer for analysis.
操作过程如下:将待测手机1000设置在夹具300上,通过夹具300对其进行固定。PCB下压板402上预先设置有与待测手机1000相适应的检测用PCB板600,检测接口安装座501预先设置有与待测手机1000相适应的检测插头700。操作员启动夹具的双手开关,夹具300沿导轨200从第一起始位置10运动至检测位置5,启动PCB板检测装置的双手开关,PCB运动汽缸403开始工作,将位于第三起始位置30的检测用PCB板600拉动至检测位置5,由于PCB下压板402活动的设置在支撑柱401上,PCB下压板402只能沿着支撑柱401运动,支撑柱401限制了PCB下压板402在其他方向上的移动,保证了PCB下压板402能够准确的到达检测位置5。到达检测位置5的PCB下压板402,其上的检测用PCB板600与待测手机1000相接触,对待测手机1000的PCB板进行检测,检测的方法同现有技术一致,故不赘述。The operation process is as follows: the
检测完成后,PCB下压板402在PCB运动汽缸403的牵引下重新返回第三起始位置30。After the detection is completed, the PCB lower
操作员启动接口检测装置的双手开关,接口运动汽缸502工作带动检测接口安装座501从第二起始位置20运动至检测位置5。检测接口安装座501设置有与待测手机1000相适应的检测用接口插头700。检测用接口插头700到达检测位置后与待测手机1000的接口相接触对电源、耳机等接口进行检测,检测方法与现有技术相一致,故不赘述。The operator activates the two-hand switch of the interface detection device, and the
PCB板检测装置和接口检测装置检测的数据通过外接的计算机进行分析处理,得到检测结果。The data detected by the PCB board detection device and the interface detection device are analyzed and processed by an external computer to obtain detection results.
手机检测装置可以检测多种不同型号的手机,同时可以对多个待测手机进行检测,效率较高。The mobile phone detection device can detect a variety of different types of mobile phones, and can detect multiple mobile phones to be tested at the same time, with high efficiency.
本实用新型第二实施例中,手机检测装置还包括工控机(图中未示)和显示装置,工控机里的硬盘包括有测试程序,PCB板检测装置和接口检测装置检测的数据通过工控机中的程序进行分析得到检测结果,检测结果通过显示装置进行显示。In the second embodiment of the present invention, the mobile phone detection device also includes an industrial computer (not shown) and a display device, the hard disk in the industrial computer includes a test program, and the data detected by the PCB board detection device and the interface detection device passes through the industrial computer. The program in is analyzed to obtain the detection result, and the detection result is displayed through the display device.
以上所述仅为本实用新型的优选实施例,并非因此限制本实用新型的专利范围,凡是利用本实用新型说明书及附图内容所作的等效结构或等效流程变换,或直接或间接运用在其他相关的技术领域,均同理包括在本实用新型的专利保护范围内。The above descriptions are only preferred embodiments of the present utility model, and are not therefore limiting the patent scope of the present utility model. Any equivalent structure or equivalent process transformation made by using the specification of the utility model and the contents of the accompanying drawings may be directly or indirectly used in Other relevant technical fields are all included in the patent protection scope of the present utility model in the same way.
Claims (6)
Priority Applications (1)
| Application Number | Priority Date | Filing Date | Title |
|---|---|---|---|
| CNU2007201814553U CN201118707Y (en) | 2007-11-15 | 2007-11-15 | Mobile phone detection device |
Applications Claiming Priority (1)
| Application Number | Priority Date | Filing Date | Title |
|---|---|---|---|
| CNU2007201814553U CN201118707Y (en) | 2007-11-15 | 2007-11-15 | Mobile phone detection device |
Publications (1)
| Publication Number | Publication Date |
|---|---|
| CN201118707Y true CN201118707Y (en) | 2008-09-17 |
Family
ID=39993304
Family Applications (1)
| Application Number | Title | Priority Date | Filing Date |
|---|---|---|---|
| CNU2007201814553U Expired - Fee Related CN201118707Y (en) | 2007-11-15 | 2007-11-15 | Mobile phone detection device |
Country Status (1)
| Country | Link |
|---|---|
| CN (1) | CN201118707Y (en) |
Cited By (4)
| Publication number | Priority date | Publication date | Assignee | Title |
|---|---|---|---|---|
| CN102928769A (en) * | 2012-11-09 | 2013-02-13 | 昆山迈致治具科技有限公司 | Automatic test system |
| CN103067552A (en) * | 2013-01-22 | 2013-04-24 | 刘伟 | Automatical detecting system of mobile phone |
| CN104205786A (en) * | 2012-02-06 | 2014-12-10 | 苹果公司 | Test system with test tray |
| CN105606161A (en) * | 2016-03-29 | 2016-05-25 | 东莞华贝电子科技有限公司 | Three-in-one testing device |
-
2007
- 2007-11-15 CN CNU2007201814553U patent/CN201118707Y/en not_active Expired - Fee Related
Cited By (4)
| Publication number | Priority date | Publication date | Assignee | Title |
|---|---|---|---|---|
| CN104205786A (en) * | 2012-02-06 | 2014-12-10 | 苹果公司 | Test system with test tray |
| CN102928769A (en) * | 2012-11-09 | 2013-02-13 | 昆山迈致治具科技有限公司 | Automatic test system |
| CN103067552A (en) * | 2013-01-22 | 2013-04-24 | 刘伟 | Automatical detecting system of mobile phone |
| CN105606161A (en) * | 2016-03-29 | 2016-05-25 | 东莞华贝电子科技有限公司 | Three-in-one testing device |
Similar Documents
| Publication | Publication Date | Title |
|---|---|---|
| CN107850637B (en) | Electronic product test fixture | |
| CN202471844U (en) | Touch Screen Test Device and Its Pricking Needle | |
| CN106885968A (en) | Continuity test fixture | |
| CN102673080B (en) | Attaching jig for touch panel and LCD panel | |
| CN106900169B (en) | Display screen detection equipment and display screen detection method | |
| CN201118707Y (en) | Mobile phone detection device | |
| CN201387465Y (en) | A PCBA testing device | |
| CN109541436A (en) | A kind of circuit board detecting tooling | |
| CN205786873U (en) | The detection fixture of antenna for mobile phone | |
| CN206540977U (en) | Mobile phone motherboard and touch screen continuity test fixture | |
| CN104251686A (en) | Flatness detecting machine | |
| CN203744886U (en) | Length detection machine for positioning pin | |
| CN107271781A (en) | A kind of fingerprint module automatic impedance-testing device | |
| CN105675924A (en) | Inspection fixture for ozone machine power board | |
| CN102673086B (en) | Method for attaching touch panel and LCD panel | |
| CN207516398U (en) | Device for product detection | |
| CN103851983A (en) | A positioning pin length detection machine | |
| CN204142913U (en) | Electrical measuring equipment | |
| CN205719523U (en) | The function of electronic apparatus and the test equipment in life-span | |
| CN102331539A (en) | Wiring harness tester | |
| CN201145818Y (en) | A camera test fixture | |
| CN202102013U (en) | Tooling fixture for testing finished product of polymer battery | |
| CN104808068A (en) | Equipment for automatically detecting ground resistance of mobile phone housings | |
| CN204903712U (en) | Circuit board probe tester | |
| CN211086511U (en) | Tool for quickly detecting circuit board |
Legal Events
| Date | Code | Title | Description |
|---|---|---|---|
| C14 | Grant of patent or utility model | ||
| GR01 | Patent grant | ||
| EE01 | Entry into force of recordation of patent licensing contract |
Assignee: HUIZHOU BYD ELECTRONIC CO., LTD. Assignor: Biyadi Co., Ltd. Contract fulfillment period: 2008.11.1 to 2017.8.17 Contract record no.: 2009440000401 Denomination of utility model: Mobile phone detection device Granted publication date: 20080917 License type: Exclusive license Record date: 20090525 |
|
| LIC | Patent licence contract for exploitation submitted for record |
Free format text: EXCLUSIVE LICENSE; TIME LIMIT OF IMPLEMENTING CONTACT: 2008.11.1 TO 2017.8.17; CHANGE OF CONTRACT Name of requester: HUIZHOU BIYADI ELECTRONICS CO.,LTD. Effective date: 20090525 |
|
| CF01 | Termination of patent right due to non-payment of annual fee |
Granted publication date: 20080917 Termination date: 20151115 |
|
| EXPY | Termination of patent right or utility model |
