CN201114716Y - Earphone with ceramic inner shell cover and microphone thereof - Google Patents
Earphone with ceramic inner shell cover and microphone thereof Download PDFInfo
- Publication number
- CN201114716Y CN201114716Y CNU2007201569320U CN200720156932U CN201114716Y CN 201114716 Y CN201114716 Y CN 201114716Y CN U2007201569320 U CNU2007201569320 U CN U2007201569320U CN 200720156932 U CN200720156932 U CN 200720156932U CN 201114716 Y CN201114716 Y CN 201114716Y
- Authority
- CN
- China
- Prior art keywords
- inner shell
- earphone
- ceramic inner
- ceramic
- earplug
- Prior art date
- Legal status (The legal status is an assumption and is not a legal conclusion. Google has not performed a legal analysis and makes no representation as to the accuracy of the status listed.)
- Expired - Fee Related
Links
- 239000000919 ceramic Substances 0.000 title claims abstract description 22
- 229910010293 ceramic material Inorganic materials 0.000 claims abstract description 7
- VYPSYNLAJGMNEJ-UHFFFAOYSA-N Silicium dioxide Chemical compound O=[Si]=O VYPSYNLAJGMNEJ-UHFFFAOYSA-N 0.000 claims description 3
- 239000000741 silica gel Substances 0.000 claims description 3
- 229910002027 silica gel Inorganic materials 0.000 claims description 3
- 238000010586 diagram Methods 0.000 description 4
- 230000004308 accommodation Effects 0.000 description 2
- 239000000463 material Substances 0.000 description 2
- 238000000034 method Methods 0.000 description 2
- 239000000853 adhesive Substances 0.000 description 1
- 230000001070 adhesive effect Effects 0.000 description 1
- 238000004891 communication Methods 0.000 description 1
- 238000005516 engineering process Methods 0.000 description 1
- 239000003292 glue Substances 0.000 description 1
- 239000002184 metal Substances 0.000 description 1
- 239000007779 soft material Substances 0.000 description 1
Images
Landscapes
- Telephone Set Structure (AREA)
Abstract
本实用新型涉及一种具有陶瓷内壳罩的耳机及其发话器,该耳机包括耳机机体、喇叭及内壳罩。其中耳机机体内部形成有容置部,喇叭容设于耳机机体的容置部内。内壳罩由陶瓷材料制成,且罩盖在耳机机体上,并对应于所述喇叭配置。由此,可有效地改善发话器的失真率,并能产生音质佳、响度高的声音。
The utility model relates to an earphone with a ceramic inner shell and a speaker thereof, wherein the earphone comprises an earphone body, a speaker and an inner shell. A receiving portion is formed inside the earphone body, and the speaker is received in the receiving portion of the earphone body. The inner shell is made of a ceramic material, covers the earphone body, and is configured corresponding to the speaker. Thus, the distortion rate of the speaker can be effectively improved, and sound with good sound quality and high loudness can be produced.
Description
技术领域 technical field
本实用新型涉及一种耳机结构,尤其涉及一种具有陶瓷内壳罩的耳机及其发话器。The utility model relates to an earphone structure, in particular to an earphone with a ceramic inner shell and a microphone thereof.
背景技术 Background technique
随着电子通讯技术的日益进步,各种视听产品如随身听、收录机、MP3、手机、iphone等,不断地被开发出来并得到普及应用。相对地,应用于前述各视听产品的耳机也是日新月异,使用耳机的最大好处在于可不受外界的干扰来享受音乐或接收信息,因而带给人们诸多方便。然而,各种耳机所使用的材料及组装过程皆存在一些差异,因而使得耳机的失真率大不相同,并使得耳机的音质良莠不齐。With the increasing progress of electronic communication technology, various audio-visual products such as walkmans, tape recorders, MP3, mobile phones, iphones, etc. have been continuously developed and widely used. Correspondingly, earphones applied to the aforementioned audio-visual products are also changing with each passing day. The biggest advantage of using earphones is that they can enjoy music or receive information without being disturbed by the outside world, thus bringing people a lot of convenience. However, there are some differences in the materials used and the assembly process of various earphones, so that the distortion rate of the earphones is very different, and the sound quality of the earphones varies.
公知的耳机结构,主要包括耳机机体、喇叭及内盖,其中内盖一般皆以金属网或塑料材料制成,并以胶水等粘结剂将喇叭与内盖粘着封合。The known earphone structure mainly includes an earphone body, a speaker and an inner cover, wherein the inner cover is generally made of metal mesh or plastic material, and the speaker and the inner cover are adhered and sealed with adhesive such as glue.
然而,公知耳机结构在实际使用中仍存在下述的缺点,由于其内盖的质地不佳,易随着使用时间的长短而产生不同程度的永久变形,进而发话器的失真率日益提高;且该耳机所输出的声音在音质、响度方面皆不甚理想,着实亟待加以改善。However, the known earphone structure still has the following disadvantages in actual use. Due to the poor texture of the inner cover, it is easy to produce permanent deformation to varying degrees with the use of time, and then the distortion rate of the microphone is increasing day by day; and The sound output by this headset is not ideal in terms of sound quality and loudness, and needs to be improved urgently.
实用新型内容Utility model content
本实用新型的主要目的,在于提供一种具有陶瓷内壳罩的耳机及其发话器,其借助内壳罩本身所具有的强度和硬度,有效改善发话器的失真率,并能产生音质佳、响度高的声音。The main purpose of this utility model is to provide an earphone and a microphone with a ceramic inner shell, which can effectively improve the distortion rate of the microphone by virtue of the strength and hardness of the inner shell itself, and can produce good sound quality, Loud sound.
为了达成上述目的,按照本实用新型提供的具有陶瓷内壳罩的耳机,包括:耳机机体,形成有容置部;喇叭,容设于所述耳机机体的容置部内;以及内壳罩,由陶瓷材料制成,所述内壳罩罩盖在所述耳机机体上,并对应于所述喇叭配置。In order to achieve the above object, the earphone provided according to the utility model has a ceramic inner shell, comprising: an earphone body formed with an accommodating portion; a speaker accommodated in the accommodating portion of the earphone body; and an inner shell made of Made of ceramic material, the inner shell covers the earphone body and is configured corresponding to the speaker.
按照本实用新型提供的具有陶瓷内壳罩的耳机发话器,包括:外壳罩,内部形成有容置槽;喇叭,容设于所述外壳罩的所述容置槽内;以及内壳罩,由陶瓷材料制成,所述内壳罩罩盖在所述外壳罩上,并对应于所述喇叭配置。According to the utility model, the earphone microphone provided with the ceramic inner shell includes: the outer shell, which has an accommodation groove formed inside; the speaker, which is accommodated in the accommodation groove of the outer shell; and the inner shell, Made of ceramic material, the inner housing covers the outer housing and corresponds to the horn configuration.
按照本实用新型提供的具有陶瓷内壳罩的耳机及其发话器,由于内壳罩由陶瓷材料制成,具有足够的强度和硬度,因而能有效改善发话器的失真率,并能产生音质佳、响度高的声音。According to the earphone and the microphone with the ceramic inner shell provided by the utility model, since the inner shell is made of ceramic material, it has sufficient strength and hardness, so the distortion rate of the microphone can be effectively improved, and the sound quality is good. , loud sound.
附图说明 Description of drawings
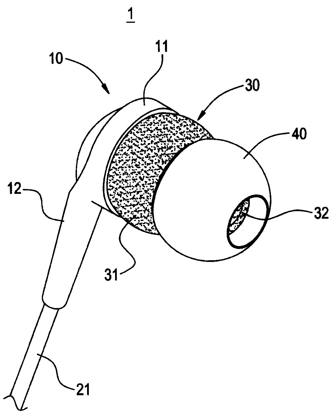
图1为本实用新型耳机发话器的立体分解图;Fig. 1 is the three-dimensional exploded view of the earphone microphone of the present invention;
图2为本实用新型耳机发话器的组合示意图;Fig. 2 is the combination schematic diagram of the utility model earphone microphone;
图3为本实用新型耳机发话器组合局部剖视图;Fig. 3 is a partial cross-sectional view of the combination of the earphone microphone of the present invention;
图4为本实用新型的内壳罩的剖视图;Fig. 4 is a sectional view of the inner shell of the present utility model;
图5为本实用新型发话器应用于有线耳机的组合示意图;Fig. 5 is a schematic diagram of the combination of the microphone of the present invention applied to wired earphones;
图6为本实用新型耳机的组合示意图。Fig. 6 is a combined schematic view of the earphone of the present invention.
【主要组件符号说明】[Description of main component symbols]
【本实用新型】【This utility model】
发话器1,1′Microphone 1, 1'
外壳罩10
圆筒体11 支臂12
容置槽13 容线孔14Accommodating groove 13 Containing thread hole 14
喇叭20Horn 20
导线21Wire 21
内壳罩30
套接环31 延伸管32
共鸣腔33 外嵌槽34
耳塞40
卡环41Snap
插头5Plug 5
耳机机体6
耳挂61 容置部62Ear
具体实施方式 Detailed ways
下面结合附图对本实用新型的技术内容进行详细说明。然而附图仅参考与说明,并非用来对本实用新型加以限制。Below in conjunction with accompanying drawing, the technical content of the present utility model is described in detail. However, the accompanying drawings are for reference and illustration only, and are not intended to limit the present invention.
图1至图4分别为本实用新型耳机发话器的立体分解图、组合示意图、组合局部剖视图及内壳罩剖视图。本实施例提供一种具有陶瓷内壳罩的耳机发话器,该发话器1主要包括外壳罩10、喇叭20及内壳罩30。其中外壳罩10由扁形圆筒体11及从圆筒体11一侧向下延伸出的支臂12构成。在圆筒体11内部形成有容置槽13,另在支臂12内部设有与容置槽13内部相通的容线孔14。前述的喇叭20下半部嵌入固定于容置槽13内,而上半部则凸露出筒体11端面外部,且此喇叭20后方连接有导线21。导线21从容线孔14穿出支臂12外部。内壳罩30由陶瓷材料制成,且其由鼓式套接环31及从套接环31一侧向外凸伸出的延伸管32构成。套接环31为中段外缘直径大于首、末段外缘直径环体,并于其内部形成有共鸣腔33,且其在远离延伸管32的一端套接在喇叭20的上半部。延伸管32与共鸣腔33相通,且于其中段外部设有环形外嵌槽34。Fig. 1 to Fig. 4 are three-dimensional exploded view, combined schematic view, combined partial sectional view and inner shell sectional view of the earphone microphone of the present invention, respectively. This embodiment provides an earphone microphone with a ceramic inner shell, the
此外,本实用新型还包括耳塞40,耳塞40由软性材料如硅胶、橡胶或海绵制成,且其呈中空半圆球状,内部成形有与前述外嵌槽34嵌设固定的卡环41,以与相互连接。In addition, the utility model also includes an
图5为本实用新型发话器应用于有线耳机的组合示意图,可将两组发话器1、1′连接于一插头5以组合成一有线耳机。使用时先将插头5插接于MP3或手机等电子装置的插座(图未示)上,再将发话器1的耳塞40置入人体的耳腔内,即可收听到音质佳、响度高的声音。FIG. 5 is a schematic diagram of the combination of the microphone of the present invention applied to a wired earphone. Two sets of
图6为本实用新型的耳机组合示意图,本实用新型的喇叭20、内壳罩30及耳塞40除了可为上述实施例连接于外壳罩10外,也可如本实施直接连接于一蓝牙无线耳机的机体6上。机体6连接有C形耳挂61,并于机体6内部形成有容置部62。容置部62供喇叭20的下半部嵌入固定,而内壳罩30的套接环31则套接于喇叭20的上半部上。这样,即可组合成一耳机结构。Figure 6 is a schematic diagram of the combination of earphones of the present invention, the
上述实施例仅供说明本实用新型之用,而并非对本实用新型的限制,本领域技术人员在不脱离本实用新型的精神和范围的前提下,所做出的各种等效结构变化皆在本实用新型的范围之内。本实用新型的保护范围由权利要求限定。The above-mentioned embodiments are only for the purpose of illustrating the utility model, rather than restricting the utility model. Those skilled in the art can make various equivalent structural changes without departing from the spirit and scope of the utility model. Within the scope of the utility model. The protection scope of the utility model is defined by the claims.
Claims (14)
Priority Applications (1)
| Application Number | Priority Date | Filing Date | Title |
|---|---|---|---|
| CNU2007201569320U CN201114716Y (en) | 2007-07-10 | 2007-07-10 | Earphone with ceramic inner shell cover and microphone thereof |
Applications Claiming Priority (1)
| Application Number | Priority Date | Filing Date | Title |
|---|---|---|---|
| CNU2007201569320U CN201114716Y (en) | 2007-07-10 | 2007-07-10 | Earphone with ceramic inner shell cover and microphone thereof |
Publications (1)
| Publication Number | Publication Date |
|---|---|
| CN201114716Y true CN201114716Y (en) | 2008-09-10 |
Family
ID=39966466
Family Applications (1)
| Application Number | Title | Priority Date | Filing Date |
|---|---|---|---|
| CNU2007201569320U Expired - Fee Related CN201114716Y (en) | 2007-07-10 | 2007-07-10 | Earphone with ceramic inner shell cover and microphone thereof |
Country Status (1)
| Country | Link |
|---|---|
| CN (1) | CN201114716Y (en) |
Cited By (2)
| Publication number | Priority date | Publication date | Assignee | Title |
|---|---|---|---|---|
| CN102119535A (en) * | 2009-05-13 | 2011-07-06 | 松下电器产业株式会社 | Earphone device and earphone device body |
| CN103347228A (en) * | 2013-07-25 | 2013-10-09 | 中山市天键电声有限公司 | Acoustic structure for improving high-frequency resolution of in-ear headphone |
-
2007
- 2007-07-10 CN CNU2007201569320U patent/CN201114716Y/en not_active Expired - Fee Related
Cited By (3)
| Publication number | Priority date | Publication date | Assignee | Title |
|---|---|---|---|---|
| CN102119535A (en) * | 2009-05-13 | 2011-07-06 | 松下电器产业株式会社 | Earphone device and earphone device body |
| CN103347228A (en) * | 2013-07-25 | 2013-10-09 | 中山市天键电声有限公司 | Acoustic structure for improving high-frequency resolution of in-ear headphone |
| CN103347228B (en) * | 2013-07-25 | 2016-03-02 | 中山市天键电声有限公司 | A kind of acoustic construction improving high-frequency resolution of in-ear headphone |
Similar Documents
| Publication | Publication Date | Title |
|---|---|---|
| CN1476713A (en) | A microphone/earphone and a mobile phone, telephone, switching board or similar device | |
| TWD117942S1 (en) | A dongle with wearable stereo headset | |
| CN101662710B (en) | Ear-canal earphones | |
| CN207652640U (en) | Half In-Ear Headphones of one kind and audio-visual equipment | |
| CN201114716Y (en) | Earphone with ceramic inner shell cover and microphone thereof | |
| CN104349233A (en) | Earphone capable of enhancing low-frequency characteristic | |
| CN207269259U (en) | A kind of USB interface bluetooth headset easy to use | |
| CN204305351U (en) | Smart Hearing Device | |
| CN203423780U (en) | Bluetooth earphone | |
| CN206547176U (en) | Headphone | |
| CN210807614U (en) | Bluetooth earphone with hearing-aid function | |
| CN204761670U (en) | 360 half pleasant earphone of function is answered to degree language input tape | |
| CN1878429B (en) | Earphone device integrated with microphone | |
| CN201718020U (en) | Improved structure of earphone | |
| CN208509219U (en) | One kind being based on Radio Transmission Technology intelligence active noise reduction earphone | |
| CN109348340B (en) | Earphone front cover device with noise reduction microphone conversation function | |
| CN209486940U (en) | A listening device for learning English with tone and tone | |
| CN204968065U (en) | Pillow earphone | |
| CN201504304U (en) | Ear-hanging earphone with metal front cover | |
| CN203722820U (en) | Wrist-worn type electronic device | |
| CN201078857Y (en) | audio device | |
| CN223613451U (en) | A wireless earphone | |
| CN203193845U (en) | shoelace headphones | |
| CN207854125U (en) | A waterproof bluetooth earphone | |
| CN211184204U (en) | Motion earphone based on wireless intelligence |
Legal Events
| Date | Code | Title | Description |
|---|---|---|---|
| C14 | Grant of patent or utility model | ||
| GR01 | Patent grant | ||
| C17 | Cessation of patent right | ||
| CF01 | Termination of patent right due to non-payment of annual fee |
Granted publication date: 20080910 Termination date: 20110710 |
