CN201106739Y - Lifting rotating shaft - Google Patents
Lifting rotating shaft Download PDFInfo
- Publication number
- CN201106739Y CN201106739Y CNU2007200597889U CN200720059788U CN201106739Y CN 201106739 Y CN201106739 Y CN 201106739Y CN U2007200597889 U CNU2007200597889 U CN U2007200597889U CN 200720059788 U CN200720059788 U CN 200720059788U CN 201106739 Y CN201106739 Y CN 201106739Y
- Authority
- CN
- China
- Prior art keywords
- rotating shaft
- bracket
- slide rail
- flat
- shaft bracket
- Prior art date
- Legal status (The legal status is an assumption and is not a legal conclusion. Google has not performed a legal analysis and makes no representation as to the accuracy of the status listed.)
- Expired - Lifetime
Links
- 239000004973 liquid crystal related substance Substances 0.000 abstract description 13
- 230000007547 defect Effects 0.000 description 2
- 238000010586 diagram Methods 0.000 description 2
- 238000000034 method Methods 0.000 description 2
- 230000009286 beneficial effect Effects 0.000 description 1
- 238000005034 decoration Methods 0.000 description 1
- 230000007613 environmental effect Effects 0.000 description 1
Images
Landscapes
- Devices For Indicating Variable Information By Combining Individual Elements (AREA)
Abstract
本实用新型公开了一种升降转轴,包括底座,还包括与底座固定连接的转轴下支架,该转轴下支架内纵向固设有一滑轨,滑轨上装设有可沿该滑轨滑动的转轴上支架,转轴上支架内装设有拉力弹簧,转轴上支架上端与“U”型支架通过中轴转动连接,“U”型支架装设有LCD连接板。使用时,可通过拉力弹簧使转轴上支架上升或下降至所需要的高度,从而实现对平板电视或电脑的液晶显示屏的高度进行调整,需要对平板电视或电脑的液晶显示屏的角度进行调整时,可通过左右、前后旋转“U”型支架,进行角度调节,具有结构简单、使用方便的优点。
The utility model discloses a lifting shaft, comprising a base, and a lower shaft bracket fixedly connected to the base, wherein a slide rail is fixedly arranged in the lower shaft bracket in the longitudinal direction, an upper shaft bracket which can slide along the slide rail is arranged on the slide rail, a tension spring is arranged in the upper shaft bracket, the upper end of the upper shaft bracket is rotatably connected with a "U"-shaped bracket through a central axis, and an LCD connecting plate is arranged on the "U"-shaped bracket. When in use, the upper shaft bracket can be raised or lowered to a required height by the tension spring, so as to adjust the height of a flat-screen TV or a computer's liquid crystal display screen, and when the angle of the flat-screen TV or the computer's liquid crystal display screen needs to be adjusted, the "U"-shaped bracket can be rotated left and right, front and back to adjust the angle, and the utility model has the advantages of simple structure and convenient use.
Description
技术领域technical field
本实用新型涉及一种旋转机构,更具体地说是一种升降转轴,与该升降转轴相连接的液晶显示屏或平板电视可进行旋转运动,可对液晶显示屏或平板电视的角度进行调整,还可对液晶显示屏或平板电视的高度进行调整。The utility model relates to a rotating mechanism, more specifically a lifting shaft, a liquid crystal display screen or a flat-panel TV connected with the lifting shaft can be rotated, and the angle of the liquid crystal display screen or the flat-panel TV can be adjusted. The height of the LCD screen or flat-screen TV can also be adjusted.
背景技术Background technique
人们在安装使用壁挂平板电视或使用配置有液晶显示屏的电脑时,使用者往往需要根据自己的习惯或环境条件,对平板电视或电脑的液晶显示屏的角度和与人体视线的高度进行调整。而传统的产品只能通过人工拆卸后进行调整,即通过人工将壁挂的平板电视或电脑的液晶显示屏,拆下后装入所需的配件再装上去,且产品不能旋转角度,这样的调整方法存在以下缺陷,采用人工拆卸操作,操作不便,不能对平板电视或电脑的液晶显示屏的角度及高度进行调整,使用不便。因而有必要设计出一种可与平板电视或电脑的液晶显示屏相连接的调节机构,与该调节转机构相连接的液晶显示屏或平板电视可进行平行旋转、升降,对液晶显示屏或平板电视的角度及高度进行调整。给观赏者或操作者带来更加愉悦的享受,更好地满足观赏者或操作者的需要,有效提高人们的生活质量。When people install and use a wall-mounted flat-panel TV or use a computer equipped with a liquid crystal display, users often need to adjust the angle of the liquid crystal display of the flat-panel TV or computer and the height of the human body line of sight according to their own habits or environmental conditions. The traditional products can only be adjusted after manual disassembly, that is, manually remove the wall-mounted flat-panel TV or computer LCD screen, install the required accessories and then install them, and the product cannot be rotated. The method has the following defects: the manual disassembly operation is adopted, and the operation is inconvenient; the angle and height of the liquid crystal display screen of the flat-panel TV or the computer cannot be adjusted, and the use is inconvenient. Thereby it is necessary to design a kind of adjusting mechanism that can be connected with the liquid crystal display screen of flat panel TV or computer, and the liquid crystal display screen or flat panel TV connected with this adjustment mechanism can carry out parallel rotation, lifting, and the liquid crystal display screen or flat panel Adjust the angle and height of the TV. Bring more pleasant enjoyment to viewers or operators, better meet the needs of viewers or operators, and effectively improve people's quality of life.
实用新型内容Utility model content
本实用新型的目的在于克服现有技术中的上述缺陷,提供一种结构简单、使用方便,可对液晶显示屏或平板电视进行旋转,还可对液晶显示屏或平板电视的高度进行调整的升降转轴。The purpose of the utility model is to overcome the above defects in the prior art, to provide a simple structure, easy to use, can rotate the liquid crystal display screen or flat panel TV, and can also adjust the height of the liquid crystal display screen or flat panel TV. shaft.
为实现上述目的,本实用新型提供的技术方案如下:构造一种升降转轴,包括底座,还包括与底座固定连接的转轴下支架,该转轴下支架内纵向固设有一滑轨,滑轨上装设有可沿该滑轨滑动的转轴上支架,转轴上支架内装设有拉力弹簧,转轴上支架上端与“U”型支架通过中轴转动连接,“U”型支架装设有LCD连接板。In order to achieve the above object, the technical solution provided by the utility model is as follows: Construct a lifting shaft, including a base, and a shaft lower bracket fixedly connected with the base, a slide rail is fixed longitudinally inside the shaft lower bracket, and a sliding rail is installed on the bottom bracket. There is an upper bracket on the rotating shaft that can slide along the slide rail. A tension spring is installed in the upper bracket on the rotating shaft. The upper end of the upper bracket on the rotating shaft is connected to the "U"-shaped bracket through the central axis. The "U"-shaped bracket is equipped with an LCD connecting plate.
本实用新型所述的升降转轴的有益效果是:通过构造一底座,在底座上固定连接有转轴下支架,该转轴下支架内纵向固设有一滑轨,滑轨上装设有可沿该滑轨滑动的转轴上支架,转轴上支架内装设有拉力弹簧,转轴上支架上端与“U”型支架通过中轴转动连接,“U”型支架装设有LCD连接板。使用时,可通过拉力弹簧使转轴上支架上升或下降至所需要的高度,从而实现对平板电视或电脑的液晶显示屏的高度进行调整,需要对平板电视或电脑的液晶显示屏的角度进行调整时,可通过左右、前后旋转U”型支架,进行角度调节,具有结构简单、使用方便的优点。The beneficial effect of the lifting rotating shaft described in the utility model is: by constructing a base, the lower bracket of the rotating shaft is fixedly connected to the base, and a slide rail is fixed longitudinally inside the lower bracket of the rotating shaft, and the sliding rail is equipped with a The upper bracket of the sliding rotating shaft is equipped with a tension spring inside the upper bracket of the rotating shaft, and the upper end of the upper bracket of the rotating shaft is rotationally connected with the "U"-shaped bracket through the central shaft, and the "U"-shaped bracket is equipped with an LCD connecting plate. When in use, the bracket on the rotating shaft can be raised or lowered to the required height through the tension spring, so as to realize the adjustment of the height of the LCD screen of the flat-panel TV or computer, and the angle of the LCD screen of the flat-panel TV or computer needs to be adjusted At the same time, the angle can be adjusted by rotating the U”-shaped bracket left and right, forward and backward, and has the advantages of simple structure and convenient use.
下面结合附图和实施例对本实用新型所述的升降转轴作进一步说明:The lifting shaft described in the utility model will be further described below in conjunction with the accompanying drawings and embodiments:
附图说明Description of drawings
图1是本实用新型升降转轴未装设有塑胶外壳的立体结构示意图;Fig. 1 is a three-dimensional structural schematic diagram of the lifting shaft of the present invention without a plastic casing;
图2是本实用新型升降转轴装设有塑胶外壳的立体结构示意图;Fig. 2 is a three-dimensional structure schematic diagram of the utility model lifting shaft equipped with a plastic shell;
具体实施方式Detailed ways
以下是本实用新型所述的升降转轴的最佳实施例,并不因此限定本实用新型的保护范围。The following are the best embodiments of the lifting rotating shaft described in the utility model, which does not limit the scope of protection of the utility model.
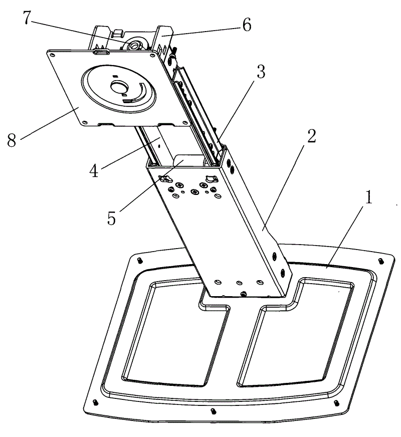
参照图1,提供一种升降转轴,包括底座1,还包括与底座1固定连接的转轴下支架2,该转轴下支架2内纵向固设有一滑轨3,滑轨3上装设有可沿该滑轨3滑动的转轴上支架4,转轴上支架4内装设有拉力弹簧5,转轴上支架4上端与“U”型支架6通过中轴7转动连接,“U”型支架6装设有LCD连接板8。With reference to Fig. 1, provide a kind of lifting rotating shaft, comprise base 1, also comprise the rotating shaft lower support 2 that is fixedly connected with base 1, this rotating shaft lower support 2 is longitudinally fixed with a slide rail 3, is installed on the slide rail 3 and can move along the The upper bracket 4 on the rotating shaft that the slide rail 3 slides, the upper bracket 4 on the rotating shaft is equipped with a tension spring 5, the upper end of the upper bracket 4 on the rotating shaft is connected with the "U"-shaped bracket 6 through the central axis 7, and the "U"-shaped bracket 6 is equipped with an
参照图2,所述底座1、转轴下支架2、转轴上支架4、“U”型支架6上各装设有一塑胶外壳9、10、11、12,进行装饰。Referring to Fig. 2, a
使用时,可通过拉力弹簧5使转轴上支架4上升或下降至所需要的高度,从而实现对平板电视或电脑的液晶显示屏的高度进行调整,需要对平板电视或电脑的液晶显示屏的角度进行调整时,可通过左右、前后旋转U”型支架6,进行角度调节。During use, the support 4 on the rotating shaft can be raised or lowered to the required height by the tension spring 5, thereby realizing adjusting the height of the liquid crystal display screen of the flat-panel TV or computer, and the angle of the LCD screen of the flat-panel TV or computer When adjusting, the angle can be adjusted by rotating the U "shaped bracket 6 left and right, forward and backward.
Claims (2)
Priority Applications (1)
| Application Number | Priority Date | Filing Date | Title |
|---|---|---|---|
| CNU2007200597889U CN201106739Y (en) | 2007-11-21 | 2007-11-21 | Lifting rotating shaft |
Applications Claiming Priority (1)
| Application Number | Priority Date | Filing Date | Title |
|---|---|---|---|
| CNU2007200597889U CN201106739Y (en) | 2007-11-21 | 2007-11-21 | Lifting rotating shaft |
Publications (1)
| Publication Number | Publication Date |
|---|---|
| CN201106739Y true CN201106739Y (en) | 2008-08-27 |
Family
ID=39958543
Family Applications (1)
| Application Number | Title | Priority Date | Filing Date |
|---|---|---|---|
| CNU2007200597889U Expired - Lifetime CN201106739Y (en) | 2007-11-21 | 2007-11-21 | Lifting rotating shaft |
Country Status (1)
| Country | Link |
|---|---|
| CN (1) | CN201106739Y (en) |
Cited By (4)
| Publication number | Priority date | Publication date | Assignee | Title |
|---|---|---|---|---|
| CN102777747A (en) * | 2012-07-31 | 2012-11-14 | 苏州傲海精密钣金制造有限公司 | TV (Television) shelf |
| CN102865444A (en) * | 2012-09-28 | 2013-01-09 | 深圳市华星光电技术有限公司 | Adjustable lift-type television support frame |
| CN106678519A (en) * | 2015-11-06 | 2017-05-17 | 天津三星电子有限公司 | Base and display |
| CN108612988A (en) * | 2018-04-19 | 2018-10-02 | 苏州佳世达电通有限公司 | Electronic device and its supporting rack |
-
2007
- 2007-11-21 CN CNU2007200597889U patent/CN201106739Y/en not_active Expired - Lifetime
Cited By (7)
| Publication number | Priority date | Publication date | Assignee | Title |
|---|---|---|---|---|
| CN102777747A (en) * | 2012-07-31 | 2012-11-14 | 苏州傲海精密钣金制造有限公司 | TV (Television) shelf |
| CN102865444A (en) * | 2012-09-28 | 2013-01-09 | 深圳市华星光电技术有限公司 | Adjustable lift-type television support frame |
| CN102865444B (en) * | 2012-09-28 | 2015-03-25 | 深圳市华星光电技术有限公司 | Adjustable lift-type television support frame |
| CN106678519A (en) * | 2015-11-06 | 2017-05-17 | 天津三星电子有限公司 | Base and display |
| CN106678519B (en) * | 2015-11-06 | 2019-06-28 | 天津三星电子有限公司 | A base and a display |
| CN108612988A (en) * | 2018-04-19 | 2018-10-02 | 苏州佳世达电通有限公司 | Electronic device and its supporting rack |
| CN108612988B (en) * | 2018-04-19 | 2019-12-17 | 苏州佳世达电通有限公司 | Electronic device and support frame thereof |
Similar Documents
| Publication | Publication Date | Title |
|---|---|---|
| CN201084441Y (en) | Display support | |
| CN202058070U (en) | Notebook computer with adjustable-height display and variable-position keyboard | |
| CN205315976U (en) | TV set support with adjustable | |
| CN201106739Y (en) | Lifting rotating shaft | |
| CN203231037U (en) | A computer liquid crystal display stand capable of automatic lifting and manual angle adjustment | |
| CN201166238Y (en) | Multi-directional rotating flat-screen TV stand | |
| CN209340798U (en) | A kind of computer display of adjustable-angle | |
| CN203231036U (en) | Computer LCD monitor stand with automatic height adjustment and manual angle adjustment | |
| CN204494032U (en) | A kind of wall hung TV rack of remote-controlled adjustment height | |
| CN201126707Y (en) | Flat television bracket | |
| CN2937759Y (en) | wall hinge | |
| CN201739719U (en) | Ultrathin wall hanging | |
| CN209622429U (en) | A kind of intelligence rotary type liquid crystal display | |
| CN207316409U (en) | A kind of liquid crystal display mounting bracket based on technological service | |
| CN201650956U (en) | a telescopic arm | |
| CN201289620Y (en) | Notebook-type computer with collapsible pick-up head | |
| CN205824511U (en) | Telescopic expandable stent | |
| CN104361839B (en) | A kind of height-adjustable LCD display | |
| CN212745706U (en) | Liquid crystal display stabilizing support | |
| CN212805159U (en) | LED display screen fixing frame | |
| CN210402143U (en) | Height-adjustable liquid crystal computer display screen | |
| CN203336185U (en) | A flat electronic product base | |
| CN220320822U (en) | A multi-angle adjustable conference all-in-one machine | |
| CN218935906U (en) | A multimedia interactive display device | |
| CN205529371U (en) | Tape edge is apart from adjustable sewing machine |
Legal Events
| Date | Code | Title | Description |
|---|---|---|---|
| C14 | Grant of patent or utility model | ||
| GR01 | Patent grant | ||
| ASS | Succession or assignment of patent right |
Owner name: DONGGUAN GUANYE ELECTRONIC TECHNOLOGY CO., LTD. Free format text: FORMER OWNER: ZHANG JITAO Effective date: 20110121 |
|
| C41 | Transfer of patent application or patent right or utility model | ||
| COR | Change of bibliographic data |
Free format text: CORRECT: ADDRESS; FROM: 523000 NO. 50, HENGJIAO VILLAGE 5, SHIJIE, DONGGUAN CITY, GUANGDONG PROVINCE TO: 523000 NO. 1, DONGLAI ROAD, HENGJIAO VILLAGE, SHIJIE TOWN, DONGGUAN CITY, GUANGDONG PROVINCE |
|
| TR01 | Transfer of patent right |
Effective date of registration: 20110121 Address after: Shijie Zhen Heng Kau village East Rd 523000 Guangdong city of Dongguan province No. 1 Patentee after: DONGGUAN GUANYE ELECTRONIC TECHNOLOGY CO., LTD. Address before: 523000, No. five, fifty village, cross pit, Dongguan, Guangdong, Shijie Patentee before: Zhang Jitao |
|
| C56 | Change in the name or address of the patentee | ||
| CP01 | Change in the name or title of a patent holder |
Address after: Shijie Zhen Heng Kau village East Rd 523000 Guangdong city of Dongguan province No. 1 Patentee after: Dongguan Zhongke Guanteng Technology Co., Ltd. Address before: Shijie Zhen Heng Kau village East Rd 523000 Guangdong city of Dongguan province No. 1 Patentee before: DONGGUAN GUANYE ELECTRONIC TECHNOLOGY CO., LTD. |
|
| CX01 | Expiry of patent term |
Granted publication date: 20080827 |
