CN201002789Y - A bottle stopper with high airtightness and easy opening and closing - Google Patents
A bottle stopper with high airtightness and easy opening and closing Download PDFInfo
- Publication number
- CN201002789Y CN201002789Y CNU2007201235758U CN200720123575U CN201002789Y CN 201002789 Y CN201002789 Y CN 201002789Y CN U2007201235758 U CNU2007201235758 U CN U2007201235758U CN 200720123575 U CN200720123575 U CN 200720123575U CN 201002789 Y CN201002789 Y CN 201002789Y
- Authority
- CN
- China
- Prior art keywords
- bottle
- bottle stopper
- ring
- cap
- easy
- Prior art date
- Legal status (The legal status is an assumption and is not a legal conclusion. Google has not performed a legal analysis and makes no representation as to the accuracy of the status listed.)
- Expired - Fee Related
Links
- 241001411320 Eriogonum inflatum Species 0.000 title claims abstract description 20
- 238000007789 sealing Methods 0.000 abstract description 12
- 238000000034 method Methods 0.000 description 2
- 210000003205 muscle Anatomy 0.000 description 2
- 235000014101 wine Nutrition 0.000 description 2
- 235000013361 beverage Nutrition 0.000 description 1
- 230000035622 drinking Effects 0.000 description 1
- 238000005516 engineering process Methods 0.000 description 1
- 238000012856 packing Methods 0.000 description 1
- 235000020095 red wine Nutrition 0.000 description 1
- 230000007704 transition Effects 0.000 description 1
Images
Landscapes
- Closures For Containers (AREA)
Abstract
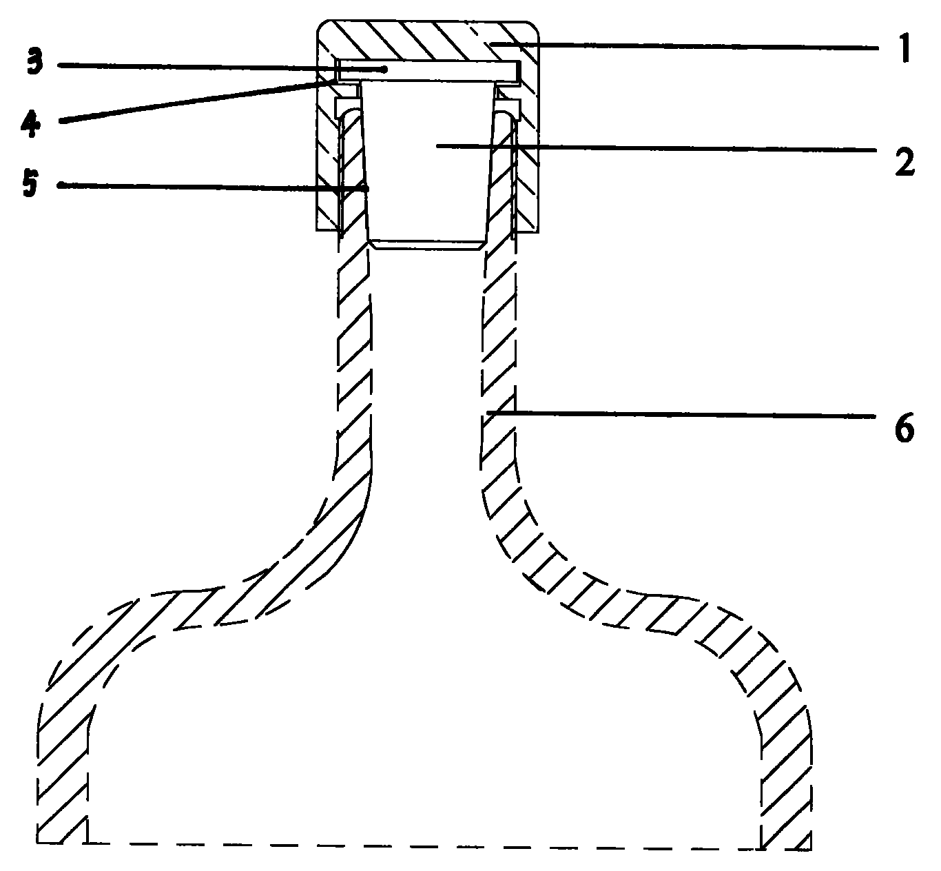
本实用新型的一种高密封、易开闭的瓶塞,由带有螺纹的盖环和带有锥面的高密封性的塞头组成。其中,塞头装于盖环内,塞头为上大下小的圆锥形,可与瓶颈紧密配合,锥面上有凸起环形筋,保证了较高的密封性能;盖环带有内螺纹,与瓶颈的外螺纹配合,使瓶塞开启和密封时容易提供上下之力。塞头与盖环连接,可随盖环的旋转而上下移动,这样在开启瓶盖时只需旋转盖环就可将瓶塞旋出瓶颈,而在再次密封时,只需将瓶盖反方向旋入,既方便开启,又具有高密封性。
The utility model relates to a bottle stopper with high airtightness and easy opening and closing. Among them, the plug head is installed in the cover ring. The plug head is conical with a large top and a small bottom, which can be closely matched with the bottle neck. There are raised ring ribs on the cone surface to ensure high sealing performance; the cover ring has internal threads. , Cooperate with the external thread of the bottle neck, so that it is easy to provide up and down force when the bottle stopper is opened and sealed. The plug is connected with the cap ring and can move up and down with the rotation of the cap ring, so that when opening the bottle cap, the bottle cap can be unscrewed out of the bottle neck only by rotating the cap ring, and when sealing again, only the bottle cap needs to be turned in the opposite direction Screw in, not only easy to open, but also has high sealing performance.
Description
Claims (3)
Priority Applications (1)
| Application Number | Priority Date | Filing Date | Title |
|---|---|---|---|
| CNU2007201235758U CN201002789Y (en) | 2007-02-12 | 2007-02-12 | A bottle stopper with high airtightness and easy opening and closing |
Applications Claiming Priority (1)
| Application Number | Priority Date | Filing Date | Title |
|---|---|---|---|
| CNU2007201235758U CN201002789Y (en) | 2007-02-12 | 2007-02-12 | A bottle stopper with high airtightness and easy opening and closing |
Publications (1)
| Publication Number | Publication Date |
|---|---|
| CN201002789Y true CN201002789Y (en) | 2008-01-09 |
Family
ID=39038329
Family Applications (1)
| Application Number | Title | Priority Date | Filing Date |
|---|---|---|---|
| CNU2007201235758U Expired - Fee Related CN201002789Y (en) | 2007-02-12 | 2007-02-12 | A bottle stopper with high airtightness and easy opening and closing |
Country Status (1)
| Country | Link |
|---|---|
| CN (1) | CN201002789Y (en) |
Cited By (6)
| Publication number | Priority date | Publication date | Assignee | Title |
|---|---|---|---|---|
| CN102249029A (en) * | 2011-07-22 | 2011-11-23 | 谭国忠 | Novel environment-friendly wine bottle |
| CN102897399A (en) * | 2012-09-22 | 2013-01-30 | 湖南东方威生物制品有限公司 | Bottle plug |
| CN106145013A (en) * | 2016-06-28 | 2016-11-23 | 京东方科技集团股份有限公司 | A kind of liquid transfer device and control method thereof |
| CN109080970A (en) * | 2018-11-05 | 2018-12-25 | 贵港市庄满园农业服务有限公司 | A kind of bottle stopper of integral type red wine bottle |
| CN113227745A (en) * | 2018-11-23 | 2021-08-06 | 隆萨有限公司 | Device and method for leak testing connections between rubber stoppers and corresponding medicament containers |
| US11499885B2 (en) | 2018-12-17 | 2022-11-15 | Lonza Ltd | Device and method for leakage testing of a connection between a rubber stopper and a corresponding drug container |
-
2007
- 2007-02-12 CN CNU2007201235758U patent/CN201002789Y/en not_active Expired - Fee Related
Cited By (9)
| Publication number | Priority date | Publication date | Assignee | Title |
|---|---|---|---|---|
| CN102249029A (en) * | 2011-07-22 | 2011-11-23 | 谭国忠 | Novel environment-friendly wine bottle |
| CN102897399A (en) * | 2012-09-22 | 2013-01-30 | 湖南东方威生物制品有限公司 | Bottle plug |
| CN106145013A (en) * | 2016-06-28 | 2016-11-23 | 京东方科技集团股份有限公司 | A kind of liquid transfer device and control method thereof |
| US10556787B2 (en) | 2016-06-28 | 2020-02-11 | Boe Technology Group Co., Ltd. | Liquid transfer apparatus and control method thereof |
| CN109080970A (en) * | 2018-11-05 | 2018-12-25 | 贵港市庄满园农业服务有限公司 | A kind of bottle stopper of integral type red wine bottle |
| CN113227745A (en) * | 2018-11-23 | 2021-08-06 | 隆萨有限公司 | Device and method for leak testing connections between rubber stoppers and corresponding medicament containers |
| US11346742B2 (en) | 2018-11-23 | 2022-05-31 | Lonza Ltd | Device and method for leakage testing of a connection between a rubber stopper and a corresponding drug container |
| US11499885B2 (en) | 2018-12-17 | 2022-11-15 | Lonza Ltd | Device and method for leakage testing of a connection between a rubber stopper and a corresponding drug container |
| US11852564B2 (en) | 2018-12-17 | 2023-12-26 | Lonza Ltd | Device and method for leakage testing of a connection between a rubber stopper and a corresponding drug container |
Similar Documents
| Publication | Publication Date | Title |
|---|---|---|
| CN201002789Y (en) | A bottle stopper with high airtightness and easy opening and closing | |
| CN209351883U (en) | A kind of pouring-in functional bottle cap of rotation | |
| CN201023789Y (en) | Sealed bottle top with straw | |
| CN201457810U (en) | Integrated bottle cup | |
| CN208037046U (en) | A kind of grape wine cork convenient for opening | |
| CN207434100U (en) | A kind of beverage bottle cover sealing mechanism | |
| CN201480405U (en) | a water bottle | |
| CN102502058B (en) | Glue bottle cap and glue bottle | |
| CN206842078U (en) | A kind of bottle closure | |
| CN201325666Y (en) | Wine bottle with multiply sealing structure | |
| CN206766669U (en) | Pressurize bottle cap | |
| CN202098649U (en) | Sealing structure for mouth of shampoo bottle | |
| CN218143212U (en) | Combined bottle cap | |
| CN202492008U (en) | Sealing cover | |
| CN205675441U (en) | Bottle cap sealing structure | |
| CN206278439U (en) | A push-pull cover structure | |
| CN220536412U (en) | Beverage bottle with hole on bottle cap | |
| CN202508421U (en) | Dual-seal bottle cap | |
| CN201634390U (en) | Dual purpose opener for wine bottle corks | |
| CN202449353U (en) | Novel wine bottle cap | |
| CN208683442U (en) | A kind of red wine tank | |
| CN206288434U (en) | Sealing wine bottle cover | |
| CN212448440U (en) | A new type of glass bottle cap | |
| CN213263351U (en) | Innovative beverage packaging bottle with straw | |
| CN201942493U (en) | Decap frictional cap |
Legal Events
| Date | Code | Title | Description |
|---|---|---|---|
| C14 | Grant of patent or utility model | ||
| GR01 | Patent grant | ||
| C17 | Cessation of patent right | ||
| CF01 | Termination of patent right due to non-payment of annual fee |
Granted publication date: 20080109 |
