CN116260069A - A device, system and method for hanging and removing grounding wires - Google Patents

A device, system and method for hanging and removing grounding wires Download PDF

Info

Publication number
CN116260069A
CN116260069A CN202211346985.4A CN202211346985A CN116260069A CN 116260069 A CN116260069 A CN 116260069A CN 202211346985 A CN202211346985 A CN 202211346985A CN 116260069 A CN116260069 A CN 116260069A
Authority
CN
China
Prior art keywords
wire
ground wire
clamping
ground
assembly
Prior art date
Legal status (The legal status is an assumption and is not a legal conclusion. Google has not performed a legal analysis and makes no representation as to the accuracy of the status listed.)
Pending
Application number
CN202211346985.4A
Other languages
Chinese (zh)
Inventor
蔡焕青
邵瑰玮
文志科
付晶
刘壮
周立玮
谈家英
胡霁
杨宁
陈怡�
曾云飞
Current Assignee (The listed assignees may be inaccurate. Google has not performed a legal analysis and makes no representation or warranty as to the accuracy of the list.)
China Electric Power Research Institute Co Ltd CEPRI
Original Assignee
China Electric Power Research Institute Co Ltd CEPRI
Priority date (The priority date is an assumption and is not a legal conclusion. Google has not performed a legal analysis and makes no representation as to the accuracy of the date listed.)
Filing date
Publication date
Application filed by China Electric Power Research Institute Co Ltd CEPRI filed Critical China Electric Power Research Institute Co Ltd CEPRI
Priority to CN202211346985.4A priority Critical patent/CN116260069A/en
Publication of CN116260069A publication Critical patent/CN116260069A/en
Pending legal-status Critical Current

Links

Images

Classifications

    • HELECTRICITY
    • H02GENERATION; CONVERSION OR DISTRIBUTION OF ELECTRIC POWER
    • H02GINSTALLATION OF ELECTRIC CABLES OR LINES, OR OF COMBINED OPTICAL AND ELECTRIC CABLES OR LINES
    • H02G1/00Methods or apparatus specially adapted for installing, maintaining, repairing or dismantling electric cables or lines
    • H02G1/02Methods or apparatus specially adapted for installing, maintaining, repairing or dismantling electric cables or lines for overhead lines or cables
    • HELECTRICITY
    • H02GENERATION; CONVERSION OR DISTRIBUTION OF ELECTRIC POWER
    • H02GINSTALLATION OF ELECTRIC CABLES OR LINES, OR OF COMBINED OPTICAL AND ELECTRIC CABLES OR LINES
    • H02G1/00Methods or apparatus specially adapted for installing, maintaining, repairing or dismantling electric cables or lines
    • H02G1/02Methods or apparatus specially adapted for installing, maintaining, repairing or dismantling electric cables or lines for overhead lines or cables
    • H02G1/04Methods or apparatus specially adapted for installing, maintaining, repairing or dismantling electric cables or lines for overhead lines or cables for mounting or stretching
    • HELECTRICITY
    • H02GENERATION; CONVERSION OR DISTRIBUTION OF ELECTRIC POWER
    • H02GINSTALLATION OF ELECTRIC CABLES OR LINES, OR OF COMBINED OPTICAL AND ELECTRIC CABLES OR LINES
    • H02G7/00Overhead installations of electric lines or cables
    • H02G7/05Suspension arrangements or devices for electric cables or lines
    • H02G7/06Suspensions for lines or cables along a separate supporting wire, e.g. S-hook
    • H02G7/08Members clamped to the supporting wire or to the line or cable

Landscapes

  • Load-Engaging Elements For Cranes (AREA)

Abstract

The invention provides a grounding wire hanging and detaching device, a grounding wire hanging and detaching system and a grounding wire hanging and detaching method. The device comprises: the wire clamping assembly and the ground wire dismantling and fixing assembly; wherein, the ground wire is torn down and is fixed the subassembly and set up on the wire clamping subassembly. The invention is hung on the unmanned aerial vehicle through the wire clamping component, so as to be hung on the wire along with the unmanned aerial vehicle, and the wire clamping component is clamped on the wire in a detachable mode when the unmanned aerial vehicle releases the wire clamping component; the ground wire is hung on the wire through the ground wire fixing assembly along with the wire fixing assembly, and the ground wire can be lifted and pulled to the wire fixing assembly, so that the ground wire is grounded, the whole process of operation does not need personnel to climb a tower, the flexibility, reliability and safety of the ground wire hanging and dismounting are greatly improved, the high-altitude fall and induction electric shock risks are reduced, the operation is intelligent and the automation degree is high, and the problems that the existing ground wire hanging and dismounting height is limited and the high-altitude operation is inconvenient are solved.

Description

一种接地线挂拆装置、系统及方法A device, system and method for hanging and removing grounding wires

技术领域technical field

本发明涉及电力线挂拆技术领域,具体而言,涉及一种接地线挂拆装置、系统及方法。The present invention relates to the technical field of power line hanging and detaching, in particular to a grounding wire hanging and detaching device, system and method.

背景技术Background technique

在电力设备检修或工程施工等技术领域,开展作业前需先将接地线进行接地,以避免感应电压伤人及意外来电伤害。成套接地线有几米至几十米长、几十千克重,比如1000kV特高压输电线路的接地线长度可达40m、重量达10kg,但目前仍主要由作业人员登塔(杆)完成高空挂接,作业人员劳动强度大,不易挂接和拆除,且具有高空跌落及感应触电风险。In technical fields such as power equipment maintenance or engineering construction, the grounding wire must be grounded before carrying out operations to avoid injuries caused by induced voltage and accidental calls. A complete set of grounding wires is several meters to tens of meters long and weighs tens of kilograms. For example, the length of the grounding wire of a 1000kV UHV transmission line can reach 40m and the weight can reach 10kg. , The labor intensity of the operators is high, it is not easy to mount and dismantle, and there is a risk of falling from a high altitude and inductive electric shock.

发明内容Contents of the invention

鉴于此,本发明提出了一种接地线挂拆装置、系统及方法,旨在解决现有接地线挂拆高度有限、高空作业作业较为不便的问题。In view of this, the present invention proposes a device, system and method for hanging and removing grounding wires, aiming at solving the problems of limited height for hanging and removing grounding wires and inconvenient high-altitude operations.

一方面,本发明提出了一种接地线挂拆装置,该装置包括:导线夹固组件和地线拆固组件;其中,所述导线夹固组件用于挂取在无人机上,以随无人机挂在导线上,并在无人机释放所述导线夹固组件的同时,所述导线夹固组件以能够拆卸的方式夹固在所述导线上;所述地线拆固组件设置在所述导线夹固组件上,用于随所述导线夹固组件挂在所述导线上,并能够提拉接地线至所述导线夹固组件上,以实现导线的接地。On the one hand, the present invention proposes a grounding wire hanging and detaching device, which includes: a wire clamping component and a grounding wire clamping component; The man-machine is hung on the wire, and when the UAV releases the wire clamping assembly, the wire clamping assembly is clamped on the wire in a detachable manner; The wire clamping assembly is used to hang on the wire together with the wire clamping assembly, and can pull the grounding wire to the wire clamping assembly to realize the grounding of the wire.

进一步地,上述接地线挂拆装置,所述导线夹固组件包括:挂接主体、挂取件、滑动件和夹固钳;其中,所述滑动件以能够相对于所述挂接主体进行滑动的方式设置在所述挂接主体上,所述挂取件设置在所述滑动件的上方且与所述滑动件相连接,所述夹固钳设置在所述挂接主体上,所述夹固钳还与所述滑动件相连接,并且,所述夹固钳上设有复位弹簧,用于在所述夹固钳处于释放状态时施加复位力至所述夹固钳上,以使所述夹固钳复位至闭合状态;所述挂取件挂接在无人机时,在无人机的提拉作用下施加向上的作用力至所述滑动件上,以使所述滑动件相对于所述挂接主体向上滑动,并施加张开力至所述夹固钳上,使得所述夹固钳张开,以使导线自张开处进入所述挂接主体的夹固槽内;在无人机释放所述挂取件后,所述滑动件在重力的作用下向下移动以复位,并释放所述夹固钳,以使所述夹固钳闭合,进而将导线封锁夹固在所述夹固槽处。Further, in the above-mentioned grounding wire hanging and dismounting device, the wire clamping assembly includes: a hooking main body, a hooking piece, a sliding piece and a clamping pliers; wherein, the sliding piece can slide relative to the hooking main body set on the hooking main body in a manner, the hanging piece is arranged above the sliding piece and connected with the sliding piece, the clamping pliers is set on the hanging main body, the clip The clamps are also connected to the slide, and the clamps are provided with a return spring for applying a reset force to the clamps when the clamps are in a released state, so that the clamps The clamping pliers are reset to the closed state; when the hanging part is hooked on the drone, an upward force is applied to the sliding part under the lifting action of the drone, so that the sliding part is relatively Slide upward on the hooking body, and apply an opening force to the clamping pliers, so that the clamping pliers are opened, so that the wire enters the clamping groove of the hooking main body from the opening; After the man-machine releases the hanging part, the sliding part moves downward under the action of gravity to reset, and releases the clamping clamp, so that the clamping clamp is closed, and then the wire is blocked and clamped on the clamping part. at the clamping slot.

进一步地,上述接地线挂拆装置,所述夹固钳包括:两个夹固钳本体;其中,两个所述夹固钳本体相对设置,并且,两个所述夹固钳本体相铰接,用于相对转动,能够张开使得导线能够进入两个所述夹固钳本体之间,还能够闭合将导线封锁夹固在两个所述夹固钳本体之间。Further, in the above-mentioned grounding wire hanging and removing device, the clamping pliers include: two clamping pliers bodies; wherein, the two clamping pliers bodies are arranged opposite to each other, and the two clamping pliers bodies are hinged, For relative rotation, it can be opened so that the wire can enter between the two clamp bodies, and it can also be closed to clamp the wire between the two clamp bodies.

进一步地,上述接地线挂拆装置,各所述夹固钳本体上还设有卡扣档杆,所述卡扣档杆的一端可转动地连接在所述夹固钳本体上,另一端与所述夹固钳本体可滑动地相连接,用于抵接在另一个所述夹固钳本体上的卡扣档杆上,以使两个卡扣档杆相抵接,以对两个所述夹固钳本体之间的缝隙进行封锁;所述卡扣档杆还与所述滑动件相连接,用于在所述滑动件的作用下带动所述夹固钳本体转动,以使所述夹固钳本体张开。Further, in the above-mentioned grounding wire hanging and dismounting device, each clamp body is also provided with a buckle lever, one end of the buckle lever is rotatably connected to the clamp body, and the other end is connected to the clamp body. The clamping pliers body is slidably connected, and is used to abut against the buckle bar on the other clamping pliers body, so that the two buckle bars abut against each other, so that the two buckle bars can be abutted against each other. The gap between the clamping pliers body is blocked; the buckle bar is also connected with the sliding piece, and is used to drive the clamping pliers body to rotate under the action of the sliding piece, so that the clamping pliers The clamp body is opened.

进一步地,上述接地线挂拆装置,所述卡扣档杆和所述夹固钳本体之间还设有复位弹片,用于施加复位力至所述卡扣档杆上,以使所述卡扣档杆复位至抵接在另一卡扣档杆上。Further, in the above-mentioned grounding wire hanging and removing device, a reset shrapnel is also provided between the buckle bar and the clamp body, which is used to apply a reset force to the buckle bar, so that the snap The buckle lever is reset to abut against another buckle lever.

进一步地,上述接地线挂拆装置,所述地线拆固组件包括:地线解锁件和地线卡钩;其中,所述地线解锁件与所述地线卡钩相连接,用于将所述地线卡钩锁定在所述地线解锁件的锁定位置处;所述地线解锁件连接有解锁驱动件,用于施加作用力至所述地线解锁件上,以解锁对所述地线卡钩的锁定;所述地线卡钩连接有牵引件,用于施加牵引力至所述地线卡钩上,以在所述地线解锁件解锁对所述地线卡钩的锁定后,所述地线卡钩在所述牵引件的牵引力作用下上下移动,进而在所述地线卡钩向下移动至地面处后连接接地线,并使得接地线随所述地线卡钩向上移动至锁定位置处,并通过所述地线解锁件锁定在锁定位置处,实现所述接地线的挂接。Further, in the above-mentioned ground wire hanging and dismounting device, the ground wire removal assembly includes: a ground wire unlocking part and a ground wire hook; wherein, the ground wire unlocking part is connected with the ground wire hook for The ground wire hook is locked at the locking position of the ground wire unlocking part; the ground wire unlocking part is connected with an unlocking driving part for applying force to the ground wire unlocking part to unlock the ground wire unlocking part. Locking of the ground wire hook; the ground wire hook is connected with a traction member for applying traction to the ground wire hook, so that after the ground wire unlocking member unlocks the ground wire hook , the ground wire hook moves up and down under the traction force of the traction member, and then connects the ground wire after the ground wire hook moves down to the ground, and makes the ground wire go up with the ground wire hook Move to the locking position, and lock at the locking position through the unlocking part of the ground wire, so as to realize the hooking of the ground wire.

进一步地,上述接地线挂拆装置,所述地线解锁件包括:地线卡盒、右夹块和左夹块;其中,所述右夹块和所述左夹块中的至少一个以能够移动的方式设置在所述地线卡盒内,并且,所述右夹块和所述左夹块中的至少一个与所述解锁驱动件相连接,用于在所述解锁驱动件的作用下,所述右夹块和所述左夹块相背运动,以实现对所述地线卡钩的解锁。Further, in the above-mentioned ground wire hanging and removing device, the ground wire unlocking member includes: a ground wire card box, a right clamping block and a left clamping block; wherein, at least one of the right clamping block and the left clamping block can be The way of moving is set in the ground wire card box, and at least one of the right clamping block and the left clamping block is connected with the unlocking driving member, so that under the action of the unlocking driving member, , the right clamping block and the left clamping block move away from each other, so as to realize the unlocking of the ground wire hook.

进一步地,上述接地线挂拆装置,所述地线卡盒的底部设有喇叭口结构,用于对所述地线卡钩进出所述地线卡盒进行导向。Further, in the above-mentioned grounding wire hanging and detaching device, the bottom of the ground wire cassette is provided with a bell mouth structure, which is used to guide the entry and exit of the ground wire hook into and out of the ground wire cassette.

进一步地,上述接地线挂拆装置,所述牵引件为牵引绳,所述解锁驱动件为地线解锁绳;所述地线解锁件设置在所述导线夹固组件的第一侧,所述牵引绳的一端与所述地线卡钩相连接,并向上延伸至所述导线夹固组件处,自所述导线夹固组件内绕过至所述导线夹固组件的第二侧,以使所述牵引绳位于所述导线夹固组件第二侧的另一端作为牵引端,使得所述牵引端和所述地线卡钩分别置于导线的两侧;所述地线解锁绳的一端与所述地线解锁件相连接,并向上延伸至所述导线夹固组件的顶部,自所述导线夹固组件的顶部绕过至所述导线夹固组件的第二侧,以使所述地线解锁绳位于所述导线夹固组件第二侧的另一端作为解锁驱动端,使得所述解锁驱动端和所述地线卡钩分别置于导线的两侧。Further, in the above-mentioned ground wire hanging and removing device, the traction member is a traction rope, and the unlocking driving member is a ground wire unlocking rope; the ground wire unlocking member is arranged on the first side of the wire clamping assembly, and the One end of the traction rope is connected with the ground wire hook, and extends upwards to the wire clamping assembly, and bypasses from the inside of the wire clamping assembly to the second side of the wire clamping assembly, so that The other end of the traction rope located on the second side of the wire clamping assembly is used as a traction end, so that the traction end and the ground wire hook are respectively placed on both sides of the conductor; one end of the ground wire unlocking rope is connected to the The ground wire unlocking member is connected and extends upward to the top of the wire clamping assembly, and bypasses from the top of the wire clamping assembly to the second side of the wire clamping assembly, so that the ground wire The other end of the wire unlocking rope located on the second side of the wire clamping assembly is used as an unlocking driving end, so that the unlocking driving end and the ground wire hook are respectively placed on two sides of the wire.

进一步地,上述接地线挂拆装置,所述地线卡钩上设有连接孔,用于连接配重件,以使所述地线卡钩在解锁状态下能够在所述配重件的重力作用下向下移动至地面处,以连接接地线。Further, in the above-mentioned grounding wire hanging and dismounting device, the ground wire hook is provided with a connection hole for connecting the counterweight, so that the ground wire hook can be released under the gravity of the counterweight in the unlocked state. Move down to the ground under action to connect the ground wire.

另一方面,本发明提出了一种接地线挂拆系统,该系统设置有上述接地线挂拆装置。On the other hand, the present invention provides a system for hanging and removing the ground wire, which system is provided with the above-mentioned device for hanging and removing the ground wire.

进一步地,上述接地线挂拆系统,该系统还包括:无人机,所述无人机上设有连接件,用于钩挂所述接地线挂拆装置,以携带所述接地线挂拆装置进行飞行;图像采集器,设置在所述无人机上,用于获取所述接地线挂拆装置与导线之间的相对位置,以基于两者之间的相对位置控制无人机的飞行。Further, the above-mentioned grounding wire hanging and dismounting system, the system also includes: a drone, and the drone is provided with a connector for hooking the ground wire hanging and dismounting device to carry the ground wire hanging and dismounting device Flying; the image collector is arranged on the UAV, and is used to obtain the relative position between the grounding wire hanging device and the wire, so as to control the flight of the UAV based on the relative position between the two.

进一步地,上述接地线挂拆系统,所述连接件包括:连接件本体,其两端分别与所述无人机的两个脚架相连接;多爪挂钩,固定端设置在所述连接件本体上,钩挂端为多爪结构,用于挂取所述接地线挂拆装置。Further, in the above-mentioned ground wire hanging and dismounting system, the connector includes: the connector body, the two ends of which are respectively connected to the two tripods of the drone; the multi-claw hook, the fixed end of which is set on the connector On the main body, the hooking end is a multi-claw structure, which is used to hook up the grounding wire hooking and dismounting device.

再一方面,本发明提出了一种接地线挂拆方法,该方法采用上述接地线挂拆装置,所述挂拆方法包括如下步骤:安装步骤,将导线夹固组件挂取在无人机上;爬升步骤,通过无人机飞行携带导线夹固组件和地线拆固组件起飞并爬升,直至无人机飞至超过导线挂接位置高度处进行悬停;导线夹固步骤,通过无人机携带导线夹固组件和地线拆固组件水平飞行,直至导线的上方,并通过无人机携带导线夹固组件和地线拆固组件下降,直至导线夹固组件挂在导线上,通过无人机释放导线夹固组件,使得导线夹固组件夹固在所述导线上;地线挂接步骤,释放地线拆固组件,以使地线拆固组件相对于所述导线夹固组件向下移动至地面,将接地线的一端线夹固定,另一端与地线拆固组件固定并锁紧,将地线拆固组件携带接地线向上移动至导线夹固组件处,并锁定在导线夹固组件上,实现导线的接地。In another aspect, the present invention proposes a method for hanging and removing the ground wire. The method adopts the above-mentioned device for hanging and removing the ground wire. The method includes the following steps: the installation step is to hang the wire clamping assembly on the drone; In the climbing step, the UAV carries the wire clamping assembly and the ground wire removal assembly to take off and climb until the UAV flies to a height higher than the wire mounting position for hovering; the wire clamping step is carried by the UAV The wire clamping assembly and the ground wire removal assembly fly horizontally until the top of the wire, and the drone carries the wire clamping assembly and the ground wire removal assembly down until the wire clamping assembly hangs on the wire, and passes through the drone releasing the wire clamping assembly, so that the wire clamping assembly is clamped on the wire; the ground wire hooking step, releasing the ground wire clamping assembly, so that the ground wire clamping assembly moves downward relative to the wire clamping assembly To the ground, fix one end of the ground wire with a clamp, and fix and lock the other end with the ground wire removal assembly, move the ground wire removal assembly with the ground wire up to the wire clamp assembly, and lock it in the wire clamp assembly On, realize the grounding of the wire.

进一步地,上述接地线挂拆方法,所述释放地线拆固组件,以使地线拆固组件相对于所述导线夹固组件向下移动至地面,具体为:提拉地线解锁绳,释放地线解锁件对地线卡钩的锁定,在配重件的牵引下释放地线卡钩,使得地线卡钩向下移动至地面。Further, in the above-mentioned method for hanging and removing the ground wire, the release of the ground wire release assembly, so that the ground wire release assembly moves down to the ground relative to the wire clamping assembly, specifically: pulling the ground wire unlocking rope, Release the locking of the ground wire unlocking part to the ground wire hook, and release the ground wire hook under the traction of the counterweight, so that the ground wire hook moves down to the ground.

进一步地,上述接地线挂拆方法,所述将地线拆固组件携带接地线向上移动至导线夹固组件处,并锁定在导线夹固组件上,具体为:拉动牵引绳,使得牵引绳拉动地线卡钩向上提拉至右夹块和左夹块之间,释放地线解锁绳,使得右夹块和左夹块相对移动以夹持并锁定地线卡钩。Further, in the above-mentioned method for hanging and disassembling the ground wire, the ground wire removal assembly carrying the ground wire is moved upwards to the wire clamping assembly and locked on the wire clamping assembly, specifically: pulling the traction rope so that the traction rope pulls The ground wire hook is pulled up between the right clamping block and the left clamping block, and the ground wire unlocking rope is released, so that the right clamping block and the left clamping block move relatively to clamp and lock the ground wire hook.

进一步地,上述接地线挂拆方法,在所述地线挂接步骤之后,还包括如下步骤:拆卸步骤,释放地线拆固组件,以使地线拆固组件携带接地线相对于所述导线夹固组件向下移动至地面,拆开接地线与地线拆固组件的锁紧,并驱动地线拆固组件相对于所述导线夹固组件向上移动至导线夹固组件处并锁定,通过无人机挂取导线夹固组件,并携带导线夹固组件和地线拆固组件起飞并降落,实现接地线的拆除。Further, the above-mentioned method for hanging and removing the ground wire, after the step of connecting the ground wire, further includes the following steps: a dismounting step, releasing the ground wire detachment assembly, so that the ground wire detachment assembly carries the ground wire relative to the wire The clamping assembly moves down to the ground, disengages the locking of the ground wire and the ground wire release assembly, and drives the ground wire release assembly to move upward relative to the wire clamp assembly to the wire clamp assembly and locks, through The UAV hangs the wire clamping assembly, takes off and lands with the wire clamping assembly and the ground wire removal assembly, and realizes the removal of the ground wire.

本发明提供的接地线挂拆装置、系统及方法,通过导线夹固组件挂取在无人机上,以随无人机挂在导线上,并在无人机释放导线夹固组件的同时,导线夹固组件以能够拆卸的方式夹固在导线上;通过地线拆固组件随导线夹固组件挂在导线上,并能够提拉接地线至导线夹固组件上,以实现导线的接地,作业全程不需要人员登塔,极大提升了接地线挂拆的灵活性、可靠性和安全性,减少了高空跌落及感应触电风险,作业智能化和自动化程度高,解决了现有接地线挂拆高度有限、高空作业作业较为不便的问题。The grounding wire hanging and detaching device, system and method provided by the present invention are hung on the UAV through the wire clamping assembly, so as to hang on the wire with the UAV, and when the UAV releases the wire clamping assembly, the wire The clamping component is clamped on the wire in a detachable manner; through the ground wire, the clamping component is hung on the wire with the clamping component of the wire, and the grounding wire can be pulled to the clamping component of the wire to realize the grounding of the wire. The whole process does not require personnel to climb the tower, which greatly improves the flexibility, reliability and safety of the grounding wire hanging and removing, reduces the risk of falling from high altitude and inductive electric shock, and has a high degree of intelligent and automatic operation, which solves the problem of the existing grounding wire hanging and removing The problem of limited height and inconvenient high-altitude operations.

附图说明Description of drawings

通过阅读下文优选实施方式的详细描述,各种其他的优点和益处对于本领域普通技术人员将变得清楚明了。附图仅用于示出优选实施方式的目的,而并不认为是对本发明的限制。而且在整个附图中,用相同的参考符号表示相同的部件。在附图中:Various other advantages and benefits will become apparent to those of ordinary skill in the art upon reading the following detailed description of the preferred embodiment. The drawings are only for the purpose of illustrating a preferred embodiment and are not to be considered as limiting the invention. Also throughout the drawings, the same reference numerals are used to designate the same components. In the attached picture:

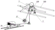
图1为本发明实施例提供的接地线挂拆系统的结构示意图;Fig. 1 is a schematic structural diagram of a grounding wire hanging and detaching system provided by an embodiment of the present invention;

图2为本发明实施例提供的接地线挂拆装置的结构示意图;Fig. 2 is a schematic structural diagram of a grounding wire hanging and detaching device provided by an embodiment of the present invention;

图3为本发明实施例提供的接地线挂拆装置挂接在导线上的结构示意图;Fig. 3 is a structural schematic diagram of the grounding wire hooking and detaching device provided by the embodiment of the present invention hooked on the wire;

图4为本发明实施例提供的接地线挂拆装置的剖视图;Fig. 4 is a cross-sectional view of the grounding wire hanging and detaching device provided by the embodiment of the present invention;

图5为本发明实施例提供的挂接主体的结构示意图;Fig. 5 is a schematic structural diagram of the articulated main body provided by the embodiment of the present invention;

图6为本发明实施例提供的滑动件的结构示意图;Fig. 6 is a schematic structural diagram of a slider provided by an embodiment of the present invention;

图7为本发明实施例提供的夹固钳的结构示意图;Fig. 7 is a schematic structural view of the clamping pliers provided by the embodiment of the present invention;

图8为本发明实施例提供的地线解锁件和地线卡钩锁定的结构示意图;Fig. 8 is a structural schematic diagram of the ground wire unlocking member and the ground wire hook locking provided by the embodiment of the present invention;

图9为本发明实施例提供的接地线挂拆方法的流程框图;Fig. 9 is a block flow diagram of a method for attaching and detaching a grounding wire according to an embodiment of the present invention;

图10为本发明实施例提供的接地线挂拆方法的流程框图。Fig. 10 is a flow chart of a method for hanging and detaching a ground wire according to an embodiment of the present invention.

具体实施方式Detailed ways

下面将参照附图更详细地描述本公开的示例性实施例。虽然附图中显示了本公开的示例性实施例,然而应当理解,可以以各种形式实现本公开而不应被这里阐述的实施例所限制。相反,提供这些实施例是为了能够更透彻地理解本公开,并且能够将本公开的范围完整的传达给本领域的技术人员。需要说明的是,在不冲突的情况下,本发明中的实施例及实施例中的特征可以相互组合。下面将参考附图并结合实施例来详细说明本发明。Exemplary embodiments of the present disclosure will be described in more detail below with reference to the accompanying drawings. Although exemplary embodiments of the present disclosure are shown in the drawings, it should be understood that the present disclosure may be embodied in various forms and should not be limited by the embodiments set forth herein. Rather, these embodiments are provided for more thorough understanding of the present disclosure and to fully convey the scope of the present disclosure to those skilled in the art. It should be noted that, in the case of no conflict, the embodiments of the present invention and the features in the embodiments can be combined with each other. The present invention will be described in detail below with reference to the accompanying drawings and examples.

系统实施例:System embodiment:

参见图1,其示出了本发明实施例提供的接地线挂拆系统的优选结构。如图所示,该挂拆系统包括:接地线挂拆装置100和无人机200;其中,接地线挂拆装置100以能够拆卸的方式挂取在无人机200,用于随无人机200飞行,以挂拆至导线300上,进而将接地线(图中未示出)挂接至导线300上,实现导线300的接地。Referring to FIG. 1 , it shows a preferred structure of the grounding wire hooking and removing system provided by the embodiment of the present invention. As shown in the figure, the hanging and removing system includes: a grounding wire hanging and removing device 100 and a drone 200; wherein, the grounding wire hanging and removing device 100 is detachably mounted on the drone 200 for use with the drone. 200 to fly, to hang and detach it to the wire 300, and then hook the grounding wire (not shown in the figure) to the wire 300 to realize the grounding of the wire 300.

具体实施时,无人机200携带接地线挂拆装置100进行飞行,可自地面飞行至导线300上,以使接地线挂拆装置100可以挂拆至导线300上,并可将接地线提拉以锁紧至接地线挂拆装置100上,实现导线300的接地。在本实施例中,无人机200上还设有图像采集器(图中未示出),用于获取接地线挂拆装置100与导线300之间的相对位置,以基于两者之间的相对位置控制无人机200的飞行,以使接地线挂拆装置100准确地卡固至导线300上。During specific implementation, the UAV 200 carries the grounding wire hanging and detaching device 100 to fly, and can fly from the ground to the wire 300, so that the grounding wire hanging and detaching device 100 can be mounted on the wire 300, and the grounding wire can be pulled The grounding of the wire 300 is realized by locking to the grounding wire hanging device 100 . In this embodiment, the UAV 200 is also provided with an image collector (not shown in the figure), which is used to obtain the relative position between the grounding wire hanging device 100 and the wire 300, so as to The relative position controls the flight of the UAV 200 , so that the ground wire hanger 100 is accurately fastened to the wire 300 .

在本实施例中,如图1所示,无人机200上设有连接件210,用于钩挂接地线挂拆装置100,以携带接地线挂拆装置100进行飞行。具体地,连接件210能够直接钩挂接地线挂拆装置100,便于接地线挂拆装置100的卡固和拆卸,即实现接地线挂拆装置100与无人机200之间的锁定和脱离,进而便于高空中两者的连接和脱离,从而便于接地线挂拆装置100高空挂拆,避免了施工作业人员的高空作业。连接件210用于无人机200与接地线挂拆装置100的连接固定,连接件210的一端与无人机200的两个脚架相连接,另一端与接地线挂拆装置100的挂取件12相连接,实现无人机与接地线挂拆装置100的快速拆挂。In this embodiment, as shown in FIG. 1 , the UAV 200 is provided with a connecting piece 210 for hooking the ground wire hanger and detachment device 100 so as to carry the ground wire hanger and detachment device 100 for flight. Specifically, the connector 210 can be directly hooked to the ground wire hanger and detachment device 100 to facilitate the fastening and disassembly of the ground wire hanger and detachment device 100, that is, to realize the locking and disengagement between the ground wire hanger and detachment device 100 and the UAV 200, Furthermore, it is convenient for the connection and disengagement of the two in the high altitude, thereby facilitating the high-altitude hanging and dismounting of the ground wire hanging and detaching device 100, and avoiding the high-altitude operation of the construction workers. The connecting piece 210 is used for connecting and fixing the UAV 200 and the grounding wire hanging and dismounting device 100. One end of the connecting piece 210 is connected with the two tripods of the UAV 200, and the other end is connected with the grounding wire hanging and dismounting device 100. 12 is connected to realize the quick detachment and detachment of the UAV and the ground wire detachment device 100.

继续参见图1,连接件210包括:连接件本体211和多爪挂钩212;其中,连接件本体211的两端(如图1所示的左右两端)分别与无人机200的两个脚架相连接;多爪挂钩212的固定端(如图1所示的顶端)设置在连接件本体211上,钩挂端(如图1所示的底端)为多爪结构,用于挂取接地线挂拆装置100。Continuing to refer to FIG. 1, the connector 210 includes: a connector body 211 and a multi-claw hook 212; wherein, the two ends of the connector body 211 (the left and right ends as shown in FIG. 1 ) are connected to the two feet of the drone 200 respectively. The fixed end of the multi-claw hook 212 (the top as shown in Figure 1) is set on the connector body 211, and the hook end (the bottom as shown in Figure 1) is a multi-claw structure for hanging The grounding wire hanging device 100.

具体实施时,连接件多爪挂钩212采用“多爪”型结构设计,比如:“三爪”型、“四爪”型、“五爪”型等多爪设计结构,实现连接可靠、不易滑脱,又可对无人机受力进行缓冲,使无人机飞行不受限制、灵活性强,解决了硬质支架连接、绳索连接等连接方式存在的现场操作繁琐、不便于快速拆挂、操作不灵活等问题。During specific implementation, the multi-claw hook 212 of the connector adopts a "multi-claw" structure design, such as: "three-claw" type, "four-claw" type, "five-claw" type and other multi-claw design structures to achieve reliable connection and not easy to slip off , and can buffer the force of the UAV, so that the flight of the UAV is not restricted and the flexibility is strong. inflexibility etc.

继续参见图1至图4,该接地线挂拆装置100包括:导线夹固组件1和地线拆固组件2;其中,导线夹固组件1用于挂取在无人机200上,以随无人机200挂在导线300上,并在无人机200释放导线夹固组件1的同时,导线夹固组件1以能够拆卸的方式夹固在导线300上;地线拆固组件2设置在导线夹固组件1上,用于随导线夹固组件1挂在导线300上,并能够提拉接地线至导线夹固组1件上,以实现导线300的接地。Continuing to refer to FIGS. 1 to 4, the grounding wire hanging and removing device 100 includes: a wire clamping assembly 1 and a grounding wire removing and securing assembly 2; The UAV 200 is hung on the wire 300, and when the UAV 200 releases the wire clamping assembly 1, the wire clamping assembly 1 is clamped on the wire 300 in a detachable manner; The wire clamping assembly 1 is used to hang on the wire 300 with the wire clamping assembly 1 , and can pull the grounding wire to the wire clamping assembly 1 to realize the grounding of the wire 300 .

具体实施时,导线夹固组件1和地线拆固组件2相连接,如图2所示,导线夹固组件1能够钩挂在无人机200的连接件210上,以便于通过控制无人机200搭载挂该接地线挂拆装置100移动升空,实现该接地线挂拆装置100与导线300尤其是高空导线的连接和脱离。其中,地线拆固组件2以能够相对于导线夹固组件1进行位置移动的方式设置在导线夹固组件1上,用于随导线夹固组件1挂在导线300上,并能够相对于导线夹固组件2移动,以移动至地面上挂接接地线,带动接地线移动即提拉并锁定在导线夹固组件1上,实现导线300的接地。也就是说,可以在地面即可实现接地线的连接,亦可实现接地线的拆卸,避免高空作业。During specific implementation, the wire clamping assembly 1 is connected to the ground wire dismantling assembly 2. As shown in FIG. The machine 200 is equipped with the ground wire hanger and detachment device 100 to move into the air, so as to realize the connection and detachment of the ground wire hanger and detachment device 100 with the wire 300, especially the high-altitude wire. Wherein, the ground wire dismantling assembly 2 is arranged on the wire clamping assembly 1 in a manner that can move relative to the wire clamping assembly 1, and is used to hang on the wire 300 with the wire clamping assembly 1, and can move relative to the wire The clamping assembly 2 moves to move to the ground to hook the grounding wire, and drives the grounding wire to move, that is, lift and lock it on the wire clamping assembly 1 to realize the grounding of the wire 300 . That is to say, the connection of the grounding wire can be realized on the ground, and the disassembly of the grounding wire can also be realized, so as to avoid working at heights.

继续参见图2和图4,导线夹固组件1包括:挂接主体11、挂取件12、滑动件13和夹固钳14;其中,滑动件13以能够相对于挂接主体11进行滑动的方式设置在挂接主体11上,挂取件12设置在滑动件13的上方且与滑动件13相连接,夹固钳14设置在挂接主体11上,夹固钳14还与滑动件13相连接。挂取件12挂接在无人机200时,在无人机200的提拉作用下施加向上的作用力至滑动件13上,以使滑动件13相对于挂接主体11向上滑动,并施加张开力至夹固钳14上,使得夹固钳14张开,以使导线自张开处进入挂接主体11的夹固槽111内;在无人机200释放挂取件12后,滑动件13在重力的作用下向下移动以复位,并释放夹固钳14,以使夹固钳14闭合,进而将导线300封锁夹固在夹固槽111处。Continuing to refer to FIG. 2 and FIG. 4 , the wire clamping assembly 1 includes: a hooking main body 11 , a hanging piece 12 , a sliding piece 13 and a clamping clamp 14 ; The hanging part 12 is arranged on the top of the sliding part 13 and connected with the sliding part 13. The clamping pliers 14 are arranged on the articulated main body 11, and the clamping pliers 14 are also connected with the sliding part 13. connect. When the hanger 12 is hooked on the UAV 200, an upward force is applied to the slider 13 under the pulling action of the UAV 200, so that the slider 13 slides upward relative to the hooking body 11, and applies The opening force is applied to the clamping pliers 14, so that the clamping pliers 14 are opened, so that the wire enters the clamping groove 111 of the hooking body 11 from the opening; Move downward under the action of gravity to reset, and release the clamping jaw 14 so that the clamping jaw 14 is closed, and then the wire 300 is blocked and clamped at the clamping groove 111 .

具体实施时,挂接主体11作为支撑本体,为滑动件13进行滑动支撑,还可对夹固钳14进行转动支撑,当然,该挂接主体11还可以对地线拆固组件2的相关零部件例如地线解锁绳和牵引绳进行滑轮支撑。滑动件13沿竖直方向(相对于图2所示的位置而言)可滑动地设置在挂接主体11上,挂接主体11还可设有限位件,用于对滑动件13上下移动极限位置进行限位。挂取件12设置在挂接主体11、滑动件13的上方,并且,挂取件12的两端分别与滑动件13的左右两端相连接,以确保滑动件13上下移动的稳固性。其中,挂取件12可为不规则楔形结构、挂环、挂钩、拉杆等多种形状结构,便于无人机挂接牢固且易脱离。夹固钳14用类似“X”型、“剪刀”型、“爪钳”等运动结构设计,安装在挂接主体11上,并且,如图4所示,夹固钳14与滑动件13之间可通过卡固解锁绳15相连接,用于在滑动件13相对于挂接主体11向上移动时,施加张开力至夹固钳14上,以使夹固钳14张开。如图4所示,卡固解锁绳15的两端(如图4所示的上下两端)分别钩挂在滑动件13的底端和夹固钳14的左侧或右侧,以使夹固钳14在滑动件13向上滑动时,施加向左或向右的张开力,进而使得夹固钳14张开;当然,在无人机200释放挂取件12时,挂取件12和滑动件13在重力作用下向下滑动,进而释放对夹固钳14的张开力,使得夹固钳14自动闭合。其中,挂接主体11上设有卡固支撑滑轮112,以使卡固解锁绳15可自卡固支撑滑轮112上绕过,对卡固解锁绳15的转向进行支撑,进而调整卡固解锁绳15施加的作用力方向,使得滑动件13施加的向上的作用力转化为卡固解锁绳15施加至夹固钳14上的向左上方或右上方的张开力。在本实施例中,各个卡固解锁绳15对应设有两个卡固支撑滑轮112,当然,其数量亦可为其他值,本实施例中对其不做任何限定。During specific implementation, the articulated main body 11 is used as a supporting body to provide sliding support for the slider 13, and also to carry out rotational support for the clamping pliers 14. Of course, the articulated main body 11 can also provide related parts of the ground wire dismantling assembly 2. Components such as ground wire release rope and pull rope for pulley support. The slider 13 is slidably arranged on the hooking body 11 along the vertical direction (relative to the position shown in FIG. The position is limited. The hanging piece 12 is arranged above the hooking body 11 and the sliding piece 13, and the two ends of the hanging piece 12 are respectively connected with the left and right ends of the sliding piece 13 to ensure the stability of the sliding piece 13 moving up and down. Wherein, the hanger 12 can be in various shapes and structures such as irregular wedge-shaped structures, hanging rings, hooks, pull rods, etc., which is convenient for the drone to be hooked firmly and easy to detach. Clamping pliers 14 are designed with motion structures such as "X" type, "scissors" type, and "claws", and are installed on the hooking main body 11, and, as shown in Figure 4, between clamping pliers 14 and slider 13 They can be connected by a fastening and unlocking rope 15, which is used to apply an opening force to the clamping pliers 14 when the slider 13 moves upward relative to the hooking body 11, so that the clamping pliers 14 open. As shown in Figure 4, the two ends (upper and lower ends as shown in Figure 4) of the clamping unlocking rope 15 are respectively hooked on the bottom end of the slider 13 and the left or right side of the clamping pliers 14, so that the clamping When the slider 13 slides upwards, the clamp 14 exerts an opening force to the left or right, so that the clamp 14 is opened; of course, when the drone 200 releases the hanger 12, the hanger 12 and the slide 13 slides downward under the action of gravity, and then releases the opening force on the clamping jaws 14, so that the clamping jaws 14 are automatically closed. Wherein, the hooking body 11 is provided with a clamping support pulley 112, so that the clamping and unlocking rope 15 can bypass the clamping and supporting pulley 112 to support the steering of the clamping and unlocking rope 15, and then adjust the clamping and unlocking rope. The direction of the force applied by 15 is such that the upward force exerted by the slider 13 is converted into an upper left or upper right opening force applied by the clamping release rope 15 to the clamping pliers 14 . In this embodiment, each locking and unlocking rope 15 is correspondingly provided with two locking support pulleys 112 , of course, the number can also be other values, which are not limited in this embodiment.

在本实施例中,为确保夹固钳14夹固的稳固性,优选地,如图4所示,夹固钳14上设有复位弹簧16,用于在夹固钳14处于释放状态时施加复位力至夹固钳14上,以使夹固钳14复位至闭合状态。具体地,在无人机200释放挂取件12后,滑动件13在重力的作用下向下移动以复位,并释放夹固钳14,使得夹固钳14在复位力的作用下转动至闭合状态,进而将导线300封锁夹固在夹固槽111处,可确保夹固的稳固性。其中,复位弹簧16的一端固定在挂接主体11上,另一端固定在夹固钳14上,以在夹固钳14张开时,复位弹簧16压缩并施加复位力至夹固钳14上,以使夹固钳14在释放后可以复位至闭合状态。In this embodiment, in order to ensure the clamping stability of the clamping pliers 14, preferably, as shown in FIG. The restoring force is applied to the clamping jaw 14, so that the clamping jaw 14 is reset to the closed state. Specifically, after the UAV 200 releases the hanger 12, the slider 13 moves downward under the action of gravity to reset, and releases the clamp 14, so that the clamp 14 rotates to close under the action of the reset force. State, and then the wire 300 is closed and clamped at the clamping groove 111, which can ensure the stability of the clamping. Wherein, one end of the return spring 16 is fixed on the hooking main body 11, and the other end is fixed on the clamping clamp 14, so that when the clamping clamp 14 is opened, the return spring 16 compresses and applies a reset force to the clamping clamp 14, so that The clamping jaws 14 can be reset to the closed state after being released.

参见图5,其为本发明实施例提供的挂接主体的结构示意图。如图所示,挂接主体11的内部为中空结构,以便使得滑动件13和夹固钳14可至少部分设置在挂接主体11的内部;该挂接主体11顶部亦为开口设置。挂接主体11整体设计可采用倒“Y”型、倒“U”型、“喇叭口”型等多种结构,使导线300更容易进入卡口即夹固槽111,其中,卡口处即夹固槽111半弧形结构,可更好贴紧导线300,防止导线300滑脱,且不造成导线300损伤。如图5所示,挂接主体11上可设有减重孔,以便于该装置的提升。如图2所示,挂接主体11上设有地线解锁绳转轮支架113和牵引绳滑轮支架114,用于对滑轮进行支撑,以使地线拆固组件2的地线解锁绳和牵引绳可自挂接主体11上绕过,进而使得地线解锁绳和牵引绳的两端分别置于挂接主体11的两侧(如图2所示的左右两侧),进而在导线夹固组件1卡固在导线300上时,地线解锁绳和牵引绳的两端分别置于导线300的两侧(如图3所示的左右两侧),进而确保该装置的稳固性,避免该装置的倾倒,确保该装置卡固在导线300上的稳固性。当然,挂接主体11还可设有滑轮支架115,滑轮支架115用于支撑两个滑轮,以分别绕地线解锁绳和牵引绳。Referring to FIG. 5 , it is a schematic structural diagram of the hooking body provided by the embodiment of the present invention. As shown in the figure, the inside of the hooking body 11 is a hollow structure, so that the sliding member 13 and the clamp 14 can be at least partially disposed inside the hooking body 11; the top of the hooking body 11 is also set with an opening. The overall design of the hooking body 11 can adopt various structures such as inverted "Y" type, inverted "U" type, and "bell mouth" type, so that the wire 300 can more easily enter the bayonet, that is, the clamping groove 111, wherein the bayonet is The semi-arc structure of the clamping groove 111 can better fit the wire 300 to prevent the wire 300 from slipping off without causing damage to the wire 300 . As shown in FIG. 5 , a lightening hole may be provided on the hooking body 11 to facilitate the lifting of the device. As shown in Figure 2, the ground wire unlocking rope runner bracket 113 and the traction rope pulley bracket 114 are provided on the hooking main body 11, which are used to support the pulley so that the ground wire unlocking rope of the ground wire removal assembly 2 and the traction The rope can be bypassed from the articulated main body 11, so that the two ends of the ground wire unlocking rope and the traction rope are respectively placed on both sides of the articulated main body 11 (the left and right sides as shown in Figure 2), and then clamped on the wire When the component 1 is fastened on the wire 300, the two ends of the ground wire unlocking rope and the pulling rope are respectively placed on both sides of the wire 300 (the left and right sides as shown in Figure 3), thereby ensuring the stability of the device and avoiding the The tipping of the device ensures the stability of the device being clamped on the wire 300 . Of course, the hooking main body 11 can also be provided with a pulley bracket 115, and the pulley bracket 115 is used to support two pulleys for respectively winding the unlocking rope and the pulling rope around the ground wire.

参见图6,其为本发明实施例提供的滑动件的结构示意图。如图所示,滑动件13包括:挂接主体盖板131、导向支架132和至少一个滑动支架133;其中,导向支架132和至少一个滑动支架133均设置在挂接主体盖板131上,挂接主体盖板131用于封盖在挂接主体11的顶部开口,以对挂接主体11的内部进行密封。滑动支架133用于可滑动地连接在挂接主体11的内部,导向支架132用于对滑动支架133的滑动进行导向。Referring to FIG. 6 , it is a schematic structural diagram of a slider provided by an embodiment of the present invention. As shown in the figure, the slider 13 includes: a hook main body cover 131, a guide bracket 132 and at least one slide bracket 133; wherein, the guide bracket 132 and at least one slide bracket 133 are all arranged on the hook main body cover 131, and The connecting body cover 131 is used to cover the top opening of the connecting body 11 to seal the inside of the connecting body 11 . The sliding bracket 133 is used to be slidably connected inside the hooking body 11 , and the guiding bracket 132 is used to guide the sliding of the sliding bracket 133 .

具体实施时,挂取件12的两端分别与挂接主体盖板131的上表面的两端相连接,以拉动挂接主体盖板131相对于挂接主体11向上移动。滑动支架133可以为两个且均设置在挂接主体盖板131的下方,分别固定连接在挂接主体盖板131的两端(如图6所示的左右两端),以在挂接主体盖板131的带动下相对于挂接主体11进行滑动。在本实施例中,滑动支架133上设有滚动件134,用于利用滚动,减少滑动支架133与挂接主体11之间的摩檫力。导向支架132设置在挂接主体盖板131下方的中间位置,用于对滑动支架133的上下移动进行导向;其中,导向支架132可以为U型结构,其两个侧壁夹设在挂接主体盖板131的前后两侧,以夹设在挂接主体11的前后两侧。在本实施例中,如图2所示,挂接主体11上设有导向轴116,导向支架132沿其槽深方向(如图2所示的竖直方向)设有导向槽1321,导向轴116可滑动地插设在导向槽1321内,以对滑动支架133的滑动进行导向,使滑动件13与挂接主体11完成紧密滑动连接。其中,滚动件134可以为轴承结构,亦可为其他结构。During specific implementation, both ends of the hanging member 12 are respectively connected to two ends of the upper surface of the hooking body cover 131 to pull the hooking body cover 131 to move upward relative to the hooking body 11 . There can be two sliding brackets 133, both of which are arranged under the cover plate 131 of the main body, and are respectively fixedly connected to the two ends of the cover plate 131 of the main body (the left and right ends as shown in FIG. Driven by the cover plate 131 , it slides relative to the hooking body 11 . In this embodiment, the sliding bracket 133 is provided with a rolling member 134 for reducing friction between the sliding bracket 133 and the hooking body 11 by rolling. The guide bracket 132 is arranged at the middle position below the cover plate 131 of the articulated main body, and is used to guide the up and down movement of the sliding bracket 133; wherein, the guided bracket 132 can be a U-shaped structure, and its two side walls are sandwiched between the articulated main body The front and rear sides of the cover plate 131 are sandwiched between the front and rear sides of the hooking main body 11 . In this embodiment, as shown in FIG. 2 , a guide shaft 116 is provided on the hooking main body 11, and a guide groove 1321 is provided on the guide bracket 132 along its groove depth direction (vertical direction as shown in FIG. 2 ). 116 is slidably inserted in the guide groove 1321 to guide the sliding of the sliding bracket 133 , so that the sliding member 13 and the hooking main body 11 complete a tight sliding connection. Wherein, the rolling element 134 may be a bearing structure, or other structures.

参见图7,其为本发明实施例提供的夹固钳的结构示意图。如图所示,夹固钳14包括:两个夹固钳本体141;其中,两个夹固钳本体141相对设置,并且,两个夹固钳本体141相铰接,用于相对转动,能够张开使得导线300能够进入两个夹固钳本体141之间,还能够闭合将导线300封锁夹固在两个夹固钳本体141之间。Referring to FIG. 7 , it is a schematic structural diagram of the clamping pliers provided by the embodiment of the present invention. As shown in the figure, the clamping pliers 14 includes: two clamping pliers bodies 141; wherein, the two clamping pliers bodies 141 are arranged oppositely, and the two clamping pliers bodies 141 are hinged for relative rotation and can be stretched. Opening allows the wire 300 to enter between the two clamp bodies 141 , and it can also be closed to clamp the wire 300 between the two clamp bodies 141 .

具体实施时,两个夹固钳本体141的中间位置相互铰接且铰接轴固定在挂接主体11上,以便两个夹固钳本体141均能够绕铰接轴的轴线进行转动,以实现两个夹固钳本体141之间的张开和闭合即收紧,并且,两个夹固钳本体141闭合时,可将导线300夹持在两个夹固钳本体141之间。在本实施例中,各夹固钳本体141上还可设有卡扣档杆142,卡扣档杆142的一端(如图7所示的下端)可转动地连接在夹固钳本体141上,另一端与夹固钳本体141滑动地相连接,用于抵接在另一个夹固钳本体141上的卡扣档杆142上,以使两个卡扣档杆142相抵接,以对两个夹固钳本体141之间的缝隙进行封锁,进一步避免导线300自两个夹固钳本体141掉落,可防止该装置掉落,实现防坠功能。在本实施例中,卡扣档杆142还与滑动件13相连接,用于在滑动件13的作用下带动夹固钳本体141转动,以使夹固钳本体141张开,也就是说,卡固解锁绳15的顶端与滑动件13的底端相连接,卡固解锁绳15的底端与卡扣档杆142相连接,以在滑动件13向上滑动时,拉动卡扣档杆142相对于夹固钳本体141摆动,如图7所示的左侧卡扣档杆142逆时针转动,直至相对移动的极限位置,滑动件13继续拉动卡扣档杆142,使得卡扣档杆142带动夹固钳本体141随之进行同步转动,如图7所示的左侧夹固钳本体141顺时针转动,转动至张开状态。在本实施例中,复位弹簧16为两个,分别与两个夹固钳本体141相连接,在夹固钳本体141张开时,压缩复位弹簧16,使得夹固钳本体141可在被释放后在复位弹簧16的复位力作用下反向转动至闭合状态。其中,两个夹固钳本体141左右对称设置,其张开或闭合时角度保持一致。During specific implementation, the middle positions of the two clamp bodies 141 are hinged to each other and the hinge shaft is fixed on the hooking body 11, so that the two clamp bodies 141 can rotate around the axis of the hinge shaft to realize two clips. The opening and closing of the clamp bodies 141 means tightening, and when the two clamp bodies 141 are closed, the wire 300 can be clamped between the two clamp bodies 141 . In this embodiment, each clamping pliers body 141 can also be provided with a buckle lever 142, and one end of the buckle lever 142 (the lower end as shown in FIG. 7 ) is rotatably connected to the clamping pliers body 141. , and the other end is slidably connected with the clamping pliers body 141, and is used to abut against the buckle bar 142 on the other clamp body 141, so that the two buckle bars 142 abut against each other, so as to The gap between the two clamp bodies 141 is blocked to further prevent the wire 300 from falling from the two clamp bodies 141, which can prevent the device from falling and realize the anti-drop function. In this embodiment, the buckle bar 142 is also connected with the slider 13, and is used to drive the clamp body 141 to rotate under the action of the slider 13, so that the clamp body 141 opens, that is, The top of the clamping unlocking rope 15 is connected with the bottom end of the slider 13, and the bottom end of the clamping unlocking rope 15 is connected with the buckle lever 142, so that when the slider 13 slides upwards, the pulling lever 142 is relatively As the clamping pliers body 141 swings, the left buckle lever 142 rotates counterclockwise as shown in FIG. The clamp body 141 rotates synchronously thereupon, and the left clamp body 141 as shown in FIG. 7 rotates clockwise to an open state. In this embodiment, there are two return springs 16, which are respectively connected to the two clamp bodies 141. When the clamp bodies 141 are opened, the return springs 16 are compressed so that the clamp bodies 141 can be released. Under the action of the reset force of the return spring 16, it reversely rotates to the closed state. Wherein, the two clamp bodies 141 are symmetrically arranged left and right, and their angles are kept consistent when they are opened or closed.

继续参见图7,卡扣档杆142和夹固钳本体141之间还设有复位弹片143,用于施加复位力至卡扣档杆142上,以使卡扣档杆142复位至抵接在另一卡扣档杆142上。具体地,夹固钳本体141随卡扣档杆142张开后,在卡扣档杆142被释放后,夹固钳本体141可在复位弹簧16的作用下带动卡扣档杆142复位,同时,卡扣档杆142在复位弹片143的复位力作用下继续反向摆动至两个卡扣档杆142相互紧紧地抵接在一起。其中,卡扣档杆142和复位弹簧16分别与夹固钳本体141的两端相连接,夹固钳本体141的两端置于夹固钳本体141铰接点的两侧。Continuing to refer to FIG. 7 , there is also a reset spring 143 between the buckle lever 142 and the clamp body 141 for applying a reset force to the buckle lever 142 so that the buckle lever 142 is reset to abut against the On the other snap lever 142 . Specifically, after the clip body 141 is opened with the buckle bar 142, after the snap bar 142 is released, the clamp body 141 can drive the snap bar 142 to reset under the action of the reset spring 16, and at the same time , the buckle lever 142 continues to swing in the opposite direction under the reset force of the reset elastic piece 143 until the two buckle levers 142 are tightly abutted against each other. Wherein, the buckle lever 142 and the return spring 16 are respectively connected to two ends of the clamp body 141 , and the two ends of the clamp body 141 are placed on both sides of the hinge point of the clamp body 141 .

继续参见图7,两个夹固钳本体141的端部(如图7所示的顶端)设有支撑滑轮144,用于对地线拆固组件2的牵引绳进行导向,以使牵引绳能够自各支撑滑轮上绕过,以使两个夹固钳本体141可以实现导线300的夹持,还可对牵引绳进行支撑,使得结构简单且紧凑。如图4所示,两个支撑滑轮144之间设有平衡轮145,以使牵引绳依次绕过其中一个支撑滑轮144、平衡轮145和另一个支撑滑轮144,牵引绳通过支撑滑轮144与平衡轮145能使两边上方夹固钳本体141受力平衡。Continuing to refer to FIG. 7 , the ends of the two clamp bodies 141 (the top as shown in FIG. 7 ) are provided with support pulleys 144 for guiding the traction rope of the ground wire removal assembly 2 so that the traction rope can Bypassing each supporting pulley, the two clamp bodies 141 can clamp the wire 300 and also support the traction rope, so that the structure is simple and compact. As shown in Figure 4, a balance wheel 145 is provided between the two support pulleys 144, so that the traction rope goes around one of the support pulleys 144, the balance wheel 145 and the other support pulley 144 in turn, and the traction rope passes through the support pulley 144 and the balance The wheel 145 can balance the forces on the upper clamp body 141 on both sides.

继续参见图7,夹固钳本体141包括:夹固段1411、复位段1412和承力段1413;其中,夹固段1411和复位段1412相连接,夹固段1411呈弧形结构,用于在两个夹固钳本体141处于闭合状态时,两个夹固钳本体141的两个夹固段1411围设形成封锁孔,以通过夹固段1411将导线300夹固在封锁孔处;夹固段1411背向复位段1412的一侧(如图7所示的下方)还设有承力段1413,用于作为承重,还用于连接滑动件13,以在滑动件13的作用下转动,进而带动夹固段1411和复位段1412随之同步转动。具体地,夹固段1411、复位段1412和承力段1413为一体式结构,三者同步转动。复位段1412和承力段1413均为直线段,分别设置在夹固段1411的上下两侧;夹固段1411、复位段1412的连接位置作为铰接点,铰接在挂接主体11上,支撑滑轮144设置在复位段1412的顶端,并且,复位弹簧16与复位段1412相连接,卡扣档杆142设置在承力段1413上,以通过卡扣档杆142连接滑动件13,以在滑动件13的作用下整体转动至张开状态。其中,夹固段1411呈弧形结构,并且,内壁上设有夹持凸起,顶端圆滑,更好贴合接触导线300,导线300不易磨损且增加夹持导线300的稳固性。Continuing to refer to FIG. 7 , the clamp body 141 includes: a clamping section 1411, a reset section 1412 and a bearing section 1413; wherein, the clamping section 1411 and the reset section 1412 are connected, and the clamping section 1411 is in an arc-shaped structure for When the two clamping pliers bodies 141 are in the closed state, the two clamping sections 1411 of the two clamping pliers bodies 141 surround and form a blockade hole, so that the wire 300 is clamped at the blockage hole by the clamping section 1411; The side of the solid section 1411 facing away from the reset section 1412 (the bottom as shown in Figure 7 ) is also provided with a load-bearing section 1413, which is used as a load bearing and is also used to connect the slider 13 to rotate under the action of the slider 13 , and then drive the clamping section 1411 and the reset section 1412 to rotate synchronously. Specifically, the clamping section 1411 , the reset section 1412 and the load-bearing section 1413 are of an integrated structure, and the three are rotated synchronously. The reset section 1412 and the load-bearing section 1413 are both straight sections, which are respectively arranged on the upper and lower sides of the clamping section 1411; the connection position of the clamping section 1411 and the reset section 1412 is used as a hinge point, hinged on the main body 11, supporting the pulley 144 is arranged on the top of the reset section 1412, and the return spring 16 is connected with the reset section 1412, and the buckle bar 142 is arranged on the load-bearing section 1413, so as to connect the slider 13 through the buckle bar 142, so that the slider Under the action of 13, the whole body rotates to the open state. Wherein, the clamping section 1411 has an arc-shaped structure, and the inner wall is provided with a clamping protrusion with a smooth top, which better fits the contact wire 300 , the wire 300 is not easy to wear and increases the stability of the clamped wire 300 .

继续参见图2,地线拆固组件2包括:地线解锁件21和地线卡钩22;其中,地线解锁件21与地线卡钩22相连接,用于将地线卡钩22锁定在地线解锁件21的锁定位置处;地线解锁件21连接有解锁驱动件23,用于施加作用力至地线解锁件21上,以解锁对地线卡钩22的锁定;地线卡钩22连接有牵引件24,用于施加牵引力至地线卡钩22上,以在地线解锁件21解锁对地线卡钩22的锁定后,地线卡钩22在牵引件24的牵引力作用下上下移动,进而在地线卡钩22向下移动至地面处后连接接地线,并使得接地线随地线卡钩22向上移动至锁定位置处,并通过地线解锁件21锁定在锁定位置处,实现接地线的挂接。Continuing to refer to FIG. 2 , the ground wire removal assembly 2 includes: a ground wire unlocking member 21 and a ground wire hook 22; wherein, the ground wire unlocking member 21 is connected with the ground wire hook 22 for locking the ground wire hook 22 At the locked position of the ground wire unlocking part 21; the ground wire unlocking part 21 is connected with an unlocking drive part 23 for applying an active force to the ground wire unlocking part 21 to unlock the locking of the ground wire hook 22; The hook 22 is connected with a traction member 24 for applying a traction force to the ground wire hook 22, so that after the ground wire unlocking member 21 unlocks the ground wire hook 22, the ground wire hook 22 acts on the traction force of the traction member 24. Move up and down, and then connect the ground wire after the ground wire hook 22 moves down to the ground, and make the ground wire move up with the ground wire hook 22 to the locking position, and lock at the locking position through the ground wire unlocking member 21 , to achieve the hooking of the ground wire.

具体实施时,地线解锁件21可设置在挂线主体11上,用于实现地线卡钩22的锁定与解锁,可锁定地线卡钩22至地线解锁件21可上以使地线解锁件21和地线卡钩22随挂线主体11同步在无人机200的作用下飞行并固定至导线300上。通过解锁驱动件23控制地线解锁件21,实现对地线卡钩22的解锁,并通过牵引件24释放地线卡钩22,使得地线卡钩22可自导线300所在高度向下移动至地面上,以使接地线连接至地线卡钩22,并通过牵引件24的牵引,使得接地线连接至地线卡钩22的端部随地线卡钩22向上移动至地线解锁件21处,并通过解锁驱动件23控制地线解锁件21,实现对地线卡钩22的锁定,以使地线卡钩22固定至地线解锁件21上,即实现接地线连接至导线上,实现导线的接地。在本实施例中,地线卡钩22上设有连接孔221,用于连接配重件25,以使地线卡钩22在解锁状态下能够在配重件25的重力作用下向下移动至地面处,以连接接地线;配重件25用于平衡整个装置的重心,并用来牵引牵引件24,使牵引件24下落更顺畅;其中,配重件25可以由多组重锤片组成,根据高空中待挂接目标设备(如高空导线)的高度和牵引件24的牵引需求,结合无人机200载重,确定重锤片的数量。其中,牵引件24为牵引绳,可以为绝缘绳,提升与放下接地线,一端与地线卡钩22相连接,另一端可以连接有卷扬器26,以通过卷扬器26控制牵引绳的收放,进而控制地线卡钩22的提升与下放;解锁驱动件23为地线解锁绳,可以为钢丝绳,用于施加作用力至地线解锁件21,配合完成地线卡钩22的锁定与解锁,地线解锁绳的一端与地线解锁件21相连接,另一端可设有卷线器27,由地面辅助作业人员拉动或松开,通过地线解锁绳拉动地线解锁件21,解开地线解锁件21对地线卡钩22的锁定;松开地线解锁绳,地线解锁件21可自动复位至锁定位置。During specific implementation, the ground wire unlocking part 21 can be arranged on the hanging wire main body 11, and is used to realize the locking and unlocking of the ground wire hook 22, and the ground wire hook 22 can be locked to the ground wire unlocking part 21 to make the ground wire The unlocking part 21 and the ground wire hook 22 fly synchronously with the hanging wire main body 11 under the action of the drone 200 and are fixed on the wire 300 . The ground wire unlocking member 21 is controlled by the unlocking driver 23 to realize the unlocking of the ground wire hook 22, and the ground wire hook 22 is released by the traction member 24, so that the ground wire hook 22 can move downward from the height of the wire 300 to ground, so that the ground wire is connected to the ground wire hook 22, and the traction of the traction member 24 makes the end of the ground wire connected to the ground wire hook 22 move upward to the ground wire unlocking member 21 along with the ground wire hook 22 , and control the ground wire unlocking part 21 through the unlocking driver 23 to realize the locking of the ground wire hook 22, so that the ground wire hook 22 is fixed to the ground wire unlocking part 21, that is, the ground wire is connected to the wire, and the grounding of the wire. In this embodiment, the ground wire hook 22 is provided with a connection hole 221 for connecting the counterweight 25, so that the ground wire hook 22 can move downward under the gravity of the counterweight 25 in the unlocked state. to the ground to connect the ground wire; the counterweight 25 is used to balance the center of gravity of the entire device, and is used to pull the traction 24 to make the traction 24 fall more smoothly; wherein the counterweight 25 can be composed of multiple sets of heavy hammers , according to the height of the target equipment (such as the high-altitude wire) to be mounted in the high-altitude and the traction demand of the traction member 24, combined with the load of the UAV 200, determine the number of heavy hammers. Wherein, the traction member 24 is a traction rope, which can be an insulating rope, which lifts and lowers the ground wire, and one end is connected with the ground wire hook 22, and the other end can be connected with a hoist 26, so as to control the movement of the traction rope through the hoist 26. Retractable, and then control the lifting and lowering of the ground wire hook 22; the unlocking driver 23 is a ground wire unlocking rope, which can be a steel wire rope, and is used to apply force to the ground wire unlocking part 21, and cooperate to complete the locking of the ground wire hook 22 For unlocking, one end of the ground wire unlocking rope is connected to the ground wire unlocking part 21, and the other end can be provided with a wire reel 27, which is pulled or loosened by ground auxiliary workers, and the ground wire unlocking part 21 is pulled by the ground wire unlocking rope. Unlock the locking of the ground wire hook 22 by the ground wire unlocking member 21; loosen the ground wire unlocking rope, and the ground wire unlocking member 21 can automatically reset to the locked position.

继续参见图2和图3,地线解锁件21设置在导线夹固组件1的第一侧(如图2所示的左侧),牵引绳的一端(如图2所示的左侧下端)与地线卡钩22相连接,并向上延伸至导线夹固组件1处,自导线夹固组件1内绕过至导线夹固组件1的第二侧(如图2所示的右侧),以使牵引绳位于导线夹固组件1第二侧的另一端(如图2所示的右侧的下端)作为牵引端,使得牵引端和地线卡钩22分别置于导线夹固组件1的两侧,即置于导线300的两侧;地线解锁绳的一端(如图2所示的左侧下端)与地线解锁件21相连接,并向上延伸至导线夹固组件1的顶部,自导线夹固组件1的顶部绕过至导线夹固组件1的第二侧,以使地线解锁绳位于导线夹固组件1第二侧的另一端(如图2所示的右侧下端)作为解锁驱动端,使得解锁驱动端和地线卡钩22分别置于导线夹固组件1的两侧,即置于导线300的两侧,可以便于牵引提拉,还可确保该装置的稳固性,避免该装置的倾斜翻转和坠落。Continuing to refer to Fig. 2 and Fig. 3, the ground wire unlocking part 21 is arranged on the first side of the wire clamping assembly 1 (left side as shown in Fig. 2 ), and one end of the traction rope (lower left side as shown in Fig. 2 ) It is connected with the ground wire hook 22, and extends upward to the wire clamping assembly 1, and bypasses from the inside of the wire clamping assembly 1 to the second side of the wire clamping assembly 1 (the right side as shown in FIG. 2 ), Make the other end of the traction rope located on the second side of the wire clamping assembly 1 (the lower end on the right side as shown in FIG. 2 ) as the traction end, so that the traction end and the ground wire hook 22 are respectively placed Two sides, that is, placed on both sides of the wire 300; one end of the ground wire unlocking rope (the lower left end as shown in Figure 2) is connected to the ground wire unlocking member 21, and extends upward to the top of the wire clamping assembly 1, Detour from the top of the wire clamp assembly 1 to the second side of the wire clamp assembly 1, so that the ground wire release rope is located at the other end of the second side of the wire clamp assembly 1 (the lower right end as shown in Figure 2) As the unlocking driving end, the unlocking driving end and the ground wire hook 22 are respectively placed on both sides of the wire clamping assembly 1, that is, placed on both sides of the wire 300, which can facilitate traction and pull, and can also ensure the stability of the device , to avoid tilting and falling of the device.

参见图8,其为本发明实施例提供的地线解锁件和地线卡钩锁定的结构示意图。如图所示,地线解锁件21包括:地线卡盒211、右夹块212和左夹块213;其中,右夹块212和左夹块213中的至少一个以能够移动的方式设置在地线卡盒211内,并且,右夹块212和左夹块213中的至少一个与解锁驱动件23相连接,用于在解锁驱动件23的作用下,右夹块212和左夹块213相背运动,以实现对地线卡钩22的解锁。具体地,在本实施例中,左夹块213沿水平方向可滑动地设置地线卡盒211内,地线解锁绳自地线卡盒211的左侧壁穿过至地线卡盒211内并连接在左夹块213上,以施加向左移动的解锁力至左夹块213上,使得左夹块213向左移动,实现与右夹块212的分离,进而实现对地线卡钩22的解锁。为确保对地线卡钩22实现解锁的顺畅性,优选地,右夹块212也沿水平方向可滑动地设置地线卡盒211内,并且,右夹块212和左夹块213上均设有锁定复位弹簧214,以可复位至锁定位置,使得地线卡钩22移动至锁定位置处时可对地线卡钩22进行锁定,使得锁定更加平稳。其中,右夹块212和左夹块213相对壁面上设有让位槽,其与地线卡钩22相适配,用于在右夹块212和左夹块213之间形成卡固槽,用于锁定地线卡钩22,便于锥形地线卡钩22的锁定及解锁。为方便地线卡钩22顺滑地进入地线解锁件21内,优选地,地线卡盒211的底部设有喇叭口结构2111,用于对地线卡钩22进出地线卡盒211进行导向。Referring to FIG. 8 , it is a structural schematic diagram of the ground wire unlocking member and the ground wire hook locking provided by the embodiment of the present invention. As shown in the figure, the ground wire unlocking member 21 includes: a ground wire card box 211, a right clamping block 212 and a left clamping block 213; wherein, at least one of the right clamping block 212 and the left clamping block 213 is set in a movable manner In the ground wire cassette 211, and at least one of the right clamping block 212 and the left clamping block 213 is connected with the unlocking drive 23, for under the action of the unlocking drive 23, the right clamping block 212 and the left clamping block 213 Move opposite to each other to realize the unlocking of the ground wire hook 22. Specifically, in this embodiment, the left clamping block 213 is slidably arranged in the ground wire cassette 211 along the horizontal direction, and the ground wire unlocking rope passes through the left side wall of the ground wire cassette 211 into the ground wire cassette 211 And be connected on the left clamping block 213, to exert the unlocking force that moves to the left on the left clamping block 213, make the left clamping block 213 move to the left, realize the separation with the right clamping block 212, and then realize the hook 22 to the ground wire unlocked. In order to ensure the smoothness of unlocking the ground wire hook 22, preferably, the right clamping block 212 is also slidably arranged in the ground wire cassette 211 along the horizontal direction, and the right clamping block 212 and the left clamping block 213 are provided with There is a locking return spring 214, which can be reset to the locked position, so that the ground wire hook 22 can be locked when the ground wire hook 22 moves to the locked position, so that the locking is more stable. Wherein, the opposite wall of the right clamping block 212 and the left clamping block 213 is provided with a relief groove, which is adapted to the ground wire hook 22, and is used to form a fastening groove between the right clamping block 212 and the left clamping block 213, It is used to lock the ground wire hook 22, which facilitates the locking and unlocking of the tapered ground wire hook 22. In order to facilitate the ground wire hook 22 to enter the ground wire unlocking member 21 smoothly, preferably, the bottom of the ground wire cassette 211 is provided with a bell mouth structure 2111 for controlling the ground wire hook 22 entering and exiting the ground wire cassette 211. guide.

在本实施例中,地线卡盒211包括:卡盒本体2112和设置在卡盒本体2112顶部开口处的地线卡盒端盖2113。In this embodiment, the ground wire cassette 211 includes: a cassette body 2112 and a ground wire cassette end cover 2113 disposed at the top opening of the cassette body 2112 .

综上,本实施例提供的接地线挂拆装置及系统,通过导线夹固组件1挂取在无人机200上,以随无人机200挂在导线300上,并在无人机200释放导线夹固组件1的同时,导线夹固组件1以能够拆卸的方式夹固在导线300上;通过地线拆固组件2随导线夹固组件1挂在导线300上,并能够提拉接地线至导线夹固组1件上,以实现导线300的接地,作业全程不需要人员登塔,极大提升了接地线挂拆的灵活性、可靠性和安全性,减少了高空跌落及感应触电风险,作业智能化和自动化程度高,解决了现有接地线挂拆高度有限、高空作业作业较为不便的问题。To sum up, the ground wire hooking and dismounting device and system provided in this embodiment are hooked on the UAV 200 through the wire clamping assembly 1, so as to be hung on the wire 300 along with the UAV 200, and released on the UAV 200. At the same time as the wire clamping assembly 1, the wire clamping assembly 1 is clamped on the wire 300 in a detachable manner; through the ground wire dismantling assembly 2, the wire clamping assembly 1 is hung on the wire 300, and the grounding wire can be pulled To one piece of wire clamping group to realize the grounding of the wire 300. No personnel need to climb the tower during the whole operation, which greatly improves the flexibility, reliability and safety of the grounding wire hanging and detaching, and reduces the risk of falling from high altitude and inductive electric shock , The operation is intelligent and highly automated, which solves the problems of the limited height of the existing grounding wire and the inconvenience of high-altitude operations.

方法实施例:Method example:

参见图9,其为本发明实施例提供的接地线挂拆方法的流程框图。如图所示,该挂拆方法采用上述挂拆系统或挂拆装置进行接地线的挂拆,挂拆方法包括如下步骤:Referring to FIG. 9 , it is a flow chart of a method for hanging and disconnecting a grounding wire provided by an embodiment of the present invention. As shown in the figure, the hanging and dismantling method uses the above-mentioned hanging and dismantling system or the hanging and dismantling device to carry out the hanging and dismantling of the ground wire. The hanging and dismantling method includes the following steps:

安装步骤S1,将导线夹固组件挂取在无人机上。In the installation step S1, the wire clamping assembly is hung on the drone.

具体地,首先,取出无人机200,将无人机200与连接件210进行安装、固定连接好;然后,在接地线挂拆装置100的地线卡钩22上安装配重件25即安装重锤片,并将接地线挂拆装置100挂在连接件210上。Specifically, firstly, take out the UAV 200, install and fix the UAV 200 and the connector 210; Heavy hammer, and hang the ground wire hanger 100 on the connector 210.

爬升步骤S2,通过无人机飞行携带导线夹固组件和地线拆固组件起飞并爬升,直至无人机飞至超过导线挂接位置高度处进行悬停。Climbing step S2, take off and climb with the wire clamping assembly and the ground wire removal assembly carried by the UAV flying, until the UAV flies to a height exceeding the wire hooking position for hovering.

具体地,首先,控制无人机200,使得无人机200携带接地线挂拆装置100起飞并垂直爬升,同步用卷线器27和卷扬器26来释放地线解锁绳及牵引绳,保持接地线挂拆装置100的配重件25、地线解锁绳及牵引绳在待挂接目标设备(如导线300尤其是高空导线)内外的不同侧(如图3所示的左右两侧);待无人机200飞至略超过导线300挂接位置高度处进行悬停。Specifically, first, control the UAV 200 so that the UAV 200 takes off with the grounding wire hanging device 100 and climbs vertically, and simultaneously uses the wire reel 27 and the winch 26 to release the ground wire unlocking rope and the traction rope, and keep The counterweight 25, the ground wire unlocking rope and the traction rope of the grounding wire hanging and detaching device 100 are on different sides (left and right sides as shown in FIG. 3 ) inside and outside the target equipment to be hooked (such as the wire 300, especially the high-altitude wire); Wait for the UAV 200 to fly to a place slightly higher than the height where the wire 300 is attached to hover.

导线夹固步骤S3,通过无人机携带导线夹固组件和地线拆固组件水平飞行,直至导线的上方,并通过无人机携带导线夹固组件和地线拆固组件下降,直至导线夹固组件挂在导线上,通过无人机释放导线夹固组件,使得导线夹固组件夹固在导线上。Wire clamping step S3, the drone carries the wire clamping assembly and the ground wire removal assembly and flies horizontally until it is above the wire, and the drone carries the wire clamping assembly and the ground wire removal assembly and descends until the wire clamps The wire clamping component is hung on the wire, and the wire clamping component is released by the drone, so that the wire clamping component is clamped on the wire.

具体地,首先,控制无人机200水平飞行至导线300上方,将无人机200搭载图像采集器例如摄像机对准接地线挂拆装置100尤其是导线夹固组件1进行拍摄并缓慢下降,通过摄像机回传的实时影像查看挂接位置,直至接地线挂拆装置100即导线夹固组件1挂接在导线300上,通过控制无人机200飞行以释放导线夹固组件1,使得导线夹固组件1夹固在导线300上。Specifically, firstly, control the UAV 200 to fly horizontally above the wire 300, and point the UAV 200 equipped with an image collector such as a camera to the grounding wire hanging device 100, especially the wire clamping assembly 1 to take pictures and slowly descend. The real-time image returned by the camera checks the hooking position until the grounding wire hooking and dismounting device 100, that is, the wire clamping assembly 1 is hooked on the wire 300, and the wire clamping assembly 1 is released by controlling the flight of the drone 200, so that the wire clamping The assembly 1 is clamped on the wire 300 .

地线挂接步骤S4,释放地线拆固组件,以使地线拆固组件相对于导线夹固组件向下移动至地面,将接地线的一端线夹固定,另一端与地线拆固组件固定并锁紧,将地线拆固组件携带接地线向上移动至导线夹固组件处,并锁定在导线夹固组件上,实现导线的接地。Ground wire hooking step S4, release the ground wire release assembly, so that the ground wire release assembly moves down to the ground relative to the wire clamp assembly, fix one end of the ground wire with a clamp, and the other end is connected to the ground wire release assembly Fix and lock, move the ground wire removal assembly carrying the ground wire up to the wire clamping assembly, and lock it on the wire clamping assembly to realize the grounding of the wire.

具体地,首先,释放地线拆固组件2,使地线拆固组件相对于导线夹固组件向下移动至地面,可提拉地线解锁绳,释放地线解锁件21对地线卡钩22的锁定,在配重件25的牵引下释放地线卡钩22,使得地线卡钩22向下移动至地面;然后,将接地线的一端线夹固定,可固定在杆塔塔腿、或地面临时接地体、或与杆塔接地装置电气上直接相连的横担上并锁紧,另一端与地线拆固组件2固定并锁紧,例如可用螺丝固定并锁紧;最后,将地线拆固组件携带接地线向上移动至导线夹固组件处,并锁定在导线夹固组件上,实现导线的接地,可地面作业人员通过拉动牵引绳,使得牵引绳拉动地线卡钩22向上提拉至右夹块213和左夹块212之间,释放地线解锁绳,使得右夹块213和左夹块212相对移动以夹持并锁定地线卡钩22,完成接地线挂接到导线300上。Specifically, firstly, release the ground wire release assembly 2, so that the ground wire release assembly 2 moves down to the ground relative to the wire clamping assembly, and the ground wire unlocking rope can be pulled to release the ground wire unlocking part 21 to the ground wire hook. 22, release the ground wire hook 22 under the traction of the counterweight 25, so that the ground wire hook 22 moves down to the ground; Temporary grounding body on the ground, or the cross arm directly connected to the tower grounding device and locked, and the other end is fixed and locked with the ground wire removal assembly 2, for example, it can be fixed and locked with screws; finally, the ground wire is removed The solid assembly carries the grounding wire and moves upward to the wire clamping assembly, and is locked on the wire clamping assembly to realize the grounding of the wire. The ground operator can pull the traction rope to pull the ground wire hook 22 upwards to Between the right clamping block 213 and the left clamping block 212, release the ground wire unlocking rope, so that the right clamping block 213 and the left clamping block 212 move relatively to clamp and lock the ground wire hook 22, and complete the hooking of the ground wire to the wire 300 .

参见图10,其为本发明实施例提供的接地线挂拆方法的又一流程框图。如图所示,该拆方法包括如下步骤:Referring to FIG. 10 , it is another flow chart of the grounding wire hooking and detaching method provided by the embodiment of the present invention. As shown in the figure, the dismantling method includes the following steps:

安装步骤S1,将导线夹固组件挂取在无人机上。In the installation step S1, the wire clamping assembly is hung on the drone.

爬升步骤S2,通过无人机飞行携带导线夹固组件和地线拆固组件起飞并爬升,直至无人机飞至超过导线挂接位置高度处进行悬停。Climbing step S2, take off and climb with the wire clamping assembly and the ground wire removal assembly carried by the UAV flying, until the UAV flies to a height exceeding the wire hooking position for hovering.

导线夹固步骤S3,通过无人机携带导线夹固组件和地线拆固组件水平飞行,直至导线的上方,并通过无人机携带导线夹固组件和地线拆固组件下降,直至导线夹固组件挂在导线上,通过无人机释放导线夹固组件,使得导线夹固组件夹固在导线上。Wire clamping step S3, the drone carries the wire clamping assembly and the ground wire removal assembly and flies horizontally until it is above the wire, and the drone carries the wire clamping assembly and the ground wire removal assembly and descends until the wire clamps The wire clamping component is hung on the wire, and the wire clamping component is released by the drone, so that the wire clamping component is clamped on the wire.

地线挂接步骤S4,释放地线拆固组件,以使地线拆固组件相对于导线夹固组件向下移动至地面,将接地线的一端线夹固定,另一端与地线拆固组件固定并锁紧,将地线拆固组件携带接地线向上移动至导线夹固组件处,并锁定在导线夹固组件上,实现导线的接地。Ground wire hooking step S4, release the ground wire release assembly, so that the ground wire release assembly moves down to the ground relative to the wire clamp assembly, fix one end of the ground wire with a clamp, and the other end is connected to the ground wire release assembly Fix and lock, move the ground wire removal assembly carrying the ground wire up to the wire clamping assembly, and lock it on the wire clamping assembly to realize the grounding of the wire.

拆卸步骤S5,释放地线拆固组件,以使地线拆固组件携带接地线相对于导线夹固组件向下移动至地面,拆开接地线与地线拆固组件的锁紧,并驱动地线拆固组件相对于导线夹固组件向上移动至导线夹固组件处并锁定,通过无人机挂取导线夹固组件,并携带导线夹固组件和地线拆固组件起飞并降落,实现接地线的拆除。Disassembly step S5, releasing the ground wire removal assembly, so that the ground wire removal assembly carries the ground wire and moves down to the ground relative to the wire clamping assembly, disassembles the locking of the ground wire and the ground wire removal assembly, and drives the ground wire The wire dismantling assembly moves upward relative to the wire clamping assembly to the wire clamping assembly and locks it. The wire clamping assembly is picked up by the drone, and the wire clamping assembly and the ground wire dismantling assembly are taken off and landed to achieve grounding. Line removal.

具体地,地面作业人员通过拉地线解锁绳,释放地线解锁件21对地线卡钩22的锁定,在配重件25的牵引下释放地线卡钩22,使得地线卡钩22向下移动至地面;然后,拆开接地线与地线卡钩22的连接,并可拆除接地线接地端的一端线夹;地面作业人员通过拉动牵引绳,使得牵引绳拉动地线卡钩22向上提拉至右夹块213和左夹块212之间,释放地线解锁绳,使得右夹块213和左夹块212相对移动以夹持并锁定地线卡钩22,恢复至初始状态,释放地线解锁绳及牵引绳;最后,控制无人机200飞行至接地线挂拆装置100所在位置处,拆除接地线挂拆装置100并降落地。Specifically, the ground operator releases the locking of the ground wire hook 22 by the ground wire unlocking member 21 by pulling the ground wire unlocking rope, and releases the ground wire hook 22 under the traction of the counterweight 25, so that the ground wire hook 22 moves toward the ground wire. Move down to the ground; then, disassemble the connection between the ground wire and the ground wire hook 22, and remove a clamp at the ground end of the ground wire; the ground operator pulls the ground wire hook 22 to lift up Pull between the right clamping block 213 and the left clamping block 212, release the ground wire unlocking rope, so that the right clamping block 213 and the left clamping block 212 move relatively to clamp and lock the ground wire hook 22, return to the original state, release the ground wire Line unlocking rope and traction rope; finally, control the UAV 200 to fly to the position where the grounding line hanging and dismantling device 100 is located, remove the grounding line hanging and dismantling device 100 and land on the ground.

综上,本实施例提供的接地线挂拆方法,通过导线夹固组件1挂取在无人机200上,以随无人机200挂在导线300上,并在无人机200释放导线夹固组件1的同时,导线夹固组件1以能够拆卸的方式夹固在导线300上;通过地线拆固组件2随导线夹固组件1挂在导线300上,并能够提拉接地线至导线夹固组1件上,以实现导线300的接地,作业全程不需要人员登塔,极大提升了接地线挂拆的灵活性、可靠性和安全性,减少了高空跌落及感应触电风险,作业智能化和自动化程度高,解决了现有接地线挂拆高度有限、高空作业作业较为不便的问题。To sum up, the method for hanging and removing the grounding wire provided in this embodiment is to hang on the UAV 200 through the wire clamping assembly 1, so as to hang on the wire 300 along with the UAV 200, and release the wire clamp on the UAV 200 While fixing the assembly 1, the wire clamping assembly 1 is clamped on the wire 300 in a detachable manner; through the ground wire dismantling assembly 2, the wire clamping assembly 1 is hung on the wire 300, and the grounding wire can be pulled to the wire One piece of clamping group is used to realize the grounding of the wire 300. No personnel need to climb the tower during the whole operation, which greatly improves the flexibility, reliability and safety of the grounding wire hanging and detaching, and reduces the risk of falling from high altitude and induction electric shock. The high degree of intelligence and automation solves the problems of limited hanging and dismounting height of the existing grounding wire and inconvenient high-altitude operations.

需要说明的是,在本发明的描述中,术语“上”、“下”、“左”、“右”、“内”、“外”等指示的方向或位置关系的术语是基于附图所示的方向或位置关系,这仅仅是为了便于描述,而不是指示或暗示所述装置或元件必须具有特定的方位、以特定的方位构造和操作,因此不能理解为对本发明的限制。It should be noted that, in the description of the present invention, terms such as "upper", "lower", "left", "right", "inner", "outer" and other indicated directions or positional relationships are based on the terms shown in the accompanying drawings. The direction or positional relationship shown is only for convenience of description, and does not indicate or imply that the device or element must have a specific orientation, be constructed and operated in a specific orientation, and thus should not be construed as limiting the present invention.

此外,还需要说明的是,在本发明的描述中,除非另有明确的规定和限定,术语“安装”、“相连”、“连接”应做广义理解,例如,可以是固定连接,也可以是可拆卸连接,或一体地连接;可以是直接相连,也可以通过中间媒介间接相连,可以是两个元件内部的连通。对于本领域技术人员而言,可根据具体情况理解上述术语在本发明中的具体含义。In addition, it should be noted that, in the description of the present invention, unless otherwise clearly stipulated and limited, the terms "installation", "connection" and "connection" should be understood in a broad sense, for example, it can be a fixed connection or a It is a detachable connection or an integral connection; it can be directly connected or indirectly connected through an intermediary, and it can be the internal communication of two components. Those skilled in the art can understand the specific meanings of the above terms in the present invention according to specific situations.

显然,本领域的技术人员可以对本发明进行各种改动和变型而不脱离本发明的精神和范围。这样,倘若本发明的这些修改和变型属于本发明权利要求及其等同技术的范围之内,则本发明也意图包含这些改动和变型在内。Obviously, those skilled in the art can make various changes and modifications to the present invention without departing from the spirit and scope of the present invention. Thus, if these modifications and variations of the present invention fall within the scope of the claims of the present invention and their equivalent technologies, the present invention also intends to include these modifications and variations.

Claims (17)

1.一种接地线挂拆装置,其特征在于,包括:导线夹固组件和地线拆固组件;其中,1. A grounding wire hanging and dismantling device, characterized in that it comprises: a wire clamping assembly and a grounding wire dismantling assembly; wherein, 所述导线夹固组件用于挂取在无人机上,以随无人机挂在导线上,并在无人机释放所述导线夹固组件的同时,所述导线夹固组件以能够拆卸的方式夹固在所述导线上;The wire clamping assembly is used to hang on the drone, so as to hang on the wire with the drone, and when the drone releases the wire clamping assembly, the wire clamping assembly is detachable clamped on the wire; 所述地线拆固组件设置在所述导线夹固组件上,用于随所述导线夹固组件挂在所述导线上,并能够提拉接地线至所述导线夹固组件上,以实现导线的接地。The ground wire removal assembly is arranged on the wire clamping assembly, and is used to hang on the wire with the wire clamping assembly, and can pull the ground wire to the wire clamping assembly to realize grounding of the wire. 2.根据权利要求1所述的接地线挂拆装置,其特征在于,所述导线夹固组件包括:挂接主体、挂取件、滑动件和夹固钳;其中,2. The grounding wire hanging and removing device according to claim 1, wherein the wire clamping assembly comprises: a hooking main body, a hanging piece, a sliding piece and a clamping pliers; wherein, 所述滑动件以能够相对于所述挂接主体进行滑动的方式设置在所述挂接主体上,所述挂取件设置在所述滑动件的上方且与所述滑动件相连接,所述夹固钳设置在所述挂接主体上,所述夹固钳还与所述滑动件相连接,并且,所述夹固钳上设有复位弹簧,用于在所述夹固钳处于释放状态时施加复位力至所述夹固钳上,以使所述夹固钳复位至闭合状态;The sliding piece is arranged on the hanging main body in a manner that can slide relative to the hanging main body, the hanging piece is arranged above the sliding piece and connected with the sliding piece, the The clamping pliers are arranged on the hooking main body, the clamping pliers are also connected with the sliding part, and a return spring is provided on the clamping pliers for Applying a restoring force to the clamping forceps at the same time, so that the clamping clamps are reset to the closed state; 所述挂取件挂接在无人机时,在无人机的提拉作用下施加向上的作用力至所述滑动件上,以使所述滑动件相对于所述挂接主体向上滑动,并施加张开力至所述夹固钳上,使得所述夹固钳张开,以使导线自张开处进入所述挂接主体的夹固槽内;When the hanger is hooked to the drone, an upward force is applied to the slider under the pulling effect of the drone, so that the slider slides upward relative to the hooking main body, And apply an opening force to the clamping pliers, so that the clamping pliers are opened, so that the wire enters the clamping groove of the hooking main body from the opening; 在无人机释放所述挂取件后,所述滑动件在重力的作用下向下移动以复位,并释放所述夹固钳,以使所述夹固钳闭合,进而将导线封锁夹固在所述夹固槽处。After the UAV releases the hanging part, the sliding part moves downward under the action of gravity to reset, and releases the clamping clamp, so that the clamping clamp closes, and then the wire is blocked and clamped at the clamping groove. 3.根据权利要求2所述的接地线挂拆装置,其特征在于,所述夹固钳包括:两个夹固钳本体;其中,3. The grounding wire hanging and removing device according to claim 2, wherein the clamping pliers comprise: two clamping pliers bodies; wherein, 两个所述夹固钳本体相对设置,并且,两个所述夹固钳本体相铰接,用于相对转动,能够张开使得导线能够进入两个所述夹固钳本体之间,还能够闭合将导线封锁夹固在两个所述夹固钳本体之间。The two clamp bodies are arranged opposite to each other, and the two clamp bodies are hinged for relative rotation, can be opened so that the wire can enter between the two clamp bodies, and can also be closed The wire block is clamped between the two clamp bodies. 4.根据权利要求3所述的接地线挂拆装置,其特征在于,4. The ground wire hanger and detachment device according to claim 3, characterized in that: 各所述夹固钳本体上还设有卡扣档杆,所述卡扣档杆的一端可转动地连接在所述夹固钳本体上,另一端与所述夹固钳本体可滑动地相连接,用于抵接在另一个所述夹固钳本体上的卡扣档杆上,以使两个卡扣档杆相抵接,以对两个所述夹固钳本体之间的缝隙进行封锁;Each clamp body is also provided with a buckle lever, one end of the buckle lever is rotatably connected to the clamp body, and the other end is slidably connected to the clamp body. connected, used to abut against the buckle bar on the other clamp body, so that the two snap bars abut against each other, so as to block the gap between the two clamp bodies ; 所述卡扣档杆还与所述滑动件相连接,用于在所述滑动件的作用下带动所述夹固钳本体转动,以使所述夹固钳本体张开。The buckle bar is also connected with the sliding member, and is used to drive the clamping pliers body to rotate under the action of the sliding member, so as to open the clamping pliers body. 5.根据权利要求4所述的接地线挂拆装置,其特征在于,5. The ground wire hanger and detachment device according to claim 4, characterized in that: 所述卡扣档杆和所述夹固钳本体之间还设有复位弹片,用于施加复位力至所述卡扣档杆上,以使所述卡扣档杆复位至抵接在另一卡扣档杆上。There is also a reset shrapnel between the buckle bar and the clamp body, which is used to apply a reset force to the snap bar, so that the snap bar is reset to abut against another Snap on the gear lever. 6.根据权利要求1至5任一项所述的接地线挂拆装置,其特征在于,所述地线拆固组件包括:地线解锁件和地线卡钩;其中,6. The ground wire hanging and removing device according to any one of claims 1 to 5, characterized in that, the ground wire removing and securing assembly comprises: a ground wire unlocking member and a ground wire hook; wherein, 所述地线解锁件与所述地线卡钩相连接,用于将所述地线卡钩锁定在所述地线解锁件的锁定位置处;The ground wire unlocking part is connected with the ground wire hook, and is used to lock the ground wire hook at the locking position of the ground wire unlocking part; 所述地线解锁件连接有解锁驱动件,用于施加作用力至所述地线解锁件上,以解锁对所述地线卡钩的锁定;The ground wire unlocking part is connected with an unlocking driving part, which is used to apply force to the ground wire unlocking part to unlock the locking of the ground wire hook; 所述地线卡钩连接有牵引件,用于施加牵引力至所述地线卡钩上,以在所述地线解锁件解锁对所述地线卡钩的锁定后,所述地线卡钩在所述牵引件的牵引力作用下上下移动,进而在所述地线卡钩向下移动至地面处后连接接地线,并使得接地线随所述地线卡钩向上移动至锁定位置处,并通过所述地线解锁件锁定在锁定位置处,实现所述接地线的挂接。The ground wire hook is connected with a traction member for applying traction force to the ground wire hook, so that after the ground wire unlocking member unlocks the ground wire hook, the ground wire hook move up and down under the traction force of the traction member, and then connect the ground wire after the ground wire hook moves down to the ground, and make the ground wire move up to the locking position with the ground wire hook, and The hooking of the ground wire is realized by locking the ground wire unlocking member at the locked position. 7.根据权利要求6所述的接地线挂拆装置,其特征在于,所述地线解锁件包括:地线卡盒、右夹块和左夹块;其中,7. The ground wire hanging and detaching device according to claim 6, wherein the ground wire unlocking member comprises: a ground wire clamping box, a right clamping block and a left clamping block; wherein, 所述右夹块和所述左夹块中的至少一个以能够移动的方式设置在所述地线卡盒内,并且,所述右夹块和所述左夹块中的至少一个与所述解锁驱动件相连接,用于在所述解锁驱动件的作用下,所述右夹块和所述左夹块相背运动,以实现对所述地线卡钩的解锁。At least one of the right clamping block and the left clamping block is movably arranged in the ground wire cassette, and at least one of the right clamping block and the left clamping block is in contact with the The unlocking driving member is connected, and is used for moving the right clamping block and the left clamping block oppositely under the action of the unlocking driving member, so as to realize unlocking of the ground wire hook. 8.根据权利要求7所述的接地线挂拆装置,其特征在于,8. The ground wire hanger and detachment device according to claim 7, characterized in that: 所述地线卡盒的底部设有喇叭口结构,用于对所述地线卡钩进出所述地线卡盒进行导向。The bottom of the ground wire cassette is provided with a trumpet structure for guiding the ground wire hook to enter and exit the ground wire cassette. 9.根据权利要求6所述的接地线挂拆装置,其特征在于,9. The ground wire hanger and detachment device according to claim 6, characterized in that: 所述牵引件为牵引绳,所述解锁驱动件为地线解锁绳;The traction part is a traction rope, and the unlocking drive part is a ground wire unlocking rope; 所述地线解锁件设置在所述导线夹固组件的第一侧,所述牵引绳的一端与所述地线卡钩相连接,并向上延伸至所述导线夹固组件处,自所述导线夹固组件内绕过至所述导线夹固组件的第二侧,以使所述牵引绳位于所述导线夹固组件第二侧的另一端作为牵引端,使得所述牵引端和所述地线卡钩分别置于导线的两侧;The ground wire unlocking part is arranged on the first side of the wire clamping assembly, one end of the traction rope is connected with the ground wire hook, and extends upward to the wire clamping assembly, from the The wire clamping assembly is bypassed to the second side of the wire clamping assembly, so that the other end of the pulling rope located on the second side of the wire clamping assembly is used as a pulling end, so that the pulling end and the The ground wire hooks are respectively placed on both sides of the wire; 所述地线解锁绳的一端与所述地线解锁件相连接,并向上延伸至所述导线夹固组件的顶部,自所述导线夹固组件的顶部绕过至所述导线夹固组件的第二侧,以使所述地线解锁绳位于所述导线夹固组件第二侧的另一端作为解锁驱动端,使得所述解锁驱动端和所述地线卡钩分别置于导线的两侧。One end of the ground wire unlocking rope is connected to the ground wire unlocking member, and extends upward to the top of the wire clamping assembly, and bypasses from the top of the wire clamping assembly to the top of the wire clamping assembly. The second side, so that the other end of the ground wire unlocking rope on the second side of the wire clamping assembly is used as the unlocking driving end, so that the unlocking driving end and the ground wire hook are respectively placed on both sides of the wire . 10.根据权利要求6所述的接地线挂拆装置,其特征在于,10. The ground wire hanger and detachment device according to claim 6, characterized in that: 所述地线卡钩上设有连接孔,用于连接配重件,以使所述地线卡钩在解锁状态下能够在所述配重件的重力作用下向下移动至地面处,以连接接地线。The ground wire hook is provided with a connection hole for connecting the counterweight, so that the ground wire hook can move down to the ground under the gravity of the counterweight in the unlocked state, so as to Connect the ground wire. 11.一种接地线挂拆系统,其特征在于,设置有如权利要求1至10任一项所述的接地线挂拆装置。11. A grounding wire hanging and removing system, characterized in that it is provided with the grounding wire hanging and removing device according to any one of claims 1 to 10. 12.根据权利要求11所述的接地线挂拆系统,其特征在于,还包括:12. The ground wire hanging and detaching system according to claim 11, further comprising: 无人机,所述无人机上设有连接件,用于钩挂所述接地线挂拆装置,以携带所述接地线挂拆装置进行飞行;An unmanned aerial vehicle, the unmanned aerial vehicle is provided with a connecting piece, which is used to hook the ground wire hanger and detachment device, so as to carry the ground wire hanger and detachment device for flight; 图像采集器,设置在所述无人机上,用于获取所述接地线挂拆装置与导线之间的相对位置,以基于两者之间的相对位置控制无人机的飞行。The image collector is arranged on the UAV, and is used to obtain the relative position between the grounding wire hanging device and the wire, so as to control the flight of the UAV based on the relative position between the two. 13.根据权利要求12所述的接地线挂拆系统,其特征在于,所述连接件包括:13. The grounding wire hanging and detaching system according to claim 12, wherein the connecting piece comprises: 连接件本体,其两端分别与所述无人机的两个脚架相连接;The connector body, the two ends of which are respectively connected with the two tripods of the drone; 多爪挂钩,固定端设置在所述连接件本体上,钩挂端为多爪结构,用于挂取所述接地线挂拆装置。A multi-claw hook, the fixed end is arranged on the connector body, and the hook end has a multi-claw structure, which is used to hook the grounding wire hanging and dismounting device. 14.一种接地线挂拆方法,其特征在于,采用如权利要求1至10任一项所述的接地线挂拆装置,所述挂拆方法包括如下步骤:14. A method for hanging and removing a ground wire, characterized in that the device for hanging and removing a ground wire according to any one of claims 1 to 10 is used, and the method for hanging and removing comprises the following steps: 安装步骤,将导线夹固组件挂取在无人机上;The installation step is to hang the wire clamping assembly on the drone; 爬升步骤,通过无人机飞行携带导线夹固组件和地线拆固组件起飞并爬升,直至无人机飞至超过导线挂接位置高度处进行悬停;The climbing step is to carry the wire clamping assembly and the ground wire removal assembly through the flight of the UAV to take off and climb until the UAV flies to a height exceeding the height of the wire hooking position for hovering; 导线夹固步骤,通过无人机携带导线夹固组件和地线拆固组件水平飞行,直至导线的上方,并通过无人机携带导线夹固组件和地线拆固组件下降,直至导线夹固组件挂在导线上,通过无人机释放导线夹固组件,使得导线夹固组件夹固在所述导线上;In the wire clamping step, the UAV carries the wire clamping assembly and the ground wire removal assembly and flies horizontally until it is above the wire, and the UAV carries the wire clamping assembly and the ground wire removal assembly and descends until the wire is clamped The component is hung on the wire, and the wire clamping component is released by the drone, so that the wire clamping component is clamped on the wire; 地线挂接步骤,释放地线拆固组件,以使地线拆固组件相对于所述导线夹固组件向下移动至地面,将接地线的一端线夹固定,另一端与地线拆固组件固定并锁紧,将地线拆固组件携带接地线向上移动至导线夹固组件处,并锁定在导线夹固组件上,实现导线的接地。The ground wire hooking step is to release the ground wire removal assembly, so that the ground wire removal assembly moves down to the ground relative to the wire clamp assembly, fix one end of the ground wire with a clamp, and the other end is removed from the ground wire The component is fixed and locked, and the ground wire removal component carries the ground wire and moves up to the wire clamping component, and is locked on the wire clamping component to realize the grounding of the wire. 15.根据权利要求14所述的接地线挂拆方法,其特征在于,所述释放地线拆固组件,以使地线拆固组件相对于所述导线夹固组件向下移动至地面,具体为:15. The method for hanging and removing the ground wire according to claim 14, characterized in that the release of the ground wire removal assembly allows the ground wire removal assembly to move down to the ground relative to the wire clamping assembly, specifically for: 提拉地线解锁绳,释放地线解锁件对地线卡钩的锁定,在配重件的牵引下释放地线卡钩,使得地线卡钩向下移动至地面。Pull the ground wire unlocking rope to release the locking of the ground wire unlocking part to the ground wire hook, and release the ground wire hook under the traction of the counterweight, so that the ground wire hook moves down to the ground. 16.根据权利要求14或15所述的接地线挂拆方法,其特征在于,所述将地线拆固组件携带接地线向上移动至导线夹固组件处,并锁定在导线夹固组件上,具体为:16. The method for hanging and removing the ground wire according to claim 14 or 15, wherein the ground wire removal assembly carries the ground wire and moves upward to the wire clamping assembly, and is locked on the wire clamping assembly, Specifically: 拉动牵引绳,使得牵引绳拉动地线卡钩向上提拉至右夹块和左夹块之间,释放地线解锁绳,使得右夹块和左夹块相对移动以夹持并锁定地线卡钩。Pull the traction rope, so that the traction rope pulls the ground wire hook up to between the right clamping block and the left clamping block, releases the ground wire unlocking rope, makes the right clamping block and left clamping block move relatively to clamp and lock the ground wire clamp hook. 17.根据权利要求14或15所述的接地线挂拆方法,其特征在于,在所述地线挂接步骤之后,还包括如下步骤:17. The method for hanging and removing the ground wire according to claim 14 or 15, characterized in that, after the step of connecting the ground wire, the following steps are further included: 拆卸步骤,释放地线拆固组件,以使地线拆固组件携带接地线相对于所述导线夹固组件向下移动至地面,拆开接地线与地线拆固组件的锁紧,并驱动地线拆固组件相对于所述导线夹固组件向上移动至导线夹固组件处并锁定,通过无人机挂取导线夹固组件,并携带导线夹固组件和地线拆固组件起飞并降落,实现接地线的拆除。The disassembly step is to release the ground wire dismantling assembly, so that the ground wire dismantling assembly carries the ground wire and moves down to the ground relative to the wire clamping assembly, disassembles the locking of the ground wire and the ground wire dismantling assembly, and drives The ground wire clamping assembly is moved upwards relative to the wire clamping assembly to the wire clamping assembly and locked, the wire clamping assembly is picked up by the drone, and the wire clamping assembly and the ground wire clamping assembly are taken off and landed , to achieve the removal of the ground wire.
CN202211346985.4A 2022-10-31 2022-10-31 A device, system and method for hanging and removing grounding wires Pending CN116260069A (en)

Priority Applications (1)

Application Number Priority Date Filing Date Title
CN202211346985.4A CN116260069A (en) 2022-10-31 2022-10-31 A device, system and method for hanging and removing grounding wires

Applications Claiming Priority (1)

Application Number Priority Date Filing Date Title
CN202211346985.4A CN116260069A (en) 2022-10-31 2022-10-31 A device, system and method for hanging and removing grounding wires

Publications (1)

Publication Number Publication Date
CN116260069A true CN116260069A (en) 2023-06-13

Family

ID=86686864

Family Applications (1)

Application Number Title Priority Date Filing Date
CN202211346985.4A Pending CN116260069A (en) 2022-10-31 2022-10-31 A device, system and method for hanging and removing grounding wires

Country Status (1)

Country Link
CN (1) CN116260069A (en)

Cited By (7)

* Cited by examiner, † Cited by third party
Publication number Priority date Publication date Assignee Title
CN116487909A (en) * 2023-06-21 2023-07-25 中国电力科学研究院有限公司 Device, system and method for hanging and removing grounding wire without climbing
CN117595139A (en) * 2023-11-18 2024-02-23 国网安徽省电力有限公司蒙城县供电公司 A high-altitude hooking device for grounding wires in substations
CN118399250A (en) * 2024-04-15 2024-07-26 甘肃送变电工程有限公司 Auxiliary hanging and dismantling grounding device for unmanned aerial vehicle hoisting
CN118712834A (en) * 2024-08-28 2024-09-27 西安博展电力技术有限公司 A ground wire removal and hanging device based on drone with non-contact electrical testing function
CN118739115A (en) * 2024-09-04 2024-10-01 西安博展电力技术有限公司 An automatic hanging and removing wiring device for drones with electric field detection capability
CN119447847A (en) * 2024-11-26 2025-02-14 广东电网有限责任公司云浮供电局 Grounding assembly and grounding device having the same
CN120184626A (en) * 2025-05-19 2025-06-20 国网甘肃省电力公司武威供电公司 A method for mounting a lockable grounding wire clamp device on an unmanned aerial vehicle and introducing return current from a high-voltage wire into the ground

Cited By (14)

* Cited by examiner, † Cited by third party
Publication number Priority date Publication date Assignee Title
CN116487909A (en) * 2023-06-21 2023-07-25 中国电力科学研究院有限公司 Device, system and method for hanging and removing grounding wire without climbing
CN116487909B (en) * 2023-06-21 2023-09-19 中国电力科学研究院有限公司 Climbing-free grounding wire hanging and detaching device, system and method
CN117595139A (en) * 2023-11-18 2024-02-23 国网安徽省电力有限公司蒙城县供电公司 A high-altitude hooking device for grounding wires in substations
CN117595139B (en) * 2023-11-18 2024-04-23 国网安徽省电力有限公司蒙城县供电公司 A high-altitude hanging device for substation grounding wire
CN118399250B (en) * 2024-04-15 2024-09-27 甘肃送变电工程有限公司 Auxiliary hanging and dismantling grounding device for unmanned aerial vehicle hoisting
CN118399250A (en) * 2024-04-15 2024-07-26 甘肃送变电工程有限公司 Auxiliary hanging and dismantling grounding device for unmanned aerial vehicle hoisting
CN118712834A (en) * 2024-08-28 2024-09-27 西安博展电力技术有限公司 A ground wire removal and hanging device based on drone with non-contact electrical testing function
CN118712834B (en) * 2024-08-28 2024-11-08 西安博展电力技术有限公司 Unmanned aerial vehicle-based ground wire disassembling and assembling device with non-contact electricity testing function
CN118739115A (en) * 2024-09-04 2024-10-01 西安博展电力技术有限公司 An automatic hanging and removing wiring device for drones with electric field detection capability
CN118739115B (en) * 2024-09-04 2024-12-10 西安博展电力技术有限公司 An automatic wiring device for unmanned aerial vehicles with electric field detection capability
CN119447847A (en) * 2024-11-26 2025-02-14 广东电网有限责任公司云浮供电局 Grounding assembly and grounding device having the same
CN119447847B (en) * 2024-11-26 2025-12-30 广东电网有限责任公司云浮供电局 Grounding components and grounding devices having the same
CN120184626A (en) * 2025-05-19 2025-06-20 国网甘肃省电力公司武威供电公司 A method for mounting a lockable grounding wire clamp device on an unmanned aerial vehicle and introducing return current from a high-voltage wire into the ground
CN120184626B (en) * 2025-05-19 2025-08-26 国网甘肃省电力公司武威供电公司 A method for mounting a lockable grounding clamp device on a drone and introducing return current from a high-voltage line into the ground

Similar Documents

Publication Publication Date Title
CN116260069A (en) A device, system and method for hanging and removing grounding wires
CN114010973B (en) An artificial tower protection device based on unmanned aerial vehicle technology and its application method
CN112587823B (en) Anti-fall device based on drone suspension and suspension method thereof
CN107221874A (en) A kind of vehicular with hanging wire unmanned plane independently goes up coil inserting apparatus and method
CN110788870A (en) A kind of robot for hanging ground wire of power distribution overhead line and its operation method
CN207053051U (en) A kind of hanging wire unmanned plane reached the standard grade for livewire work machine
CN107196233A (en) A kind of hot line robot independently goes up coil inserting apparatus
CN115313243A (en) Robot for installing spacer of high-voltage transmission line
CN107196232B (en) A kind of hot line robot autonomous upper coil inserting apparatus of vehicular
CN218275809U (en) A high-voltage transmission line spacer installation robot
CN116487909B (en) Climbing-free grounding wire hanging and detaching device, system and method
CN112165022A (en) Anti-dropping, hanging and dismantling transfer device for aerial work on overhead transmission lines
CN111478224A (en) A hanging and dismantling device for repairing equipment for live conductors of overhead lines and its working method
CN118100023B (en) Rope hanging point device based on unmanned aerial vehicle installation and installation method
CN116747465B (en) Falling-preventing rope safety lock catch and falling-preventing rope mounting device
MX2008011794A (en) Apparatus for escaping area of accident.
CN117239622A (en) A high-altitude anti-detachment hook for transmission poles and towers suspended and assembled by drones
JP2004293182A (en) Method and device for lifting and lowering working device to high place structure
CN116236718A (en) Safety rope fixing device for power maintenance tower climbing operation
JPH1066214A (en) Device and method for fitting metallic wheel for supporting wire
CN218678219U (en) High-altitude wire locking device
CN219651385U (en) Unmanned aerial vehicle exhibition is put and is prevented weighing down rope device
CN207053047U (en) It is a kind of to be used for vehicular job platform offline on livewire work machine
CN213862677U (en) Throwing rope ware device based on unmanned aerial vehicle machine carries
JPH05319729A (en) Attaching work device of guide rail of elevator and attaching work method of guide rail using that device

Legal Events

Date Code Title Description
PB01 Publication
PB01 Publication
SE01 Entry into force of request for substantive examination
SE01 Entry into force of request for substantive examination