CN116190851A - Integrated temperature control system of energy storage system - Google Patents
Integrated temperature control system of energy storage system Download PDFInfo
- Publication number
- CN116190851A CN116190851A CN202310442391.1A CN202310442391A CN116190851A CN 116190851 A CN116190851 A CN 116190851A CN 202310442391 A CN202310442391 A CN 202310442391A CN 116190851 A CN116190851 A CN 116190851A
- Authority
- CN
- China
- Prior art keywords
- fixedly connected
- heat dissipation
- built
- water pipe
- energy storage
- Prior art date
- Legal status (The legal status is an assumption and is not a legal conclusion. Google has not performed a legal analysis and makes no representation as to the accuracy of the status listed.)
- Granted
Links
- 238000004146 energy storage Methods 0.000 title claims abstract description 21
- 230000017525 heat dissipation Effects 0.000 claims abstract description 119
- XLYOFNOQVPJJNP-UHFFFAOYSA-N water Substances O XLYOFNOQVPJJNP-UHFFFAOYSA-N 0.000 claims abstract description 119
- 229920001971 elastomer Polymers 0.000 claims abstract description 72
- 239000005060 rubber Substances 0.000 claims abstract description 72
- 239000007788 liquid Substances 0.000 claims abstract description 37
- 238000002347 injection Methods 0.000 claims abstract description 36
- 239000007924 injection Substances 0.000 claims abstract description 36
- OKTJSMMVPCPJKN-UHFFFAOYSA-N Carbon Chemical compound [C] OKTJSMMVPCPJKN-UHFFFAOYSA-N 0.000 claims abstract description 11
- 229910021389 graphene Inorganic materials 0.000 claims abstract description 11
- 239000006185 dispersion Substances 0.000 claims description 31
- 238000001179 sorption measurement Methods 0.000 claims description 24
- 238000001816 cooling Methods 0.000 claims description 17
- 238000009434 installation Methods 0.000 claims description 12
- 238000005057 refrigeration Methods 0.000 claims description 12
- 244000309464 bull Species 0.000 claims description 8
- 230000000149 penetrating effect Effects 0.000 claims description 3
- 238000007789 sealing Methods 0.000 claims description 3
- 230000008859 change Effects 0.000 claims description 2
- 230000000694 effects Effects 0.000 abstract description 11
- 239000000463 material Substances 0.000 abstract description 6
- 230000007246 mechanism Effects 0.000 abstract description 3
- 238000001125 extrusion Methods 0.000 description 5
- 239000000872 buffer Substances 0.000 description 3
- 238000010586 diagram Methods 0.000 description 2
- 238000000034 method Methods 0.000 description 2
- 238000012545 processing Methods 0.000 description 2
- 230000002035 prolonged effect Effects 0.000 description 2
- 230000005855 radiation Effects 0.000 description 2
- 238000005452 bending Methods 0.000 description 1
- 239000002826 coolant Substances 0.000 description 1
- 230000007547 defect Effects 0.000 description 1
- 238000013461 design Methods 0.000 description 1
- 238000011161 development Methods 0.000 description 1
- 238000010438 heat treatment Methods 0.000 description 1
- 230000008595 infiltration Effects 0.000 description 1
- 238000001764 infiltration Methods 0.000 description 1
- 230000010354 integration Effects 0.000 description 1
- 238000012986 modification Methods 0.000 description 1
- 230000004048 modification Effects 0.000 description 1
- 239000012466 permeate Substances 0.000 description 1
- 230000008569 process Effects 0.000 description 1
- 238000000926 separation method Methods 0.000 description 1
- 239000000243 solution Substances 0.000 description 1
- 230000001360 synchronised effect Effects 0.000 description 1
Images
Classifications
-
- H—ELECTRICITY
- H01—ELECTRIC ELEMENTS
- H01M—PROCESSES OR MEANS, e.g. BATTERIES, FOR THE DIRECT CONVERSION OF CHEMICAL ENERGY INTO ELECTRICAL ENERGY
- H01M10/00—Secondary cells; Manufacture thereof
- H01M10/60—Heating or cooling; Temperature control
- H01M10/61—Types of temperature control
- H01M10/613—Cooling or keeping cold
-
- F—MECHANICAL ENGINEERING; LIGHTING; HEATING; WEAPONS; BLASTING
- F16—ENGINEERING ELEMENTS AND UNITS; GENERAL MEASURES FOR PRODUCING AND MAINTAINING EFFECTIVE FUNCTIONING OF MACHINES OR INSTALLATIONS; THERMAL INSULATION IN GENERAL
- F16F—SPRINGS; SHOCK-ABSORBERS; MEANS FOR DAMPING VIBRATION
- F16F15/00—Suppression of vibrations in systems; Means or arrangements for avoiding or reducing out-of-balance forces, e.g. due to motion
- F16F15/02—Suppression of vibrations of non-rotating, e.g. reciprocating systems; Suppression of vibrations of rotating systems by use of members not moving with the rotating systems
- F16F15/04—Suppression of vibrations of non-rotating, e.g. reciprocating systems; Suppression of vibrations of rotating systems by use of members not moving with the rotating systems using elastic means
-
- H—ELECTRICITY
- H01—ELECTRIC ELEMENTS
- H01M—PROCESSES OR MEANS, e.g. BATTERIES, FOR THE DIRECT CONVERSION OF CHEMICAL ENERGY INTO ELECTRICAL ENERGY
- H01M10/00—Secondary cells; Manufacture thereof
- H01M10/60—Heating or cooling; Temperature control
- H01M10/62—Heating or cooling; Temperature control specially adapted for specific applications
- H01M10/625—Vehicles
-
- H—ELECTRICITY
- H01—ELECTRIC ELEMENTS
- H01M—PROCESSES OR MEANS, e.g. BATTERIES, FOR THE DIRECT CONVERSION OF CHEMICAL ENERGY INTO ELECTRICAL ENERGY
- H01M10/00—Secondary cells; Manufacture thereof
- H01M10/60—Heating or cooling; Temperature control
- H01M10/65—Means for temperature control structurally associated with the cells
- H01M10/653—Means for temperature control structurally associated with the cells characterised by electrically insulating or thermally conductive materials
-
- H—ELECTRICITY
- H01—ELECTRIC ELEMENTS
- H01M—PROCESSES OR MEANS, e.g. BATTERIES, FOR THE DIRECT CONVERSION OF CHEMICAL ENERGY INTO ELECTRICAL ENERGY
- H01M10/00—Secondary cells; Manufacture thereof
- H01M10/60—Heating or cooling; Temperature control
- H01M10/65—Means for temperature control structurally associated with the cells
- H01M10/655—Solid structures for heat exchange or heat conduction
- H01M10/6551—Surfaces specially adapted for heat dissipation or radiation, e.g. fins or coatings
-
- H—ELECTRICITY
- H01—ELECTRIC ELEMENTS
- H01M—PROCESSES OR MEANS, e.g. BATTERIES, FOR THE DIRECT CONVERSION OF CHEMICAL ENERGY INTO ELECTRICAL ENERGY
- H01M10/00—Secondary cells; Manufacture thereof
- H01M10/60—Heating or cooling; Temperature control
- H01M10/65—Means for temperature control structurally associated with the cells
- H01M10/655—Solid structures for heat exchange or heat conduction
- H01M10/6556—Solid parts with flow channel passages or pipes for heat exchange
-
- H—ELECTRICITY
- H01—ELECTRIC ELEMENTS
- H01M—PROCESSES OR MEANS, e.g. BATTERIES, FOR THE DIRECT CONVERSION OF CHEMICAL ENERGY INTO ELECTRICAL ENERGY
- H01M10/00—Secondary cells; Manufacture thereof
- H01M10/60—Heating or cooling; Temperature control
- H01M10/65—Means for temperature control structurally associated with the cells
- H01M10/656—Means for temperature control structurally associated with the cells characterised by the type of heat-exchange fluid
- H01M10/6567—Liquids
-
- Y—GENERAL TAGGING OF NEW TECHNOLOGICAL DEVELOPMENTS; GENERAL TAGGING OF CROSS-SECTIONAL TECHNOLOGIES SPANNING OVER SEVERAL SECTIONS OF THE IPC; TECHNICAL SUBJECTS COVERED BY FORMER USPC CROSS-REFERENCE ART COLLECTIONS [XRACs] AND DIGESTS
- Y02—TECHNOLOGIES OR APPLICATIONS FOR MITIGATION OR ADAPTATION AGAINST CLIMATE CHANGE
- Y02E—REDUCTION OF GREENHOUSE GAS [GHG] EMISSIONS, RELATED TO ENERGY GENERATION, TRANSMISSION OR DISTRIBUTION
- Y02E60/00—Enabling technologies; Technologies with a potential or indirect contribution to GHG emissions mitigation
- Y02E60/10—Energy storage using batteries
Landscapes
- Engineering & Computer Science (AREA)
- Manufacturing & Machinery (AREA)
- Chemical & Material Sciences (AREA)
- Chemical Kinetics & Catalysis (AREA)
- Electrochemistry (AREA)
- General Chemical & Material Sciences (AREA)
- General Engineering & Computer Science (AREA)
- Acoustics & Sound (AREA)
- Aviation & Aerospace Engineering (AREA)
- Physics & Mathematics (AREA)
- Mechanical Engineering (AREA)
- Battery Mounting, Suspending (AREA)
- Secondary Cells (AREA)
Abstract
The invention discloses an integrated temperature control system of an energy storage system, and particularly relates to the technical field of energy storage batteries. The integrated temperature control system comprises an automobile battery pack shell frame, a battery mounting frame is fixedly connected to the center of the inside of the automobile battery pack shell frame, a battery pack is inserted into the battery mounting frame, the battery pack is used as a drive to drive all electronic elements in the automobile battery pack shell frame to operate, all mechanisms and sliding plates form a set of battery pack with heat dissipation functions, two ends of the battery mounting frame are provided with two sets of heat dissipation windows, the battery pack is arranged between an inner heat dissipation wall and an outer heat dissipation wall, direct contact with water flow is not needed, when the heat dissipation effect is needed to be large, a liquid injection rubber block is deformed by rubber materials, heat of the surface of the inner heat dissipation wall is conducted with one end close to the side wall of the inner heat dissipation wall, namely one end containing graphene, and therefore the heat dissipation effect of the battery pack is improved while the inside of a heat dissipation water pipe is protected.
Description
Technical Field
The invention relates to the technical field of energy storage batteries, in particular to an integrated temperature control system of an energy storage system.
Background
The temperature control system for providing heat management becomes a key factor of the efficiency of the energy storage system and is also the guarantee of the system efficiency, the battery pack in the intelligent electric car at present mainly depends on a heat dissipation mode technical route mainly based on liquid cooling and air cooling, as the temperature directly influences the activity of the battery, the temperature difference is too high or too low to influence the performances such as the availability, service life and efficiency of the energy storage system, and even potential safety hazards are brought, the traditional air cooling system has a simple structure and low cost, and the liquid cooling with low power consumption, high integration level and high heat exchange efficiency gradually occupies the main heat management market along with the development of the system. As described in chinese patent No. CN212874664U, the control of the battery temperature is completed through water circulation, so that the temperature of each contact point is constant, and uneven heating or cooling is avoided; the battery is heated or cooled by a water bath method, the temperature change rate is reduced, the battery is protected to the greatest extent, and the temperature control is completed.
However, the device has the following defects in the use process: above-mentioned scheme only utilizes a folding water pipe to dispel the heat to local battery surface, and the group battery of intelligent electric car is located automobile engine's circumference survey, and above-mentioned water pipe covers less, and the radiating effect inside the car is relatively poor, and because the car is on the road because the road surface is steep, if the car internal circuit ages, shake comparatively easily causes the group battery to survey the disconnection of the water-cooling heat dissipation connecting wire of connection around, and water-cooling plant if the unstable situation of connection appears, then the coolant liquid flows from the pipeline, can corrode the group battery inside the electric car, and then cause the car to damage.
Disclosure of Invention
In order to overcome the above-mentioned drawbacks of the prior art, an embodiment of the present invention provides an integrated temperature control system of an energy storage system, which uses rubber elasticity to buffer the conduction force of the built-in heat dissipation wall pressed by water flow, and the heat conducted by the water flow in the built-in heat dissipation wall is conducted to a liquid injection rubber block compressed and connected together, and the liquid injection rubber block deforms by using rubber materials to conduct the heat on the surface of the built-in heat dissipation wall at the end close to the side wall of the built-in heat dissipation wall, that is, at the end containing graphene, so as to solve the problems in the above-mentioned background art.
In order to achieve the above purpose, the present invention provides the following technical solutions: the integrated temperature control system of the energy storage system comprises an automobile battery pack housing frame, wherein a battery mounting frame is fixedly connected to the center of the inside of the automobile battery pack housing frame, a battery pack is inserted into the battery mounting frame and used as a drive to drive all electronic elements in the automobile battery pack housing frame to operate, all mechanisms and a sliding plate form a set of battery modules with heat dissipation functions, two groups of heat dissipation windows are arranged at two ends of the battery mounting frame, and a refrigerating assembly is fixedly connected to the bottom end of the automobile battery pack housing frame;
the two ends of the refrigeration assembly are fixedly connected with water cooling heads, the two ends of the refrigeration assembly are fixedly connected with heat dissipation pipelines through the water cooling heads, one end of each heat dissipation pipeline is fixedly connected with a connecting line port block, the refrigeration assembly comprises a water pump, a water tank and a cold row, the heat dissipation pipelines conduct heat conducted by the surface of a battery pack in the battery mounting frame to the refrigeration assembly through the water cooling heads, the heat is dissipated through the flowing of water to the cold row, and the water pump conducts water flow in the water tank through the heat dissipation pipelines to form circulation;
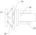
the internal heat dissipation wall is fixedly connected with an external heat dissipation wall, the internal heat dissipation wall faces the internal part of the connecting line port block and is fixedly connected with an internal fixing block, one end of the internal fixing block, which faces the connecting line port block, is fixedly connected with an annular cylindrical internal heat dissipation wall, one end of the internal heat dissipation wall, which faces the external heat dissipation wall, is fixedly connected with an internal fixing block with a cavity inside, the piston push rod can slide in the cavity inside the internal fixing block, the internal part of the internal fixing block is fixedly connected with a second spring, the internal part of the second spring is fixedly connected with a piston push rod, the piston push rod is in sliding connection with the internal heat dissipation wall and the internal fixing block, a water-leakage-proof sealing rubber sleeve is arranged at the joint of the piston push rod and the internal heat dissipation wall, and water does not permeate between the internal heat dissipation wall and the external heat dissipation wall when the piston push rod slides inside the internal heat dissipation wall;
the piston push rod is kept away from the one end fixedly connected with vacuum adsorption pad of built-in fixed block, the both ends of vacuum adsorption pad are articulated to have the support folding frame, the inside fixedly connected with piston post of line port piece, vacuum adsorption pad is negative pressure state setting with the piston post grafting.
In a preferred embodiment, the built-in heat dissipation wall is two sections, one section the surface fixedly connected with parcel frame of built-in heat dissipation wall, another section built-in heat dissipation wall is the slip state setting in parcel frame, two sections fixedly connected with third spring between the built-in heat dissipation wall, because the rivers circulation in the current water-cooling passes through the water pump control, when the rivers flow into built-in heat dissipation wall from the wiring port piece once, can cause great pressure to the lateral wall of built-in heat dissipation wall, and the built-in heat dissipation wall of pressure extrusion is built-in heat dissipation wall this moment, and built-in heat dissipation wall drives parcel frame and slides at the surface of another section built-in heat dissipation wall under the circumstances of impermeability water, utilizes the elasticity of third spring to cushion here.
In a preferred embodiment, one end of the internal heat dissipation wall facing the external heat dissipation wall is fixedly connected with a plurality of groups of bearing rubbers, one end of the bearing rubbers is fixedly connected with two groups of liquid injection rubber blocks made of graphene and rubber, a middle positioning rod is fixedly connected between the two groups of liquid injection rubber blocks, and the two groups of liquid injection rubber blocks move towards two ends of the middle positioning rod through extrusion of the bearing rubbers by the internal heat dissipation wall.
In a preferred embodiment, one end of the liquid injection rubber block is fixedly connected with a receiving ball, the other end of the liquid injection rubber block is fixedly connected with a clamping clamp, the clamping clamp is matched with bearing rubber, the surface of the liquid injection rubber block close to one end of the second spring is fixed with the second spring through a curved surface, when the temperature of the surface of the sliding plate is higher, the water pump system is used for keeping the whole battery module in a relatively stable state, the temperature sensor carried in the automobile is used for an intelligent automobile processing system, and in the prior art of electric vehicles, a user can control the circulation speed of the water pump through the reacted data.
In a preferred embodiment, the outer surface of the heat dissipation pipeline is fixedly connected with a buckling block, the buckling block is fixedly arranged at one end of the battery mounting frame, and two groups of first water dispersing pipes are fixedly connected to one end of the heat dissipation pipeline penetrating through the buckling block.
In a preferred embodiment, two sets of the one end fixedly connected with the same quantity of second dispersion water pipe of first dispersion water pipe in both ends, first dispersion water pipe, heat dissipation pipeline and second dispersion water pipe are around setting up the week side at the battery mounting bracket, the diameter of heat dissipation pipeline is greater than the diameter of first dispersion water pipe, the diameter of first dispersion water pipe is greater than the diameter of second dispersion water pipe, because the transversal pipe diameter of heat dissipation pipeline is greater than first dispersion water pipe and second dispersion water pipe far away, when heat dissipation pipeline rivers impulse is too fast, then a large amount of rivers in the heat dissipation pipeline are in leading to second dispersion water pipe and the first dispersion water pipe through the guide of water pump, and the temperature of slide board upper and lower surface can all contact with second dispersion water pipe and first dispersion water pipe and heat dissipation pipeline, carries out good heat dissipation.
In a preferred embodiment, the bottom end of the heat dissipation pipeline is hinged with a water pipe installation plate, the bottom end of the water pipe installation plate is hinged with a telescopic rod, and the bottom end of the telescopic rod is fixedly connected with a sliding plate.
In a preferred embodiment, the bottom sliding connection of slide board has supplementary slide, the bottom fixedly connected with locating plate of supplementary slide, the both ends fixedly connected with fixed disk of slide board, the one end fixedly connected with first spring of fixed disk, locating plate fixed mounting is in the inside of car group battery shell frame.
In a preferred embodiment, one end fixedly connected with corresponding type pillar of first spring, correspond type pillar grafting is in the inside of fixed disk, the bottom fixedly connected with curved pole of water pipe setting board, the one end fixed connection of curved pole is at the surface of corresponding type pillar, the junction of corresponding type pillar and fixed disk has the screw handle through threaded connection, because the type to the inside different batteries of trolley, the manual water pipe setting board that removes of staff at this moment, water pipe setting board slides on supplementary slide through the slide board, then through the bolt location, and then has adjusted the interval between two sets of water pipe setting boards to be suitable for the great battery of width, the same accessible grasps water pipe setting board and upwards deflects, and the water pipe setting board is buckled in the prescribed range through the spacing of telescopic link.
In a preferred embodiment, the top fixedly connected with thermovent of car group battery shell frame, the central rotation of thermovent is connected with the heat dissipation fan, the both ends fixedly connected with central bull stick of car group battery shell frame, a set of the surface of central bull stick articulates there are two sets of pole that rotate, the pole rotates towards the one end of car group battery shell frame and is connected with the locating screw, the bottom fixedly connected with installation balladeur train of car group battery shell frame, the bottom fixedly connected with motor of heat dissipation fan, the motor is fixed on the inner wall of car group battery shell frame, and the motor drives the heat dissipation fan and rotates, with the heat conduction outside of car group battery shell frame inside, and car group battery shell frame is laminated with the car inside through the installation balladeur train, and the pole is deflected as the datum point to the central bull stick simultaneously, aligns the car mounting hole, inserts the locating screw in the car mounting hole, screws in the car mounting hole through locating screw surface screw thread, screw down in the car mounting hole, install car group battery shell frame inside the car.
The invention has the technical effects and advantages that:
the heat of the water flow conduction in the built-in radiating wall is conducted to the liquid injection rubber block which is compressed and connected together, the liquid injection rubber block is made of graphene and rubber, the graphene has excellent heat dissipation performance and good plasticity, but is easy to damage after long-time water flow impact, so that the liquid injection rubber block is arranged between the built-in radiating wall and the external radiating wall and does not need to be directly contacted with water flow, when the heat dissipation effect is needed to be large, the liquid injection rubber block deforms by utilizing rubber materials, and the heat of the surface of the built-in radiating wall is conducted to the end close to the side wall of the built-in radiating wall, namely the end containing the graphene, so that the inside of the radiating water pipe is protected, the heat dissipation effect of the battery module is improved while the heat dissipation effect of the battery module is prevented from being damaged by large impact;
the second spring extrudes the piston push rod to move towards the direction of the piston column along the joint of the inner cavity of the built-in fixed block and the built-in radiating wall, at the moment, the piston push rod drives the vacuum adsorption pad to move towards the piston column, when the vacuum adsorption pad contacts with the piston column, the piston column extrudes air and water in the vacuum adsorption pad, so that the vacuum adsorption pad is in a negative pressure state, and larger adsorptivity is generated between the vacuum adsorption pad and the piston column, so that the built-in radiating wall is tightly connected with the connecting port block through the piston column, the second spring buffers the extrusion of the liquid injection rubber block through the elastic force of the spring, the force of the piston push rod extruding the piston column is prevented from being excessively large, and when water flows excessively, the connecting port block is tightly connected with the built-in radiating wall through the adsorption force between the vacuum adsorption pad and the piston column, so that the water flow of a water pipe is improved, the tight connectivity of the connecting port is prolonged, and the connection life of the two is prevented from being permeated;
the water pipe arrangement plate drives the curved rod to bend, the corresponding rotary column carries out synchronous motion, the first spring positions the bending angle of the corresponding rotary column, then the threaded handle is rotated, the rotating position of the threaded handle is positioned, and then the adjustment can be carried out according to battery packs with different heights.
Drawings
Fig. 1 is a schematic structural view of an automobile battery pack housing frame according to the present invention.
Fig. 2 is a schematic view showing an internal structure of an automobile battery pack case frame according to the present invention.
Fig. 3 is an enlarged view of the structure of the portion a of fig. 2 according to the present invention.
Fig. 4 is a schematic structural view of a heat dissipation window according to the present invention.
Fig. 5 is a side view of an automotive battery pack housing frame in another embodiment of the invention.
Fig. 6 is a schematic structural diagram of an external heat dissipation wall in the present invention.
Fig. 7 is a schematic structural diagram of a connection port block according to the present invention.
Fig. 8 is a schematic view of the structure of the piston of the present invention.
Fig. 9 is a schematic structural view of a water pipe installation plate according to the present invention.
Fig. 10 is a schematic structural view of a telescopic rod according to the present invention.
The reference numerals are: 1. an automobile battery pack housing frame; 2. mounting a sliding frame; 3. a heat radiation port; 4. a central rotating rod; 5. a rotating rod; 6. positioning a screw; 7. a heat dissipation fan; 8. a battery mounting rack; 9. a battery pack; 10. a positioning plate; 11. an auxiliary slideway; 12. a water pipe setting plate; 13. a fixed plate; 14. a telescopic rod; 15. a piston column; 16. a slide plate; 17. a first spring; 18. a threaded handle; 19. a corresponding rotating column; 20. a heat dissipation pipe; 21. a curved bar; 22. a refrigeration assembly; 23. a water-cooled head; 24. a connection port block; 25. a first dispersion water pipe; 26. a heat radiation window; 27. a second dispersion water pipe; 28. a built-in heat dissipation wall; 29. an external heat dissipation wall; 30. a receiving rubber; 31. a liquid injection rubber block; 32. a middle positioning rod; 33. receiving a ball; 34. a clamping clip; 35. a fixed block is arranged in the inner part; 36. a second spring; 37. a third spring; 38. a piston push rod; 39. a vacuum adsorption pad; 40. supporting the folding frame; 41. and buckling the block.
Detailed Description
The following description of the embodiments of the present invention will be made clearly and completely with reference to the accompanying drawings, in which it is apparent that the embodiments described are only some embodiments of the present invention, but not all embodiments. All other embodiments, which can be made by those skilled in the art based on the embodiments of the invention without making any inventive effort, are intended to be within the scope of the invention.
Referring to fig. 1-10 of the drawings, an embodiment of the present invention provides an integrated temperature control system of an energy storage system, which includes an automobile battery pack housing frame 1, a battery mounting frame 8 is fixedly connected to the center inside the automobile battery pack housing frame 1, a battery pack 9 is inserted inside the battery mounting frame 8, the battery pack 9 is used as a drive to drive each electronic component inside the automobile battery pack housing frame 1 to operate, all mechanisms and a sliding plate 16 form a set of battery modules with heat dissipation function, two sets of heat dissipation windows 26 are arranged at two ends of the battery mounting frame 8, and a refrigeration component 22 is fixedly connected to the bottom end of the automobile battery pack housing frame 1;
the two ends of the refrigeration assembly 22 are fixedly connected with water cooling heads 23, the two ends of the refrigeration assembly 22 are fixedly connected with a heat dissipation pipeline 20 through the water cooling heads 23, one end of the heat dissipation pipeline 20 is fixedly connected with a connecting line port block 24, the refrigeration assembly 22 comprises a water pump, a water tank and a cold row, the heat dissipation pipeline 20 conducts heat conducted by the surface of the battery pack 9 in the battery mounting frame 8 to the refrigeration assembly 22 through the water cooling heads 23, the heat is dissipated through the water flow to the cold row, and the water pump conducts water flow in the water tank through the heat dissipation pipeline 20 to form circulation;
the inside fixedly connected with external radiating wall 29 of wiring port piece 24, the inside fixedly connected with built-in fixed block 35 of external radiating wall 29 orientation wiring port piece 24, the one end fixedly connected with of built-in fixed block 35 orientation wiring port piece 24 is the built-in radiating wall 28 of annular tube-shape, the one end fixedly connected with inside for cavity built-in fixed block 35 of built-in radiating wall 28 orientation external radiating wall 29, piston push rod 38 can slide in built-in fixed block 35 cavity department, the inside fixedly connected with second spring 36 of built-in fixed block 35, the inside fixedly connected with piston push rod 38 of second spring 36, piston push rod 38 sliding connection is provided with the sealing rubber cover of leak protection water in built-in radiating wall 28 and the inside of built-in fixed block 35, and piston push rod 38 does not have water infiltration to between built-in radiating wall 28 and the external radiating wall 29 when the inside of built-in radiating wall 28 slides.
Further, the built-in heat dissipation wall 28 is formed by two sections, the outer surface of one section of built-in heat dissipation wall 28 is fixedly connected with a wrapping frame, the other section of built-in heat dissipation wall 28 is arranged in a sliding state in the wrapping frame, a third spring 37 is fixedly connected between the two sections of built-in heat dissipation walls 28, because the water flow in the existing water cooling is controlled by a water pump, when the water flowing into the built-in heat dissipation wall 28 from the connecting line port block 24 is overlarge at a single time, larger pressure is caused to the side wall of the built-in heat dissipation wall 28, the built-in heat dissipation wall 28 is pressed by the pressure, the wrapping frame is driven to slide on the surface of the other section of built-in heat dissipation wall 28 under the condition of not penetrating water, the pressure at the place is buffered by the elastic force of the third spring 37, one end of the built-in heat dissipation wall 28 facing the external heat dissipation wall 29 is fixedly connected with a plurality of groups of bearing rubbers 30, one end of the bearing rubbers 30 is fixedly connected with two groups of liquid injection rubber blocks 31 containing graphene and rubber, a middle positioning rod 32 is fixedly connected between the two groups of liquid injection rubber blocks 31, and the two groups of liquid injection rubber blocks 31 are pressed by the bearing rubbers 30 and move towards two ends of the middle positioning rods 32 by the bearing rubbers 30;
one end of one group of liquid injection rubber blocks 31 is fixedly connected with a receiving ball 33, one end of the other group of liquid injection rubber blocks 31 is fixedly connected with a clamping clamp 34, the clamping clamp 34 is matched with the bearing rubber 30, the surface of the liquid injection rubber block 31 close to one end of a second spring 36 is a curved surface and is fixed with the second spring 36, when the temperature of the surface of the sliding plate 16 is higher, a water pump system is used for keeping the whole battery module in a relatively stable state, a temperature sensor carried in an automobile is used for transmitting temperature information to an intelligent automobile processing system, and in the prior art of electric vehicles, a user can control the circulation speed of the water pump through reaction data;
therefore, the water flow is conducted into the inner radiating wall 28 through the connecting port block 24, and the water flow is too large, so that the inner radiating wall 28 moves to one side of the outer radiating wall 29 through the wrapping frame and the third spring 37, and the receiving rubber 30 is extruded, because the receiving rubber 30 is fixed with one side wall of the inner radiating wall 28 facing the outer radiating wall 29, the other end of the receiving rubber 30 is fixed with one side wall of the outer radiating wall 29 facing the inner radiating wall 28, and meanwhile, the receiving rubber 30 is made of rubber materials, when the receiving rubber 30 is deformed, the two groups of liquid injection rubber blocks 31 move in opposite directions by taking the central middle positioning rod 32 as a separation point, each group of liquid injection rubber blocks 31 is pressed to be more close to the surface of the inner radiating wall 28, the receiving balls 33 are inserted into the inside of the clamping clips 34, and the receiving balls 33 and the clamping clips 34 are made of rubber materials, the receiving balls 33 and the clamping clips are connected together, and the receiving groups of liquid injection rubber blocks 31 can be connected together, and the groups of the receiving heat conducted by the inner radiating wall 28 are approximately linear after being connected;
the bearing rubber 30 utilizes rubber elasticity to buffer the conduction force of the internal heat dissipation wall 28 for receiving water flow extrusion, and the heat conducted by the water flow in the internal heat dissipation wall 28 is conducted to the liquid injection rubber block 31 which is compressed and connected together, so that the liquid injection rubber block 31 is made of graphene and rubber, the graphene has excellent heat dissipation property and good plasticity, but is easy to damage after long-time water flow impact, therefore, the liquid injection rubber block 31 is arranged between the internal heat dissipation wall 28 and the external heat dissipation wall 29 without being directly contacted with water flow, when the heat dissipation effect is required to be large, the liquid injection rubber block 31 deforms by utilizing rubber materials, and the heat on the surface of the internal heat dissipation wall 28 is conducted by the end close to the side wall of the internal heat dissipation wall 28, namely the end containing the graphene, so that the inside of a heat dissipation water pipe is protected, the heat dissipation effect of a battery module is improved while the heat dissipation effect of the battery module is prevented from being damaged by large impact.
Referring to fig. 1-8 of the specification, one end of a piston push rod 38, which is far away from a built-in fixed block 35, is fixedly connected with a vacuum adsorption pad 39, two ends of the vacuum adsorption pad 39 are hinged with a supporting folding frame 40, the inside of the connecting line port block 24 is fixedly connected with a piston column 15, and the vacuum adsorption pad 39 and the piston column 15 are spliced to be in a negative pressure state.
Further, when the injection rubber block 31 connected with the second spring 36 conducts pressure to the second spring 36, the second spring 36 contracts inwards, and the second spring 36 extrudes the piston push rod 38 to move towards the piston column 15 along the joint of the inner cavity of the built-in fixed block 35 and the built-in heat dissipation wall 28, at this time, the piston push rod 38 drives the vacuum adsorption pad 39 to move towards the piston column 15, when the vacuum adsorption pad 39 contacts with the piston column 15, the piston column 15 extrudes air and water inside the vacuum adsorption pad 39, so that the vacuum adsorption pad 39 is in a negative pressure state, and larger adsorptivity is generated between the vacuum adsorption pad and the piston column 15, so that the built-in heat dissipation wall 28 is tightly connected with the connecting wire port block 24 through the piston column 15, the extrusion of the second spring 36 to the injection rubber block 31 is buffered through the spring force, the excessive force of the piston push rod 38 extruded by the piston column 15 is avoided, and when the water flow is excessive, the connecting wire port block 24 is tightly connected with the built-in wall 28 by means of the adsorption force between the vacuum adsorption pad 39 and the piston column 15, thereby realizing that the water flow is excessive, the connection of the connecting wire port block is improved, the tight connection of the connecting port is prolonged, and the service life of the two heat dissipation devices is avoided.
Referring to fig. 4-8 of the drawings, the outer surface of the heat dissipation pipe 20 is fixedly connected with a fastening block 41, the fastening block 41 is fixedly mounted at one end of the battery mounting frame 8, and one end of the heat dissipation pipe 20 passing through the fastening block 41 is fixedly connected with two groups of first water distribution pipes 25.
Further, one end of each of the two groups of first dispersion water pipes 25 is fixedly connected with the same number of second dispersion water pipes 27, the first dispersion water pipes 25, the heat dissipation pipeline 20 and the second dispersion water pipes 27 are arranged around the periphery of the battery mounting frame 8, the diameter of each heat dissipation pipeline 20 is larger than that of each first dispersion water pipe 25, the diameter of each first dispersion water pipe 25 is larger than that of each second dispersion water pipe 27, and the water pipe cross-section pipe diameter of each heat dissipation pipeline 20 is far larger than that of each first dispersion water pipe 25 and each second dispersion water pipe 27;
the bottom end of the heat dissipation pipeline 20 is hinged with a water pipe installation plate 12, the bottom end of the water pipe installation plate 12 is hinged with a telescopic rod 14, and the bottom end of the telescopic rod 14 is fixedly connected with a sliding plate 16;
the bottom sliding connection of slide plate 16 has auxiliary slide 11, the bottom fixedly connected with locating plate 10 of auxiliary slide 11, the both ends fixedly connected with fixed disk 13 of slide plate 16, the one end fixedly connected with first spring 17 of fixed disk 13, locating plate 10 fixed mounting is in the inside of car battery pack housing frame 1, the top fixedly connected with thermovent 3 of car battery pack housing frame 1, the central rotation of thermovent 3 is connected with heat dissipation fan 7, the both ends fixedly connected with central bull stick 4 of car battery pack housing frame 1, the surface of a set of central bull stick 4 articulates there are two sets of post poles 5, the one end rotation of the post pole 5 towards car battery pack housing frame 1 is connected with the locating screw rod 6, the bottom fixedly connected with installation balladeur train 2 of car battery pack housing frame 1, the bottom fixedly connected with motor of heat dissipation fan 7, the motor is fixed on the inner wall of car battery pack housing frame 1, and the motor drives the heat conduction of car battery pack housing frame 1 inside to the outside, and car battery pack housing frame 1 laminates with car inside through installation balladeur train 2, take central bull stick 4 to take the center to rotate as the deflection reference point, install the screw rod 6 in the automobile battery housing frame 6, install the locating screw rod 6 in the mounting hole at the end, screw rod 6 is screwed into the locating screw rod hole in the mounting hole at the end.
Referring to fig. 9-10 of the specification, one end of the first spring 17 is fixedly connected with a corresponding rotating column 19, the corresponding rotating column 19 is inserted into the fixed disk 13, the bottom end of the water pipe mounting plate 12 is fixedly connected with a curved rod 21, one end of the curved rod 21 is fixedly connected to the outer surface of the corresponding rotating column 19, the connecting part of the corresponding rotating column 19 and the fixed disk 13 is connected with a threaded handle 18 through threads, because for different batteries in the electric car, at the moment, a worker manually moves the water pipe mounting plate 12, the water pipe mounting plate 12 slides on the auxiliary slideway 11 through the sliding plate 16, then the water pipe mounting plate 12 is positioned through bolts, the interval between the two groups of water pipe mounting plates 12 is adjusted so as to adapt to batteries with larger width, the water pipe mounting plate 12 can be upwards deflected by grasping the water pipe mounting plate 12, the limit of the telescopic rod 14 is in a specified range, the water pipe mounting plate 12 drives the curved rod 21 to bend, the corresponding rotating column 19 synchronously moves, the first spring 17 positions the corresponding rotating column 19 through threads, then the threaded handle 18 rotates, the rotating handle 18 positions can be positioned, the batteries can be mounted at different heights or different heat dissipation modes can be adjusted according to different specifications, the different heat dissipation modes can be mounted on different heat dissipation modes, and the heat dissipation modes can be realized, the heat dissipation modes can be adjusted, and the different heat dissipation modes can be adjusted.
The last points to be described are: first, in the description of the present application, it should be noted that, unless otherwise specified and defined, the terms "mounted," "connected," and "connected" are to be construed broadly, and may be mechanical or electrical, or may be a direct connection between two elements, and "upper," "lower," "left," "right," etc. are merely used to indicate relative positional relationships, which may be changed when the absolute position of the object being described is changed;
secondly: in the drawings of the disclosed embodiments, only the structures related to the embodiments of the present disclosure are referred to, and other structures can refer to the common design, so that the same embodiment and different embodiments of the present disclosure can be combined with each other under the condition of no conflict;
finally: the foregoing description of the preferred embodiments of the invention is not intended to limit the invention to the precise form disclosed, and any such modifications, equivalents, and alternatives falling within the spirit and principles of the invention are intended to be included within the scope of the invention.
Claims (10)
1. The utility model provides an integrated temperature control system of energy storage system, includes car group battery shell frame (1), its characterized in that: the automobile battery pack shell frame (1) is fixedly connected with a battery mounting frame (8) at the inner center, a battery pack (9) is inserted into the battery mounting frame (8), two groups of radiating windows (26) are arranged at two ends of the battery mounting frame (8), and a refrigerating assembly (22) is fixedly connected with the bottom end of the automobile battery pack shell frame (1); the two ends of the refrigeration assembly (22) are fixedly connected with water cooling heads (23), the two ends of the refrigeration assembly (22) are fixedly connected with a heat dissipation pipeline (20) through the water cooling heads (23), and one end of the heat dissipation pipeline (20) is fixedly connected with a connecting line port block (24); the inside fixedly connected with external radiating wall (29) of wiring port piece (24), the inside fixedly connected with built-in fixed block (35) of external radiating wall (29) towards wiring port piece (24), the one end fixedly connected with of built-in fixed block (35) towards wiring port piece (24) is built-in radiating wall (28) of annular tube-shape, the one end fixedly connected with inside fixed block (35) that is the cavity of built-in radiating wall (28) towards external radiating wall (29), the inside fixedly connected with second spring (36) of built-in fixed block (35), the inside fixedly connected with piston push rod (38) of second spring (36).
2. The integrated temperature control system of an energy storage system of claim 1, wherein: the piston push rod (38) is slidably connected inside the built-in radiating wall (28) and the built-in fixed block (35), and a water-leakage-proof sealing rubber sleeve is arranged at the joint of the piston push rod (38) and the built-in radiating wall (28); one end fixedly connected with vacuum adsorption pad (39) of built-in fixed block (35) is kept away from to piston push rod (38), the both ends of vacuum adsorption pad (39) are articulated to have support folding frame (40), the inside fixedly connected with piston post (15) of connection port piece (24), vacuum adsorption pad (39) are pegged graft with piston post (15) and are negative pressure state setting, built-in radiating wall (28) are two sections, the surface fixedly connected with parcel frame of one section built-in radiating wall (28), another section built-in radiating wall (28) are sliding state setting in parcel frame, fixedly connected with third spring (37) between two sections built-in radiating wall (28).
3. The integrated temperature control system of an energy storage system of claim 2, wherein: one end of the built-in radiating wall (28) towards the external radiating wall (29) is fixedly connected with a plurality of groups of bearing rubbers (30), one end of the bearing rubbers (30) is fixedly connected with two groups of liquid injection rubber blocks (31) which are made of graphene and rubber, a middle positioning rod (32) is fixedly connected between the two groups of liquid injection rubber blocks (31), and the two groups of liquid injection rubber blocks (31) are extruded by the built-in radiating wall (28) through the bearing rubbers (30) and move towards two ends of the middle positioning rod (32).
4. An integrated temperature control system for an energy storage system according to claim 3, wherein: one end of one group of liquid injection rubber blocks (31) is fixedly connected with a receiving ball (33), one end of the other group of liquid injection rubber blocks (31) is fixedly connected with a clamping clamp (34), the clamping clamp (34) is matched with the bearing rubber (30), and the surface of the liquid injection rubber block (31) close to one end of the second spring (36) is a curved surface and is fixed with the second spring (36).
5. The integrated temperature control system of an energy storage system of claim 1, wherein: the outer surface of the heat dissipation pipeline (20) is fixedly connected with a buckling block (41), the buckling block (41) is fixedly arranged at one end of the battery mounting frame (8), and one end of the heat dissipation pipeline (20) penetrating through the buckling block (41) is fixedly connected with two groups of first dispersion water pipes (25).
6. The integrated temperature control system of an energy storage system of claim 5, wherein: one end fixedly connected with the same quantity of second dispersion water pipe (27) of two sets of first dispersion water pipe (25), heat dissipation pipeline (20) and second dispersion water pipe (27) are around setting up in the week side of battery mounting bracket (8), and the diameter of heat dissipation pipeline (20) is greater than the diameter of first dispersion water pipe (25), and the diameter of first dispersion water pipe (25) is greater than the diameter of second dispersion water pipe (27).
7. The integrated temperature control system of an energy storage system of claim 1, wherein: the bottom of the heat dissipation pipeline (20) is hinged with a water pipe installation plate (12), the bottom of the water pipe installation plate (12) is hinged with a telescopic rod (14), and the bottom of the telescopic rod (14) is fixedly connected with a sliding plate (16).
8. The integrated temperature control system of an energy storage system of claim 7, wherein: the bottom sliding connection of slide board (16) has supplementary slide (11), and the bottom fixedly connected with locating plate (10) of supplementary slide (11), the both ends fixedly connected with fixed disk (13) of slide board (16), the one end fixedly connected with first spring (17) of fixed disk (13), the inside at car group battery shell frame (1) of locating plate (10) fixed mounting.
9. The integrated temperature control system of an energy storage system of claim 8, wherein: one end fixedly connected with corresponding type column (19) of first spring (17), the inside at fixed disk (13) is pegged graft to corresponding type column (19), the bottom fixedly connected with curved pole (21) of water pipe setting board (12), the one end fixed connection of curved pole (21) is at the surface of corresponding type column (19), the junction of corresponding type column (19) and fixed disk (13) has threaded handle (18) through threaded connection.
10. The integrated temperature control system of an energy storage system of claim 1, wherein: the top fixedly connected with thermovent (3) of car group battery shell frame (1), the central authorities of thermovent (3) rotate and are connected with radiator fan (7), the both ends fixedly connected with central bull stick (4) of car group battery shell frame (1), the surface of a set of central bull stick (4) articulates has two sets of pole (5) that change, the one end rotation of pole (5) towards car group battery shell frame (1) is connected with locating screw (6), the bottom fixedly connected with installation balladeur train (2) of car group battery shell frame (1).
Priority Applications (1)
| Application Number | Priority Date | Filing Date | Title |
|---|---|---|---|
| CN202310442391.1A CN116190851B (en) | 2023-04-24 | 2023-04-24 | Integrated temperature control system of energy storage system |
Applications Claiming Priority (1)
| Application Number | Priority Date | Filing Date | Title |
|---|---|---|---|
| CN202310442391.1A CN116190851B (en) | 2023-04-24 | 2023-04-24 | Integrated temperature control system of energy storage system |
Publications (2)
| Publication Number | Publication Date |
|---|---|
| CN116190851A true CN116190851A (en) | 2023-05-30 |
| CN116190851B CN116190851B (en) | 2023-07-07 |
Family
ID=86449213
Family Applications (1)
| Application Number | Title | Priority Date | Filing Date |
|---|---|---|---|
| CN202310442391.1A Active CN116190851B (en) | 2023-04-24 | 2023-04-24 | Integrated temperature control system of energy storage system |
Country Status (1)
| Country | Link |
|---|---|
| CN (1) | CN116190851B (en) |
Cited By (1)
| Publication number | Priority date | Publication date | Assignee | Title |
|---|---|---|---|---|
| CN118017384A (en) * | 2024-03-21 | 2024-05-10 | 山东万鼎电气设备有限公司 | Electric control cabinet |
Citations (8)
| Publication number | Priority date | Publication date | Assignee | Title |
|---|---|---|---|---|
| US20120154979A1 (en) * | 2010-12-21 | 2012-06-21 | Riccardo Signorelli | Electrochemical double-layer capacitor for high temperature applications |
| DE102012205810A1 (en) * | 2012-04-10 | 2013-10-10 | Robert Bosch Gmbh | Hard-shell battery housing with tempering device |
| CN206961978U (en) * | 2017-06-25 | 2018-02-02 | 阿拉善盟创客科技有限公司 | A kind of graphene battery pack heat dissipation device |
| CN209845580U (en) * | 2018-11-16 | 2019-12-24 | 广林特装车(锦州)有限公司 | High-efficient electromechanical device heat abstractor |
| CN112864492A (en) * | 2021-01-27 | 2021-05-28 | 邢金凤 | Energy-consumption-free self-heat-dissipation type new energy automobile battery pack |
| CN216597747U (en) * | 2022-01-06 | 2022-05-24 | 浙江明鹏新能源科技有限公司 | Heat dissipation lithium battery pack |
| CN217280944U (en) * | 2022-02-08 | 2022-08-23 | 速来电新能源科技有限公司 | Heat dissipation structure of automobile energy storage battery |
| CN217822963U (en) * | 2022-02-24 | 2022-11-15 | 东莞市云帆电子科技有限公司 | Dustproof heat dissipation shell of battery assembly and battery assembly thereof |
-
2023
- 2023-04-24 CN CN202310442391.1A patent/CN116190851B/en active Active
Patent Citations (8)
| Publication number | Priority date | Publication date | Assignee | Title |
|---|---|---|---|---|
| US20120154979A1 (en) * | 2010-12-21 | 2012-06-21 | Riccardo Signorelli | Electrochemical double-layer capacitor for high temperature applications |
| DE102012205810A1 (en) * | 2012-04-10 | 2013-10-10 | Robert Bosch Gmbh | Hard-shell battery housing with tempering device |
| CN206961978U (en) * | 2017-06-25 | 2018-02-02 | 阿拉善盟创客科技有限公司 | A kind of graphene battery pack heat dissipation device |
| CN209845580U (en) * | 2018-11-16 | 2019-12-24 | 广林特装车(锦州)有限公司 | High-efficient electromechanical device heat abstractor |
| CN112864492A (en) * | 2021-01-27 | 2021-05-28 | 邢金凤 | Energy-consumption-free self-heat-dissipation type new energy automobile battery pack |
| CN216597747U (en) * | 2022-01-06 | 2022-05-24 | 浙江明鹏新能源科技有限公司 | Heat dissipation lithium battery pack |
| CN217280944U (en) * | 2022-02-08 | 2022-08-23 | 速来电新能源科技有限公司 | Heat dissipation structure of automobile energy storage battery |
| CN217822963U (en) * | 2022-02-24 | 2022-11-15 | 东莞市云帆电子科技有限公司 | Dustproof heat dissipation shell of battery assembly and battery assembly thereof |
Cited By (2)
| Publication number | Priority date | Publication date | Assignee | Title |
|---|---|---|---|---|
| CN118017384A (en) * | 2024-03-21 | 2024-05-10 | 山东万鼎电气设备有限公司 | Electric control cabinet |
| CN118017384B (en) * | 2024-03-21 | 2024-07-05 | 山东万鼎电气设备有限公司 | Electric control cabinet |
Also Published As
| Publication number | Publication date |
|---|---|
| CN116190851B (en) | 2023-07-07 |
Similar Documents
| Publication | Publication Date | Title |
|---|---|---|
| KR20230067676A (en) | Integrated electric drive systems and electric vehicles | |
| CN116190851B (en) | Integrated temperature control system of energy storage system | |
| US20150125722A1 (en) | Method for manufacturing a battery, battery arrangement and modular system | |
| CN118507909B (en) | A mobile energy storage vehicle with high efficiency heat dissipation | |
| CN115817368A (en) | Vehicle-mounted recorder is with panorama image module control system that can rotate automatically | |
| CN114039531A (en) | Solar charging device for vehicle storage battery | |
| CN115842438A (en) | Water pump motor for electric automobile | |
| CN220220602U (en) | Beidou satellite positioning vehicle-mounted navigator mounting bracket | |
| CN109532467B (en) | New energy electric automobile radiator | |
| CN109624682B (en) | New forms of energy electric automobile is composite erection location cabin for group battery | |
| CN116722292A (en) | Battery replacing mechanism for automatically replacing battery of electric vehicle | |
| CN213008518U (en) | Electric energy transmission device of electric vehicle power supply | |
| CN111806271B (en) | EVCC supporting double-gun charging | |
| CN214098504U (en) | Vehicle-mounted automobile data recorder convenient to disassemble and assemble | |
| CN213167943U (en) | Fixing structure of automobile main controller | |
| JP2008271782A (en) | Motor drive device for automobile | |
| CN223297915U (en) | Intelligent control energy-saving water-cooling radiator for vehicle-mounted electric drive control system | |
| CN218966660U (en) | Positioning and mounting structure | |
| CN111381125A (en) | Cold and hot impact testing device for automobile electronic component | |
| CN221597152U (en) | Photovoltaic controller | |
| CN223140953U (en) | Automobile battery bracket | |
| CN220164771U (en) | Oil gas storage and transportation tank | |
| CN216600180U (en) | Install accurate high heat dissipation environment-friendly HDI circuit board | |
| CN223905192U (en) | Multi-functional vehicle mount for electric bicycles | |
| CN218430940U (en) | Automobile battery replacement station |
Legal Events
| Date | Code | Title | Description |
|---|---|---|---|
| PB01 | Publication | ||
| PB01 | Publication | ||
| SE01 | Entry into force of request for substantive examination | ||
| SE01 | Entry into force of request for substantive examination | ||
| GR01 | Patent grant | ||
| GR01 | Patent grant | ||
| PE01 | Entry into force of the registration of the contract for pledge of patent right | ||
| PE01 | Entry into force of the registration of the contract for pledge of patent right |
Denomination of invention: An integrated temperature control system for energy storage systems Effective date of registration: 20230825 Granted publication date: 20230707 Pledgee: China Construction Bank Corporation Changzhou Xinbei sub branch Pledgor: CHANGZHOU CLEVER ELECTRONICS Co.,Ltd. Registration number: Y2023980053882 |