CN114098589A - Integrated sheath-free ureteroscope and manufacturing method thereof - Google Patents

Integrated sheath-free ureteroscope and manufacturing method thereof Download PDF

Info

Publication number
CN114098589A
CN114098589A CN202010904354.4A CN202010904354A CN114098589A CN 114098589 A CN114098589 A CN 114098589A CN 202010904354 A CN202010904354 A CN 202010904354A CN 114098589 A CN114098589 A CN 114098589A
Authority
CN
China
Prior art keywords
channel
working
ureteroscope
outlet
sheath
Prior art date
Legal status (The legal status is an assumption and is not a legal conclusion. Google has not performed a legal analysis and makes no representation as to the accuracy of the status listed.)
Pending
Application number
CN202010904354.4A
Other languages
Chinese (zh)
Inventor
程跃
谢国海
方立
Current Assignee (The listed assignees may be inaccurate. Google has not performed a legal analysis and makes no representation or warranty as to the accuracy of the list.)
Ningbo Xinwell Medical Technology Co Ltd
Original Assignee
Ningbo Xinwell Medical Technology Co Ltd
Priority date (The priority date is an assumption and is not a legal conclusion. Google has not performed a legal analysis and makes no representation as to the accuracy of the date listed.)
Filing date
Publication date
Application filed by Ningbo Xinwell Medical Technology Co Ltd filed Critical Ningbo Xinwell Medical Technology Co Ltd
Priority to CN202010904354.4A priority Critical patent/CN114098589A/en
Publication of CN114098589A publication Critical patent/CN114098589A/en
Pending legal-status Critical Current

Links

Images

Classifications

    • AHUMAN NECESSITIES
    • A61MEDICAL OR VETERINARY SCIENCE; HYGIENE
    • A61BDIAGNOSIS; SURGERY; IDENTIFICATION
    • A61B1/00Instruments for performing medical examinations of the interior of cavities or tubes of the body by visual or photographical inspection, e.g. endoscopes; Illuminating arrangements therefor
    • A61B1/307Instruments for performing medical examinations of the interior of cavities or tubes of the body by visual or photographical inspection, e.g. endoscopes; Illuminating arrangements therefor for the urinary organs, e.g. urethroscopes, cystoscopes
    • AHUMAN NECESSITIES
    • A61MEDICAL OR VETERINARY SCIENCE; HYGIENE
    • A61BDIAGNOSIS; SURGERY; IDENTIFICATION
    • A61B1/00Instruments for performing medical examinations of the interior of cavities or tubes of the body by visual or photographical inspection, e.g. endoscopes; Illuminating arrangements therefor
    • A61B1/00064Constructional details of the endoscope body
    • AHUMAN NECESSITIES
    • A61MEDICAL OR VETERINARY SCIENCE; HYGIENE
    • A61BDIAGNOSIS; SURGERY; IDENTIFICATION
    • A61B1/00Instruments for performing medical examinations of the interior of cavities or tubes of the body by visual or photographical inspection, e.g. endoscopes; Illuminating arrangements therefor
    • A61B1/00131Accessories for endoscopes
    • AHUMAN NECESSITIES
    • A61MEDICAL OR VETERINARY SCIENCE; HYGIENE
    • A61BDIAGNOSIS; SURGERY; IDENTIFICATION
    • A61B1/00Instruments for performing medical examinations of the interior of cavities or tubes of the body by visual or photographical inspection, e.g. endoscopes; Illuminating arrangements therefor
    • A61B1/005Flexible endoscopes
    • A61B1/0051Flexible endoscopes with controlled bending of insertion part
    • A61B1/0052Constructional details of control elements, e.g. handles
    • AHUMAN NECESSITIES
    • A61MEDICAL OR VETERINARY SCIENCE; HYGIENE
    • A61BDIAGNOSIS; SURGERY; IDENTIFICATION
    • A61B1/00Instruments for performing medical examinations of the interior of cavities or tubes of the body by visual or photographical inspection, e.g. endoscopes; Illuminating arrangements therefor
    • A61B1/012Instruments for performing medical examinations of the interior of cavities or tubes of the body by visual or photographical inspection, e.g. endoscopes; Illuminating arrangements therefor characterised by internal passages or accessories therefor
    • A61B1/015Control of fluid supply or evacuation
    • AHUMAN NECESSITIES
    • A61MEDICAL OR VETERINARY SCIENCE; HYGIENE
    • A61BDIAGNOSIS; SURGERY; IDENTIFICATION
    • A61B1/00Instruments for performing medical examinations of the interior of cavities or tubes of the body by visual or photographical inspection, e.g. endoscopes; Illuminating arrangements therefor
    • A61B1/012Instruments for performing medical examinations of the interior of cavities or tubes of the body by visual or photographical inspection, e.g. endoscopes; Illuminating arrangements therefor characterised by internal passages or accessories therefor
    • A61B1/018Instruments for performing medical examinations of the interior of cavities or tubes of the body by visual or photographical inspection, e.g. endoscopes; Illuminating arrangements therefor characterised by internal passages or accessories therefor for receiving instruments
    • AHUMAN NECESSITIES
    • A61MEDICAL OR VETERINARY SCIENCE; HYGIENE
    • A61BDIAGNOSIS; SURGERY; IDENTIFICATION
    • A61B1/00Instruments for performing medical examinations of the interior of cavities or tubes of the body by visual or photographical inspection, e.g. endoscopes; Illuminating arrangements therefor
    • A61B1/04Instruments for performing medical examinations of the interior of cavities or tubes of the body by visual or photographical inspection, e.g. endoscopes; Illuminating arrangements therefor combined with photographic or television appliances
    • AHUMAN NECESSITIES
    • A61MEDICAL OR VETERINARY SCIENCE; HYGIENE
    • A61BDIAGNOSIS; SURGERY; IDENTIFICATION
    • A61B18/00Surgical instruments, devices or methods for transferring non-mechanical forms of energy to or from the body
    • A61B18/18Surgical instruments, devices or methods for transferring non-mechanical forms of energy to or from the body by applying electromagnetic radiation, e.g. microwaves
    • A61B18/20Surgical instruments, devices or methods for transferring non-mechanical forms of energy to or from the body by applying electromagnetic radiation, e.g. microwaves using laser
    • A61B18/22Surgical instruments, devices or methods for transferring non-mechanical forms of energy to or from the body by applying electromagnetic radiation, e.g. microwaves using laser the beam being directed along or through a flexible conduit, e.g. an optical fibre; Couplings or hand-pieces therefor
    • A61B18/26Surgical instruments, devices or methods for transferring non-mechanical forms of energy to or from the body by applying electromagnetic radiation, e.g. microwaves using laser the beam being directed along or through a flexible conduit, e.g. an optical fibre; Couplings or hand-pieces therefor for producing a shock wave, e.g. laser lithotripsy
    • AHUMAN NECESSITIES
    • A61MEDICAL OR VETERINARY SCIENCE; HYGIENE
    • A61BDIAGNOSIS; SURGERY; IDENTIFICATION
    • A61B18/00Surgical instruments, devices or methods for transferring non-mechanical forms of energy to or from the body
    • A61B2018/00315Surgical instruments, devices or methods for transferring non-mechanical forms of energy to or from the body for treatment of particular body parts
    • A61B2018/00505Urinary tract
    • AHUMAN NECESSITIES
    • A61MEDICAL OR VETERINARY SCIENCE; HYGIENE
    • A61BDIAGNOSIS; SURGERY; IDENTIFICATION
    • A61B2218/00Details of surgical instruments, devices or methods for transferring non-mechanical forms of energy to or from the body
    • A61B2218/001Details of surgical instruments, devices or methods for transferring non-mechanical forms of energy to or from the body having means for irrigation and/or aspiration of substances to and/or from the surgical site
    • A61B2218/002Irrigation
    • AHUMAN NECESSITIES
    • A61MEDICAL OR VETERINARY SCIENCE; HYGIENE
    • A61BDIAGNOSIS; SURGERY; IDENTIFICATION
    • A61B2218/00Details of surgical instruments, devices or methods for transferring non-mechanical forms of energy to or from the body
    • A61B2218/001Details of surgical instruments, devices or methods for transferring non-mechanical forms of energy to or from the body having means for irrigation and/or aspiration of substances to and/or from the surgical site
    • A61B2218/007Aspiration

Landscapes

  • Health & Medical Sciences (AREA)
  • Life Sciences & Earth Sciences (AREA)
  • Surgery (AREA)
  • Physics & Mathematics (AREA)
  • Optics & Photonics (AREA)
  • Biomedical Technology (AREA)
  • General Health & Medical Sciences (AREA)
  • Veterinary Medicine (AREA)
  • Nuclear Medicine, Radiotherapy & Molecular Imaging (AREA)
  • Engineering & Computer Science (AREA)
  • Public Health (AREA)
  • Heart & Thoracic Surgery (AREA)
  • Medical Informatics (AREA)
  • Molecular Biology (AREA)
  • Animal Behavior & Ethology (AREA)
  • Biophysics (AREA)
  • Pathology (AREA)
  • Radiology & Medical Imaging (AREA)
  • Electromagnetism (AREA)
  • Otolaryngology (AREA)
  • Urology & Nephrology (AREA)
  • Surgical Instruments (AREA)

Abstract

本发明提供一体式免鞘输尿管镜及其制造方法,其中所述一体式免鞘输尿管镜包括一操作把手和一镜主体,其中所述镜主体包括一工作端和一操作端,所述操作端连接所述操作把手,所述镜主体一体地延伸于所述工作端和所操作端之间,所述镜主体具有一工作通道、一进水通道和一排出通道,所述工作通道用于穿过治疗器械,所述进水通道用于送入水流,所述排出通道用于送入辅助引导部件以及排出杂物,其中所述工作通道、所述进水通道以及所述排出通道各自独立地沿所述镜主体一体地延伸。

Figure 202010904354

The present invention provides an integrated sheath-free ureteroscope and a manufacturing method thereof, wherein the integrated sheath-free ureteroscope includes an operating handle and a scope body, wherein the scope body includes a working end and an operating end, and the operating end Connecting the operating handle, the mirror body integrally extends between the working end and the operated end, the mirror body has a working channel, a water inlet channel and a discharge channel, and the working channel is used to penetrate For the treatment device, the water inlet channel is used to send water flow, the discharge channel is used to send auxiliary guide parts and discharge sundries, wherein the working channel, the water inlet channel and the discharge channel are independent of each other Extends integrally along the mirror body.

Figure 202010904354

Description

Integrated sheath-free ureteroscope and manufacturing method thereof
Technical Field
The invention relates to the field of medical instruments, in particular to an integrated sheath-free ureteroscope and a manufacturing method thereof.
Background
The ureteroscope is a medical device for minimally invasive diagnosis and treatment in urinary surgery, and a conventional ureteroscope comprises an optical fiber, a working cavity and various working accessories for different purposes. Ureteroscopy is a procedure in which a ureter having a diameter of 0.2 to 0.5cm is inserted through a ureteroscope, a urethra, a bladder, and a ureter orifice, and a monitoring device is connected to the ureteroscope, so that a lesion in the ureter or a renal pelvis can be clearly observed, and thus, ureteral diseases can be diagnosed or treated by using various instruments inserted into a working cavity.
Ureteroscopes currently used mainly include hard ureteroscopes and soft ureteroscopes, in which the hard ureteroscopes, i.e., ordinary ureteroscopes, are used to treat ureteral stones, etc., and are suitable for treating ureteral stones due to their relatively hard and inflexible main bodies, i.e., they are suitable for treating relatively straight or linear parts, while the soft ureteroscopes may be used to treat ureteral stones, such as renal pelvis and renal calyx stones, etc., which are not treated by the ordinary ureteroscopes.
Although the flexible ureteroscope can greatly supplement the defects of the common ureteroscope and can be used for treating more curved paths or position diseases which cannot be treated by the common ureteroscope, in practical application, a plurality of adverse factors still exist.
Reference is made to fig. 1A-1B, which are schematic illustrations of a conventional ureteral soft lens for treatment of renal pelvis stones. The conventional ureter soft lens comprises an operating handle, a soft lens main body 1P, a lens sheath 2P and an inner core 3P, wherein the end part of the soft lens main body can be bent, the operating handle controls the work of the soft lens main body, and the lens sheath is used for positioning the soft lens main body. The soft lens body is provided with a plurality of working channels for the working processes of passing through the guide wire 4P, the therapeutic apparatus 5P and flushing water. For example, when the flexible ureteroscope is used for treating a ureteral calculus of a patient, a guide wire is firstly passed through one of the working channels of the flexible ureteroscope, the flexible ureteroscope with the guide wire 4P is fed into the body, the guide wire 4P is made to enter the ureter, the sheath 2P and the inner core 3P are inserted along the guide wire, the flexible ureteroscope sheath is inserted to a position 0.5-1cm away from the calculus, the inner core 3P is withdrawn, the flexible ureteroscope body 1P is fed into the sheath 2P, the flexible ureteroscope body 1P is close to the calculus, a flushing operation, a stone breaking operation and the like are carried out through a treatment instrument of the working channel, and the broken calculus and waste water can be fed out through a gap between the flexible ureteroscope body 1P and the sheath 2P.
It can be seen that in order to facilitate the bending of the soft lens body 1P to the respective corner portions, the whole body needs to be relatively soft, which results in lack of guidance for the advancement, and the entry must be assisted by the cooperation with the sheath 2P. The sheath 2P has the function of guiding the soft lens body 1P to enter on one hand, and on the other hand, the sheath and the soft lens body 1P form a gap 101P which is sandwiched inside and outside for delivering waste materials and waste water, and the gap is an essential channel in treatment work. There are some problems based on such a structure.
Firstly, the sheath is guided by a guide wire to enter the ureter, that is, the sheath enters the ureter before the soft lens body, and at this time, an operator, such as a doctor, cannot obtain image information in the body, so that the sheath is a blind operation when being put in, the accuracy of the sheath is basically dependent on the experience of the operator, and the requirement on the operation level of the operator is high.
Secondly, the waste is discharged from the slit between the sheath and the flexible lens body, since the flexible ureteroscope needs to be operated in a relatively narrow space of the ureter of a human body, and thus has a small size, and the slit formed between the flexible lens body and the sheath is smaller in size due to the small size of the flexible ureteroscope, so that the waste discharge is very difficult, and is usually sucked by means of negative pressure, but is still not circulated smoothly.
Thirdly, the space between the soft lens main body and the lens sheath is narrow. After the soft lens enters the lens sheath, the shape of the residual space in the lens sheath is irregular, so that the liquid and the sand-like calculus can be conveniently discharged, if the calculus becomes a block, the liquid and the sand-like calculus are difficult to discharge, and the soft lens main body is easy to clamp and damage.
Fourth, medical devices, especially such medical devices for internal use, are generally required to be disposable, that is, the scope and usage amount are very large, and the cost of the soft lens including the lens sheath is relatively high, and the lens sheath occupies a large part of the cost, thereby greatly limiting the scope of the soft lens.
Fifthly, which is also more important, the soft lens body has the advantage of easy bending, but it must be used with the lens sheath, which is relatively hard, so that it can only stay in the ureter, and it can not reach the renal pelvis, calyx or the part needing bending, when the waste material is removed after the lithotripsy, the suction force generated by the port of the lens sheath is needed to suck the lithotripsy and waste water at a far position, such as the renal pelvis, and the remote suction is not easy to control, on one hand, the suction force is too large, the suction force has influence on human organs, the suction force is too small, the waste material is discharged with poor efficiency, and the waste material can not be discharged completely, and in most cases, the waste material remains especially at some hidden corners; on the other hand, when the stone is crushed, water needs to be flushed, water needs to be quickly drained in the process of crushing the stone, and accumulated water in the renal pelvis is reduced.
Disclosure of Invention
An object of the present invention is to provide an integrated sheath-free ureteroscope and a manufacturing method thereof, wherein the integrated sheath-free ureteroscope does not need auxiliary action of a sheath, so that the operation process of the sheath is avoided during the use process, and the blind operation of the sheath is avoided.
Another object of the present invention is to provide an integrated sheath-free ureteroscope and a manufacturing method thereof, wherein the integrated sheath-free ureteroscope does not need the auxiliary function of a sheath, so that the working size is not reduced, the overall diameter size is reduced, and the damage of medical instruments to body organs is reduced.
It is another object of the present invention to provide an integrated sheath-less ureteroscope and a method for manufacturing the same, wherein the integrated sheath-less ureteroscope has a discharge channel for discharging waste, so that the waste discharge process does not need to be performed by means of the cooperation of a sheath.
Another object of the present invention is to provide an integrated sheath-free ureteroscope and a manufacturing method thereof, which can increase the effective utilization space for discharging debris, enable larger-sized debris to be discharged, reduce the requirement for the size of the debris, and eliminate the need for pulverizing the debris.
Another object of the present invention is to provide an integrated sheath-free ureteroscope and a manufacturing method thereof, which reduces repeated crushing processes of crushed stone, thereby reducing energy loss during the crushing process and improving work efficiency.
Another object of the present invention is to provide an integrated sheath-free ureteroscope and a manufacturing method thereof, wherein the integrated sheath-free ureteroscope can discharge impurities while crushing and flushing, so that flushing and impurity discharging tend to be balanced, and increase of renal pressure is avoided.
Another object of the present invention is to provide an integrated sheath-less ureteroscope and a method for manufacturing the same, in which the discharge channel integrally penetrates the integrated sheath-less ureteroscope, thereby allowing smooth entry and exit of both a working instrument and a fluid.
Another object of the present invention is to provide an integrated sheath-less ureteroscope and a manufacturing method thereof, in which the ureteroscope forms an independent discharge channel, does not need to discharge through a slit formed by a sheath interlayer, increases an effective size for suction work, and facilitates discharge of foreign materials.
Another object of the present invention is to provide an integrated sheath-less ureteroscope and a manufacturing method thereof, in which a suction port of the discharge channel coincides with an image capturing position, thereby enabling visualization and targeted suction.
Another object of the present invention is to provide an integrated sheath-less ureteroscope and a manufacturing method thereof, in which a suction port of the discharge channel coincides with an opening position of the working channel, thereby enabling coincidence of a crushed stone position and a suction position, i.e., close-range suction.
Another object of the present invention is to provide an integrated ureteroscope and a manufacturing method thereof, wherein the main body of the integrated ureteroscope includes a main framework and a coating layer, and the coating layer covers the main framework, so that the flexible coating layer and the relatively hard main framework are fused with each other, and the integrated ureteroscope is interposed between a soft lens and a semi-hard lens.
It is another object of the present invention to provide an integrated sheath-free ureteroscope and a method for manufacturing the same, wherein the scope body has a water inlet channel, a working channel, and a discharge channel, and the water inlet channel, the working channel, and the discharge channel are arranged in parallel.
Another object of the present invention is to provide an integrated sheath-less ureteroscope and a manufacturing method thereof, in which the water inlet channel, the working channel, and the discharge channel are formed by integral molding when the integrated sheath-less ureteroscope is manufactured.
Another object of the present invention is to provide an integrated sheath-free ureteroscope and a manufacturing method thereof, wherein the integrated sheath-free ureteroscope body comprises an information collecting device, the information collecting device is located at an end of the scope body, and the end of the information collecting device is adjacent to a port of the discharge channel.
Another object of the present invention is to provide an integrated sheath-free ureteroscope and a manufacturing method thereof, wherein the integrated sheath-free ureteroscope has a uniform overall structure and facilitates independent access to a body part.
Another object of the present invention is to provide an integrated sheath-free ureteroscope and a manufacturing method thereof, wherein the integrated sheath-free ureteroscope does not require a sheath, and auxiliary components are reduced, so that the cost of surgical consumables is reduced.
It is another object of the present invention to provide an integrated sheath-less ureteroscope and a manufacturing method thereof, in which the water inlet channel, the working channel, and the discharge channel are formed of different continuous tubes, and the main frame and the coating layer bind the positions of the tubes.
Another objective of the present invention is to provide an integrated sheath-free ureteroscope and a manufacturing method thereof, wherein the integrated sheath-free ureteroscope includes a bendable head, the bendable head is connected to the scope main body, and the bending degree of the bendable head and the bending degree of the scope main body are matched with each other, so as to better meet the bending requirements of large and small parts in a body.
It is another object of the present invention to provide a sheath-less ureteroscope and a manufacturing method thereof, wherein the operating handle of the sheath-less ureteroscope is suitable for a hold-down operation and is matched with working areas with different functions.
To achieve at least one of the above objects, an aspect of the present invention provides an integrated sheath-free ureteroscope comprising:
an operating handle; and
a mirror main part, wherein the mirror main part includes a work end and an operation end, the operation end is connected the operating handle, the mirror main part extends in integratively between work end and the operation end, the mirror main part has a working channel, a inhalant canal and a discharge passage, the working channel is used for passing therapeutic equipment, the inhalant canal is used for sending into rivers, the discharge passage is used for sending into supplementary guide part and discharge debris.
The integrated sheath-free ureteroscope according to one embodiment of the invention comprises an information acquisition device, wherein the information acquisition device is arranged at the working end of the scope body and can be communicatively connected with a display device.
According to an embodiment of the invention, the working channel is provided with a first outlet, the water inlet channel is provided with a second outlet, and the first outlet and the second outlet are respectively positioned on two sides of the information acquisition device.
The integrated sheath-free ureteroscope according to one embodiment of the present invention, wherein the working channel has a first outlet, the water inlet channel has a second outlet, the first outlet, the second outlet, and the information collecting device form a first working area of the working end, the discharge channel has a third outlet, the third outlet forms a second working area of the working end, and the first working area and the second working area are disposed on opposite sides.
The integrated sheath-free ureteroscope according to one embodiment of the invention, wherein the first working area and the second working area form a rounded step structure.
The integrated sheath-free ureteroscope according to one embodiment of the invention, wherein the scope body comprises a main framework and an embedded layer, and the embedded layer covers the main framework.
The integrated intrathecal ureteroscope according to one embodiment of the invention, wherein the main skeleton comprises two longitudinally extending ridges extending along the scope body and a series of reinforcing ribs connected in a ring shape in parallel between the two extending ridges.
The integrated sheath-less ureteroscope according to one embodiment of the invention, wherein the scope body comprises an outer layer attached to the outer surface of the scope body for improving the surface properties of the scope body.
The integrated sheath-free ureteroscope according to one embodiment of the invention, wherein the scope body is provided with an identifier, and the identifier is arranged on the outer surface of the scope body.
Another aspect of the present invention provides a method for manufacturing an integrated sheath-free ureteroscope, comprising the steps of:
prefabricating a main framework; and
form an embedding layer, and make the cladding of embedding layer the main skeleton forms a mirror main part, makes simultaneously mirror main part is inside to form a working channel, a inhalant canal and a discharge passage, working channel is used for passing therapeutic equipment, inhalant canal is used for sending into rivers, discharge passage is used for sending into supplementary guide part and discharge debris.
Drawings
Fig. 1A-1B are schematic views of the working process of a ureter soft lens in the prior art.
Fig. 2A is a schematic view of the working system of the integrated sheath-less ureteroscope, according to a preferred embodiment of the present invention.
Fig. 2B is a schematic perspective view of an integrated sheath-less ureteroscope, according to a preferred embodiment of the present invention.
Fig. 2C is another perspective schematic view of an integrated sheath-less ureteroscope, according to a preferred embodiment of the present invention.
Fig. 2D is a schematic view of the operation of the integrated sheath-less ureteroscope, according to a preferred embodiment of the present invention.
FIG. 2E is a schematic operational view of an integrated sheath-free ureteroscope, according to a preferred embodiment of the present invention
Fig. 3A is an angle schematic view of the scope body of the integrated sheath-less ureteroscope according to the above-described embodiment of the present invention.
Fig. 3B is an angle schematic view of the scope body of the integrated sheath-free ureteroscope according to the above-described embodiment of the present invention.
Fig. 4 is a schematic view of a process for forming a scope body of the integrated sheath-less ureteroscope according to the above-described embodiment of the present invention.
Fig. 5A is a schematic working end elevation view of the sheath-less ureteroscope according to the above-described embodiment of the present invention.
Fig. 5B is a schematic transverse sectional view taken along line a-a in fig. 2A.
Fig. 6A is a schematic longitudinal sectional view taken along line B-B in fig. 5B.
Fig. 6B is a schematic longitudinal sectional view taken along line C-C in fig. 5B.
Fig. 7A-7B are schematic diagrams of two guided access procedures of the integrated sheath-less ureteroscope, according to the above-described embodiments of the present invention.
Fig. 8-9 are schematic views of the operation of the integrated sheath-free ureteroscope into the renal pelvis, according to the above-described embodiments of the present invention.
FIG. 10 is a schematic view of the scope body of an integrated sheath-free ureteroscope according to a second preferred embodiment of the present invention.
Figures 11A-11C are schematic views of curves for integrated sheath-less ureteroscopy to access various locations within the body, according to the above-described embodiments of the present invention.
Fig. 12 is a schematic diagram comparing the drainage channel formed by an integrated sheath-free ureteroscope according to an embodiment of the present invention with a prior art soft scope and a scope sheath to form a suction space.
Fig. 13A-13C are schematic illustrations of different shapes and layouts of an integrated sheath-less ureteroscope formed drainage channel, according to embodiments of the invention.
Detailed Description
The following description is presented to disclose the invention so as to enable any person skilled in the art to practice the invention. The preferred embodiments in the following description are given by way of example only, and other obvious variations will occur to those skilled in the art. The basic principles of the invention, as defined in the following description, may be applied to other embodiments, variations, modifications, equivalents, and other technical solutions without departing from the spirit and scope of the invention.
It will be understood by those skilled in the art that in the present disclosure, the terms "longitudinal," "lateral," "upper," "lower," "front," "rear," "left," "right," "vertical," "horizontal," "top," "bottom," "inner," "outer," and the like are used in an orientation or positional relationship indicated in the drawings for ease of description and simplicity of description, and do not indicate or imply that the referenced devices or components must be in a particular orientation, constructed and operated in a particular orientation, and thus the above terms are not to be construed as limiting the present invention.
It is understood that the terms "a" and "an" should be interpreted as meaning that a number of one element or element is one in one embodiment, while a number of other elements is one in another embodiment, and the terms "a" and "an" should not be interpreted as limiting the number.
References to "one embodiment," "an embodiment," "example embodiment," "various embodiments," "some embodiments," etc., indicate that the embodiment described herein may include a particular feature, structure, or characteristic, but every embodiment may not necessarily include the feature, structure, or characteristic. In addition, some embodiments may have some, all, or none of the features described for other embodiments.
Fig. 2A is a schematic view of the working system of the integrated sheath-less ureteroscope, according to a preferred embodiment of the present invention. Fig. 2B is a schematic perspective view of an integrated sheath-less ureteroscope, according to a preferred embodiment of the present invention. Fig. 3A is an angle schematic view of the scope body of the integrated sheath-less ureteroscope according to the above-described embodiment of the present invention. Fig. 3B is an angle schematic view of the scope body of the integrated sheath-free ureteroscope according to the above-described embodiment of the present invention. Fig. 4 is a schematic view of a process for forming a scope body of the integrated sheath-less ureteroscope according to the above-described embodiment of the present invention. Fig. 5A is a schematic working end elevation view of the sheath-less ureteroscope according to the above-described embodiment of the present invention. Fig. 5B is a schematic transverse sectional view taken along line a-a in fig. 2A. Fig. 6A-6B are schematic longitudinal cross-sectional views taken along line B-B and line C-C of fig. 5B. Fig. 7A-7B are schematic diagrams of two guided access procedures of the integrated sheath-less ureteroscope, according to the above-described embodiments of the present invention. Fig. 8-9 are schematic views of the operation of the integrated sheath-free ureteroscope into the renal pelvis, according to the above-described embodiments of the present invention.
Referring to fig. 2A-9, the present invention provides an integrated sheath-free ureteroscope 100 for the treatment of ureteral diseases, such as, but not limited to, ureteral stones, tumors, and the like. It should be understood by those skilled in the art that the integrated sheath-less ureteroscope 100 can also be used for other aspects of disease treatment, and the use of the integrated sheath-less ureteroscope 100 is not a limitation of the invention.
The integrated sheath-free ureteroscope 100 comprises a scope body 10 and an operating handle 20, wherein the operating handle 20 is used for controlling the operation of the scope body 10. Further, the operating knob 20 controls turning of the end of the mirror body 10. In other words, in use, the operator brings the end of the mirror body 10 close to the treatment site by operating the operating handle 20.
The mirror body 10 comprises a working end 11 and an operating end 12, the operating end 12 is connected to the operating handle 20, and the working end 11 is far away from the operating handle 20. That is, when used, the working end 11 is the end that enters the body for treatment, and the operation end 12 is the end that is located outside the body for operation by the operator. The mirror body 10 extends linearly between the working end 11 and the operating end 12. Preferably, the mirror body 10 is integrally extended between the working end 11 and the operation end 12 by the same material or structure, so that the acting force when the mirror body 10 enters the body is consistent, and the mirror body is convenient to enter and exit.
It is worth mentioning that in the embodiment of the present invention, the middle portion of the mirror body 10 integrally extends between the working end 11 and the operation end 12, that is, there is no seam or joint on the outer surface of the mirror body 10, so that the mirror body 10 is stably entered into the body. In addition, due to the uniformity of the surface, the mirror body 10 can be smoothly withdrawn from the body, or, in the withdrawal operation, is not obstructed by other structures on the surface of the mirror body 10. Preferably, the cross-section of the mirror body 10 is substantially circular, so that the resistance of the peripheral side is small.
Further, the operating handle 20 comprises at least one operating element 21, the operating element 21 being controllably connected to the working end 11 of the mirror body 10. For example, when the working end 11 of the mirror body 10 reaches a predetermined position, the user can operate the operating element 21 so that the end of the mirror body 10 is bent. In other words, the operating element 21 controls the bending work of the outer end portion of the mirror body 10.
In one embodiment of the present invention, the integrated sheath-less ureteroscope 100 comprises a control wire, which is pre-arranged inside the scope body 10 and extends along the scope body 10, and when the operation element 21 of the operation handle 20 is rotated, the control wire pulls the working end 11 of the scope body 10, so that the end of the scope body 10 is controlled to rotate in a predetermined direction by the operation handle 20.
The integrated sheath-free ureteroscope 100 includes an information collecting device 30, and the information collecting device 30 is installed at the working end 11 of the scope body 10. The collection surface of the information collection device 30 is consistent with the outer side surface of the working end 11. That is, the collecting device collects forward image information while the mirror body 10 travels forward, and the operator can observe the collected image information, thereby targetedly controlling the travel of the mirror body 10 according to the collected image information.
In one embodiment of the invention, the information collecting apparatus 30 can be communicatively connected to a display device 400, so that the image collected by the information collecting apparatus 30 is displayed through the display device 400. When the device is used, an operator can directly observe the image information in the body through the display device, so that the operation process of the operation is assisted. The information collecting device 30 is connected to the operating handle 20 by way of example but not limitation, through an optical fiber communication, the operating handle 20 is provided with an information interface 25, the display device 400 can be connected to the information interface 25, so as to be connected to the information collecting device 30 in a communication way, namely, the information collected by the information collecting device 30 can be displayed through the display device 400. By way of example, but not limitation, the information collection device 30 is a camera. In other embodiments, the information collection device 30 may also be other sensor devices.
In one embodiment of the present invention, the information collecting device 30 is fixed to the working end 11 of the mirror body 10, and an end surface of the information collecting device 30 is coincident with an end surface of the mirror body 10, that is, a surface of the information collecting device 30 does not protrude from an outer surface of the working end 11 of the mirror body 10. Preferably, the information acquisition device 30 is embedded in the working end 11 of the mirror body 10. In another embodiment of the invention, the information acquisition device 30 is movably connected to the mirror body 10.
Referring to fig. 3A-3B, the mirror body 10 has a working channel 110 and a water inlet channel 120, the working channel 110 is used for the ingress and egress of working instruments, such as but not limited to holmium laser. The water inlet passage 120 is used for introducing water flow. Preferably, the working channel 110 and the water inlet channel 120 are arranged in parallel and separated, that is, the working channel 110 and the water inlet channel 120 work independently. For example, when the integrated sheath-less ureteroscope 100 is used for treating a stone disease, a working instrument for lithotripsy penetrates from the working channel 110 to the working end 11 of the scope body 10, and water flows in from the outside through the water inlet channel 120 and is flushed out from the working end 11 of the scope body 10 to flush out the crushed stone.
Further, referring to fig. 6A-6B, the working channel 110 is formed by a working inner surface 1103, and the working inner surface 1103 is integrally formed of a uniform material, that is, the working inner surface 1103 is flat without uneven portions such as seams or protrusions, thereby facilitating smooth entrance and exit of the working device. Preferably, the working channel 110 is a circular tubular channel, and correspondingly, the working inner surface 1103 is an annular tube wall.
The inlet channel 120 is formed by a flush inner surface 1203, and the flush inner surface 1203 is integrally formed of a uniform material, that is, the flush inner surface 1203 is flat and has no uneven portions such as seams or protrusions, thereby facilitating the passage of water. Preferably, the inlet channel 120 is a circular tubular channel, and correspondingly, the flushing inner surface 1203 is an annular tube wall.
The working channel 110 has a first inlet 1101 and a first outlet 1102, the first inlet 1101 being connected to the operating handle 20, the first outlet 1102 being located at the working end 11 of the mirror body 10, i.e. in use, a working instrument is fed through the first inlet 1101 and out through the first outlet 1102 into the body. The first outlet 1102 is located adjacent to the outer end surface of the information collecting device 30, so that the working device can be visually operated.
The water inlet channel 120 has a second inlet 1201 and a second outlet 1202, the second inlet 1201 is connected to the operation handle 20, the second outlet 1202 is located at the working end 11 of the mirror body 10, that is, the second outlet 1202 is located adjacent to the outer end surface of the information collecting device 30, so as to facilitate visual flushing.
Preferably, the first outlet 1102 of the working channel 110 and the second outlet 1202 of the water inlet channel 120 are respectively located at two sides of the end surface of the information acquisition device 30, so that the information acquisition device 30 can simultaneously acquire the working information of the instrument entered by the working channel 110 and the flushing information of the water inlet channel 120, and the flushing process and the lithotripsy process can be matched with each other. It should be noted that the end face of the information collecting device 30 is located in the middle of the central connecting line of the first outlet 1102 and the second outlet 1202, so that the two sides are symmetrically collected, the collected angles are consistent, and the collected information is more accurate.
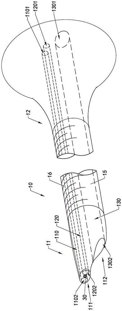
Further, referring to fig. 3A and 3B, the mirror body 10 has an exhaust channel 130, and the exhaust channel 130 is used for exhausting foreign materials in the body, such as, but not limited to, crushed stones, waste water, tumors, and the like. For example, when the integrated sheath-less ureteroscope 100 is used to treat a calculus disease, crushed stones in the body are discharged together with waste water from the discharge passage 130. The drainage channel 130 is used to feed auxiliary guide members, such as guide wires 200, inner cores 300, etc., prior to lithotripsy.
It is worth mentioning that the size of the discharge passage 130 is larger than the size of the working passage 110 and the water inlet passage 120, so that the guide members such as the guide wire 200 and the inner core 300 can be smoothly moved in and out.
The discharge passage 130 integrally extends between the working end 11 and the connecting end of the mirror body 10, and the discharge passage 130 communicates with the operating knob 20.
The discharge passage 130 is disposed in parallel with and spaced apart from the working passage 110 and the water inlet passage 120. That is, the discharge passage 130, the water inlet passage 120 and the working passage 110 are independent of each other, in other words, the operation process, the flushing process and the draining process can be performed simultaneously or sequentially without affecting each other.
Referring to fig. 6A and 6B, the discharge passage 130 is formed by a discharge inner surface 1303, and the discharge inner surface 1303 is integrally formed of a uniform material, that is, the discharge inner surface 1303 is flat without uneven portions such as seams or protrusions, thereby facilitating discharge of the sundries. Preferably, the discharge passage 130 is a semicircular tubular passage. It should be noted that, in the conventional soft lens with a sheath, the drainage channel is formed by a gap between the sheath and the soft lens, that is, the interior of the drainage channel includes the soft lens, but in the technical solution of the present invention, the interior of the drainage channel 130 is a hollow structure, and there are no other components inside, so that the whole interior space is an effective drainage space, thereby greatly improving the efficiency of discharging the sundries and wastes.
The discharge passage 130 has a third inlet 1301 and a third outlet 1302, the third inlet 1301 is connected to the operating handle 20, the third outlet 1302 is located at the working end 11 of the mirror body 10, that is, the third outlet 1302 is located adjacent to the outer end surface of the information collecting device 30, so as to facilitate visual discharge of debris waste and achieve targeted suction and discharge.
Further, referring to fig. 3A and 3B, the working channel 110, the water inlet channel 120 and the information collecting device 30 are located at one side to form a first working area 111, and the exhaust channel 130 is located at the other side to form a second working area 112, that is, at the working end 11 of the mirror body 10, the end surfaces of the first outlet 1102, the second outlet 1202 and the information collecting device 30 are arranged at one side region, and the third outlet 1302 is located at the other side region. It should be noted that the first outlet 1102 and the second outlet 1202 are both locations for entering the body for work, such as a position for breaking stones and flushing water, and the third outlet 1302 is a location for discharging, so that the entering function and the discharging function can be distinguished from each other by the arrangement of the first outlet 1102, the second outlet 1202 and the third outlet 1302 in two side regions, and mutual interference is reduced.
Preferably, the first outlet 1102 and the second outlet 1202 are located at a transverse connecting line position of the information acquisition device 30, and the third outlet is located at a longitudinal connecting line position of the information acquisition device 30. In other words, the first outlet 1102, the second outlet 1202, and the third outlet 1302 are respectively located on the peripheral side of the information collecting apparatus 30. By way of example and not limitation, on the left, right and above or below the information acquisition device 30, respectively, so that each work location can be monitored. Preferably, the center of the first outlet 1102, the center of the second outlet 1202 and the center of the optical axis of the information collecting device 30 are located on the same straight line, and the information collecting device 30 and the third outlet 1302 are in a T-shaped layout.
In one embodiment, the discharge passage 130 can communicate with a suction device, so as to rapidly discharge the impurities in the body by means of negative pressure suction. It is worth mentioning that the third outlet 1302 and the second outlet 1202 are both located at the working end 11, that is, the position where the suction force is generated is close to the position of the crushed stone, so as to achieve close suction, that is, the suction and the stone discharge are more targeted, and the size of the suction force is easy to control.
Referring to fig. 2A and 2B, the operating handle 20 has a plurality of interfaces for passing or connecting operating components, such as a guide wire 200, an inner core 300, a lithotripter, a flushing device, a suction device, and the like, respectively. For example, the operating handle 20 includes a first port 22, a second port 23 and a third port 24, the first port 22 is communicated with the working channel 110, the second port 23 is communicated with the water inlet channel 120, and the third port 24 is communicated with the water outlet channel 130. For example, the first port 22 is used for passing through the working device 700, the second port 23 is used for connecting with a flushing device, and the third port 24 is used for passing through the guide wire 200, the inner core 300 and connecting with the suction device 600. The operating handle 20 further includes an adjustment aperture 26, the adjustment aperture 26 being used to adjust the operation of the discharge passage 130. For example, when the adjusting hole 26 is pressed, the discharging passage 130 is in an operating state, i.e., a state of sucking the crushed stone and sundries, and when the adjusting hole 26 is released, or in a natural state, the discharging passage 130 is in an inactive state, i.e., the sucking and discharging of the sundries are stopped.
In this embodiment of the present invention, the operating element 21 is located at an upper position of the operating handle 20, and the first interface 22 and the second interface 23 are located at both sides of the operating handle 20, respectively, and are preferably symmetrically distributed. The third interface 24 is located at a lower position of the operating handle 20. The adjustment hole 26 is located at a lower position of the operating handle 20. The information interface 25 is located at the rear end of the operating handle 20.
In an embodiment of the present invention, the cross section of the discharge channel 130 is substantially elliptical, and the third outlet 1302 is substantially elliptical, so as to maximize the spatial position of the mirror body 10, maximize the internal space of the discharge channel 130, increase the effective space for discharging waste materials, and thus discharge the impurities in the body more quickly, avoid the formation of water in the body, and reduce the residue. In other embodiments of the present invention, the cross-section of the discharge passage 130 may also be other shapes, such as a semi-circle, a sector. In other embodiments, the water inlet passage 120, the working passage 110, and the region outside the information acquisition device 30 can be used as the region where the exhaust passage 130 is disposed, in the case of satisfying the structural strength requirement of the mirror body 10.
It is worth mentioning that, in the conventional soft endoscope with the sheath, the drainage channel is approximately annular, and the available space of the drainage channel is only one annular gap, so that the drainage efficiency is very low, and the broken stones are easy to block.
Further, in this embodiment of the present invention, the formation regions of the water inlet passage 120, the information collecting device 30, and the working passage 110 are extended convexly outward. That is, the first working area 111 extends convexly outward. The first working area 111 and the second working area 112 form a substantially rounded step structure. It is worth mentioning that the substantially stepped structure formed by the first working area 111 and the second working area 112 reduces the effective contact area of the ends, thereby facilitating the entry or movement of the mirror body 10 in vivo. Preferably, corner positions of the first working area 111 and the second working area 112 are provided with a round corner structure, further facilitating the entry of the end of the mirror body 10.
It is also worth mentioning that, as described above, the first working area 111 and the second working area 112 are working areas of two functions, and thus are arranged in a partitioned manner such that the two functions can be independent from each other, and the substantially step-structured arrangement of the first working area 111 and the second working area 112 further distinguishes the functions of the first working area 111 and the second working area 112. For example, when the rock breaking operation is performed, the position corresponding to the first working area 111 is used for performing rock breaking and flushing, and the crushed rock and the waste water fall downwards, at this time, the second working area 112 located behind the lower side of the first working area 111 rapidly sucks the impurities, and since the flushed water of the first outlet 1102, i.e., the incoming water, has a predetermined distance from the discharge position, i.e., the third outlet 1302, the incoming water is prevented from being discharged when not being used, so that the rock breaking flushing process of the first working area 111 and the suction and discharge process of the working area are better separated.
It is also worth mentioning that the spatial size of the drainage channel 130 is larger than that of the water inlet channel 120, and the drainage channel is adapted to the water inlet function and the water outlet function respectively under the condition of maximizing the spatial utilization rate. For example, the water inlet channel 120 is used for flushing water, i.e. after breaking stones, the broken stones are flushed and a flowing medium is provided to send them out. During the operation, on one hand, a lithotripsy apparatus such as a holmium laser needs to be kept, the working end face is clearly visible, so that an operator can clearly operate the lithotripsy apparatus, so that the water flow cannot be too large to avoid affecting the sight, on the other hand, the water flow is too large to easily form accumulated water in the kidney, so that the pressure of the kidney is increased, and third, the entering water is clear water, and the water flow is directly flushed into the body, so that the water pressure cannot be too large, so that the water flow requirement of the entering water is relatively small under the condition of meeting the flushing, and the drainage channel 130 needs to discharge the lithotripsy impurities as fast as possible, and the discharged water is not clear water, but a mixture of the impurities and water, so that the water inlet channel 120 and the drainage channel 130 need to be discharged fast on one hand, and on the other hand, the lithotripsy impurities with large size can pass through, so that the water inlet channel 120 and the drainage channel 130 are functionally isolated from each other by partitioning and setting of the size, the working areas are separated from each other, and the working size and the functional requirements are matched with each other, so that the efficiency of breaking and discharging stones is integrally improved. The integrated sheath-free ureteroscope 100 can discharge sundries while performing stone breaking and flushing, and modulates the flow relation between flushed water and sucked sundries, so that flushing and sundries discharging tend to be balanced, and the rise of renal pressure is avoided.
On the other hand, the information acquisition device 30 is located in the first working area 111, and the information acquisition device 30 can enhance the hardness of the first working area 111, so that the working end 11 of the mirror body 10 can conveniently enter the body.
According to this embodiment of the present invention, referring to fig. 4-6B, the mirror body 10 includes a main frame 13 and a coating layer 14, the main frame 13 is coated in the coating layer 14, and the hardness of the main frame 13 is greater than that of the coating layer 14, so that the overall hardness of the mirror body 10 is enhanced while maintaining a certain flexibility of the mirror body 10, so that the mirror body 10 has a good guiding property and can be independently moved into and out of a human organ without requiring an auxiliary member such as a sheath. By way of example and not limitation, the main frame 13 is made of metal, and the covering layer 14 is made of plastic. It is worth mentioning that, by combining the soft and hard materials with each other in this way, the flexibility of the soft mirror and the guidance of the semi-hard mirror can be provided at the same time, so that the mirror body 10 can be moved into and out of the human organ independently. Preferably, the coating layer 14 integrally coats the main frame 13.
In one embodiment of the invention, the hardness of the lens body 10 is between that of a semi-hard lens and a soft lens.
For example, in one embodiment of the present invention, when the mirror body 10 is manufactured, the main frame 13 may be manufactured in advance in a predetermined shape, and then the main frame 13 is placed in a mold, so that the material of the cladding layer 14 and the main frame 13 are fused with each other by way of integral molding, and a plurality of spatial channels, that is, the working channel 110, the water inlet channel 120, and the exhaust channel 130, are formed at predetermined positions.
The main frame 13 has a substantially circular cross section, that is, the main frame 13 is distributed on the periphery of the lens body 10 to form a circular wall, and the working channel 110, the water inlet channel 120 and the exhaust channel 130 are formed by the material of the coating layer 14. More specifically, the working inner surface 1103 of the working channel 110, the flushing inner surface 1203 of the water inlet channel 120, and the discharging inner surface 1303 of the discharging channel 130 are each formed of the cladding 14 material.
Referring to fig. 4, the main frame 13 includes at least one longitudinally extending ridge 131 and a plurality of lateral reinforcing ribs 132, the longitudinally extending ridge 131 extending in a length direction of the mirror body 10, and the lateral reinforcing ribs 132 are curvedly connected to both sides of the main frame 13. Preferably, the main frame 13 includes two longitudinally extending ridges 131 symmetrically distributed along the center of the mirror body 10, and a plurality of the transverse reinforcing ribs 132 are connected between the two longitudinally extending ridges 131 in an arc shape, in a vertically symmetrical manner, or in a mirror-symmetrical manner.
In one embodiment of the present invention, the transverse stiffener 132 has a bent structure, such as a wave-shaped structure. The backbone 13 includes a series of transverse reinforcing ribs 132 arranged substantially parallel to each other between the two longitudinally extending ridges 131.
In one embodiment of the invention, the transverse stiffening ribs 132 are movably connected with the longitudinally extending ridges 131 to facilitate bending of the mirror body 10.
It is worth mentioning that the arrangement of the longitudinally extending ridges 131 and the transverse stiffening ribs 132 provides the mirror body 10 with a certain flexibility for easy bending, and on the other hand, provides the mirror body 10 with a better guidance for direct access to the body without the aid of a sheath.
Further, in one embodiment of the present invention, referring to fig. 3A-3B, the one-piece sheath-free ureteroscope 100 comprises an outer layer 15, wherein the outer layer 15 is attached to the outer surface of the scope body 10 for improving the surface properties of the scope body 10, for example, the outer layer 15 is used for enhancing the surface smoothness of the scope body 10, so that the surface of the scope body 10 is smoother and thus easier to enter into the body.
Preferably, the outer layer 15 is a super-lubricious coating for reducing the outer surface drag of the mirror body. In one embodiment, the outer layer 15 is formed on the outer surface of the mirror body 10 by means of plasma enhanced chemical vapor deposition. It is worth mentioning that a nano coating is formed on the surface of the mirror main body 10 by means of plasma enhanced chemical vapor deposition, which can greatly improve the smoothness of the surface of the mirror main body 10, and the thickness of the nano coating is very thin, which does not affect the overall hardness of the mirror main body 10.
Further, in one embodiment of the present invention, the mirror body 10 has an identifier 16, the identifier 16 being provided on an outer surface of the mirror body 10. The identifier 16 is exemplified but not limited to a scale mark. It is worth mentioning that the identifier 16 cooperates with the information collecting device 30 to assist the operator in performing the surgical operation. For example, when the operator performs use, the image information in front of the working end 11 of the scope body 10 is observed by the information collecting means 30, and the depth of entry is observed by the identifier 16, thereby better determining the treatment position. Preferably, the identifier 16 is located on the outer layer 15 and is a different color than the outer layer 15.
Referring to fig. 7A-9, a process schematic is shown for using the integrated sheath-less ureteroscope 100 according to embodiments of the present disclosure. Taking the integrated sheath-less ureteroscope 100 as an example for the process of treating a stone in a renal pelvis, a guide wire 200 is firstly inserted from the third port 24 of the operation handle 20, namely, the guide wire 200 is inserted into the body through the discharge channel 130, and the guide wire 200 is sent into a ureter, then an inner core 300 is inserted along the guide wire 200, namely, the inner core 300 is sent along the discharge channel 130, and the ureter is sent along the guide wire 200, then the scope body 10 is inserted along the inner core 300, namely, the scope body 10 is sent into the body under the guidance of the inner core 300, and the in-vivo image collected by the image collecting device can be displayed by a display device during the process of entering the scope body 10; after the endoscope main body 10 reaches a predetermined position, the guide wire 200 and the inner core 300 are taken out, an operator controls the position of the working end 11 of the endoscope main body 10 close to the position of the calculus according to an image displayed on the image acquisition device by controlling the operating handle 20, a working instrument for putting the calculus in the working channel 110, such as holmium laser, rubbles are carried out by the holmium laser, and water is simultaneously injected into the water inlet channel 120 by a water flushing device, so that water flows out through the second outlet 1202 of the water inlet channel 120 to flush the position of the calculus, and the crushed calculus and waste water are discharged from the discharge channel 130 together, for example, the crushed calculus can be sucked out by the discharge channel 130 by means of a suction device. After the operation is finished, the scope body 10 can be directly extracted from the body by controlling the operation knob 20.
Referring to fig. 7B, during this use of the present invention, the integrated sheath-less ureteroscope 100 is advanced into the ureter from both of the guide wires 200, rather than being guided through the inner core 300. Of course, in other embodiments of the present invention, the integrated sheath-less ureteroscope 100 may be guided into the body by other guiding components.
It should be noted that, when the sundries are discharged, the third outlet 1302 of the discharge passage 130 is adjacent to the first outlet 1102 of the working passage 110, so that the sundries can be sucked in a short distance, and the crushed sundries can be sucked out quickly and efficiently. And because the third outlet 1302 is adjacent to the information collecting device 30, an operator can observe images, control the operating handle 20 and suck sundries in a targeted manner. On the other hand, since the scope body 10 is integrally extended and has a smooth outer surface, resistance is small when entering and exiting a human organ, and the scope body can independently enter and exit without assistance of other parts.
It is also worth mentioning that during the use of the integrated sheath-free ureteroscope 100 of the present invention, no auxiliary component, such as the auxiliary function of a scope sheath, is required, so that the operation process of the scope sheath is reduced during the operation, the operation process is simplified, and the requirement on the operator is reduced. The integrated sheath-free ureteroscope 100 does not need the auxiliary action of a sheath, so that the overall diameter is reduced under the condition that the working size is not reduced, the damage of instruments to body organs is reduced, the consumption of consumables is reduced, and the operation cost is reduced. On the other hand, when attracting, the condition of operation can direct observation rubble position, and direct operation handle 20 just can adjust the position of attraction to make the rubble attract more have the targetedly, reduce the residue of rubble, and the wastes material can be by timely discharge, reduce the possibility of ponding.
It is also worth mentioning that the third outlet 1302, i.e. the sundry outlet, of the integrated sheath-free ureteroscope 100 is close to the second outlet 1202, i.e. close to the crushed stone, so that sundries can be sucked at a short distance, and therefore, during negative pressure suction, the size of the suction force can be better controlled, so that a better suction effect can be achieved with a smaller suction force, and thus, the damage of the negative pressure suction to the body can be reduced.
It should also be mentioned that, in the process of using the existing ureteroscope, the crushed stone needs to be discharged under the auxiliary action of the sheath, the efficiency of discharging the crushed stone is low, and the discharge space is narrow, so in order to discharge the crushed stone as much as possible, the crushed stone needs to be pulverized, that is, the size of the crushed stone is as small as possible, for example, the size of the gap is smaller, but the size of the crushed stone for one time of the existing crushing equipment cannot reach such a small size, so the crushed stone needs to be repeatedly crushed, that is, the crushed stone needs to be crushed again, in this case, the stones with various sizes are mutually doped, so the efficiency of crushing the crushed stone is further reduced, and more crushed stones can be discharged by repeating the work for many times, so the energy loss of the whole process is larger, the work efficiency is lower, and the operation time is longer, the effective space of the calculus removing of the integrated sheath-free ureteroscope 100 is greatly increased, so that pulverized calculus is not needed, and large-sized calculus can be discharged, thereby reducing energy loss and operation time.
Referring to fig. 2D-2E, the operating handle 20 is adapted for a grip-down operation, that is, an operator's fingers wrap around the operating handle 20 from below and perform a main control operation work, such as operating a working instrument 700, above the operating handle 20.
Further, the operating handle 20 includes a holding portion 201 and a connecting portion 202, and the connecting portion 202 is located in front of the holding portion 201. The grip 201 is used for being gripped, and the connection 202 is used for connecting external devices, such as but not limited to the flushing device 500, the suction device 600, and the work implement 700.
The operation element 21 is disposed above the connection portion 202. The operating element 21 is positioned to be operated by the thumb when held.
The adjusting hole 26 is arranged below the connecting part 202, and the position of the adjusting hole 26 is suitable for pressing control operation by an index finger when being held.
FIG. 10 is a schematic view of the scope body of an integrated sheath-free ureteroscope according to a second preferred embodiment of the present invention. Figures 11A-11C are schematic views of curves for integrated sheath-less ureteroscopy to access various locations within the body, according to the above-described embodiments of the present invention. Fig. 12 is a schematic diagram comparing the drainage channel formed by an integrated sheath-free ureteroscope according to an embodiment of the present invention with a prior art soft scope and a scope sheath to form a suction space. Fig. 13A-13C are schematic illustrations of different shapes and layouts of an integrated sheath-less ureteroscope formed drainage channel, according to embodiments of the invention.
Referring to fig. 10-11C, an integrated sheath-less ureteroscope 100B according to a second embodiment of the present invention is illustrated. In this embodiment of the invention, the integrated sheath-less ureteroscope 100B includes a flexible head 114B, and the flexible head 114B is located at the front of the scope body 10B.
The working channel 110B, the water inlet channel 120B and the exhaust channel 130B each extend to the flexible head 114B, that is, the flexible head 114B forms the working end 11B of the mirror body.
Referring to fig. 10, the mirror body 10B includes a main frame 13B and a cladding layer 14B, and the cladding layer 14B is clad on the main frame 13B. Preferably, the main frame 13B is embedded in the covering layer 14B.
The mirror main body 10B includes a back region 101B and an abdomen region 102B, the back region 101 being located above, the abdomen region 102 being located below, and the main frame 13B being located in the back region 101. That is, the abdominal region 102 does not have the main frame 13B, so that the back region 101B and the abdominal region 102B are formed with different hardness and bending property.
It should be noted that the different structures of the back region 101B and the abdomen region 102B are arranged to correspond to the working area of the scope body 10B and to cooperate with the guiding process of the guide wire 200B. For example, upon entry, the dorsal region 101B enters along the guide wire 200B and is located above the guide wire 200B, i.e. rides on the guide wire 200B, so that the relatively stiff structure can better follow the guide wire 200B, whereas the ventral region 102B is located below, upon entry into the bladder, the scope body 10B needs to be bent inwards, i.e. in the direction of the ventral region 102B, so that the relatively soft ventral region 102B is more adapted to the course of the bending inside.
Further, the water inlet passage 120B, the working passage 110B, and the information collecting device 30B are located above and near the back area 101B. The drainage channel 130B is located below, near the belly region 102B.
Further, the main frame 13B includes a longitudinally extending ridge 131B and a plurality of lateral reinforcing ribs 132B, the longitudinally extending ridge 131B extends along the length direction of the mirror body 10B, and the lateral reinforcing ribs 132B are curvedly connected to both sides of the main frame 13B. Preferably, a plurality of the transverse reinforcing ribs 132B are arcuately and symmetrically distributed on both sides of the longitudinally extending ridge 131B, and the transverse reinforcing ribs 132B are tapered from the longitudinally extending ridge 131B to an outer diameter.
Preferably, the lateral reinforcing ribs 132B are uniformly spaced.
In one embodiment of the present invention, the transverse stiffening ribs 132 are movably connected with the longitudinally extending ridges 131 to facilitate bending of the mirror body 10B 10.
The bendable head 114B includes a filling body 1141B and a bent bone 1142B, and the filling body 1141B covers the bent bone 1142B. The curved bone 1142B includes an extension ridge 11421B and a plurality of reinforcing ribs 11422B, the extension ridge 11421B extends along the length direction of the mirror body 10B, and the reinforcing ribs 11422B are distributed on two sides of the extension ridge 11421B in a curved manner.
Further, the stiffening ribs 11422B are progressively spaced longitudinally in an outward direction from the mirror body 10B to accommodate changes in smaller arcs and different curvatures at different locations.
For example, when the integrated sheath-free ureteroscope 100B is used for treating nephrolithiasis, after entering a human body, the organs through which the scope body 10B passes are urethra, bladder, ureter, which need to adapt to the curvature of the path, such as a curvature with a small curvature when entering bladder from urethra, and need to have good guidance when entering the human body, and the bendable head 114B finally needs to enter the renal pelvis and needs to enter the renal calyx at different positions, so that the bendable head needs to be flexibly bent and bent at various angles, and therefore, in the embodiment of the present invention, the structural design of the back region 101B and the abdomen region 102B of the scope body 10B and the reinforcing ribs in the main frame 13B are arranged at equal intervals, so that the bendable head can have proper curvature and can have guidance as taught, the spacing of the reinforcing ribs 11422B of the curved bone 1142B is gradually changed, so that the control wire can be bent at different positions, namely, different sizes of curved arcs can be formed, and the bending requirements of large and small parts in the body can be better met.
Fig. 12 is a schematic diagram comparing the drainage channel formed by an integrated sheath-free ureteroscope according to an embodiment of the present invention with a prior art soft scope and a scope sheath to form a suction space.
Preferably, in one embodiment of the invention, the mirror body 10 has a dimension F13, the exhaust channel has a dimension F5.4, and the corresponding exhaust channel has a diameter of 1.72 mm. The reference figure is compared with the embodiment of the present invention with the commonly used fitting of two kinds of soft lenses 1P and a sheath 2P. The conventional soft lens 1P and the sheath 2P are fitted with the inner and outer ferrules, and the annular gap 101P between the soft lens 1P and the sheath 2P forms a suction space, and the widths W1, W2 of this space are direct factors determining the size capable of sucking out crushed stones.
TABLE 1
Figure BDA0002660865220000191
Figure BDA0002660865220000201
As is clear from the above table, in the case where the overall size is substantially the same, the difference in the corresponding suction spaces between F12 and F14 is very large, and in the suction manner in which the conventional soft lens 1P and the lens sheath 2P are fitted, even the width of the ideal maximum suction space is only 1.27mm, whereas the width of the suction space of the embodiment of the present invention, i.e., the diameter D of the discharge passage 130 may reach 1.72mm, and the suction size is increased by 72%, so that the larger-sized crushed stone debris can be sucked out without powdering the crushed stone, while the clogging in the discharge passage is reduced, so that the crushed stone debris can be sucked out quickly.
Fig. 13A-13C are schematic illustrations of different shapes and layouts of an integrated sheath-less ureteroscope formed drainage channel, according to embodiments of the invention.
In the above embodiments, the cross-section of the discharge passage 130 is illustrated as being elliptical and circular, respectively, and in other embodiments of the present invention, the cross-section of the discharge passage 130 may also be other shapes, for example, but not limited to, trapezoidal, crescent, semicircular, fan-shaped, irregularly curved, etc., with reference to fig. 13A-13C.
It will be appreciated by persons skilled in the art that the embodiments of the invention described above and shown in the drawings are given by way of example only and are not limiting of the invention. The objects of the invention have been fully and effectively accomplished. The functional and structural principles of the present invention have been shown and described in the examples, and any variations or modifications of the embodiments of the present invention may be made without departing from the principles.

Claims (10)

1.一体式免鞘输尿管镜,其特征在于,包括:1. one-piece sheath-free ureteroscope, is characterized in that, comprises: 一操作把手;和an operating handle; and 一镜主体,其中所述镜主体包括一工作端和一操作端,所述操作端连接所述操作把手,所述镜主体一体地延伸于所述工作端和所操作端之间,所述镜主体具有一工作通道、一进水通道和一排出通道,所述工作通道用于穿过治疗器械,所述进水通道用于送入水流,所述排出通道用于送入辅助引导部件以及排出杂物,其中所述工作通道、所述进水通道以及所述排出通道各自独立地沿所述镜主体一体地延伸。A mirror body, wherein the mirror body includes a working end and an operating end, the operating end is connected to the operating handle, the mirror body integrally extends between the working end and the operating end, the mirror The main body has a working channel, a water inlet channel and a discharge channel, the working channel is used to pass through the treatment device, the water inlet channel is used to send water flow, the discharge channel is used to send the auxiliary guide member and discharge sundries, wherein the working channel, the water inlet channel, and the outlet channel each independently extend integrally along the mirror body. 2.根据权利要求1所述的一体式免鞘输尿管镜,其包括一信息采集装置,所述信息采集装置被安装于所述镜主体的所述工作端,所述信息采集装置能够通信地连接于一显示装置。2. The integrated sheath-free ureteroscope according to claim 1, comprising an information collection device, the information collection device is mounted on the working end of the scope body, and the information collection device is communicatively connected on a display device. 3.根据权利要求2所述的一体式免鞘输尿管镜,其中所述工作通道具有一第一出口,所述进水通道具有一第二出口,所述第一出口和所述第二出口分别位于所述信息采集装置的两侧。3. The integrated sheath-free ureteroscope according to claim 2, wherein the working channel has a first outlet, the water inlet channel has a second outlet, and the first outlet and the second outlet are respectively located on both sides of the information collection device. 4.根据权利要求2所述的一体式免鞘输尿管镜,其中所述排出通道具有一第三出口,所述第三出口位于所述信息采集装置的对侧。4. The integrated sheath-free ureteroscope according to claim 2, wherein the discharge channel has a third outlet, and the third outlet is located on the opposite side of the information collection device. 5.根据权利要求2所述的一体式免鞘输尿管镜,其中所述工作通道具有一第一出口,所述进水通道具有一第二出口,所述第一出口,所述第二出口,以及所述信息采集装置形成所述工作端的第一工作区,所述排出通道具有一第三出口,第三出口形成所述工作端的第二工作区,所述第一工作区和所述第二工作区相对侧地设置。5. The integrated sheath-free ureteroscope according to claim 2, wherein the working channel has a first outlet, the water inlet channel has a second outlet, the first outlet, the second outlet, and the information collection device forms a first working area of the working end, the discharge channel has a third outlet, and the third outlet forms a second working area of the working end, the first working area and the second working area are The workspaces are arranged on opposite sides. 6.根据权利要求1所述的一体式免鞘输尿管镜,其中所述第一工作区与所述第二工作区形成圆角台阶结构。6 . The integrated sheath-free ureteroscope according to claim 1 , wherein the first working area and the second working area form a rounded step structure. 7 . 7.根据权利要求1所述的一体式免鞘输尿管镜,其中所述排出通道横截面呈大致椭圆形。7. The integrated sheathless ureteroscope of claim 1, wherein the drainage channel is substantially oval in cross-section. 8.根据权利要求1-7任一所述的一体式免鞘输尿管镜,其中所述镜主体包括一主骨架和一嵌入层,所述嵌入层包覆所述主骨架,所述主骨架包括两个纵向延伸脊和一系列增强肋,所述纵向延伸脊沿所述镜主体延伸,所述一系列增强肋并列地、呈环形地连接于两个所述延伸脊之间。8. The integrated sheath-free ureteroscope according to any one of claims 1-7, wherein the scope body comprises a main frame and an embedded layer, the embedded layer covers the main frame, and the main frame comprises Two longitudinally extending ridges and a series of reinforcing ribs extending along the mirror body, the series of reinforcing ribs being juxtaposed and annularly connected between the two extending ridges. 9.根据权利要求1-7任一所述的一体式免鞘输尿管镜,其中所述操作把手包括一操作元件和一调节孔,所述操作元件被设置于所述操作把手的上部,所述调节孔被设置于所述操作把手的下部。9. The integrated sheath-free ureteroscope according to any one of claims 1-7, wherein the operating handle comprises an operating element and an adjustment hole, the operating element is arranged on the upper part of the operating handle, the operating handle The adjustment hole is provided in the lower part of the said operating handle. 10.一体式免鞘输尿管镜的制造方法,其特征在于,包括如下步骤:10. the manufacture method of integral type sheath-free ureteroscope, is characterized in that, comprises the steps: 预制一主骨架;和prefabricating a main skeleton; and 一体成型一嵌入层,并使得所述嵌入层包覆所述主骨架形成一镜主体,同时使得所述镜主体内部形成一工作通道、一进水通道和一排出通道,所述工作通道用于穿过治疗器械,所述进水通道用于送入水流,所述排出通道用于送入辅助引导部件以及排出杂物。An embedded layer is integrally formed, and the embedded layer covers the main frame to form a mirror body, and at the same time, a working channel, a water inlet channel and a discharge channel are formed inside the mirror body, and the working channel is used for Passing through the treatment device, the water inlet channel is used for feeding water, and the outlet channel is used for feeding the auxiliary guide member and discharging sundries.
CN202010904354.4A 2020-09-01 2020-09-01 Integrated sheath-free ureteroscope and manufacturing method thereof Pending CN114098589A (en)

Priority Applications (1)

Application Number Priority Date Filing Date Title
CN202010904354.4A CN114098589A (en) 2020-09-01 2020-09-01 Integrated sheath-free ureteroscope and manufacturing method thereof

Applications Claiming Priority (1)

Application Number Priority Date Filing Date Title
CN202010904354.4A CN114098589A (en) 2020-09-01 2020-09-01 Integrated sheath-free ureteroscope and manufacturing method thereof

Publications (1)

Publication Number Publication Date
CN114098589A true CN114098589A (en) 2022-03-01

Family

ID=80360329

Family Applications (1)

Application Number Title Priority Date Filing Date
CN202010904354.4A Pending CN114098589A (en) 2020-09-01 2020-09-01 Integrated sheath-free ureteroscope and manufacturing method thereof

Country Status (1)

Country Link
CN (1) CN114098589A (en)

Cited By (3)

* Cited by examiner, † Cited by third party
Publication number Priority date Publication date Assignee Title
CN114098619A (en) * 2020-09-01 2022-03-01 宁波新跃医疗科技股份有限公司 Multi-channel ureteroscope and manufacturing method thereof
WO2024104040A1 (en) * 2022-11-17 2024-05-23 宁波大学附属第一医院 Bent combined ureteroscope, ureteroscope, and ureteroscope main body
CN119214570A (en) * 2024-12-04 2024-12-31 湖南省华芯医疗器械有限公司 Insertion assembly and endoscope handle

Citations (5)

* Cited by examiner, † Cited by third party
Publication number Priority date Publication date Assignee Title
WO2015007233A1 (en) * 2013-07-19 2015-01-22 Sun Yinghao Ureterorenoscope with bendable head end
CN209391901U (en) * 2018-09-03 2019-09-17 李文成 A combined ureteroscope
CN110742675A (en) * 2019-11-25 2020-02-04 张保 Ureter soft lens integrated with lens and sheath
CN211243580U (en) * 2019-06-28 2020-08-14 杭州法博激光科技有限公司 Stone removing soft lens
CN212574834U (en) * 2020-09-01 2021-02-23 宁波市第一医院 Integrated sheathless ureteroscope

Patent Citations (5)

* Cited by examiner, † Cited by third party
Publication number Priority date Publication date Assignee Title
WO2015007233A1 (en) * 2013-07-19 2015-01-22 Sun Yinghao Ureterorenoscope with bendable head end
CN209391901U (en) * 2018-09-03 2019-09-17 李文成 A combined ureteroscope
CN211243580U (en) * 2019-06-28 2020-08-14 杭州法博激光科技有限公司 Stone removing soft lens
CN110742675A (en) * 2019-11-25 2020-02-04 张保 Ureter soft lens integrated with lens and sheath
CN212574834U (en) * 2020-09-01 2021-02-23 宁波市第一医院 Integrated sheathless ureteroscope

Cited By (3)

* Cited by examiner, † Cited by third party
Publication number Priority date Publication date Assignee Title
CN114098619A (en) * 2020-09-01 2022-03-01 宁波新跃医疗科技股份有限公司 Multi-channel ureteroscope and manufacturing method thereof
WO2024104040A1 (en) * 2022-11-17 2024-05-23 宁波大学附属第一医院 Bent combined ureteroscope, ureteroscope, and ureteroscope main body
CN119214570A (en) * 2024-12-04 2024-12-31 湖南省华芯医疗器械有限公司 Insertion assembly and endoscope handle

Similar Documents

Publication Publication Date Title
CN212574834U (en) Integrated sheathless ureteroscope
CN213488693U (en) Binocular ureteroscope
CN213963295U (en) Ureteroscope with light source
CN212574832U (en) Visual Urinary Tract Aspirator
US12433675B2 (en) Medical device having a plurality of lumens and a port
US8652102B2 (en) Colonic cleansing device
CN212574833U (en) sheathless ureteroscope
CN105963809B (en) A kind of percutaneous puncture visually rinses attraction system and its application method
CN114098589A (en) Integrated sheath-free ureteroscope and manufacturing method thereof
JP5409977B1 (en) Combination rigid ureteroscope
CN212592059U (en) multichannel ureteroscope
CN106604687A (en) Sheath assemblies and porous catheters for different fields of endoscopic surgery including suction, irrigation and material removal
CN107320140A (en) A kind of endoscope working sheath for urological surgery
CN213488691U (en) Ultra-sliding ureteroscope
DE102019105438A1 (en) Endoscope with quick-change tubing
CN120513048A (en) Detachable ureteroscope and combined ureteroscope
CN114098593A (en) Sheath-free ureteroscope and manufacturing method thereof
CN212574841U (en) Self-irrigation and drainage ureteroscope tubes and self-irrigation and drainage ureteroscopes
WO2024104040A1 (en) Bent combined ureteroscope, ureteroscope, and ureteroscope main body
CN112336424A (en) A submersible dual-channel working casing
CN114098591A (en) Visual urinary tract lumen suction device and manufacturing method thereof
CN114098588A (en) Binocular ureteroscope and manufacturing method thereof
EP3666197A1 (en) Endoscope operating sheath for urological surgery
CN116035519A (en) Visually dilatable seminal vesiculoscopic component, visible dilating sheath and dilating method
CN114098619A (en) Multi-channel ureteroscope and manufacturing method thereof

Legal Events

Date Code Title Description
PB01 Publication
PB01 Publication
SE01 Entry into force of request for substantive examination
SE01 Entry into force of request for substantive examination
WD01 Invention patent application deemed withdrawn after publication
WD01 Invention patent application deemed withdrawn after publication

Application publication date: 20220301