CN113799013B - Anchor clamps for mechanical maintenance - Google Patents
Anchor clamps for mechanical maintenance Download PDFInfo
- Publication number
- CN113799013B CN113799013B CN202111062873.1A CN202111062873A CN113799013B CN 113799013 B CN113799013 B CN 113799013B CN 202111062873 A CN202111062873 A CN 202111062873A CN 113799013 B CN113799013 B CN 113799013B
- Authority
- CN
- China
- Prior art keywords
- plate
- rotating
- arc
- electric telescopic
- clamping part
- Prior art date
- Legal status (The legal status is an assumption and is not a legal conclusion. Google has not performed a legal analysis and makes no representation as to the accuracy of the status listed.)
- Active
Links
Images
Classifications
-
- B—PERFORMING OPERATIONS; TRANSPORTING
- B25—HAND TOOLS; PORTABLE POWER-DRIVEN TOOLS; MANIPULATORS
- B25B—TOOLS OR BENCH DEVICES NOT OTHERWISE PROVIDED FOR, FOR FASTENING, CONNECTING, DISENGAGING OR HOLDING
- B25B11/00—Work holders not covered by any preceding group in the subclass, e.g. magnetic work holders, vacuum work holders
Landscapes
- Engineering & Computer Science (AREA)
- Mechanical Engineering (AREA)
- Jigs For Machine Tools (AREA)
Abstract
一种机械维修用夹具,包括底座、旋转电机、旋转盘和夹持装置。所述底座为圆盘结构,所述底座的中部设置有旋转电机,所述旋转盘设置于底座上开设的旋转槽内,所述旋转盘有两个,所述旋转盘上均设置有夹持装置,所述底座上设置的两个夹持装置为镜像对称结构,所述夹持装置通过其上设置的弧形夹具、铰接板和支撑板对工件进行夹持。本设计不仅可以从不同角度对待夹持工件进行夹持,有效扩大夹具的适用范围,而且可以匹配不同形状的待夹持工件,有效提高系统的柔性化程度。
A fixture for mechanical maintenance, comprising a base, a rotating motor, a rotating disk and a clamping device. The base is a disc structure, the middle part of the base is provided with a rotating motor, and the rotating disc is set in a rotating groove opened on the base, and there are two rotating discs, each of which is provided with a clamping device, the two clamping devices set on the base are mirror symmetrical structures, and the clamping devices clamp the workpiece through the arc-shaped clamps, hinge plates and support plates set on them. This design can not only clamp the workpiece to be clamped from different angles, effectively expand the scope of application of the fixture, but also can match different shapes of workpieces to be clamped, effectively improving the flexibility of the system.
Description
技术领域technical field
本发明涉及一种夹具,尤其涉及一种机械维修用夹具,具体适用于适用范围广、柔性化程度高的机械维修用夹具。The invention relates to a clamp, in particular to a clamp for mechanical maintenance, which is particularly suitable for a clamp for mechanical maintenance with wide application range and high flexibility.
背景技术Background technique
夹具是机械制造过程中用来固定加工对象,使其占有正确的位置以接受施工或检测的装置。从广义上说,在工艺过程中的任何工序中用来迅速、方便、安全地安装工件的装置都可称为夹具。在加工工件时,必须将工件固定夹牢,目前使用的夹具大多为通过手动进行夹紧操作的单面固定夹持夹具,夹具的夹持面与待夹取工件一一对应设置。A fixture is a device used to fix the processing object in the process of mechanical manufacturing so that it occupies the correct position for construction or inspection. In a broad sense, the device used to quickly, conveniently and safely install the workpiece in any process in the process can be called a fixture. When processing a workpiece, the workpiece must be fixed and clamped. Most of the clamps currently used are single-sided fixed clamping clamps that are manually clamped. The clamping surface of the clamp is set in one-to-one correspondence with the workpiece to be clamped.
这种夹具虽然可以满足加工过程中的工件定位固定需求,但其仍存在以下缺陷:Although this fixture can meet the workpiece positioning and fixing requirements during processing, it still has the following defects:
1、夹持面与待夹取工件一一对应,不能根据工件大小、形状以及工作需要进行调整,在夹取不同的工件时需要更换反复替换夹具,影响工作效率。1. The clamping surface corresponds to the workpiece to be clamped one by one, and cannot be adjusted according to the size, shape and work needs of the workpiece. When clamping different workpieces, it is necessary to replace and replace the fixture repeatedly, which affects work efficiency.
2、夹具固定在地面上,相配合使用的夹具之间相对位置固定,可以夹持的工件大小受限制。2. The fixture is fixed on the ground, and the relative positions of the matched fixtures are fixed, and the size of the workpiece that can be clamped is limited.
3、夹具需要操作人员手动进行夹紧操作,影响工作效率,同时夹具系统功率有限,夹持力度较小。3. The clamp requires the operator to manually perform the clamping operation, which affects work efficiency. At the same time, the power of the clamp system is limited and the clamping force is relatively small.
发明内容Contents of the invention
本发明的目的是克服现有技术中存在的适用范围小、柔性化程度低的缺点,提供了一种可以在多种工作需要下匹配不同规格工件的机械维修用夹具。The purpose of the present invention is to overcome the disadvantages of narrow application range and low flexibility in the prior art, and provide a fixture for mechanical maintenance that can match workpieces of different specifications under various work needs.
为实现以上目的,本发明的技术解决方案是:For realizing above object, technical solution of the present invention is:
一种机械维修用夹具,所述夹具包括夹持装置,所述夹持装置包括:上夹持部、下夹持部、竖板、弧形滑槽、第一齿轮、第一电机、动力输出齿轮;所述上夹持部的两端各与一个竖板上开设的弧形滑槽滑动配合,所述竖板均垂直设置于支撑面上,所述上夹持部的两端还通过其两端设置的固定杆与下夹持部固定连接,所述下夹持部通过其上设置的第一齿轮与第一电机上的动力输出齿轮啮合,所述第一电机的动力输出齿轮与上夹持部传动配合,所述上夹持部上设置有可伸缩夹持臂,所述下夹持部上固定设置有夹持台,所述上夹持部上设置的可伸缩夹持臂与下夹持部上设置的夹持台同轴设置。A fixture for mechanical maintenance, the fixture includes a clamping device, and the clamping device includes: an upper clamping part, a lower clamping part, a vertical plate, an arc-shaped chute, a first gear, a first motor, a power output gear; the two ends of the upper clamping part are slidably matched with the arc-shaped chute opened on a vertical plate, and the vertical plates are all vertically arranged on the support surface, and the two ends of the upper clamping part are also passed through its The fixed rods arranged at both ends are fixedly connected to the lower clamping part, and the first gear provided on the lower clamping part meshes with the power output gear on the first motor, and the power output gear of the first motor is connected to the upper clamping part. The clamping part is driven and matched, the upper clamping part is provided with a telescopic clamping arm, the lower clamping part is fixedly provided with a clamping platform, and the telescopic clamping arm provided on the upper clamping part is connected with the The clamping table arranged on the lower clamping part is coaxially arranged.
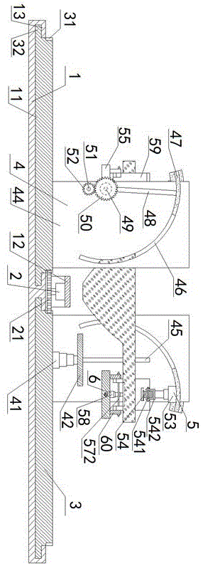
所述上夹持部包括:弧形滑板、十字凸台、固定杆、第二电动伸缩杆、弧形夹具;所述弧形滑板通过其两端设置的十字凸台各与一个竖板上开设的弧形滑槽滑动配合,所述竖板均垂直设置于支撑面上,所述限位槽与十字凸台为限位配合,所述弧形滑板的底部与第二电动伸缩杆的顶端固定连接,所述第二电动伸缩杆的底端设置有弧形夹具,所述弧形夹具通过旋转杆与第二电动伸缩杆底端设置的U型板旋转配合,所述弧形滑板还通过其两端设置的固定杆与下夹持部的两端固定连接。The upper clamping part includes: an arc-shaped slide plate, a cross boss, a fixed rod, a second electric telescopic rod, and an arc-shaped clamp; The arc-shaped chute is slidingly matched, the vertical plates are vertically arranged on the support surface, the limit slot and the cross boss are in position-limiting fit, the bottom of the arc-shaped slide plate is fixed to the top of the second electric telescopic rod connected, the bottom end of the second electric telescopic rod is provided with an arc-shaped clamp, and the arc-shaped clamp rotates and cooperates with the U-shaped plate provided at the bottom end of the second electric telescopic rod through the rotating rod. The fixing rods arranged at both ends are fixedly connected with the two ends of the lower clamping part.
所述下夹持部包括:旋转轴、横板、第二滑槽、滑杆、滑块、第三电动伸缩杆、铰接板、固定板;所述旋转轴上还设置有横板,所述横板与旋转轴固定为一体,所述横板上开设有两个第二滑槽,所述第二滑槽的内部均设置有滑杆,所述滑杆各与一个滑块滑动配合,所述滑块的顶部均与一个第三电动伸缩杆的底端固定连接,所述第三电动伸缩杆的顶端各与一个铰接板的底部铰接,所述横板的顶部还设置有固定板,所述固定板设置于两个第二滑槽之间,所述铰接板近固定板的一端与固定板的顶端铰接,所述旋转轴的两端与弧形滑板两端设置的固定杆固定连接,所述固定杆与第二电动伸缩杆平行设置,所述旋转轴与第二电动伸缩杆垂直设置,所述弧形滑板与旋转轴旋转配合,所述旋转轴通过设置在其一端的第一齿轮与第一电机上的动力输出齿轮啮合,所述第一电机的动力输出齿轮与弧形滑板传动配合。The lower clamping part includes: a rotating shaft, a horizontal plate, a second chute, a sliding rod, a sliding block, a third electric telescopic rod, a hinge plate, and a fixing plate; the rotating shaft is also provided with a horizontal plate, and the The horizontal plate and the rotating shaft are fixed as a whole, and the horizontal plate is provided with two second chute, and the inside of the second chute is provided with a sliding bar, and each of the sliding bars is slidably matched with a slider. The tops of the sliders are all fixedly connected to the bottom end of a third electric telescopic rod, and the top ends of the third electric telescopic rod are respectively hinged with the bottom of a hinged plate, and the top of the horizontal plate is also provided with a fixed plate, so The fixed plate is arranged between the two second slide grooves, one end of the hinged plate near the fixed plate is hinged to the top of the fixed plate, and the two ends of the rotating shaft are fixedly connected with the fixed rods provided at the two ends of the arc-shaped slide plate. The fixed rod is arranged in parallel with the second electric telescopic rod, the rotating shaft is arranged vertically with the second electric telescopic rod, the arc-shaped slide plate is rotatably matched with the rotating shaft, and the rotating shaft passes through the first gear arranged at one end It meshes with the power output gear on the first motor, and the power output gear of the first motor cooperates with the arc-shaped slide plate transmission.
所述夹具还包括旋转盘,所述夹持装置设置于旋转盘顶部的近边缘一侧,所述旋转盘设置于底座上开设的旋转槽内,所述旋转盘与旋转槽旋转配合,所述底座为平板结构,所述底座的中部设置有旋转电机,所述旋转电机的动力输出轴上设置有动力输出轴齿轮,所述动力输出轴齿轮与旋转盘侧面设置的齿牙啮合。The clamp also includes a rotating disk, the clamping device is arranged on the near edge side of the top of the rotating disk, the rotating disk is arranged in a rotating groove opened on the base, the rotating disk is rotatably matched with the rotating groove, and the The base is a flat plate structure, the middle part of the base is provided with a rotating motor, the power output shaft of the rotating motor is provided with a power output shaft gear, and the power output shaft gear meshes with the teeth provided on the side of the rotating disk.
所述底座上布置有横梁,所述横梁设置于两个旋转槽之间,所述横梁的两端分别通过一个连接柱与底座的顶部固定连接,所述横梁的底部与旋转电机的顶部固定连接,所述底座上还开设有两个旋转槽,所述旋转槽对称布置于旋转电机的两侧,所述旋转槽内均设置有旋转盘,所述旋转盘上均设置有夹持装置,所述底座上设置的两个夹持装置为镜像对称结构。A crossbeam is arranged on the base, and the crossbeam is arranged between two rotating slots. Both ends of the crossbeam are fixedly connected to the top of the base through a connecting column, and the bottom of the crossbeam is fixedly connected to the top of the rotating motor. , the base is also provided with two rotating slots, the rotating slots are symmetrically arranged on both sides of the rotating motor, a rotating disc is arranged in the rotating slot, and a clamping device is arranged on the rotating disc, so The two clamping devices provided on the base are mirror symmetrical structures.
所述夹持装置包括两个第一电动伸缩杆,所述第一电动伸缩杆的底部与旋转盘的底部固定连接,所述第一电动伸缩杆的顶端与支撑板的底部固定连接,所述支撑板的两侧各与一个T型滑块固定连接,所述T型滑块设置在竖板上开设的第一滑槽内。The clamping device includes two first electric telescopic rods, the bottom of the first electric telescopic rods is fixedly connected to the bottom of the rotating disk, the top end of the first electric telescopic rods is fixedly connected to the bottom of the support plate, and the Both sides of the support plate are respectively fixedly connected with a T-shaped slider, and the T-shaped slider is arranged in the first chute opened on the vertical plate.
所述旋转盘的侧壁上部设置有齿牙,所述旋转盘的侧壁下部设置有限位环,所述旋转槽的上边沿设置有与限位环相配合的翻边。The upper part of the side wall of the rotating disc is provided with teeth, the lower part of the side wall of the rotating disc is provided with a limiting ring, and the upper edge of the rotating groove is provided with a flanging matched with the limiting ring.
所述旋转轴的两端设置有连接块,所述连接块与竖板限位配合,所述旋转轴通过其两侧设置的连接块与固定杆固定连接。The two ends of the rotating shaft are provided with connecting blocks, and the connecting blocks are limitedly matched with the vertical plate, and the rotating shaft is fixedly connected with the fixed rod through the connecting blocks arranged on both sides.
所述横板的顶部设置有两个固定板,所述两个固定板之间设置有铰链轴,所述铰链轴与铰接板旋转配合。Two fixing plates are arranged on the top of the horizontal plate, and a hinge shaft is arranged between the two fixing plates, and the hinge shaft is rotatably matched with the hinge plate.
所述滑杆上套设有弹簧,所述弹簧与滑块压紧配合,所述弹簧与第二滑槽的侧壁压紧配合。A spring is sheathed on the slide bar, and the spring is press fit with the slide block, and the spring is press fit with the side wall of the second chute.
与现有技术相比,本发明的有益效果为:Compared with prior art, the beneficial effect of the present invention is:
1、本发明一种机械维修用夹具中利用弧形夹具和铰接板形成主夹持面,弧形夹具和铰接板可以通过电机驱动沿旋转轴进行旋转,同时本发明利用平行于地面的支撑板作为副夹持面,辅助主夹持面对待夹持工件进行支撑,使得本发明可以在不同角度对待夹持工件进行夹持,有效扩大夹具对不同形状的待夹持工件的适用范围。因此,本设计可以从不同角度对待夹持工件进行夹持,有效扩大夹具的适用范围。1. In a fixture for mechanical maintenance of the present invention, an arc-shaped fixture and a hinged plate are used to form the main clamping surface. The arc-shaped fixture and the hinged plate can be driven by a motor to rotate along the rotation axis, and the present invention utilizes a support plate parallel to the ground As the auxiliary clamping surface, the auxiliary main clamping surface supports the workpiece to be clamped, so that the present invention can clamp the workpiece to be clamped at different angles, effectively expanding the scope of application of the clamp to workpieces to be clamped in different shapes. Therefore, this design can clamp the workpiece to be clamped from different angles, effectively expanding the scope of application of the clamp.
2、本发明一种机械维修用夹具中的铰接板之间的夹角可以在电动伸缩杆的驱动下改变,不同夹角的铰接板可以匹配不同外形的待夹持工件,从而使铰接板可以对不同规格的待夹持工件形成有效支撑,有效提高系统的柔性化程度。因此,本设计通过电动伸缩杆驱动铰接板工作,使系统可以匹配不同形状的待夹持工件,有效提高系统的柔性化程度。2. The angle between the hinged plates in the mechanical maintenance fixture of the present invention can be changed under the drive of the electric telescopic rod, and the hinged plates with different angles can match workpieces to be clamped with different shapes, so that the hinged plates can be It forms an effective support for workpieces to be clamped in different specifications, and effectively improves the flexibility of the system. Therefore, this design drives the hinged plate to work through the electric telescopic rod, so that the system can match different shapes of workpieces to be clamped, effectively improving the flexibility of the system.
3、本发明一种机械维修用夹具中夹持装置设置于旋转盘上,旋转盘可以通过旋转电机驱动在底座上旋转,旋转盘旋转后可以带动夹持装置移动,改变两个夹持装置之间的距离,使得本发明适用的待夹持工件尺寸范围有效扩大。因此,本设计可以改变相配合的夹持装置之间的距离,有效扩大本发明适用的待夹持工件尺寸。3. The clamping device in a jig for mechanical maintenance of the present invention is arranged on a rotating disk. The rotating disk can be driven to rotate on the base by a rotating motor. After the rotating disk rotates, it can drive the clamping device to move, and change the distance between the two clamping devices. The distance between them effectively expands the size range of workpieces to be clamped applicable to the present invention. Therefore, this design can change the distance between the matching clamping devices, effectively expanding the applicable size of the workpiece to be clamped by the present invention.
4、本发明一种机械维修用夹具中弧形夹具、铰接板和支撑板的伸缩均通过电动伸缩杆进行驱动,不需要操作人员手动进行夹持工作,同时电动伸缩杆功率较高,输出的夹持里较大,可以有效提高工作效率,同时增大夹持力。因此,本设计可以通过电动伸缩杆驱动进行夹持工作,有效提高工作效率,同时增大夹持力。4. The expansion and contraction of arc-shaped clamps, hinge plates and support plates in a fixture for mechanical maintenance of the present invention are all driven by electric telescopic rods, which do not require manual clamping work by operators. At the same time, the power of electric telescopic rods is high, and the output The clamping center is larger, which can effectively improve the work efficiency and increase the clamping force at the same time. Therefore, this design can be driven by the electric telescopic rod to carry out the clamping work, which can effectively improve the work efficiency and increase the clamping force at the same time.
附图说明Description of drawings
图1是本发明的结构示意图。Fig. 1 is a structural schematic diagram of the present invention.
图2是本发明的侧视图。Figure 2 is a side view of the present invention.
图3是本发明实施例1中的结构示意图。Fig. 3 is a schematic structural diagram of
图4是本发明实施例2中的结构示意图。Fig. 4 is a schematic structural diagram of
图5是本发明实施例3中的结构示意图。Fig. 5 is a schematic structural diagram of
图中:底座1、旋转槽11、横梁12、翻边13、旋转电机2、动力输出轴齿轮21、旋转盘3、齿牙31、限位环32、夹持装置4、第一电动伸缩杆41、支撑板42、T型滑块43、竖板44、第一滑槽45、弧形滑槽46、限位槽461、弧形滑板47、十字凸台471、固定杆48、旋转轴49、上夹持部5、第一齿轮50、第一电机51、动力输出齿轮52、第二电动伸缩杆53、弧形夹具54、旋转杆541、U型板542、横板55、第二滑槽56、滑杆57、滑块571、铰链轴572、弹簧573、第三电动伸缩杆58、铰接板59、下夹持部6、固定板60、连接块61。In the figure:
具体实施方式Detailed ways
以下结合附图说明和具体实施方式对本发明作进一步详细的说明。The present invention will be described in further detail below in conjunction with the accompanying drawings and specific embodiments.
参见图1至图5,一种机械维修用夹具,所述夹具包括夹持装置4,所述夹持装置4包括:上夹持部5、下夹持部6、竖板44、弧形滑槽46、第一齿轮50、第一电机51、动力输出齿轮52;所述上夹持部5的两端各与一个竖板44上开设的弧形滑槽46滑动配合,所述竖板44均垂直设置于支撑面上,所述上夹持部5的两端还通过其两端设置的固定杆与下夹持部6固定连接,所述下夹持部6通过其上设置的第一齿轮50与第一电机51上的动力输出齿轮52啮合,所述第一电机51的动力输出齿轮52与上夹持部5传动配合,所述上夹持部5上设置有可伸缩夹持臂,所述下夹持部6上固定设置有夹持台,所述上夹持部5上设置的可伸缩夹持臂与下夹持部6上设置的夹持台同轴设置。Referring to Fig. 1 to Fig. 5, a clamp for mechanical maintenance, the clamp includes a
所述上夹持部5包括:弧形滑板47、十字凸台471、固定杆48、第二电动伸缩杆53、弧形夹具54;所述弧形滑板47通过其两端设置的十字凸台471各与一个竖板44上开设的弧形滑槽46滑动配合,所述竖板44均垂直设置于支撑面上,所述限位槽461与十字凸台471为限位配合,所述弧形滑板47的底部与第二电动伸缩杆53的顶端固定连接,所述第二电动伸缩杆53的底端设置有弧形夹具54,所述弧形夹具54通过旋转杆541与第二电动伸缩杆53底端设置的U型板542旋转配合,所述弧形滑板47还通过其两端设置的固定杆48与下夹持部6的两端固定连接。The
所述下夹持部6包括:旋转轴49、横板55、第二滑槽56、滑杆57、滑块571、第三电动伸缩杆58、铰接板59、固定板60;所述旋转轴49上还设置有横板55,所述横板55与旋转轴49固定为一体,所述横板55上开设有两个第二滑槽56,所述第二滑槽56的内部均设置有滑杆57,所述滑杆57各与一个滑块571滑动配合,所述滑块571的顶部均与一个第三电动伸缩杆58的底端固定连接,所述第三电动伸缩杆58的顶端各与一个铰接板59的底部铰接,所述横板55的顶部还设置有固定板60,所述固定板60设置于两个第二滑槽56之间,所述铰接板57近固定板60的一端与固定板60的顶端铰接,所述旋转轴49的两端与弧形滑板47两端设置的固定杆48固定连接,所述固定杆48与第二电动伸缩杆53平行设置,所述旋转轴49与第二电动伸缩杆53垂直设置,所述弧形滑板47与旋转轴49旋转配合,所述旋转轴49通过设置在其一端的第一齿轮50与第一电机51上的动力输出齿轮52啮合,所述第一电机51的动力输出齿轮52与弧形滑板47传动配合。The lower clamping part 6 includes: a rotating shaft 49, a horizontal plate 55, a second chute 56, a sliding rod 57, a sliding block 571, a third electric telescopic rod 58, a hinge plate 59, and a fixing plate 60; the rotating shaft 49 is also provided with a horizontal plate 55, the horizontal plate 55 and the rotating shaft 49 are fixed as a whole, the horizontal plate 55 is provided with two second chute 56, and the inside of the second chute 56 is provided with Slide bar 57, described slide bar 57 is respectively slidably matched with a slide block 571, and the top of described slide block 571 is fixedly connected with the bottom end of a third electric telescopic rod 58, and the top end of described third electric telescopic rod 58 Each is hinged with the bottom of a hinged plate 59, and the top of the horizontal plate 55 is also provided with a fixed plate 60, the fixed plate 60 is arranged between the two second slide grooves 56, and the hinged plate 57 is close to the fixed plate 60 One end of one end is hinged with the top of the fixed plate 60, and the two ends of the rotating shaft 49 are fixedly connected with the fixed rods 48 provided at the two ends of the arc-shaped slide plate 47, and the fixed rods 48 are arranged in parallel with the second electric telescopic rod 53. The rotating
所述夹具还包括旋转盘3,所述夹持装置4设置于旋转盘3顶部的近边缘一侧,所述旋转盘3设置于底座1上开设的旋转槽11内,所述旋转盘3与旋转槽11旋转配合,所述底座1为平板结构,所述底座1的中部设置有旋转电机2,所述旋转电机2的动力输出轴上设置有动力输出轴齿轮21,所述动力输出轴齿轮21与旋转盘3侧面设置的齿牙31啮合。The clamp also includes a
所述底座1上布置有横梁12,所述横梁12设置于两个旋转槽11之间,所述横梁12的两端分别通过一个连接柱与底座1的顶部固定连接,所述横梁12的底部与旋转电机2的顶部固定连接,所述底座1上还开设有两个旋转槽11,所述旋转槽11对称布置于旋转电机2的两侧,所述旋转槽11内均设置有旋转盘3,所述旋转盘3上均设置有夹持装置4,所述底座1上设置的两个夹持装置4为镜像对称结构。A
所述夹持装置4包括两个第一电动伸缩杆41,所述第一电动伸缩杆41的底部与旋转盘3的底部固定连接,所述第一电动伸缩杆41的顶端与支撑板42的底部固定连接,所述支撑板42的两侧各与一个T型滑块43固定连接,所述T型滑块43设置在竖板44上开设的第一滑槽45内。The
所述旋转盘3的侧壁上部设置有齿牙31,所述旋转盘3的侧壁下部设置有限位环32,所述旋转槽11的上边沿设置有与限位环32相配合的翻边13。
所述旋转轴49的两端设置有连接块62,所述连接块62与竖板44限位配合,所述旋转轴49通过其两侧设置的连接块62与固定杆48固定连接。Both ends of the
所述横板55的顶部设置有两个固定板60,所述两个固定板60之间设置有铰链轴572,所述铰链轴572与铰接板59旋转配合。Two fixing
所述滑杆57上套设有弹簧573,所述弹簧573与滑块571压紧配合,所述弹簧573与第二滑槽56的侧壁压紧配合。A
本发明的原理说明如下:Principle of the present invention is described as follows:
本发明中的旋转盘3可以通过其底部设置的旋转轴或端面轴承与底座1旋转配合。The
本发明中的第三电动伸缩杆58通过弹簧573与第二滑槽55的侧壁压紧配合,当第三电动伸缩杆58伸长时,铰接板59与横板55之间的夹角变大,弹簧573伸长,当第三电动伸缩杆58缩短时,铰接板59与横板55之间的夹角变小,弹簧573缩短。The third electric
实施例1:Example 1:
一种机械维修用夹具,所述夹具包括夹持装置4,所述夹持装置4包括:上夹持部5、下夹持部6、竖板44、弧形滑槽46、第一齿轮50、第一电机51、动力输出齿轮52;所述上夹持部5的两端各与一个竖板44上开设的弧形滑槽46滑动配合,所述竖板44均垂直设置于支撑面上,所述上夹持部5的两端还通过其两端设置的固定杆与下夹持部6固定连接,所述下夹持部6通过其上设置的第一齿轮50与第一电机51上的动力输出齿轮52啮合,所述第一电机51的动力输出齿轮52与上夹持部5传动配合,所述上夹持部5上设置有可伸缩夹持臂,所述下夹持部6上固定设置有夹持台,所述上夹持部5上设置的可伸缩夹持臂与下夹持部6上设置的夹持台同轴设置;所述上夹持部5包括:弧形滑板47、十字凸台471、固定杆48、第二电动伸缩杆53、弧形夹具54;所述弧形滑板47通过其两端设置的十字凸台471各与一个竖板44上开设的弧形滑槽46滑动配合,所述竖板44均垂直设置于支撑面上,所述限位槽461与十字凸台471为限位配合,所述弧形滑板47的底部与第二电动伸缩杆53的顶端固定连接,所述第二电动伸缩杆53的底端设置有弧形夹具54,所述弧形夹具54通过旋转杆541与第二电动伸缩杆53底端设置的U型板542旋转配合,所述弧形滑板47还通过其两端设置的固定杆48与下夹持部6的两端固定连接;所述下夹持部6包括:旋转轴49、横板55、第二滑槽56、滑杆57、滑块571、第三电动伸缩杆58、铰接板59、固定板60;所述旋转轴49上还设置有横板55,所述横板55与旋转轴49固定为一体,所述横板55上开设有两个第二滑槽56,所述第二滑槽56的内部均设置有滑杆57,所述滑杆57各与一个滑块571滑动配合,所述滑块571的顶部均与一个第三电动伸缩杆58的底端固定连接,所述第三电动伸缩杆58的顶端各与一个铰接板59的底部铰接,所述横板55的顶部还设置有固定板60,所述固定板60设置于两个第二滑槽56之间,所述铰接板57近固定板60的一端与固定板60的顶端铰接,所述旋转轴49的两端与弧形滑板47两端设置的固定杆48固定连接,所述固定杆48与第二电动伸缩杆53平行设置,所述旋转轴49与第二电动伸缩杆53垂直设置,所述弧形滑板47与旋转轴49旋转配合,所述旋转轴49通过设置在其一端的第一齿轮50与第一电机51上的动力输出齿轮52啮合,所述第一电机51的动力输出齿轮52与弧形滑板47传动配合;所述夹具还包括旋转盘3,所述夹持装置4设置于旋转盘3顶部的近边缘一侧,所述旋转盘3设置于底座1上开设的旋转槽11内,所述旋转盘3与旋转槽11旋转配合,所述底座1为平板结构,所述底座1的中部设置有旋转电机2,所述旋转电机2的动力输出轴上设置有动力输出轴齿轮21,所述动力输出轴齿轮21与旋转盘3侧面设置的齿牙31啮合;所述底座1上布置有横梁12,所述横梁12设置于两个旋转槽11之间,所述横梁12的两端分别通过一个连接柱与底座1的顶部固定连接,所述横梁12的底部与旋转电机2的顶部固定连接,所述底座1上还开设有两个旋转槽11,所述旋转槽11对称布置于旋转电机2的两侧,所述旋转槽11内均设置有旋转盘3,所述旋转盘3上均设置有夹持装置4,所述底座1上设置的两个夹持装置4为镜像对称结构;所述夹持装置4包括两个第一电动伸缩杆41,所述第一电动伸缩杆41的底部与旋转盘3的底部固定连接,所述第一电动伸缩杆41的顶端与支撑板42的底部固定连接,所述支撑板42的两侧各与一个T型滑块43固定连接,所述T型滑块43设置在竖板44上开设的第一滑槽45内;所述旋转盘3的侧壁上部设置有齿牙31,所述旋转盘3的侧壁下部设置有限位环32,所述旋转槽11的上边沿设置有与限位环32相配合的翻边13;所述旋转轴49的两端设置有连接块62,所述连接块62与竖板44限位配合,所述旋转轴49通过其两侧设置的连接块62与固定杆48固定连接;所述横板55的顶部设置有两个固定板60,所述两个固定板60之间设置有铰链轴572,所述铰链轴572与铰接板59旋转配合;所述滑杆57上套设有弹簧573,所述弹簧573与滑块571压紧配合,所述弹簧573与第二滑槽56的侧壁压紧配合;所述横板55在夹持状态下与地面垂直,所述第二电动伸缩杆53在夹持状态下与地面平行;所述夹持装置4在夹持状态下均位于旋转盘近旋转电机2侧;所述横板55与待加持工件压紧配合,所述弧形夹具54与待加持工件压紧配合,所述支撑板42的顶部支撑住待加持工件的底部。A fixture for mechanical maintenance, the fixture includes a
实施例2:Example 2:
实施例2与实施例1基本相同,其不同之处在于:
所述横板55在夹持状态下与地面平行,所述第二电动伸缩杆53在夹持状态下与地面垂直;所述夹持装置4在夹持状态下均位于旋转盘远旋转电机2侧;所述横板55与待加持工件压紧配合,所述弧形夹具54与待加持工件压紧配合。The
实施例3:Example 3:
实施例3与实施例2基本相同,其不同之处在于:
所述横板55在夹持状态下与地面平行,所述第二电动伸缩杆53在夹持状态下与地面垂直;所述夹持装置4在夹持状态下均位于旋转盘远旋转电机2侧;所述夹持装置4在夹持状态下均位于旋转盘远旋转电机2侧;所述横板55与待加持工件压紧配合,所述弧形夹具54与待加持工件压紧配合。The
Claims (10)
Priority Applications (1)
| Application Number | Priority Date | Filing Date | Title |
|---|---|---|---|
| CN202111062873.1A CN113799013B (en) | 2021-09-10 | 2021-09-10 | Anchor clamps for mechanical maintenance |
Applications Claiming Priority (1)
| Application Number | Priority Date | Filing Date | Title |
|---|---|---|---|
| CN202111062873.1A CN113799013B (en) | 2021-09-10 | 2021-09-10 | Anchor clamps for mechanical maintenance |
Publications (2)
| Publication Number | Publication Date |
|---|---|
| CN113799013A CN113799013A (en) | 2021-12-17 |
| CN113799013B true CN113799013B (en) | 2022-11-15 |
Family
ID=78940804
Family Applications (1)
| Application Number | Title | Priority Date | Filing Date |
|---|---|---|---|
| CN202111062873.1A Active CN113799013B (en) | 2021-09-10 | 2021-09-10 | Anchor clamps for mechanical maintenance |
Country Status (1)
| Country | Link |
|---|---|
| CN (1) | CN113799013B (en) |
Families Citing this family (1)
| Publication number | Priority date | Publication date | Assignee | Title |
|---|---|---|---|---|
| CN114927994B (en) * | 2022-06-20 | 2023-08-08 | 武汉船用机械有限责任公司 | Cable outer sheath stripping off device |
Family Cites Families (6)
| Publication number | Priority date | Publication date | Assignee | Title |
|---|---|---|---|---|
| CN108436524A (en) * | 2018-04-28 | 2018-08-24 | 福建省通通发科技发展有限公司 | A kind of clamp assembly of modernization novel clamping workpiece |
| CN209632822U (en) * | 2018-12-11 | 2019-11-15 | 赣州金精机械有限公司 | Clamping device is used in a kind of maintenance of automobile gear axis |
| CN111906750B (en) * | 2019-05-10 | 2025-07-01 | 江苏星启智能科技有限公司 | A multi-angle twisting mechanism for an intelligent handling robot |
| CN213165034U (en) * | 2020-09-15 | 2021-05-11 | 西京学院 | Mechanical automation processing turning device |
| CN112338588A (en) * | 2020-10-26 | 2021-02-09 | 深圳市励东科技发展有限公司 | Clamping device for machining of numerical control machine tool |
| CN112518550A (en) * | 2020-11-30 | 2021-03-19 | 临泉鹏成机电技术有限公司 | Polishing machine with workpiece rotation supporting device |
-
2021
- 2021-09-10 CN CN202111062873.1A patent/CN113799013B/en active Active
Also Published As
| Publication number | Publication date |
|---|---|
| CN113799013A (en) | 2021-12-17 |
Similar Documents
| Publication | Publication Date | Title |
|---|---|---|
| CN113118696B (en) | Intelligent welding device and method for pipe fitting end flange | |
| JP7206446B2 (en) | Single crystal silicon outer diameter polishing machine for semiconductor devices | |
| CN116140894A (en) | A new energy bus frame automatic welding tool | |
| CN117773438B (en) | Welding device and welding method based on electromechanical maintenance | |
| CN210232005U (en) | Double-side welding equipment for machining brake disc | |
| CN113799013B (en) | Anchor clamps for mechanical maintenance | |
| CN112894656A (en) | Machining is with high mounting fixture of stability | |
| CN117020560A (en) | Double-station fixture assembly for friction stir welding of axial weld joint of cylindrical part and welding device of double-station fixture assembly | |
| CN208628170U (en) | A kind of quick leveling device for aluminum row | |
| CN218362616U (en) | Cantilever type submerged arc welding machine | |
| CN214619442U (en) | A light controller with a rotary positioning mechanism | |
| CN221910408U (en) | Base welding tool frame | |
| CN222370790U (en) | Metal structure welding and fixing mechanism | |
| CN110900058B (en) | A convenient welding device for machining parts | |
| CN218836558U (en) | A welding frock for car door plant processing | |
| CN221834273U (en) | A mechanical processing positioning device | |
| CN219152000U (en) | Welding positioning mechanism | |
| CN114406561B (en) | Device for industrial welding and use method | |
| CN219485450U (en) | Multifunctional clamp for magnetic material production and processing | |
| CN111266890A (en) | Working frame for machining | |
| CN216990591U (en) | Clamping mechanism for automobile welding fixture | |
| CN211614686U (en) | A convenient welding device for machining parts | |
| CN208132894U (en) | It is a kind of for producing the fitter's bench of electric power cabinet | |
| CN221910773U (en) | A machining center fixture structure | |
| CN222536781U (en) | A brake disc repairing machine tool |
Legal Events
| Date | Code | Title | Description |
|---|---|---|---|
| PB01 | Publication | ||
| PB01 | Publication | ||
| SE01 | Entry into force of request for substantive examination | ||
| SE01 | Entry into force of request for substantive examination | ||
| GR01 | Patent grant | ||
| GR01 | Patent grant |
