CN113769187A - A neurosurgery drainage device - Google Patents

A neurosurgery drainage device Download PDF

Info

Publication number
CN113769187A
CN113769187A CN202111190028.2A CN202111190028A CN113769187A CN 113769187 A CN113769187 A CN 113769187A CN 202111190028 A CN202111190028 A CN 202111190028A CN 113769187 A CN113769187 A CN 113769187A
Authority
CN
China
Prior art keywords
drainage
cavity
positioning
tube
ring
Prior art date
Legal status (The legal status is an assumption and is not a legal conclusion. Google has not performed a legal analysis and makes no representation as to the accuracy of the status listed.)
Granted
Application number
CN202111190028.2A
Other languages
Chinese (zh)
Other versions
CN113769187B (en
Inventor
曹鹏
冯思哲
Current Assignee (The listed assignees may be inaccurate. Google has not performed a legal analysis and makes no representation or warranty as to the accuracy of the list.)
General Hospital of Shenyang Military Region
Original Assignee
General Hospital of Shenyang Military Region
Priority date (The priority date is an assumption and is not a legal conclusion. Google has not performed a legal analysis and makes no representation as to the accuracy of the date listed.)
Filing date
Publication date
Application filed by General Hospital of Shenyang Military Region filed Critical General Hospital of Shenyang Military Region
Priority to CN202111190028.2A priority Critical patent/CN113769187B/en
Publication of CN113769187A publication Critical patent/CN113769187A/en
Application granted granted Critical
Publication of CN113769187B publication Critical patent/CN113769187B/en
Expired - Fee Related legal-status Critical Current
Anticipated expiration legal-status Critical

Links

Images

Classifications

    • AHUMAN NECESSITIES
    • A61MEDICAL OR VETERINARY SCIENCE; HYGIENE
    • A61BDIAGNOSIS; SURGERY; IDENTIFICATION
    • A61B5/00Measuring for diagnostic purposes; Identification of persons
    • A61B5/03Measuring fluid pressure within the body other than blood pressure, e.g. cerebral pressure ; Measuring pressure in body tissues or organs
    • A61B5/031Intracranial pressure
    • AHUMAN NECESSITIES
    • A61MEDICAL OR VETERINARY SCIENCE; HYGIENE
    • A61MDEVICES FOR INTRODUCING MEDIA INTO, OR ONTO, THE BODY; DEVICES FOR TRANSDUCING BODY MEDIA OR FOR TAKING MEDIA FROM THE BODY; DEVICES FOR PRODUCING OR ENDING SLEEP OR STUPOR
    • A61M2205/00General characteristics of the apparatus
    • A61M2205/75General characteristics of the apparatus with filters

Landscapes

  • Health & Medical Sciences (AREA)
  • Life Sciences & Earth Sciences (AREA)
  • Biomedical Technology (AREA)
  • Heart & Thoracic Surgery (AREA)
  • Hematology (AREA)
  • Biophysics (AREA)
  • Pathology (AREA)
  • Engineering & Computer Science (AREA)
  • Neurosurgery (AREA)
  • Physics & Mathematics (AREA)
  • Medical Informatics (AREA)
  • Molecular Biology (AREA)
  • Surgery (AREA)
  • Animal Behavior & Ethology (AREA)
  • General Health & Medical Sciences (AREA)
  • Public Health (AREA)
  • Veterinary Medicine (AREA)
  • External Artificial Organs (AREA)

Abstract

本发明涉及医疗器械技术领域,具体为一种神经外科手术引流装置,包括负压吸引机构和颅压稳定机构;颅压稳定机构包括壳体和位于壳体内的颅压检测装置、供液组件以及控制器;颅压检测装置通过导线连接有检测探头;供液组件包括抗生素生理盐水储瓶,抗生素生理盐水储瓶的出液口上设有电动阀门,电动阀门的输出端连接有输液导管,输液导管远离电动阀门的一端固定设有环向喷头;控制器的输入端和检测探头电性连接,且控制器的输出端和电动阀门电性连接。本发明通过抗生素生理盐水冲洗颅腔,有效避免术后颅腔积气和控制颅内感染,并可在完成引流任务的同时检测患者的颅内压力,安全可靠,操作简单,造价低廉。

Figure 202111190028

The invention relates to the technical field of medical instruments, in particular to a neurosurgery drainage device, comprising a negative pressure suction mechanism and an intracranial pressure stabilization mechanism; The controller; the intracranial pressure detection device is connected with a detection probe through a wire; the liquid supply component includes an antibiotic physiological saline storage bottle, an electric valve is arranged on the liquid outlet of the antibiotic physiological saline storage bottle, and the output end of the electric valve is connected with an infusion catheter, an infusion catheter The end away from the electric valve is fixedly provided with a circular nozzle; the input end of the controller is electrically connected with the detection probe, and the output end of the controller is electrically connected with the electric valve. The invention flushes the cranial cavity with antibiotic physiological saline, effectively avoids postoperative intracranial gas accumulation and controls intracranial infection, and can detect the patient's intracranial pressure while completing the drainage task, which is safe, reliable, simple in operation and low in cost.

Figure 202111190028

Description

Neurosurgery operation drainage device
Technical Field
The invention relates to the technical field of medical instruments, in particular to a drainage device for neurosurgery.
Background
Neurosurgery (neurosurgey) is a branch of surgery, and is a research method of Neurosurgery, which is based on surgery as a main treatment means, and is used for researching the injury, inflammation, tumor, deformity and certain genetic metabolic disorders or dysfunction diseases of human nervous systems, such as brain, spinal cord and peripheral nervous system, and related auxiliary mechanisms, such as skull, scalp, cerebral meninges and other structures, by applying a unique neurosurgical research method, such as: the etiology and pathogenesis of epilepsy, Parkinson's disease, neuralgia and other diseases, and explores a high, precise and advanced discipline of new diagnosis, treatment and prevention technology.
Hypertensive cerebral hemorrhage, subarachnoid hemorrhage and intracerebral tumor are common neurosurgical diseases, and the intracerebroventricular drainage is a conventional treatment means. The external ventricular drainage needs to cut the scalp of a patient, drill a hole on the skull, then insert a drainage tube into the ventricle of the skull of the patient, and connect the other end of the drainage tube with a drainage device, thereby sucking the intracranial cerebrospinal fluid of the patient, reducing the intracranial pressure, partially relieving the illness state of the patient, improving the physical condition, and creating conditions for the later craniotomy.
After the drainage operation outside the brain, pneumatosis exists more or less in the cranial cavity, when having intracranial infection, the continuous dosing of the antibiotic in the cranial cavity to and in the drainage process of the cranial cavity, avoid the too high intracranial pressure all is the problem that awaits solving at present. In addition, the patient needs to lie in bed for a long time during the drainage operation, and when the human body lies in bed for a long time, the waist muscle is numb gradually, and the proper actions of turning over, lifting legs and the like are beneficial to keeping the body health of the patient. However, since the drainage tube is inserted into the cranial cavity of the patient, it may cause the drainage tube to be pulled whenever the patient moves, thereby causing secondary injury to the patient.
Disclosure of Invention
The present invention is directed to a drainage device for neurosurgery operation, which solves the above problems of the prior art.
In order to achieve the purpose, the invention provides the following technical scheme: a neurosurgical operation drainage device comprises a negative pressure suction mechanism and a cranial pressure stabilizing mechanism;
the negative pressure suction mechanism comprises a negative pressure suction device and a drainage bottle, two air nozzles are arranged at the top of the drainage bottle, one air nozzle is connected with the interface of the negative pressure suction device through a first rubber tube, and the other air nozzle is communicated with a flow guide tube through a second rubber tube;
the cranial pressure stabilizing mechanism comprises a shell, and a cranial pressure detecting device, a liquid supply assembly and a controller which are positioned in the shell; the cranial pressure detection device is connected with a detection probe through a lead; the liquid supply assembly comprises an antibiotic normal saline storage bottle, an electric valve is arranged on a liquid outlet of the antibiotic normal saline storage bottle, an output end of the electric valve is connected with an infusion catheter, and an annular nozzle is fixedly arranged at one end, far away from the electric valve, of the infusion catheter; the input end of the controller is electrically connected with the detection probe, and the output end of the controller is electrically connected with the electric valve.
Optionally, the drainage comprehensive rubber tube is a three-cavity catheter, three cavities in the drainage comprehensive rubber tube are respectively a first cavity, a second cavity and a third cavity, one end of the drainage comprehensive rubber tube is inserted into the cranial cavity of a patient, the other end of the drainage comprehensive rubber tube is connected with a tube connector, the top of the tube connector is provided with a first joint, a second joint and a third joint, and the first joint, the second joint and the third joint are respectively communicated with the first cavity, the second cavity and the third cavity of the drainage comprehensive rubber tube; the drainage tube is connected with the first joint, the detection probe penetrates through the second joint and a second cavity in the drainage comprehensive rubber tube and extends into the cranial cavity of the patient, and the infusion catheter is sleeved with the third joint.
Optionally, the hoop shower nozzle include with the liquid outlet fixed connection's of infusion pipe casing, the center department fixedly connected with center tube of pipe casing, the pipe casing still fixedly connected with uses the center tube to be annular evenly distributed's satellite tube as the center, the one end that the pipe casing was kept away from to the satellite tube is through flexible glue pipe fixedly connected with straight tube, the fixed external screw thread ring that is equipped with of outer wall of infusion pipe, external screw thread ring thread knot is connected with the location rotary drum, the crown plate has been cup jointed to the periphery of location rotary drum, the location rotary drum is close to the fixed spacing ring that is equipped with the crown plate butt of one end of pipe casing, the fixed rigidity rope that is equipped with between the outer wall of straight tube and the crown plate.
Optionally, the rubber tube fixing device further comprises a rubber tube fixing mechanism, the rubber tube fixing mechanism comprises a positioning helmet, the upper surface of the positioning helmet is provided with a through hole matched with the comprehensive drainage rubber tube in a penetrating manner, a positioning part is arranged on the upper surface of the positioning helmet and located at the periphery of the through hole, the positioning part comprises a support fixed on the upper surface of the positioning helmet, a friction plate is adhered to the inner side wall of the support, a guide rod is transversely movably inserted into the support, one end, located in the support, of the guide rod is connected with a bulge head, a limiting spring is sleeved outside the guide rod and located outside the support, and two ends of the limiting spring are respectively fixedly connected with the outer wall of the support and the outer end of the guide rod; in the initial state, the limiting spring is in a stretching state.
Optionally, the positioning helmet is including being the position circle of annular form, be connected with many radial distribution's arc strip on the position circle, the inner wall laminating of position circle is equipped with and has elastic sponge layer, many the free end of arc strip is connected with the disk jointly, the central point at the disk is seted up to the through-hole puts.
Optionally, a notch is formed in the positioning ring, a binding band and a binding band buckle are respectively arranged on the outer wall of the positioning ring and located on two sides of the notch, and the free end of the binding band penetrates through the binding band buckle and is fixedly connected with the binding band buckle.
Optionally, a filtering mechanism is arranged between the second rubber tube and the flow guide tube, the filtering mechanism comprises an upper mounting portion and a lower mounting portion, the upper mounting portion and the lower mounting portion are fixedly connected through threads, a first plug hole is formed in the central position of the upper mounting portion in a penetrating mode, a second plug hole is formed in the central position of the lower mounting portion in a penetrating mode, the second rubber tube is inserted into the first plug hole, and the flow guide tube is inserted into the second plug hole.
Optionally, the lower surface of the upper mounting part is provided with an upper cavity, the upper surface of the lower mounting part is provided with a lower cavity, and the upper cavity and the lower cavity are clamped with a filter sheet together.
Compared with the prior art, the invention has the following beneficial effects:
1. the invention washes cranial cavity by antibiotic normal saline, effectively avoids postoperative cranial cavity pneumatosis and controls intracranial infection, can detect intracranial pressure of patients while finishing drainage task, and has the advantages of safety, reliability, simple operation and low cost;
2. according to the invention, by changing the injection angle of the straight pipe, the injection range of the annular spray head can be adjusted adaptively, different washing requirements are met, the annular spray head can be uniformly injected, and the cleaning effect is good;
3. the positioning helmet is worn on the head of a patient, and the positioning helmet and the comprehensive drainage rubber tube can be fixed by the positioning part, so that the comprehensive drainage rubber tube is prevented from being pulled by external force when the patient moves on a hospital bed, and secondary damage to the patient is avoided;
4. the filtering mechanism can filter floccules in the cerebrospinal fluid, so that medical care personnel can conveniently judge the state of an illness of a patient according to the quantity of the cerebrospinal fluid of the patient so as to carry out subsequent medical work.
Drawings
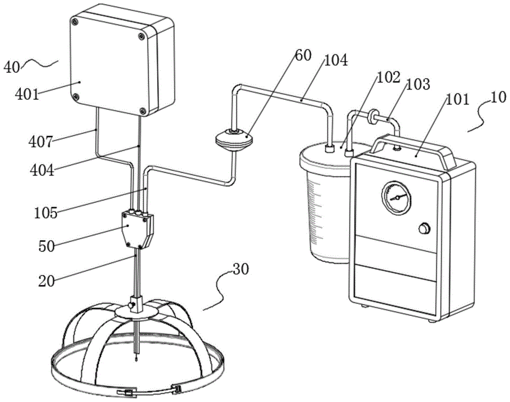
FIG. 1 is a schematic structural view of the present invention;
FIG. 2 is a schematic view of the pipe connector of the present invention;
FIG. 3 is a schematic structural view of a hose fixing mechanism according to the present invention;
FIG. 4 is a front view of the hose securing mechanism of the present invention;
FIG. 5 is an enlarged view of portion A of FIG. 4;
FIG. 6 is a schematic structural view of a cranial compression stabilization mechanism according to the present invention;
FIG. 7 is a schematic view of the structure of the infusion catheter and the annular nozzle of the present invention;
fig. 8 is a schematic view of the structure of the filter mechanism of the present invention.
In the figure: 10. a negative pressure suction mechanism; 101. a negative pressure aspirator; 102. a drainage bottle; 103. a first hose; 104. a second hose; 105. a flow guide pipe; 20. drainage comprehensive rubber tube; 30. a rubber tube fixing mechanism; 301. positioning a helmet; 3011. positioning rings; 3012. an arc-shaped strip; 3013. a sponge layer; 3014. a wafer; 3015. binding bands; 3016. a strap fastener; 302. a through hole; 303. a positioning part; 3031. a support; 3032. a friction plate; 3033. a guide bar; 3034. a head of the bag is bulged; 3035. a limiting spring; 40. a cranial pressure stabilization mechanism; 401. a housing; 402. a cranial pressure detection device; 403. a low-temperature oxygen-enriched normal saline storage bottle; 404. a wire; 405. detecting a probe; 406. an electrically operated valve; 407. an infusion catheter; 408. a pipe cover; 409. a central tube; 410. a satellite tube; 411. a soft rubber tube; 412. a straight pipe; 413. an externally threaded ring; 414. positioning the rotating drum; 415. a ring plate; 416. a limiting ring; 417. a rigid cord; 50. a pipe connector; 501. a first joint; 502. a second joint; 503. a third joint; 60. a filtering mechanism; 601. an upper mounting portion; 602. a lower mounting portion; 603. a first plug hole; 604. a second plug hole; 605. a filter disc.
Detailed Description
The technical solutions in the embodiments of the present invention will be clearly and completely described below with reference to the drawings in the embodiments of the present invention, and it is obvious that the described embodiments are only a part of the embodiments of the present invention, and not all of the embodiments. All other embodiments, which can be derived by a person skilled in the art from the embodiments given herein without making any creative effort, shall fall within the protection scope of the present invention.
Example (b): referring to fig. 1 and 2, a drainage device for neurosurgery comprises a negative pressure suction mechanism 10, a drainage comprehensive rubber tube 20, a rubber tube fixing mechanism 30 and a cranial pressure stabilizing mechanism 40; the negative pressure suction mechanism 10 comprises a negative pressure suction apparatus 101 and a drainage bottle 102, two air nozzles are arranged at the top of the drainage bottle 102, one air nozzle is connected with the interface of the negative pressure suction apparatus 101 through a first rubber tube 103, and the other air nozzle is communicated with a flow guide tube 105 for drawing residual hematocele or oozing blood through a second rubber tube 104; the comprehensive drainage rubber tube 20 is a three-cavity catheter, three cavities in the comprehensive drainage rubber tube 20 are respectively a first cavity, a second cavity and a third cavity, one end of the comprehensive drainage rubber tube 20 is inserted into the cranial cavity of a patient, the other end of the comprehensive drainage rubber tube is connected with a tube connector 50, the top of the tube connector 50 is provided with a first connector 501, a second connector 502 and a third connector 503, the first connector 501, the second connector 502 and the third connector 503 are respectively communicated with the first cavity, the second cavity and the third cavity of the comprehensive drainage rubber tube 20, wherein the drainage tube 105 is connected with the first connector 501, namely the drainage tube 105 is communicated with the first cavity in the comprehensive drainage rubber tube 20 and is used for absorbing residual blood or blood seepage of the patient.
Referring to fig. 3, the rubber tube fixing mechanism 30 includes a positioning helmet 301 fixedly sleeved on the head of the patient, the positioning helmet 301 includes a ring-shaped positioning ring 3011, the positioning ring 3011 is connected with a plurality of arc-shaped strips 3012 distributed radially, an elastic sponge layer 3013 is attached to the inner wall of the positioning ring 3011, the free ends of the arc-shaped strips 3012 are connected with a wafer 3014 together, the central position of the wafer 3014 is provided with a through hole 302 matched with the drainage comprehensive rubber tube 20, and the positioning ring 3011, the arc-shaped strips 3012 and the wafer 3014 are formed integrally and made of plastic material; a notch is formed in the positioning ring 3011, a bandage 3015 and a bandage buckle 3016 for fixing the bandage 3015 are respectively arranged on the outer wall of the positioning ring 3011 and on two sides of the notch, and the free end of the bandage 3015 penetrates through the bandage buckle 3016 and is fixedly connected with the bandage buckle 3016 for being fixed on the head of a patient.
Referring to fig. 4 and 5, a positioning portion 303 for fixing the position of the drainage comprehensive rubber tube 20 is disposed on the top surface of the positioning helmet 301 and at the periphery of the through hole 302, the positioning portion 303 includes a support 3031 fixed on the top surface of the positioning helmet 301, the support 3031 and the positioning helmet 301 are integrally formed, a friction plate 3032 is adhered to the inner side wall of the support 3031, the friction plate 3032 is made of rubber, a guide rod 3033 is transversely and movably inserted into the support 3031, a drum head 3034 is connected to one end of the guide rod 3033 located in the support 3031, the guide rod 3033 and the drum head 3034 are integrally formed, the guide rod 3032 and the support 3031 are made of plastic material and used for extruding the drainage comprehensive rubber tube 20, a limiting spring 3035 is sleeved outside the guide rod 3033 and outside the support 3031, and two ends of the limiting spring 3035 are fixedly connected to the outer wall of the support 3031 and the outer end of the guide rod 3033 respectively; in an initial state, the limiting spring 3035 is in a stretching state, so that the bulging head 3034 always has a certain extrusion acting force on the drainage comprehensive rubber tube 20 and is used for fixing the position of the drainage comprehensive rubber tube 20, in addition, the stiffness coefficient of the limiting spring 3035 is not too large, and the drainage comprehensive rubber tube 20 can be just tightly pressed and is not shrunken.
Referring to fig. 1 and 6, the intracranial pressure stabilizing mechanism 40 includes a housing 401, a intracranial pressure detecting device 402 and a liquid supply assembly, the intracranial pressure detecting device 402 is located in the housing 401, the intracranial pressure detecting device 402 is connected to a detecting probe 405 through a conducting wire 404, and the detecting probe 405 passes through a second joint 502 and a second cavity in the drainage integrated rubber tube 20 and extends into the cranial cavity of the patient for detecting intracranial pressure. The liquid supply assembly comprises an antibiotic normal saline storage bottle 403 for storing antibiotic normal saline, an electric valve 406 is arranged on a liquid outlet of the antibiotic normal saline storage bottle 403, an output end of the electric valve 406 is connected with an infusion catheter 407, an annular nozzle is fixedly arranged at one end, far away from the electric valve 406, of the infusion catheter 407, and the infusion catheter 407 is sleeved with a third connector 503 on the pipe connector 50 and penetrates out of the pipe connector 50. The infusion catheter 407 is used for infusing antibiotic physiological saline into the cranial cavity so as to maintain the cranial pressure to be stable. The intracranial pressure detection device 402 is also internally provided with a controller, the input end of the controller is electrically connected with the detection probe 405, and the output end of the controller is electrically connected with the electric valve 406 and used for controlling the opening and closing of the electric valve 406; when the controller detects that the cranial pressure is higher than the normal value, the electric valve 406 is opened to enable the antibiotic normal saline to enter into the cranium, and the electric valve 406 is controlled to be closed again until the outflow flushing fluid is clear and the cranial pressure is restored to the normal value. The antibiotic normal saline on one hand washes fibrinolytic substances and fibrin degradation products in a hematoma cavity as far as possible to block the dissolution of plasminogen, and on the other hand realizes intracranial air exhaust to avoid overhigh intracranial pressure.
The invention firstly washes the cranial cavity and discharges pneumatosis through the cranial pressure stabilizing mechanism 40, and then carries out drainage through the negative pressure suction mechanism 10. In the use process of the invention, the positioning helmet 301 is firstly worn on the head of a patient, then the medical staff carries out special operation steps to insert the drainage comprehensive rubber tube 20 into the cranial cavity of the patient, and the drainage comprehensive rubber tube 20 is fixed on the head of the patient through the medical adhesive tape, thereby ensuring the position of the drainage comprehensive rubber tube 20 and the cranial cavity of the patient to be in a sealed state. Then the negative pressure aspirator 101 is started to conduct drainage operation, and residual blood or oozing blood in the cranial cavity of the patient is pumped out to the drainage bottle 102.
It is worth to say that the temperature of the antibiotic normal saline is 4-10 ℃, the blood vessel can be contracted, and the bleeding can not be caused by adopting the antibiotic normal saline to wash the cranial cavity. In order to maintain the temperature of the antibiotic saline, a ring frame surrounding the antibiotic saline storage bottle 403 is arranged in the shell 401, and a semiconductor refrigeration piece can be arranged on the ring frame to refrigerate the antibiotic saline storage bottle 403.
Referring to fig. 7, the annular nozzle includes a tube cover 408 screwed to the liquid outlet of the infusion tube 407, the center of the tube cover 408 is connected with a central tube 409 by glue, the tube cover 408 is further connected with satellite tubes 410 uniformly distributed in an annular shape with the central tube 409 as the center by glue, one end of the satellite tube 410 away from the tube cover 408 is connected with a soft rubber tube 411 by glue, and the soft rubber tube 411 is connected with a straight tube 412 by glue. An external thread ring 413 is integrally formed on the outer wall of the infusion catheter 407, the external thread ring 413 is connected with a positioning rotary drum 414 in a threaded mode, a ring plate 415 is sleeved on the periphery of the positioning rotary drum 414, a limiting ring 416 abutted to the ring plate 415 is formed at one end body, close to the tube cover 408, of the positioning rotary drum 414, and a rigid rope 417 is fixedly arranged between the outer wall of the straight tube 412 and the ring plate 415. One end of the rigid rope 417 is fixedly connected with the straight pipe 412 through a pull ring, and the other end of the rigid rope 417 penetrates through the outer edge of the pipe cover 408 and is fixedly connected with the annular plate 415. The rotating cylinder 414 is manually rotated and positioned, the limiting ring 416 can push the ring plate 415, the rigid rope 417 is pulled, the rigid rope 417 can pull the straight pipe 412 when being pulled, so that the spraying angle of the straight pipe 412 is changed, the spraying range of the annular spraying head can be adjusted adaptively, different washing requirements are met, the annular spraying head sprays uniformly, and the cleaning effect is good.
Referring to fig. 8, a filtering mechanism 60 is disposed between the second rubber tube 104 and the flow guide tube 105, the filtering mechanism 60 includes an upper mounting portion 601 and a lower mounting portion 602, the upper mounting portion 601 and the lower mounting portion 602 are fixed by threaded connection, a first inserting hole 603 is formed in the center of the upper mounting portion 601 in a penetrating manner, a second inserting hole 604 is formed in the center of the lower mounting portion 602 in a penetrating manner, the second rubber tube 104 is inserted into the first inserting hole 603, and the flow guide tube 105 is inserted into the second inserting hole 604; an upper cavity is formed in the bottom surface of the upper mounting portion 601, a lower cavity is formed in the top surface of the lower mounting portion 602, and a filter 605 is clamped between the upper cavity and the lower cavity together for filtering floccules in residual hematocele or oozing blood; according to the clinical manifestation shows, when the floccule appears in the residual hematocele or the oozing blood, it indicates that the intracranial of the patient is infected, therefore, the filtering mechanism 60 facilitates the medical care personnel to judge whether the intracranial infection appears in the patient, which is beneficial to timely judging the state of the patient and preventing the aggravation of the patient.
Although embodiments of the present invention have been shown and described, it will be appreciated by those skilled in the art that changes, modifications, substitutions and alterations can be made in these embodiments without departing from the principles and spirit of the invention, the scope of which is defined in the appended claims and their equivalents.

Claims (8)

1.一种神经外科手术引流装置,其特征在于:包括负压吸引机构(10)和颅压稳定机构(40);1. A neurosurgery drainage device, characterized in that: comprising a negative pressure suction mechanism (10) and an intracranial pressure stabilization mechanism (40); 所述负压吸引机构(10)包括负压吸引器(101)和引流瓶(102),所述引流瓶(102)的顶部设有两个气嘴,其中一个气嘴通过第一胶管(103)和负压吸引器(101)的接口相连,另外一个气嘴通过第二胶管(104)连通有导流管(105);The negative pressure suction mechanism (10) comprises a negative pressure suction device (101) and a drainage bottle (102), two air nozzles are provided on the top of the drainage bottle (102), and one of the air nozzles passes through the first rubber tube (103). ) is connected with the interface of the negative pressure suction device (101), and another air nozzle is connected with a guide tube (105) through the second rubber tube (104); 所述颅压稳定机构(40)包括壳体(401)和位于壳体(401)内的颅压检测装置(402)、供液组件以及控制器;所述颅压检测装置(402)通过导线(404)连接有检测探头(405);所述供液组件包括抗生素生理盐水储瓶(403),所述抗生素生理盐水储瓶(403)的出液口上设有电动阀门(406),所述电动阀门(406)的输出端连接有输液导管(407),所述输液导管(407)远离电动阀门(406)的一端固定设有环向喷头;所述控制器的输入端和检测探头(405)电性连接,且所述控制器的输出端和电动阀门(406)电性连接。The intracranial pressure stabilization mechanism (40) includes a casing (401), an intracranial pressure detection device (402), a liquid supply assembly and a controller located in the casing (401); the intracranial pressure detection device (402) passes through a wire (404) A detection probe (405) is connected; the liquid supply assembly includes an antibiotic physiological saline storage bottle (403), and an electric valve (406) is provided on the liquid outlet of the antibiotic physiological saline storage bottle (403), and the The output end of the electric valve (406) is connected with an infusion conduit (407), and one end of the infusion conduit (407) away from the electric valve (406) is fixedly provided with a circumferential nozzle; the input end of the controller and the detection probe (405) ) is electrically connected, and the output end of the controller is electrically connected to the electric valve (406). 2.根据权利要求1所述的一种神经外科手术引流装置,其特征在于:还包括引流综合胶管(20),所述引流综合胶管(20)为三腔导管,其内部三个腔室分别为第一腔体、第二腔体和第三腔体,所述引流综合胶管(20)的一端插入至患者颅腔内,且引流综合胶管(20)的另一端连接有连管器(50),所述连管器(50)的顶部设有第一接头(501)、第二接头(502)和第三接头(503),所述第一接头(501)、第二接头(502)、第三接头(503)分别与引流综合胶管(20)的第一腔体、第二腔体以及第三腔体相连通;所述导流管(105)与第一接头(501)相连,所述检测探头(405)穿过第二接头(502)和引流综合胶管(20)内的第二腔体并延伸至患者颅腔内,所述输液导管(407)与第三接头(503)相套接。2. A neurosurgical drainage device according to claim 1, characterized in that: further comprising a drainage integrated hose (20), the drainage integrated rubber hose (20) is a three-lumen catheter, and the three internal chambers are respectively are a first cavity, a second cavity and a third cavity, one end of the integrated drainage hose (20) is inserted into the patient's cranial cavity, and the other end of the integrated drainage hose (20) is connected with a connector (50) , the top of the connector (50) is provided with a first joint (501), a second joint (502) and a third joint (503), the first joint (501), the second joint (502), The third joint (503) is communicated with the first cavity, the second cavity and the third cavity of the integrated drainage hose (20) respectively; the drainage pipe (105) is connected with the first joint (501), so The detection probe (405) passes through the second joint (502) and the second cavity in the integrated drainage hose (20) and extends into the patient's cranial cavity, and the infusion catheter (407) is sleeved with the third joint (503) catch. 3.根据权利要求1所述的一种神经外科手术引流装置,其特征在于:所述环向喷头包括与输液导管(407)的出液口固定连接的管罩(408),所述管罩(408)的中心处固定连接有中心管(409),所述管罩(408)还固定连接有以中心管(409)为中心呈环形均匀分布的卫星管(410),所述卫星管(410)远离管罩(408)的一端通过软胶管(411)固定连接有直管(412),所述输液导管(407)的外壁固定设有外螺纹环(413),所述外螺纹环(413)丝扣连接有定位转筒(414),所述定位转筒(414)的外周套接有环板(415),所述定位转筒(414)靠近管罩(408)的一端固定设有与环板(415)抵接的限位环(416),所述直管(412)的外壁和环板(415)之间固定设有刚性绳(417)。3. A neurosurgical drainage device according to claim 1, characterized in that: the annular nozzle comprises a pipe cover (408) fixedly connected with the liquid outlet of the infusion catheter (407), the pipe cover The center of (408) is fixedly connected with a central tube (409), and the tube cover (408) is also fixedly connected with satellite tubes (410) that are uniformly distributed in a ring shape with the central tube (409) as the center. 410) One end away from the pipe cover (408) is fixedly connected with a straight pipe (412) through a soft rubber pipe (411), the outer wall of the infusion catheter (407) is fixedly provided with an external thread ring (413), and the external thread ring ( 413) A positioning drum (414) is connected to the thread, the outer periphery of the positioning drum (414) is sleeved with a ring plate (415), and one end of the positioning drum (414) close to the tube cover (408) is fixedly installed. There is a limit ring (416) abutting against the ring plate (415), and a rigid rope (417) is fixed between the outer wall of the straight pipe (412) and the ring plate (415). 4.根据权利要求1所述的一种神经外科手术引流装置,其特征在于:还包括胶管固定机构(30),所述胶管固定机构(30)包括定位头盔(301),所述定位头盔(301)的上表面贯穿开设有和引流综合胶管(20)相适配的通孔(302),定位头盔(301)的上表面且位于通孔(302)的周沿设有定位部(303),所述定位部(303)包括固定在定位头盔(301)上表面上的支架(3031),所述支架(3031)的内侧壁粘贴有摩擦片(3032),支架(3031)上横向活动插接有导杆(3033),所述导杆(3033)位于支架(3031)内的一端连接有鼓包头(3034),所述导杆(3033)外侧且位于支架(3031)的外部套设有限位弹簧(3035),所述限位弹簧(3035)的两端分别和支架(3031)外壁以及导杆(3033)外端固定连接;初始状态下,限位弹簧(3035)处于拉伸状态。4. A neurosurgical drainage device according to claim 1, characterized in that: further comprising a rubber tube fixing mechanism (30), the rubber tube fixing mechanism (30) comprising a positioning helmet (301), the positioning helmet ( The upper surface of 301) is provided with a through hole (302) adapted to the drainage integrated hose (20), and a positioning portion (303) is provided on the upper surface of the positioning helmet (301) and on the periphery of the through hole (302). , the positioning part (303) comprises a bracket (3031) fixed on the upper surface of the positioning helmet (301), the inner side wall of the bracket (3031) is pasted with a friction plate (3032), A guide rod (3033) is connected, one end of the guide rod (3033) located in the bracket (3031) is connected with a drum head (3034), the outer side of the guide rod (3033) and located on the outside of the bracket (3031) is sleeved with a limit A limit spring (3035), two ends of the limit spring (3035) are respectively fixedly connected with the outer wall of the bracket (3031) and the outer end of the guide rod (3033); in the initial state, the limit spring (3035) is in a stretched state. 5.根据权利要求4所述的一种神经外科手术引流装置,其特征在于:所述定位头盔(301)包括呈环形状的定位圈(3011),所述定位圈(3011)上连接有多根径向分布的弧形条(3012),定位圈(3011)的内壁贴合设有具有弹性的海绵层(3013),多根所述弧形条(3012)的自由端共同连接有圆片(3014),所述通孔(302)开设在圆片(3014)的中心位置。5. A neurosurgery drainage device according to claim 4, wherein the positioning helmet (301) comprises a ring-shaped positioning ring (3011), and the positioning ring (3011) is connected with multiple The radially distributed arc-shaped strips (3012), the inner wall of the positioning ring (3011) is fitted with an elastic sponge layer (3013), and the free ends of the plurality of arc-shaped strips (3012) are jointly connected with a circular piece (3014), the through hole (302) is opened at the center of the wafer (3014). 6.根据权利要求5所述的一种神经外科手术引流装置,其特征在于:所述定位圈(3011)上开设有缺口,定位圈(3011)的外壁且位于缺口两侧分别设有绑带(3015)和绑带扣(3016),所述绑带(3015)的自由端穿过绑带扣(3016)并与之固定连接。6. A neurosurgical drainage device according to claim 5, characterized in that: the positioning ring (3011) is provided with a gap, and the outer wall of the positioning ring (3011) is provided with straps on both sides of the gap respectively (3015) and a strap buckle (3016), the free end of the strap (3015) passes through the strap buckle (3016) and is fixedly connected with it. 7.根据权利要求1所述的一种神经外科手术引流装置,其特征在于:所述第二胶管(104)和导流管(105)之间设置有过滤机构(60),所述过滤机构(60)包括上安装部(601)和下安装部(602),所述上安装部(601)和下安装部(602)之间螺纹连接固定,且上安装部(601)的中央位置贯穿开设有第一插接孔(603),下安装部(602)的中央位置贯穿开设有第二插接孔(604),所述第二胶管(104)插入在第一插接孔(603)内,所述导流管(105)插入在第二插接孔(604)内。7. A neurosurgical drainage device according to claim 1, characterized in that: a filter mechanism (60) is provided between the second rubber tube (104) and the guide tube (105), and the filter mechanism (60) comprises an upper mounting portion (601) and a lower mounting portion (602), the upper mounting portion (601) and the lower mounting portion (602) are screwed and fixed, and the central position of the upper mounting portion (601) passes through A first insertion hole (603) is opened, a second insertion hole (604) is formed through the central position of the lower mounting portion (602), and the second rubber tube (104) is inserted into the first insertion hole (603) Inside, the guide tube (105) is inserted into the second insertion hole (604). 8.根据权利要求7所述的一种神经外科手术引流装置,其特征在于:所述上安装部(601)的下表面开设有上腔体,所述下安装部(602)的上表面开设有下腔体,且所述上腔体与下腔体之间共同夹持有过滤片(605)。8. A neurosurgical drainage device according to claim 7, characterized in that: an upper cavity is formed on the lower surface of the upper installation part (601), and an upper cavity is formed on the upper surface of the lower installation part (602) There is a lower cavity, and a filter sheet (605) is jointly clamped between the upper cavity and the lower cavity.
CN202111190028.2A 2021-10-13 2021-10-13 Drainage device for neurosurgery Expired - Fee Related CN113769187B (en)

Priority Applications (1)

Application Number Priority Date Filing Date Title
CN202111190028.2A CN113769187B (en) 2021-10-13 2021-10-13 Drainage device for neurosurgery

Applications Claiming Priority (1)

Application Number Priority Date Filing Date Title
CN202111190028.2A CN113769187B (en) 2021-10-13 2021-10-13 Drainage device for neurosurgery

Publications (2)

Publication Number Publication Date
CN113769187A true CN113769187A (en) 2021-12-10
CN113769187B CN113769187B (en) 2023-06-23

Family

ID=78871272

Family Applications (1)

Application Number Title Priority Date Filing Date
CN202111190028.2A Expired - Fee Related CN113769187B (en) 2021-10-13 2021-10-13 Drainage device for neurosurgery

Country Status (1)

Country Link
CN (1) CN113769187B (en)

Cited By (3)

* Cited by examiner, † Cited by third party
Publication number Priority date Publication date Assignee Title
CN116099068A (en) * 2023-04-12 2023-05-12 首都医科大学宣武医院 Fixed firm ventricle drainage system
CN116650740A (en) * 2023-08-01 2023-08-29 中国人民解放军总医院第一医学中心 Drainage device for neurosurgery
CN117179727A (en) * 2023-10-17 2023-12-08 中国人民解放军陆军军医大学第一附属医院 Intelligent intracranial pressure monitoring system

Citations (12)

* Cited by examiner, † Cited by third party
Publication number Priority date Publication date Assignee Title
CN2848138Y (en) * 2005-11-18 2006-12-20 王峻 Intracranial brain hematoma grinding puncture drainage device with dual casing and intracranial pressure detecting probe
CN104841035A (en) * 2015-06-04 2015-08-19 桐庐优视医疗器械有限公司 Pushing-pulling bendable flushing and sucking device
CN105641758A (en) * 2016-04-01 2016-06-08 王学建 Cerebrospinal fluid drainage device and intracranial pressure monitoring system
CN106512186A (en) * 2016-11-25 2017-03-22 威海恒基伟业信息科技发展有限公司 Intracranial pressure drainage guide pipe
CN206372323U (en) * 2016-08-31 2017-08-04 威海威创医疗器械有限公司 A kind of Continuous Perfusion drainage system
CN108653833A (en) * 2018-03-19 2018-10-16 宁波市第医院 A kind of cerebrospinal fluid retracting device
CN211022645U (en) * 2019-09-20 2020-07-17 威海威创医疗器械有限公司 Controllable negative pressure measuring, drainage, flushing and temperature measuring system
CN211068267U (en) * 2019-09-12 2020-07-24 侯全运 Neurosurgery drainage device
CN212662337U (en) * 2020-03-23 2021-03-09 黄萌异 Intracranial drainage device for neurosurgery operation
CN213219730U (en) * 2020-08-24 2021-05-18 重庆两江新区第二人民医院 Novel brain drainage tube is fixed device
CN213554314U (en) * 2020-09-30 2021-06-29 张健 Gastric lavage device for emergency treatment digestive system department
CN213608599U (en) * 2020-04-16 2021-07-06 杭州市第一人民医院 Abdominal abscess irrigation and drainage device

Patent Citations (12)

* Cited by examiner, † Cited by third party
Publication number Priority date Publication date Assignee Title
CN2848138Y (en) * 2005-11-18 2006-12-20 王峻 Intracranial brain hematoma grinding puncture drainage device with dual casing and intracranial pressure detecting probe
CN104841035A (en) * 2015-06-04 2015-08-19 桐庐优视医疗器械有限公司 Pushing-pulling bendable flushing and sucking device
CN105641758A (en) * 2016-04-01 2016-06-08 王学建 Cerebrospinal fluid drainage device and intracranial pressure monitoring system
CN206372323U (en) * 2016-08-31 2017-08-04 威海威创医疗器械有限公司 A kind of Continuous Perfusion drainage system
CN106512186A (en) * 2016-11-25 2017-03-22 威海恒基伟业信息科技发展有限公司 Intracranial pressure drainage guide pipe
CN108653833A (en) * 2018-03-19 2018-10-16 宁波市第医院 A kind of cerebrospinal fluid retracting device
CN211068267U (en) * 2019-09-12 2020-07-24 侯全运 Neurosurgery drainage device
CN211022645U (en) * 2019-09-20 2020-07-17 威海威创医疗器械有限公司 Controllable negative pressure measuring, drainage, flushing and temperature measuring system
CN212662337U (en) * 2020-03-23 2021-03-09 黄萌异 Intracranial drainage device for neurosurgery operation
CN213608599U (en) * 2020-04-16 2021-07-06 杭州市第一人民医院 Abdominal abscess irrigation and drainage device
CN213219730U (en) * 2020-08-24 2021-05-18 重庆两江新区第二人民医院 Novel brain drainage tube is fixed device
CN213554314U (en) * 2020-09-30 2021-06-29 张健 Gastric lavage device for emergency treatment digestive system department

Cited By (5)

* Cited by examiner, † Cited by third party
Publication number Priority date Publication date Assignee Title
CN116099068A (en) * 2023-04-12 2023-05-12 首都医科大学宣武医院 Fixed firm ventricle drainage system
CN116099068B (en) * 2023-04-12 2024-01-23 首都医科大学宣武医院 Fixed firm ventricle drainage system
CN116650740A (en) * 2023-08-01 2023-08-29 中国人民解放军总医院第一医学中心 Drainage device for neurosurgery
CN116650740B (en) * 2023-08-01 2023-11-03 中国人民解放军总医院第一医学中心 Neurosurgery operation drainage device
CN117179727A (en) * 2023-10-17 2023-12-08 中国人民解放军陆军军医大学第一附属医院 Intelligent intracranial pressure monitoring system

Also Published As

Publication number Publication date
CN113769187B (en) 2023-06-23

Similar Documents

Publication Publication Date Title
CN113769187A (en) A neurosurgery drainage device
US20040078011A1 (en) Irrigation dressing
JP2935743B2 (en) Irrigation bandage
US8212100B2 (en) Apparatus, system, and method for protecting and treating a traumatic wound
US20090149814A1 (en) Catheter stress reliever and stabilizer
CN104147681B (en) Multi-functional anorectal portion drainage tube
CN209575352U (en) A kind of drainage of cerebrospinal fluid device
CN211513080U (en) Telescopic catheter
CN108498143A (en) A kind of comprehensive solution system of Puncture of lumbar cistern drainage
CN203107954U (en) Catheter fixing device
CN210728308U (en) Self-fixing thoracic drainage device
CN210355460U (en) An improved multifunctional grooved negative pressure abdominal drainage tube
CN203829377U (en) Pleuroperitoneal cavity drainage system
CN205831997U (en) A kind of face cold therapy mask
CN204446975U (en) The care device of diabetic foot wound surface
CN204158779U (en) The fixture of Medical head operative drainage device
CN209187689U (en) chest drainage device
CN207855760U (en) A kind of anesthesia puncture positioning device
CN211434658U (en) Neurosurgery postoperative drainage tube fixing device
CN215018398U (en) Nursing tourniquet for nephrology department
CN211096456U (en) Neurosurgery drainage device
WO2014169741A1 (en) Catheter securing strap
CN210728309U (en) Self-fixing abdominal cavity drainage device
CN209075817U (en) Detachable multifunctional peritoneal cavity drainage tube
CN108042112B (en) A device for diagnosing and treating fallopian tube obstruction

Legal Events

Date Code Title Description
PB01 Publication
PB01 Publication
SE01 Entry into force of request for substantive examination
SE01 Entry into force of request for substantive examination
GR01 Patent grant
GR01 Patent grant
CF01 Termination of patent right due to non-payment of annual fee
CF01 Termination of patent right due to non-payment of annual fee

Granted publication date: 20230623