CN1136829C - acupuncture needle holder - Google Patents

acupuncture needle holder Download PDF

Info

Publication number
CN1136829C
CN1136829C CNB011058145A CN01105814A CN1136829C CN 1136829 C CN1136829 C CN 1136829C CN B011058145 A CNB011058145 A CN B011058145A CN 01105814 A CN01105814 A CN 01105814A CN 1136829 C CN1136829 C CN 1136829C
Authority
CN
China
Prior art keywords
plate
needle
needle clamping
tail
acupuncture
Prior art date
Legal status (The legal status is an assumption and is not a legal conclusion. Google has not performed a legal analysis and makes no representation as to the accuracy of the status listed.)
Expired - Fee Related
Application number
CNB011058145A
Other languages
Chinese (zh)
Other versions
CN1310992A (en
Inventor
关崇文
Current Assignee (The listed assignees may be inaccurate. Google has not performed a legal analysis and makes no representation or warranty as to the accuracy of the list.)
Shanghai Institute of Optics and Fine Mechanics of CAS
Original Assignee
Shanghai Institute of Optics and Fine Mechanics of CAS
Priority date (The priority date is an assumption and is not a legal conclusion. Google has not performed a legal analysis and makes no representation as to the accuracy of the date listed.)
Filing date
Publication date
Application filed by Shanghai Institute of Optics and Fine Mechanics of CAS filed Critical Shanghai Institute of Optics and Fine Mechanics of CAS
Priority to CNB011058145A priority Critical patent/CN1136829C/en
Publication of CN1310992A publication Critical patent/CN1310992A/en
Application granted granted Critical
Publication of CN1136829C publication Critical patent/CN1136829C/en
Anticipated expiration legal-status Critical
Expired - Fee Related legal-status Critical Current

Links

Images

Landscapes

  • Finger-Pressure Massage (AREA)

Abstract

一种针灸针持针器、含有结构、大小、形状和构成材料完全相同的左右两块夹针板。两夹针板通过两弹力片与连接柄连接一起。夹针板的外侧板指与板尖之间置有舢板。夹针板里侧板尾上置有带半圆形针槽的垫片,板指和板尖上置有防滑片。或夹针板里侧的板尾、板指和板尖,或夹针板里侧从板尾至板尖均置有带半圆形针槽的垫片。当左右两夹针板合拢时,半圆形针槽构成了针管。具有无菌操作彻底,结构简单,使用方便,能快速准确地刺入穴位。

Figure 01105814

An acupuncture needle holder comprises two left and right needle clamping plates with completely identical structures, sizes, shapes and constituent materials. The two needle clamping plates are connected to a connecting handle through two elastic sheets. A sampan is placed between the outer plate finger and the plate tip of the needle clamping plate. A gasket with a semicircular needle groove is placed on the plate tail of the inner side of the needle clamping plate, and an anti-slip sheet is placed on the plate finger and the plate tip. Or a gasket with a semicircular needle groove is placed on the plate tail, plate finger and plate tip of the inner side of the needle clamping plate, or from the plate tail to the plate tip of the inner side of the needle clamping plate. When the left and right needle clamping plates are closed, the semicircular needle groove forms a needle tube. It has the advantages of thorough aseptic operation, simple structure, convenient use, and can quickly and accurately pierce acupuncture points.

Figure 01105814

Description

Holder for needle of acupuncture and moxibustion
Technical field
The present invention is a kind of holder for needle of acupuncture and moxibustion, uses when being suitable for Chinese medicine acupuncture.
Background technology
Acupuncture needle is the simple medical instrument that the medical worker often uses.Traditional acupuncture and moxibustion treatment is actually with pin and moxibustion two kinds of different Therapeutic Method, all be at certain position (acupuncture point) of human body enterprising hand-manipulating of needle thorn (Acupuncture) or Chinese mugwort smoke roasting, to reach the purpose of treatment and health care.And in medical practice, the most frequently used instrument of acupuncture is acupuncture needle (Filiform needle), is commonly called as acupuncture needle.Carrying out body acupuncture promptly has an acupuncture treatment on people's health.Acupuncture needle is made by rustless steel, and it is multiple that thickness specification commonly used has No. 26, No. 28, No. 30, No. 32, No. 34 etc.Length specification has 5 fens, 1 cun, 1 cun 5 minutes, 2 cun, 3 cun, 4 cun etc. multiple.The specification of needle handle also has multiple.This pin is the most frequently used common medical instrument of doctor, assistant doctor and numerous medical personnels.Because to be needled into human body very dark, also to carry slottingly sometimes, extensively contact blood, serum, the disease of hepatitis B, acquired immune deficiency syndrome (AIDS) and other not clear viruses there is cross infection.In the acupuncture treatment operating process, during acupuncture treatment person's finger the pollution needle body is arranged, it is not tight to sterilize, and this health and lives to the people exists hidden danger, is the be eager problems that will solve of people.
Formerly in the technology [1], inventors such as Zhang Xiaogang provide a kind of needle holding device.(referring to patent: ZL94246273.4, ZL94118688.1).This needle holding device comprises the portion of the handle that both fuse and gives as security the pin part, give as security the signature faller gill that pin partly is divided into two symmetric right-angled trapezium, each inboard symmetry of giving as security faller gill has 5~15 semi-circular groove, when two signature faller gills close up, above-mentioned semi-circular groove just can form one group of needle tubing from short to long, uses for inserting needle.Portion of the handle can make various ways such as mosquito forceps, tweezers, clip.This needle holding device has solved the problem of energy sterile working when operating, and when having avoided acupuncture, operator's finger is brought antibacterial by in acupuncture person's human body into by needle body.But also exist a little weak points.
1. this potassium pin device is divided into hand-held and gives as security two parts of pin, this just makes, when inserting needle, operator's impetus is not on the direct signature faller gill with the pin part of being in prison, but arrives signature pin part again by portion of the handle, and this operation is firmly directly with on the faller gill that is in prison, influenced inserting needle speed, especially can not guarantee to sting soon and exactly the tough and tensile corium of human body skin, if run into the situation of the sticking of needle, just more difficult operation.
2. because this needle holding device has hand-held and gives as security two ones on pin, two signature faller gills are all at right angles trapezoidal, and all there are 5~15 circular troughs the inboard respectively, when two signature faller gills lump together, 5~15 needle tubings arranged.Therefore this needle holding device overall volume is bigger, heavier, and it is not too convenient to operate.
3. because have 5~15 needle tubings that are close to that are parallel to each other on each needle holding device, in the process of inserting needle, in the time of need converting the hour hand pipe to by the minute hand pipe, difficult above the aligning together down is that needle tubing to be selected just.And when needs are oblique lunge the acupuncture point after, mend, when rushing down technical operation, when promptly making non-perpendicular direction inserting needle, this needle holding device just is difficult to operate, let alone freely and conveniently.
Formerly in the technology [2], designer Liu Taiyou provides a kind of Acupuncture needle for finger use (referring to patent ZL94220363.1).It forms a pressing part at a shaft portion, arrests pressing part with a hands under without the situation of inserter and shaft portion promptly can directly thrust the acupuncture point with needle point.Can implement acupuncture and controlling depth easily.But its weak point is this Acupuncture needle for finger use can only be the inserting needle withdraw of the needle together with acupuncture needle.In the process of inserting needle, Acupuncture needle for finger use can not withdraw from separately, if will change Acupuncture needle for finger use, must simultaneously acupuncture needle be withdrawed from Acupuncture needle for finger use, and acupuncture needle because of extracting out, is changed the another Acupuncture needle for finger use from this Acupuncture needle for finger use, thrust again again.Therefore, this Acupuncture needle for finger use is very inapplicable under the situation that needs to change in the inserting needle process for the minute hand acupuncture needle.
Summary of the invention
To the objective of the invention is all weak points of existing in the above-mentioned technology formerly in order overcoming, a kind of holder for needle of acupuncture and moxibustion to be provided.It was both simple in structure, and volume is less, and weight is lighter, can easily make acupuncture thrust the acupuncture point quickly and accurately again, in the process of carrying out, can change needle holder easily again, reached the purpose of thorough sterile working.
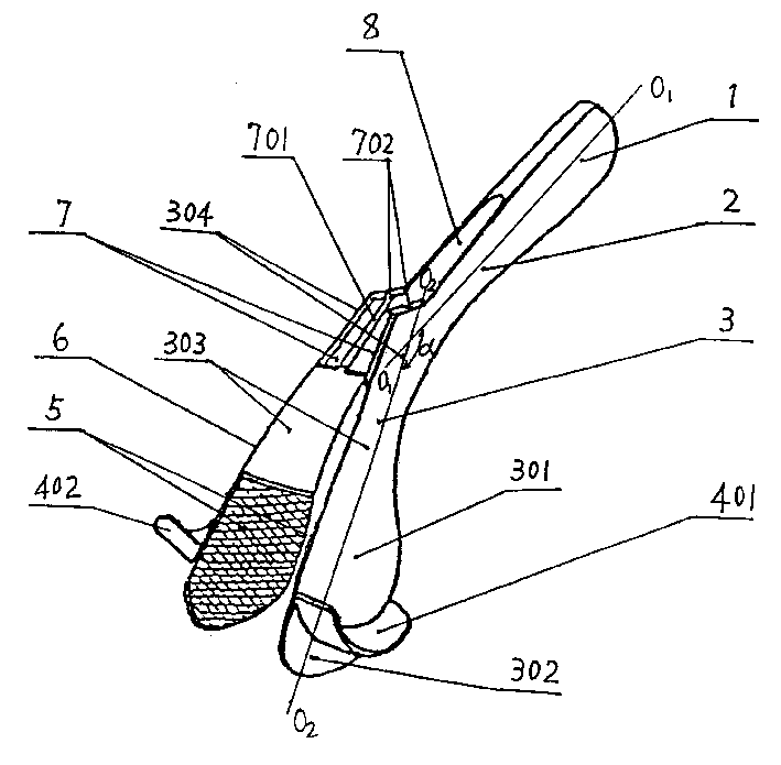
Holder for needle of acupuncture and moxibustion of the present invention contains structure, two needle clamping plates 3 and 6 about size, shape and constituent material are all identical.Needle clamping plate 3 (or 6) is divided into that plate point 302, plate refer to 301, plate body 303 and plate tail 304.Needle clamping plate 3 (or 6) outside slave plate refer to 301 and plate point 302 between be equipped with sampan 401 (or 402).Begin to be equipped with at the breech face of the inboard slave plate tail 304 of needle clamping plate 3 (or 6) and have the semicircle needle tray 701 that is exposed at the pin semicircle orifice 702 outside plate tail 304 breech faces on pad 7, the pad 7.About two needle clamping plates 3,6 when lumping together, two needle trays 701 constitute and lead to the needle tubing that plate tail 304 breech faces have the round needle hole outward.About two needle clamping plates 3,6 pass through respectively about two bouncing plates 2,8 link together with connection handle 1.Left and right sides bouncing plate 2,8th is connected on the oblique direction of left and right sides needle clamping plate 3,6 plate tails 304 sides.The central axis O that links to each other with connection handle 1 of bouncing plate 2 (or 8) specifically 1O 1Central axis O with needle clamping plate 3 (or 6) 2O 2Between angle α greater than 90 °, less than 180 °, be 90 °<α<180 °, the breech face of needle clamping plate 3 (or 6) plate tail 304 is exposed.As Fig. 1, Fig. 2, shown in Figure 3.
The said pad 7 that has the semicircle needle tray 701 that is exposed at the outer pin semicircle orifice 702 of plate tail 304 breech faces places on the inboard plate tail 304 of needle clamping plate 3 (or 6) when a slice is arranged, and the plate of needle clamping plate 3 inboards refer to 301 and plate point 302 on be equipped with anti-slide plate 5, as shown in Figure 1.Perhaps have two place respectively needle clamping plate 3 (or 6) inboard plate tail 304 and plate refer to 301 and plate point 302 on, as shown in Figure 2.Or one lengthy motion picture place the inboard slave plate tail 304 of needle clamping plate 3 (or 6), plate body 303, plate to refer to 301 to plate point 302.As shown in Figure 3.Said needle clamping plate 3,6, bouncing plate 2,8, connection handle 1, pad 7 and sampan the 401, the 402nd are made of stainless material, or are made of nontoxic plastics.The needle holder cost that this plastics are made is lower, can disposablely use.
Said place the inboard plate of needle clamping plate 3 (or 6) refer to 301 and plate point 302 locational anti-slide plates 5 surfaces have the annular knurl microgroove, or Semen Sesami thunder department sheet.Its effect is to prevent that acupuncture needle from sliding.When about two needle clamping plates 3,6 when closing up, it is accurate that acupuncture needle is fricton-tightly clipped, and the person need not exert oneself to hold the pin very much.
The curved shape of said sampan 401 (or 402) just is the shape of finger tip.When the operator began acupuncture, the plate that pinches needle clamping plate 3,6 with thumb and forefinger referred to 301 positions, and then the finger tip of two fingers withstands on the sampan 401,402, as Fig. 5, shown in Figure 6 very comfily.When acupuncture needle lunged the acupuncture point, operator's finger withstood on the skin that can not meet the patient on the sampan 401,402, and also can be the very capablely not only fast but also accurate ground of the operator corium that needle penetration is tough and tensile, lunged the acupuncture point.
Said plate point 302 is ovals, as shown in Figure 2.This helps diagonal stabbing, or finger tip shape, and is as Fig. 1, shown in Figure 3.
Advantage of the present invention:
1. needle holder of the present invention, the sterile working is more thorough.As above-mentioned structure of the present invention, place needle clamping plate 3 (or 6) outer panel refer to 301 and plate point 302 between sampan 401 (or 402), it is capable except the operator is operated, operator's finger can not run into outside plate point 302 and patient's the skin, when needle holder does not use clinostatism to place, because it has the existence of sampan 401 (or 402), make the plate point 302 of needle clamping plate 3 (or 6) hang and can not touch the article 10 that may pollute, as shown in Figure 4.This is very important for the chance that disinfects needle holder to be used and can the inboard slave plate point 302 of retaining clip needle plate 3 (or 6) to plate tail 304 all do not have a bacterial infection, and needle holder therefore of the present invention is more thorough, better than the sterile working of technology formerly.
2. needle holder of the present invention can easily make the saturating tough and tensile corium of acupuncture acupuncture quickly and accurately, enters in the acupuncture point.As above-mentioned structure of the present invention, the inboard plate of needle clamping plate 3 (or 6) refer to 301 and the position of plate point 302 on anti-slide plate 5 is arranged, the plate that operator's finger is pinched in needle clamping plate 3 (or 6) outside refers to 301 places, there is sampan 401 (or 402) to withstand before the finger tip as Fig. 5, shown in Figure 6, therefore the operator can give up not, and power ground is accurate promptly just not to have advanced acupuncture patient's acupuncture point, the pain perception when the basic needleless of patient lunges when the patient also has enough time to react.
3. needle holder ratio of the present invention is the technical pattern advantages of simple formerly, and volume ratio is less, and weight is low weight, and body is more practical.As above-mentioned structure of the present invention, the bouncing plate 2 (or 8) that is connected with connection handle 1 is to place on the oblique direction of side of needle clamping plate 3 (or 6) plate tail, i.e. the central axis O of bouncing plate 2 (or 8) 1O 1Central axis O with needle clamping plate 3 (or 6) 2O 2Between angle α be 90 °<α<180 °, the breech face of needle clamping plate 3 (or 6) plate tail 304 is exposed, can be easily the needle handle of acupuncture needle be exposed.Having constituted bouncing plate 2 (or 8) connection handle 1 is aduncate shapes with needle clamping plate 3 (or 6) plate tail 304 junctions.When the operator holds pin, this aduncate bouncing plate 2 (or 8) and connection handle 1 just ride over the centre of pinching needle clamping plate 3 (or 6) thumb and forefinger, this structure is the overslaugh operator sight line of aiming at the acupuncture point neither, plays the effect that connects and flick needle clamping plate 3 (or 6) again.The operator operates and feels very comfortable.
4. easy to operate.As above-mentioned structure of the present invention.No matter be straight thrust as Fig. 5 or stab diagonally, can both operate very easily as Fig. 6.And after thrusting the acupuncture point, need carry repeatedly and inserting when twisted, the needle holder that will have anti-slide plate 5 can withdraw from very like a cork, changes the needle holder that has only with semicircle needle tray 702 pads 7.The operator just can buttress needle holder on the other hand, takes the needle handle of acupuncture needle to carry slotting twisted on the other hand.The needle body of acupuncture needle is the sterile working in the needle tubing of needle holder, has prevented from again proposing the bending of inserting minute hand when twisted and swing up and down.
5. needle holder of the present invention is simple in structure, can be with nontoxic plastics one-shot forming, disposable use.So cost is low, convenient and practical, be applicable to wide popularization and application.
Description of drawings
Fig. 1 has the needle holder structural representation of a slice pad 7 and the anti-slide plate 5 of a slice for needle clamping plate 3 of the present invention (or 6) inboard.
Fig. 2 has the needle holder structural representation of two pads 7 for needle clamping plate 3 of the present invention (or 6) inboard.
Fig. 3 has the needle holder structural representation of a lengthy motion picture pad 7 for needle clamping plate 3 of the present invention (or 6) inboard.
Sketch map when Fig. 4 puts for needle holder clinostatism of the present invention.Be that needle holder is disposed across on the article 10 among the figure.
Fig. 5 takes needle holder 9 of the present invention for operator's hands 11 and accompanies acupuncture 12 straight thrust sketch maps.
Fig. 6 takes needle holder of the present invention oblique 9 for operator's hands 11 and accompanies the sketch map of acupuncture 12 thorns.
The specific embodiment
Embodiment 1 is structure as shown in Figure 1.Be equipped with the pad 7 that a slice has semicircle needle tray 701 on the inboard tailgate 304 of needle clamping plate 3 (or 6), semicircle needle tray 701 exposes at the breech face of needle clamping plate 3 (or 6) plate tail 304 semicircle pin semicircle orifice 702.The inboard plate of needle clamping plate 3 (or 6) refer to 304 and the position of plate point 302 on be equipped with the anti-slide plate 5 that a slice is made of Semen Sesami thunder department sheet.The length of needle clamping plate 3 (or 6) is to decide according to the length specification of acupuncture needle, and multiple length such as 38mm, 48mm, 58mm, 147mm are arranged.The diameter of pad 7 semicircle needle trays 701 is to decide according to the thickness diameter of acupuncture needle, and φ 0.33mm, φ 0.34mm, φ 0.35mm, φ 0.45mm are arranged.The needle holder of this structure is used to sting tough and tensile corium, and through the clinical verification of hospital doctor, not only fast but also accurate, the patient does not feel pain.Both made and begun to learn acupuncture person, used needle holder of the present invention, also be easy to grasp the operation of acupuncture.
Embodiment 2
As shown in Figures 2 and 3.
These two kinds of structures all are after being used for acupuncture and having lunged the acupuncture point, need to continue inserting needle or lift when twisted.Than long time, then use structure shown in Figure 2 for the length of needle clamping plate 3 (or 6), placing in needle clamping plate 3 (or 6) inboard exactly has a slice pad 7 on the plate tail 304, places plate to refer to 301 and plate point 302 place's a slice gesture sheets again.The central axis of above-mentioned first circular needle tray 701 of two pads must overlap, and the radius of semicircle needle tray equates.More in short-term, just adopt structure shown in Figure 3 for the length of needle clamping plate 3 (or 6).Put a lengthy motion picture pad 7 at the inboard slave plate tail 304 of needle clamping plate 3 (or 6) to plate point 302.
The length of the needle clamping plate of these two kinds of structures is the length weak point of anti-slide plate 5 needle clamping plates of embodiment 1 band than first kind, and semicircle needle tray 701 diameters on the pad are bigger than the diameter of acupuncture needle.This be because acupuncture needle about two needle clamping plates close up in the needle tubing of formation, and can rotate or lift up and down.

Claims (2)

1. holder for needle of acupuncture and moxibustion, contain structure, size, shape and constituent material identical about two needle clamping plates (3,6) and with two needle clamping plates (3,6) connection handle that links together (1), it is characterized in that: said needle clamping plate (3,6) is divided into plate point (302), plate refers to (301), plate body (303) and plate tail (304), at needle clamping plate (3,6) outer panel refers to be equipped with sampan (401,402) between (301) and the plate point (302); At needle clamping plate (3,6) breech face of inboard slave plate tail (304) begins to be equipped with the pad (7) that band is exposed at the semicircle needle tray (701) of the outer pin semicircle orifice (702) of plate tail (304) breech face, about two needle clamping plates (3, when 6) lumping together, two needle trays (701) formation is led to the needle tubing that plate tail (304) breech face has the round needle hole outward; About two needle clamping plates (3,6) be pass through respectively about two bouncing plates (2,8) link together with connection handle (1), left and right sides bouncing plate (2,8) be to be connected to left and right sides needle clamping plate (3,6) on the oblique direction of plate tail (304) side, i.e. central axis (the O that links to each other with connection handle (1) of bouncing plate (2,8) 1O 1) with the central axis (O of needle clamping plate (3,6) 2O 2) between angle (α) greater than 90 ° less than 180 °, the breech face of needle clamping plate (3,6) plate tail (304) is exposed.
2. holder for needle of acupuncture and moxibustion according to claim 1, the pad (7) that it is characterized in that the semicircle needle tray of said band (701) is to place needle clamping plate (3 when a slice is arranged, 6) on the Li Ce plate tail (304), and refer to be equipped with on (301) and the plate point (302) anti-slide plate (5) at the inboard plate of needle clamping plate (3,6); Perhaps there are two pads (7) to place the inboard plate tail (304) of needle clamping plate (3,6) to refer on (301) and the plate point (302) respectively with plate; Perhaps there is a lengthy motion picture to place the inboard slave plate tail of needle clamping plate (3,6) (304), plate body (303), plate to refer to that (301) are to plate point (302).
CNB011058145A 2001-03-30 2001-03-30 acupuncture needle holder Expired - Fee Related CN1136829C (en)

Priority Applications (1)

Application Number Priority Date Filing Date Title
CNB011058145A CN1136829C (en) 2001-03-30 2001-03-30 acupuncture needle holder

Applications Claiming Priority (1)

Application Number Priority Date Filing Date Title
CNB011058145A CN1136829C (en) 2001-03-30 2001-03-30 acupuncture needle holder

Publications (2)

Publication Number Publication Date
CN1310992A CN1310992A (en) 2001-09-05
CN1136829C true CN1136829C (en) 2004-02-04

Family

ID=4654878

Family Applications (1)

Application Number Title Priority Date Filing Date
CNB011058145A Expired - Fee Related CN1136829C (en) 2001-03-30 2001-03-30 acupuncture needle holder

Country Status (1)

Country Link
CN (1) CN1136829C (en)

Families Citing this family (2)

* Cited by examiner, † Cited by third party
Publication number Priority date Publication date Assignee Title
JP5121481B2 (en) * 2008-02-01 2013-01-16 上村工業株式会社 Surface treatment equipment
CN102100634B (en) * 2011-03-01 2012-10-03 王心弟 Painless needle inserting apparatus

Also Published As

Publication number Publication date
CN1310992A (en) 2001-09-05

Similar Documents

Publication Publication Date Title
CN1078375A (en) Lancet for puncturing skin
CN1136829C (en) acupuncture needle holder
CN2496457Y (en) Filiform needle grasping device
CN204618251U (en) A kind of venous blood collection needle holder
CN201703609U (en) Opener for paper-covered medical cotton swabs
CN212166247U (en) Surgical wound belt cleaning device
CN203815990U (en) Air driving device for fluid infusion tube
CN211024530U (en) Nondestructive puncture needle head of blood transfusion device
CN212854254U (en) Insulin pen needle dismounting and collecting device
CN201076652Y (en) Needle tube cutting edge positioning device for medical needle
CN201379573Y (en) Blood taking device
CN2787208Y (en) Acupuncture filiform needle holding and inserting device
CN206183657U (en) A comfort needle for two blind experiments
CN221130617U (en) Injector device capable of being operated stably
CN221332210U (en) Transfusion port fixer
CN202069856U (en) Disposable aseptic acupuncture needle
CN215024125U (en) Insulin pen puncture-preventing device
CN2619623Y (en) Acupuncture Needle Cots
CN2387859Y (en) Once-used blood taking needle
CN202223612U (en) Pedal liquid suction device
CN211357315U (en) Nerve block injection kit under single-person operation ultrasonic guidance
CN202568848U (en) Novel sterile trocar
CN115607441A (en) Clinical acupuncture device of department of neurology
CN213606388U (en) Animal quarantine is with novel blood sampling device
CN202761282U (en) Peripheral blood collection tube

Legal Events

Date Code Title Description
C10 Entry into substantive examination
SE01 Entry into force of request for substantive examination
C06 Publication
PB01 Publication
C14 Grant of patent or utility model
GR01 Patent grant
C17 Cessation of patent right
CF01 Termination of patent right due to non-payment of annual fee

Granted publication date: 20040204