CN113638536A - 一种波浪式天花可调节安装设计结构 - Google Patents
一种波浪式天花可调节安装设计结构 Download PDFInfo
- Publication number
- CN113638536A CN113638536A CN202110945695.0A CN202110945695A CN113638536A CN 113638536 A CN113638536 A CN 113638536A CN 202110945695 A CN202110945695 A CN 202110945695A CN 113638536 A CN113638536 A CN 113638536A
- Authority
- CN
- China
- Prior art keywords
- steel frame
- wavy
- ceiling
- adjustable
- connecting plate
- Prior art date
- Legal status (The legal status is an assumption and is not a legal conclusion. Google has not performed a legal analysis and makes no representation as to the accuracy of the status listed.)
- Pending
Links
- 238000009434 installation Methods 0.000 title claims abstract description 16
- 241000700647 Variola virus Species 0.000 title claims description 9
- 229910000831 Steel Inorganic materials 0.000 claims abstract description 93
- 239000010959 steel Substances 0.000 claims abstract description 93
- 230000008520 organization Effects 0.000 claims description 3
- 244000259191 Duranta erecta Species 0.000 claims 1
- 230000000694 effects Effects 0.000 description 6
- 125000003003 spiro group Chemical group 0.000 description 5
- 239000011159 matrix material Substances 0.000 description 3
- 230000002093 peripheral effect Effects 0.000 description 3
- 238000005034 decoration Methods 0.000 description 2
- 230000009286 beneficial effect Effects 0.000 description 1
- 238000010586 diagram Methods 0.000 description 1
- 230000001788 irregular Effects 0.000 description 1
- 239000002184 metal Substances 0.000 description 1
- 238000000034 method Methods 0.000 description 1
Images
Classifications
-
- E—FIXED CONSTRUCTIONS
- E04—BUILDING
- E04B—GENERAL BUILDING CONSTRUCTIONS; WALLS, e.g. PARTITIONS; ROOFS; FLOORS; CEILINGS; INSULATION OR OTHER PROTECTION OF BUILDINGS
- E04B9/00—Ceilings; Construction of ceilings, e.g. false ceilings; Ceiling construction with regard to insulation
- E04B9/18—Means for suspending the supporting construction
-
- E—FIXED CONSTRUCTIONS
- E04—BUILDING
- E04B—GENERAL BUILDING CONSTRUCTIONS; WALLS, e.g. PARTITIONS; ROOFS; FLOORS; CEILINGS; INSULATION OR OTHER PROTECTION OF BUILDINGS
- E04B9/00—Ceilings; Construction of ceilings, e.g. false ceilings; Ceiling construction with regard to insulation
- E04B9/04—Ceilings; Construction of ceilings, e.g. false ceilings; Ceiling construction with regard to insulation comprising slabs, panels, sheets or the like
- E04B9/0464—Ceilings; Construction of ceilings, e.g. false ceilings; Ceiling construction with regard to insulation comprising slabs, panels, sheets or the like having irregularities on the faces, e.g. holes, grooves
-
- E—FIXED CONSTRUCTIONS
- E04—BUILDING
- E04B—GENERAL BUILDING CONSTRUCTIONS; WALLS, e.g. PARTITIONS; ROOFS; FLOORS; CEILINGS; INSULATION OR OTHER PROTECTION OF BUILDINGS
- E04B9/00—Ceilings; Construction of ceilings, e.g. false ceilings; Ceiling construction with regard to insulation
- E04B9/18—Means for suspending the supporting construction
- E04B9/20—Means for suspending the supporting construction adjustable
-
- E—FIXED CONSTRUCTIONS
- E04—BUILDING
- E04B—GENERAL BUILDING CONSTRUCTIONS; WALLS, e.g. PARTITIONS; ROOFS; FLOORS; CEILINGS; INSULATION OR OTHER PROTECTION OF BUILDINGS
- E04B9/00—Ceilings; Construction of ceilings, e.g. false ceilings; Ceiling construction with regard to insulation
- E04B9/22—Connection of slabs, panels, sheets or the like to the supporting construction
- E04B9/225—Connection of slabs, panels, sheets or the like to the supporting construction with the slabs, panels, sheets or the like hanging at a distance below the supporting construction
-
- E—FIXED CONSTRUCTIONS
- E04—BUILDING
- E04C—STRUCTURAL ELEMENTS; BUILDING MATERIALS
- E04C2/00—Building elements of relatively thin form for the construction of parts of buildings, e.g. sheet materials, slabs, or panels
- E04C2/30—Building elements of relatively thin form for the construction of parts of buildings, e.g. sheet materials, slabs, or panels characterised by the shape or structure
- E04C2/32—Building elements of relatively thin form for the construction of parts of buildings, e.g. sheet materials, slabs, or panels characterised by the shape or structure formed of corrugated or otherwise indented sheet-like material; composed of such layers with or without layers of flat sheet-like material
- E04C2/322—Building elements of relatively thin form for the construction of parts of buildings, e.g. sheet materials, slabs, or panels characterised by the shape or structure formed of corrugated or otherwise indented sheet-like material; composed of such layers with or without layers of flat sheet-like material with parallel corrugations
Landscapes
- Engineering & Computer Science (AREA)
- Architecture (AREA)
- Civil Engineering (AREA)
- Structural Engineering (AREA)
- Physics & Mathematics (AREA)
- Electromagnetism (AREA)
- Joining Of Building Structures In Genera (AREA)
Abstract
本发明公开了一种波浪式天花可调节安装设计结构,属于天花板安装技术领域,包括基层、连接钢架、若干个可调节连接件和天花板体,所述连接钢架连接在所述基层上,所述连接钢架上设置有第一连接耳,所述天花板体上设置有若干个预埋件,所述可调节连接件一端连接在所述第一连接耳上,相对的另一端连接在所述预埋件上。本发明通过在基层底部设置树冠状的连接钢架,连接钢架底部连接有可调节连接件,连接钢架包括主干钢架和若干个枝干钢架,若干个枝干钢架连接在主干钢架的四周,且主干钢架和枝干钢架上设置有若干个第一连接耳,可调节连接件顶部连接在第一连接耳上,底部连接在天花板体上的预埋件上,实现天花板体顶部受力均匀。
Description
技术领域
本发明属于天花板安装技术领域,尤其涉及一种波浪式天花可调节安装设计结构。
背景技术
随着装饰行业设计理念的发展,人们对装饰装修越来越追求艺术格调以及不凡的艺术效果,金属工艺制品因其强烈的质感以及良好的耐久性和美观性常被用来加工成造型各异的复杂工艺品,其中波浪式天花板的安装在可以提高整体建筑的质量和外观效果。
但是目前的波浪式天花板因其形状特殊,在进行安装时,极易因波浪形天花板的厚度不一,无规律,而现场基层于波浪式天花板之间的连接件比较单一,不可调节,同时现有连接钢架大多采用矩阵形的龙骨钢架,使得波浪式天花板在安装过程中只能安装同一厚度的地方,使得波浪式天花板顶部整体受力不均匀,极易导致波浪式天花板变形,存在安全隐患。
发明内容
本发明的目的在于:为了解决现有的波浪式天花板在安装的过程中,连接件比较单一,只能固定在波浪式天花板上同一厚度的地方,导致波浪式天花板受力不均匀,容易导致波浪式天花板变形存在安全隐患而提出的一种波浪式天花可调节安装设计结构。
为了实现上述目的,本发明采用了如下技术方案:一种波浪式天花可调节安装设计结构,包括基层、连接钢架、若干个可调节连接件和天花板体,所述连接钢架连接在所述基层上,所述连接钢架上设置有第一连接耳,所述天花板体上设置有若干个预埋件,所述可调节连接件一端连接在所述第一连接耳上,相对的另一端连接在所述预埋件上。
作为上述技术方案的进一步描述:
所述连接钢架呈树冠状。
作为上述技术方案的进一步描述:
所述连接钢架包括主干钢架和若干个枝干钢架,若干个所述枝干钢架连接在所述主干钢架上,所述主干钢架位于所述枝干钢架的中心位置。
作为上述技术方案的进一步描述:
所述主干钢架上设置有连接板,膨胀螺栓依次穿设所述连接板和所述基层,将所述连接板和所述基层连接,所述枝干钢架上设置有若干个第二连接耳,所述基层上设置有若干个固定件,所述固定件和所述第二连接耳之间设置有连接体,所述连接体的一端通过螺栓连接在所述固定件上,另一端通过螺栓连接在所述第二连接耳上。
作为上述技术方案的进一步描述:
所述固定件为膨胀螺栓。
作为上述技术方案的进一步描述:
所述连接体为角码。
作为上述技术方案的进一步描述:
所述可调节连接件包括第一连接杆、第二连接杆和调节套筒,所述调节套筒螺接在所述第一连接杆和所述第二连接杆之间。
作为上述技术方案的进一步描述:
所述第一连接杆上设置有第一连接板,所述第一连接板上设置有第一连接孔,所述第一连接耳上设置有第二连接孔,螺栓依次穿过所述第一连接孔和所述第二连接孔,将所述第一连接板和所述第二连接耳连接,所述第二连接杆上设置有第二连接板,所述第二连接板上设置有第三连接孔,所述预埋件上设置有第四连接孔,螺栓依次穿过所述第四连接孔和所述第三连接孔,将所述预埋件和所述第二连接板连接。
作为上述技术方案的进一步描述:
所述天花板体为波浪形。
作为上述技术方案的进一步描述:
所述第一连接耳上设置有连接槽,所述第一连接板可转动连接在所述连接槽内。
综上所述,由于采用了上述技术方案,本发明的有益效果是:
1、本发明中,通过在基层底部设置树冠状的连接钢架,连接钢架包括主干钢架和若干个枝干钢架,主干钢架通过膨胀螺栓固定在基层上,枝干钢架和基层之间通过膨胀螺栓配合角码互相连接,若干个枝干钢架连接在主干钢架的四周,从而基层底部搭建一个向四周扩展的固定布局,主干钢架连接在天花板的中心位置对其进行固定,枝干钢架对其周侧进行固定,整体形成一个椭圆的固定结构,避免波浪式天花板体与基层之间连接,波浪式天花板体厚度不一,导致连接钢架连接在波浪式天花板体上同一厚度上,导致波浪式天花板体的顶部受力不均,产生变形,
2、本发明中,通过设置可调节连接件,主干钢架和枝干钢架上设置有若干个第一连接耳,可调节连接件顶部连接在第一连接耳上,底部连接在天花板体上的预埋件上,其中可调节连接件包括第一连接杆、调节套筒和第二连接杆,第一连接杆和第二连接杆均螺接调节套筒内,可以通过调节第二连接杆螺接在调节套筒中的距离来进行调节,对整个波浪式天花板进行调平,提高波浪式天花板整体安装的外观效果。
附图说明
为了更清楚地说明本发明实施例的技术方案,下面将对实施例中所需要使用的附图作简单地介绍,应当理解,以下附图仅示出了本发明的某些实施例,因此不应被看作是对范围的限定,对于本领域普通技术人员来讲,在不付出创造性劳动的前提下,还可以根据这些附图获得其他相关的附图。
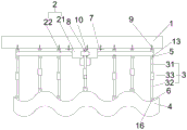
图1为一种波浪式天花可调节安装设计结构正视角度的结构示意图。
图2为一种波浪式天花可调节安装设计结构中基层与连接钢架仰视角度的结构示意图。
图3为一种波浪式天花可调节安装设计结构中可调节连接件的结构示意图。
图例说明:
1-基层;2-连接钢架;21-主干钢架;22-枝干钢架;3-可调节连接件;31-第一连接杆;32-第二连接杆;33-调节套筒;4-天花板体;5-第一连接耳;6-预埋件;7-连接板;8-第二连接耳;9-固定件;10一连接体;11-第一连接板;12-第一连接孔;13-第二连接孔;14-第二连接板;15-第三连接孔;16-第四连接孔;17-连接槽。
具体实施方式
下面将结合本发明实施例中的附图,对本发明实施例中的技术方案进行清楚、完整地描述,显然,所描述的实施例仅仅是本发明一部分实施例,而不是全部的实施例。基于本发明中的实施例,本领域普通技术人员在没有作出创造性劳动前提下所获得的所有其它实施例,都属于本发明保护的范围。
为使本发明实施例的目的、技术方案和优点更加清楚,下面将结合本发明实施例中的附图,对本发明实施例中的技术方案进行清楚、完整地描述,显然,所描述的实施例是本发明一部分实施例,而不是全部的实施例。通常在此处附图中描述和示出的本发明实施例的组件可以以各种不同的配置来布置和设计。
因此,以下对在附图中提供的本发明的实施例的详细描述并非旨在限制要求保护的本发明的范围,而是仅仅表示本发明的选定实施例。基于本发明中的实施例,本领域普通技术人员在没有作出创造性劳动前提下所获得的所有其他实施例,都属于本发明保护的范围。
应注意到:相似的标号和字母在下面的附图中表示类似项,因此,一旦某一项在一个附图中被定义,则在随后的附图中不需要对其进行进一步定义和解释。
在本发明实施例的描述中,需要说明的是,术语“上”、“内”等指示的方位或位置关系为基于附图所示的方位或位置关系,或者是该发明产品使用时惯常摆放的方位或位置关系,仅是为了便于描述本发明和简化描述,而不是指示或暗示所指的装置或元件必须具有特定的方位、以特定的方位构造和操作,因此不能理解为对本发明的限制。
在本发明的描述中,还需要说明的是,除非另有明确的规定和限定,术语“设置”、“安装”、“相连”、“连接”应做广义理解,例如,可以是固定连接,也可以是可拆卸连接,或一体地连接;可以是直接相连,也可以通过中间媒介间接相连,可以是两个元件内部的连通。对于本领域的普通技术人员而言,可以具体情况理解上述术语在本发明中的具体含义。
请参阅图1-3,本发明提供一种技术方案:一种波浪式天花可调节安装设计结构,包括基层1、连接钢架2、若干个可调节连接件3和天花板体4,所述连接钢架2连接在所述基层1上,所述连接钢架2上设置有第一连接耳5,所述天花板体4上设置有若干个预埋件6,所述可调节连接件3一端连接在所述第一连接耳5上,相对的另一端连接在所述预埋件6上。通过在基层底部设置树冠状的连接钢架,连接钢架包括主干钢架和若干个枝干钢架,主干钢架通过膨胀螺栓固定在基层上,枝干钢架和基层之间通过膨胀螺栓配合角码互相连接,若干个枝干钢架连接在主干钢架的四周,从而基层底部搭建一个向四周扩展的固定布局,主干钢架连接在天花板的中心位置对其进行固定,枝干钢架对其周侧进行固定,整体形成一个椭圆的固定结构,避免波浪式天花板体与基层之间连接,波浪式天花板体厚度不一,导致连接钢架连接在波浪式天花板体上同一厚度上,导致波浪式天花板体的顶部受力不均,产生变形,且主干钢架和枝干钢架上设置有若干个第一连接耳,可调节连接件顶部连接在第一连接耳上,底部连接在天花板体上的预埋件上,其中可调节连接件包括第一连接杆、调节套筒和第二连接杆,第一连接杆和第二连接杆均螺接调节套筒内,可以通过调节第二连接杆螺接在调节套筒中的距离来进行调节,对整个波浪式天花板进行调平,提高波浪式天花板整体安装的外观效果。
所述连接钢架2呈树冠状。树冠状的连接钢架形成了一个向四周扩散的固定钢架,避免了传统中的矩阵钢骨架只能固定在波浪形天花板上的同一厚度,天花板相邻位置之间受力不同,当受到风力吹动,波浪式天花板薄处向上移动时,极易与周侧形成压力差,导致波浪式天花板体发生变形。
所述连接钢架2包括主干钢架21和若干个枝干钢架22,若干个所述枝干钢架22连接在所述主干钢架21上,所述主干钢架21位于所述枝干钢架22的中心位置。形成了一个向四周扩散的固定钢架,避免波浪式天花板体受力不均匀导致天花板体上的薄处发生变形。
所述主干钢架21上设置有连接板7,膨胀螺栓依次穿设所述连接板7和所述基层1,将所述连接板7和所述基层1连接,所述枝干钢架22上设置有若干个第二连接耳8,所述基层1上设置有若干个固定件9,所述固定件9和所述第二连接耳8之间设置有连接体10,所述连接体10的一端通过螺栓连接在所述固定件9上,另一端通过螺栓连接在所述第二连接耳8上。此结构的设置,保证连接钢架连接在基层的稳固性,确保连接结构基层的稳固性。
所述固定件9为膨胀螺栓。所述连接体10为角码。方便基层与枝干钢架之间连接的稳固性。
所述可调节连接件3包括第一连接杆31、第二连接杆32和调节套筒33,所述调节套筒33螺接在所述第一连接杆31和所述第二连接杆32之间。可以通过调节第二连接杆螺接在调节套筒中的距离来进行调节,对整个波浪式天花板进行调平,提高波浪式天花板整体安装的外观效果。
所述第一连接杆31上设置有第一连接板11,所述第一连接板11上设置有第一连接孔12,所述第一连接耳5上设置有第二连接孔13,螺栓依次穿过所述第一连接孔12和所述第二连接孔13,将所述第一连接板11和所述第二连接耳8连接,所述第二连接杆32上设置有第二连接板14,所述第二连接板14上设置有第三连接孔15,所述预埋件6上设置有第四连接孔16,螺栓依次穿过所述第四连接孔16和所述第三连接孔15,将所述预埋件6和所述第二连接板14连接。保证可调节连接件与波浪式天花板体连接的稳固性。
所述天花板体4为波浪形。
所述第一连接耳5上设置有连接槽17,所述第一连接板11可转动连接在所述连接槽17内。使得可调节连接件可以在连接槽内进行角度转动,使其第二连接杆连接在波浪式天花板体上,然后用螺栓穿设第一连接耳上的第二连接孔和第一连接板上的第一连接孔,并用螺母固定,使得当波浪式天花板体和可调节连接件由微小角度差异时,可以调节第一连接板连接在连接槽内的角度,然后固定,使得可调节连接件不仅可以微调角度,还可以调节高度,实用性强。
工作原理:通过在基层底部设置树冠状的连接钢架,连接钢架包括主干钢架和若干个枝干钢架,主干钢架通过膨胀螺栓固定在基层上,枝干钢架和基层之间通过膨胀螺栓配合角码互相连接,若干个枝干钢架连接在主干钢架的四周,从而基层底部搭建一个向四周扩展的固定布局,主干钢架连接在天花板的中心位置对其进行固定,枝干钢架对其周侧进行固定,整体形成一个椭圆的固定结构,避免波浪式天花板体与基层之间连接,波浪式天花板体厚度不一,导致连接钢架连接在波浪式天花板体上同一厚度上,导致波浪式天花板体的顶部受力不均,产生变形,且主干钢架和枝干钢架上设置有若干个第一连接耳,可调节连接件顶部连接在第一连接耳上,底部连接在天花板体上的预埋件上,其中可调节连接件包括第一连接杆、调节套筒和第二连接杆,第一连接杆和第二连接杆均螺接调节套筒内,可以通过调节第二连接杆螺接在调节套筒中的距离来进行调节,对整个波浪式天花板进行调平,提高波浪式天花板整体安装的外观效果。
以上所述,仅为本发明较佳的具体实施方式,但本发明的保护范围并不局限于此,任何熟悉本技术领域的技术人员在本发明揭露的技术范围内,根据本发明的技术方案及其发明构思加以等同替换或改变,都应涵盖在本发明的保护范围之内。
Claims (10)
1.一种波浪式天花可调节安装设计结构,其特征在于,包括基层(1)、连接钢架(2)、若干个可调节连接件(3)和天花板体(4),所述连接钢架(2)连接在所述基层(1)上,所述连接钢架(2)上设置有第一连接耳(5),所述天花板体(4)上设置有若干个预埋件(6),所述可调节连接件(3)一端连接在所述第一连接耳(5)上,相对的另一端连接在所述预埋件(6)上。
2.根据权利要求1所述的一种波浪式天花可调节安装设计结构,其特征在于,所述连接钢架(2)呈树冠状。
3.根据权利要求2所述的一种波浪式天花可调节安装设计结构,其特征在于,所述连接钢架(2)包括主干钢架(21)和若干个枝干钢架(22),若干个所述枝干钢架(22)连接在所述主干钢架(21)上,所述主干钢架(21)位于所述枝干钢架(22)的中心位置。
4.根据权利要求3所述的一种波浪式天花可调节安装设计结构,其特征在于,所述主干钢架(21)上设置有连接板(7),膨胀螺栓依次穿设所述连接板(7)和所述基层(1),将所述连接板(7)和所述基层(1)连接,所述枝干钢架(22)上设置有若干个第二连接耳(8),所述基层(1)上设置有若干个固定件(9),所述固定件(9)和所述第二连接耳(8)之间设置有连接体(10),所述连接体(10)的一端通过螺栓连接在所述固定件(9)上,另一端通过螺栓连接在所述第二连接耳(8)上。
5.根据权利要求4所述的一种波浪式天花可调节安装设计结构,其特征在于,所述固定件(9)为膨胀螺栓。
6.根据权利要求4所述的一种波浪式天花可调节安装设计结构,其特征在于,所述连接体(10)为角码。
7.根据权利要求1所述的一种波浪式天花可调节安装设计结构,其特征在于,所述可调节连接件(3)包括第一连接杆(31)、第二连接杆(32)和调节套筒(33),所述调节套筒(33)螺接在所述第一连接杆(31)和所述第二连接杆(32)之间。
8.根据权利要求7所述的一种波浪式天花可调节安装设计结构,其特征在于,所述第一连接杆(31)上设置有第一连接板(11),所述第一连接板(11)上设置有第一连接孔(12),所述第一连接耳(5)上设置有第二连接孔(13),螺栓依次穿过所述第一连接孔(12)和所述第二连接孔(13),将所述第一连接板(11)和所述第二连接耳(8)连接,所述第二连接杆(32)上设置有第二连接板(14),所述第二连接板(14)上设置有第三连接孔(15),所述预埋件(6)上设置有第四连接孔(16),螺栓依次穿过所述第四连接孔(16)和所述第三连接孔(15),将所述预埋件(6)和所述第二连接板(14)连接。
9.根据权利要求1所述的一种波浪式天花可调节安装设计结构,其特征在于,所述天花板体(4)为波浪形。
10.根据权利要求8所述的一种波浪式天花可调节安装设计结构,其特征在于,所述第一连接耳(5)上设置有连接槽(17),所述第一连接板(11)可转动连接在所述连接槽(17)内。
Priority Applications (1)
| Application Number | Priority Date | Filing Date | Title |
|---|---|---|---|
| CN202110945695.0A CN113638536A (zh) | 2021-08-18 | 2021-08-18 | 一种波浪式天花可调节安装设计结构 |
Applications Claiming Priority (1)
| Application Number | Priority Date | Filing Date | Title |
|---|---|---|---|
| CN202110945695.0A CN113638536A (zh) | 2021-08-18 | 2021-08-18 | 一种波浪式天花可调节安装设计结构 |
Publications (1)
| Publication Number | Publication Date |
|---|---|
| CN113638536A true CN113638536A (zh) | 2021-11-12 |
Family
ID=78422525
Family Applications (1)
| Application Number | Title | Priority Date | Filing Date |
|---|---|---|---|
| CN202110945695.0A Pending CN113638536A (zh) | 2021-08-18 | 2021-08-18 | 一种波浪式天花可调节安装设计结构 |
Country Status (1)
| Country | Link |
|---|---|
| CN (1) | CN113638536A (zh) |
Citations (12)
| Publication number | Priority date | Publication date | Assignee | Title |
|---|---|---|---|---|
| CA2333813A1 (en) * | 2001-01-31 | 2002-07-31 | Gaetano D'agata | Suspended ceiling assembly |
| CN203383371U (zh) * | 2013-07-09 | 2014-01-08 | 福建省华航建设工程有限公司 | 天花安装结构 |
| CN104612306A (zh) * | 2014-12-20 | 2015-05-13 | 山西省第五建筑工程公司 | 大空间多层次多曲面异型铝镁合金型材吊顶施工方法 |
| CN104989023A (zh) * | 2015-07-17 | 2015-10-21 | 中建三局装饰有限公司 | 用于大跨度弧形吊顶的吊挂件及吊顶系统及施工方法 |
| CN105178496A (zh) * | 2015-09-08 | 2015-12-23 | 苏州金螳螂建筑装饰股份有限公司 | 墙顶面曲面吊板安装结构 |
| CN105298124A (zh) * | 2015-10-10 | 2016-02-03 | 中国建筑第八工程局有限公司 | 大跨度双曲面树影状天花板结构及其施工方法 |
| CN107605090A (zh) * | 2017-09-06 | 2018-01-19 | 武汉建工集团股份有限公司 | 一种高大曲面钢结构下的组合式吊顶悬挂装置及安装方法 |
| CN108316537A (zh) * | 2018-04-03 | 2018-07-24 | 苏州美瑞德建筑装饰有限公司 | 不规则铝方通波浪状造型吊顶安装结构 |
| CN108661228A (zh) * | 2018-07-12 | 2018-10-16 | 苏州美瑞德建筑装饰有限公司 | 异型石膏板悬浮造型吊顶安装结构 |
| CN108824689A (zh) * | 2018-08-13 | 2018-11-16 | 深圳市建艺装饰集团股份有限公司 | 一种双曲面吊顶安装组件 |
| CN110067354A (zh) * | 2019-05-17 | 2019-07-30 | 苏州金螳螂建筑装饰股份有限公司 | 一种可调节式金属连接杆结构 |
| CN112302238A (zh) * | 2020-11-24 | 2021-02-02 | 苏州美瑞德建筑装饰有限公司 | 一种高空大规格铝单板吊顶装配式吊挂设计结构及安装方法 |
-
2021
- 2021-08-18 CN CN202110945695.0A patent/CN113638536A/zh active Pending
Patent Citations (12)
| Publication number | Priority date | Publication date | Assignee | Title |
|---|---|---|---|---|
| CA2333813A1 (en) * | 2001-01-31 | 2002-07-31 | Gaetano D'agata | Suspended ceiling assembly |
| CN203383371U (zh) * | 2013-07-09 | 2014-01-08 | 福建省华航建设工程有限公司 | 天花安装结构 |
| CN104612306A (zh) * | 2014-12-20 | 2015-05-13 | 山西省第五建筑工程公司 | 大空间多层次多曲面异型铝镁合金型材吊顶施工方法 |
| CN104989023A (zh) * | 2015-07-17 | 2015-10-21 | 中建三局装饰有限公司 | 用于大跨度弧形吊顶的吊挂件及吊顶系统及施工方法 |
| CN105178496A (zh) * | 2015-09-08 | 2015-12-23 | 苏州金螳螂建筑装饰股份有限公司 | 墙顶面曲面吊板安装结构 |
| CN105298124A (zh) * | 2015-10-10 | 2016-02-03 | 中国建筑第八工程局有限公司 | 大跨度双曲面树影状天花板结构及其施工方法 |
| CN107605090A (zh) * | 2017-09-06 | 2018-01-19 | 武汉建工集团股份有限公司 | 一种高大曲面钢结构下的组合式吊顶悬挂装置及安装方法 |
| CN108316537A (zh) * | 2018-04-03 | 2018-07-24 | 苏州美瑞德建筑装饰有限公司 | 不规则铝方通波浪状造型吊顶安装结构 |
| CN108661228A (zh) * | 2018-07-12 | 2018-10-16 | 苏州美瑞德建筑装饰有限公司 | 异型石膏板悬浮造型吊顶安装结构 |
| CN108824689A (zh) * | 2018-08-13 | 2018-11-16 | 深圳市建艺装饰集团股份有限公司 | 一种双曲面吊顶安装组件 |
| CN110067354A (zh) * | 2019-05-17 | 2019-07-30 | 苏州金螳螂建筑装饰股份有限公司 | 一种可调节式金属连接杆结构 |
| CN112302238A (zh) * | 2020-11-24 | 2021-02-02 | 苏州美瑞德建筑装饰有限公司 | 一种高空大规格铝单板吊顶装配式吊挂设计结构及安装方法 |
Similar Documents
| Publication | Publication Date | Title |
|---|---|---|
| CN203701273U (zh) | 球形活动板房 | |
| CN113638536A (zh) | 一种波浪式天花可调节安装设计结构 | |
| CN106013579A (zh) | 集成吊顶装置及其安装方法 | |
| CN201635346U (zh) | 装饰装置 | |
| CN106013660B (zh) | 一种吸音板及其安装方法 | |
| CN112240067A (zh) | 竖向条形波浪折线同心圆装饰玻璃幕墙支撑结构 | |
| CN215290818U (zh) | 一种玻璃隔墙的万向玻璃夹模块设计结构 | |
| CN2391486Y (zh) | 三角连接件 | |
| CN201944046U (zh) | 用于组件连接的锁紧件 | |
| CN216042074U (zh) | 一种稳固型天花与基层安装设计结构 | |
| CN219411480U (zh) | 一种基于包边复合板的天花吊顶 | |
| CN113502967A (zh) | 一种稳固型天花与基层安装设计结构 | |
| CN214788386U (zh) | 一种用于家具的弧形底板 | |
| CN213837486U (zh) | 一种曲面装饰板的干挂系统 | |
| CN223195694U (zh) | 一种美观的桌子 | |
| CN210395970U (zh) | 一种不锈钢骨架的软硬包 | |
| CN216042105U (zh) | 一种模块化弧形grg穹顶安装设计结构 | |
| CN212802153U (zh) | 一种装配式超大截面尺寸装饰板的连接结构 | |
| CN110345373A (zh) | 一种工业铝型材快装框架结构 | |
| CN206985492U (zh) | 一种电梯门板 | |
| CN209703809U (zh) | 双面边条梁 | |
| CN219374172U (zh) | 一种新型家具脚 | |
| CN205857483U (zh) | 一种角度可调的隐框玻璃幕墙结构 | |
| CN215829912U (zh) | 一种装饰面板的挂件弹性定位结构 | |
| CN220817577U (zh) | 一种可卡扣拼装的暗装灯用预埋面环结构 |
Legal Events
| Date | Code | Title | Description |
|---|---|---|---|
| PB01 | Publication | ||
| PB01 | Publication | ||
| SE01 | Entry into force of request for substantive examination | ||
| SE01 | Entry into force of request for substantive examination | ||
| RJ01 | Rejection of invention patent application after publication |
Application publication date: 20211112 |
|
| RJ01 | Rejection of invention patent application after publication |