CN113189382B - 一种断电自动上报的电能表 - Google Patents

一种断电自动上报的电能表 Download PDF

Info

Publication number
CN113189382B
CN113189382B CN202110481122.7A CN202110481122A CN113189382B CN 113189382 B CN113189382 B CN 113189382B CN 202110481122 A CN202110481122 A CN 202110481122A CN 113189382 B CN113189382 B CN 113189382B
Authority
CN
China
Prior art keywords
shell
electric energy
energy meter
rod
fluted roller
Prior art date
Legal status (The legal status is an assumption and is not a legal conclusion. Google has not performed a legal analysis and makes no representation as to the accuracy of the status listed.)
Active
Application number
CN202110481122.7A
Other languages
English (en)
Other versions
CN113189382A (zh
Inventor
曹翀
南钰
郑罡
刘冰
王晨
秦泽华
孔真真
付婷婷
Current Assignee (The listed assignees may be inaccurate. Google has not performed a legal analysis and makes no representation or warranty as to the accuracy of the list.)
Kaifeng Power Supply Co of State Grid Henan Electric Power Co Ltd
State Grid Corp of China SGCC
Original Assignee
Kaifeng Power Supply Co of State Grid Henan Electric Power Co Ltd
State Grid Corp of China SGCC
Priority date (The priority date is an assumption and is not a legal conclusion. Google has not performed a legal analysis and makes no representation as to the accuracy of the date listed.)
Filing date
Publication date
Application filed by Kaifeng Power Supply Co of State Grid Henan Electric Power Co Ltd, State Grid Corp of China SGCC filed Critical Kaifeng Power Supply Co of State Grid Henan Electric Power Co Ltd
Priority to CN202110481122.7A priority Critical patent/CN113189382B/zh
Publication of CN113189382A publication Critical patent/CN113189382A/zh
Application granted granted Critical
Publication of CN113189382B publication Critical patent/CN113189382B/zh
Active legal-status Critical Current
Anticipated expiration legal-status Critical

Links

Images

Classifications

    • GPHYSICS
    • G01MEASURING; TESTING
    • G01RMEASURING ELECTRIC VARIABLES; MEASURING MAGNETIC VARIABLES
    • G01R11/00Electromechanical arrangements for measuring time integral of electric power or current, e.g. of consumption
    • G01R11/02Constructional details
    • G01R11/04Housings; Supporting racks; Arrangements of terminals
    • GPHYSICS
    • G01MEASURING; TESTING
    • G01RMEASURING ELECTRIC VARIABLES; MEASURING MAGNETIC VARIABLES
    • G01R11/00Electromechanical arrangements for measuring time integral of electric power or current, e.g. of consumption
    • G01R11/02Constructional details

Landscapes

  • Physics & Mathematics (AREA)
  • General Physics & Mathematics (AREA)
  • Connection Of Motors, Electrical Generators, Mechanical Devices, And The Like (AREA)

Abstract

本发明公开了一种断电自动上报的电能表,包括底座,位于电能表的底部用于承接表整体,且所述底座的顶部一体式固定安装有外壳,并且外壳的前侧底部开设有放置电子元件与相关仪器的容置腔,而且所述外壳的左右两端侧面对称安装有用于通风的透气窗;显示屏,安装于所述外壳的前侧上方,用于显示电能表的相关数值,并且所述外壳后侧面的上方和下方安装有用于连接固定的安装板;电机,安装于所述外壳的顶面中部;转运过渡箱,固定安装于所述外壳的顶部左侧;扇叶,固定套设于所述电机输出端的底部。该断电自动上报的电能表,可以进行多种方式同步散热,且可以进行防尘清理以及对清洁刷上粘附的灰尘进行处理。

Description

一种断电自动上报的电能表
技术领域
本发明涉及电能表技术领域,具体为一种断电自动上报的电能表。
背景技术
现有的电能表通过安装的计量箱信息采集传输装置,更新升级的电采集中器程序及规约,以及新建供电异常信息监测平台,将电能表异常供电信息进行及时有效的上传、分析及处理,所以具有能够在断电时进行自动上报,然而现有的断电自动上报的电能表存在以下问题:
公告号为CN111787777B公开的一种具有散热防潮性能的电能表,可以对电能表的内部进行散热降温,吸潮和防尘。但是透气窗使用时间久了以后会被灰尘堵塞,进而影响散热的效果,不便于对透气窗进行灰尘的清理,且散热时方式单一,不便于利用多种方式同步散热,并且在清洁的同时需要对清洁刷上粘附的灰尘进行处理。
所以我们提出了一种断电自动上报的电能表,以便于解决上述中提出的问题。
发明内容
本发明的目的在于提供一种断电自动上报的电能表,以解决上述背景技术提出的目前市场上现有的断电自动上报的电能表,不便于进行多种方式同步散热,且不便于进行防尘清理以及对清洁刷上粘附的灰尘进行处理的问题。
为实现上述目的,本发明提供如下技术方案:一种断电自动上报的电能表,包括底座,位于电能表的底部用于承接表整体,且所述底座的顶部一体式固定安装有外壳,并且外壳的前侧底部开设有放置电子元件与相关仪器的容置腔,而且所述外壳的左右两端侧面对称安装有用于通风的透气窗;
显示屏,安装于所述外壳的前侧上方,用于显示电能表的相关数值,并且所述外壳后侧面的上方和下方安装有用于连接固定的安装板,而且安装板与墙体相贴合;
电机,安装于所述外壳的顶面中部,且所述电机的输出端贯穿轴连接于所述外壳上;
转运过渡箱,固定安装于所述外壳的顶部左侧,且所述转运过渡箱用于水资源的调度;
扇叶,固定套设于所述电机输出端的底部,且所述扇叶位于所述外壳内侧的顶部,用于加快热空气的流动。
优选的,所述外壳内部的后侧端面的底部设置有接线板,且接线板的内部一体式等间距设置有弹性橡胶箍,并且弹性橡胶箍的中部开设有用于整理连接线的接线口,而且弹性橡胶箍通过弹性形变可对不同规格的连接线进行固定,同时接线口与弹性橡胶箍的位置与数量一一对应,使得连接线进行整理时,手动将弹性橡胶箍进行扩张,而后将连接线穿过接线口,松开手即可对连接线进行自动固定。
优选的,所述电机输出端的中部套设有半齿辊,且半齿辊的外侧连接有全齿辊,并且全齿辊轴连接于所述外壳的顶部,而且全齿辊的底部与所述外壳之间有第一扭力弹簧,同时全齿辊的顶部外侧绕设有用于连接的传动带,所述传动带的两侧端部均套设有所述轴杆,且轴杆对称的轴连接于所述底座顶部的左右端部上,使得电机启动后就会带动半齿辊进行转动,半齿辊就会与全齿辊进行啮合,全齿辊就会通过第一扭力弹簧形成往复的转动,进而通过传动带带动轴杆进行同步的往复转动。
优选的,所述半齿辊与全齿辊相互啮合,且全齿辊通过第一扭力弹簧与半齿辊构成往复转动结构,并且半齿辊通过半齿辊与轴杆构成联动结构,使得轴杆的转动会带动U形刷杆进行上下移动,进而对透气窗进行灰尘的清洁。
优选的,所述轴杆的中部开设有一段螺纹段,且螺纹段的外侧螺纹连接有U形刷杆,并且U形刷杆的刷毛与所述透气窗之间相贴合,而且U形刷杆左右两侧端部的上下端面上均一体式安装有用于推动的抵接柱,同时螺纹段的上方与下方均转动连接有敲击杆,所述敲击杆轴连接于所述轴杆上,且敲击杆与所述轴杆之间连接有用于转动复位的第二扭力弹簧,使得轴杆转动后就会通过螺纹段带动U形刷杆移动,U形刷杆移动到端部后抵接柱就会与敲击杆接触挤压,敲击杆就会反转第二扭力弹簧而将U形刷杆上沾附的灰尘敲落下来。
优选的,所述U形刷杆通过抵接柱与敲击杆的抵接柱构成敲击结构,且敲击杆与第二扭力弹簧成组出现,并且敲击杆通过第二扭力弹簧构成自动复位结构,使得抵接柱与接触时会使敲击杆反转第二扭力弹簧,二者分离后,第二扭力弹簧就会由于弹力作用而带动敲击杆进行复位,进而方便下次使用。
优选的,所述轴杆的上方套设有圆盘,且圆盘的顶部开设有牵引槽,并且牵引槽中连接有立柱,牵引槽用于带动立柱进行活动,而且立柱固定于连接杆的左侧底部,同时连接杆的右端部连接有密封活塞,所述密封活塞密封滑动连接于转运过渡箱中,且转运过渡箱右侧端部的前后侧分别安装有第一单向阀和第二单向阀,并且第一单向阀和第二单向阀的输出端分别连接有出水管和入水管,而且出水管和入水管的端部均连接于冷却管的两端,同时冷却管嵌入式安装于所述外壳的顶部内侧,所述冷却管的底部贯穿所述外壳的顶部密封安装有用于吸收热量的散热铜柱,且散热铜柱等间距分布于冷却管的底部,并且散热铜柱的底部位于所述外壳的内侧顶部,使得圆盘转动后,就会通过牵引槽带动立柱进行活动,立柱就会通过连接杆带动密封活塞在转运过渡箱中进行往复的水平移动,通过第一单向阀和出水管进行输出,第二单向阀和入水管进行输入,进而加快冷却管中水的流速,配合散热铜柱,使得散热效果更佳。
优选的,所述牵引槽设置为旋涡状结构,且牵引槽通过连接杆和立柱带动密封活塞在转运过渡箱中进行直线活动,并且连接杆与牵引槽之间贴合滑动,使得牵引槽在随圆盘转动时,会通过连接杆和立柱带动密封活塞活动,进而形成联动。
优选的,所述第一单向阀、出水管、第二单向阀、入水管和冷却管构成水冷却结构,且第一单向阀和出水管构成只出不进的结构,第二单向阀和入水管构成只进不出的结构,使得第一单向阀和出水管将水从转运过渡箱中抽出,第二单向阀和入水管再将水从冷却管中抽入到转运过渡箱中,形成水循环流动。
与现有技术相比,本发明的有益效果是:该断电自动上报的电能表;
1、通过设置的半齿辊、第一扭力弹簧、全齿辊、轴杆、U形刷杆、抵接柱、敲击杆和第二扭力弹簧,使得半齿辊转动后就会间歇性的与全齿辊相互啮合与分离,进而带动全齿辊进行转动而反转或复位第一扭力弹簧,进而通过传动带带动轴杆进行同步进行往复转动,从而带动U形刷杆进行上下移动对透气窗进行清洁,并且抵接柱与敲击杆的抵接会反转第二扭力弹簧,进而将U形刷杆上沾附的灰尘敲落下来,进而保持U形刷杆的整洁;
2、通过设置的扇叶、圆盘、牵引槽、连接杆、密封活塞、第一单向阀、出水管、第二单向阀、入水管、冷却管和散热铜柱,使得圆盘转动后就会使牵引槽通过立柱带动连接杆进行直线移动,连接杆就会带动密封活塞在转运过渡箱中进行抽动与推出,进而通过第一单向阀、出水管、第二单向阀和入水管将冷却管中的水流速度进行加快,进而提高热量的流失,再配合散热铜柱,使得吸热效果更好,温度降低的更快,从而对外壳内部的元件进行保护。
附图说明
图1为本发明整体正视结构示意图;
图2为本发明扇叶正视结构示意图;
图3为本发明散热铜柱分布俯视结构示意图;
图4为本发明弹性橡胶箍俯视结构示意图;
图5为本发明图1中A处放大结构示意图;
图6为本发明U形刷杆俯视结构示意图;
图7为本发明牵引槽俯视结构示意图。
图中:1、底座;2、外壳;3、容置腔;4、显示屏;5、接线板;501、弹性橡胶箍;502、接线口;6、透气窗;7、电机;8、半齿辊;9、扇叶;10、全齿辊;11、第一扭力弹簧;12、传动带;13、轴杆;1301、螺纹段;14、圆盘;15、牵引槽;16、连接杆;1601、立柱;1602、密封活塞;17、转运过渡箱;18、第一单向阀;19、出水管;20、第二单向阀;21、入水管;22、冷却管;2201、散热铜柱;23、U形刷杆;2301、抵接柱;24、敲击杆;2401、第二扭力弹簧;25、安装板。
具体实施方式
下面将结合本发明实施例中的附图,对本发明实施例中的技术方案进行清楚、完整地描述,显然,所描述的实施例仅仅是本发明一部分实施例,而不是全部的实施例。基于本发明中的实施例,本领域普通技术人员在没有做出创造性劳动前提下所获得的所有其他实施例,都属于本发明保护的范围。
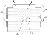
请参阅图1-7,本发明提供一种技术方案:一种断电自动上报的电能表,包括底座1,位于电能表的底部用于承接表整体,且底座1的顶部一体式固定安装有外壳2,并且外壳2的前侧底部开设有放置电子元件与相关仪器的容置腔3,而且外壳2的左右两端侧面对称安装有用于通风的透气窗6;
显示屏4,安装于外壳2的前侧上方,用于显示电能表的相关数值,并且外壳2后侧面的上方和下方安装有用于连接固定的安装板25,而且安装板25与墙体相贴合;
电机7,安装于外壳2的顶面中部,且电机7的输出端贯穿轴连接于外壳2上;
转运过渡箱17,固定安装于外壳2的顶部左侧,且转运过渡箱17用于水资源的调度;
扇叶9,固定套设于电机7输出端的底部,且扇叶9位于外壳2内侧的顶部,用于加快热空气的流动。
外壳2内部的后侧端面的底部设置有接线板5,且接线板5的内部一体式等间距设置有弹性橡胶箍501,并且弹性橡胶箍501的中部开设有用于整理连接线的接线口502,而且弹性橡胶箍501通过弹性形变可对不同规格的连接线进行固定,同时接线口502与弹性橡胶箍501的位置与数量一一对应,如图2和图4所示,首先,将外壳2后侧的安装板25与墙体之间进行固定安装,安装好以后,打开容置腔3,将相关仪器与元件的连接线进行整理放置,手动将接线板5中的弹性橡胶箍501进行扩张,而后将繁多的连接线整理后分别整齐的穿过接线口502,而后,放开手接线口502就会在弹性橡胶箍501的弹力作用下进行收缩,进而对放置的连接线进行自动固定,且可在不更换接线板5的情况下对不同大小的连接线进行固定,固定好以后关闭容置腔3。
电机7输出端的中部套设有半齿辊8,且半齿辊8的外侧连接有全齿辊10,并且全齿辊10轴连接于外壳2的顶部,而且全齿辊10的底部与外壳2之间有第一扭力弹簧11,同时全齿辊10的顶部外侧绕设有用于连接的传动带12,传动带12的两侧端部均套设有轴杆13,且轴杆13对称的轴连接于底座1顶部的左右端部上。半齿辊8与全齿辊10相互啮合,且全齿辊10通过第一扭力弹簧11与半齿辊8构成往复转动结构,并且半齿辊8通过半齿辊8与轴杆13构成联动结构。轴杆13的中部开设有一段螺纹段1301,且螺纹段1301的外侧螺纹连接有U形刷杆23,并且U形刷杆23的刷毛与透气窗6之间相贴合,而且U形刷杆23左右两侧端部的上下端面上均一体式安装有用于推动的抵接柱2301,同时螺纹段1301的上方与下方均转动连接有敲击杆24,敲击杆24轴连接于轴杆13上,且敲击杆24与轴杆13之间连接有用于转动复位的第二扭力弹簧2401。U形刷杆23通过抵接柱2301与敲击杆24的抵接构成敲击结构,且敲击杆24与第二扭力弹簧2401成组出现,并且敲击杆24通过第二扭力弹簧2401构成自动复位结构,如图1-2和图5-6所示,启动电机7,电机7启动后就会带动半齿辊8进行转动,半齿辊8转动后就会带动扇叶9进行转动并且会与外侧的全齿辊10进行啮合,进而带动全齿辊10反转第一扭力弹簧11进行转动,当半齿辊8不与全齿辊10啮合时,全齿辊10又会在第一扭力弹簧11的弹力作用下发生回转,进而使得全齿辊10一直进行往复转动,全齿辊10转动时会通过传动带12带动轴杆13同步进行往复转动,轴杆13转动后就会使得U形刷杆23在轴杆13上开设的螺纹段1301上进行上下移动,进而对透气窗6上的灰尘进行清扫,防止灰尘堆积而堵塞透气窗6,当U形刷杆23在螺纹段1301上移动至顶部或底部时,U形刷杆23上固定的抵接柱2301就会与顶部或底部的敲击杆24进行挤压接触,进而使得敲击杆24绕连接点进行转动,敲击杆24就会反转第二扭力弹簧2401而对U形刷杆23进行敲击,从而使得U形刷杆23上沾附的灰尘抖落下来,进而保持U形刷杆23的清洁性,当抵接柱2301与敲击杆24分离后,敲击杆24就会在第二扭力弹簧2401的弹力作用下进行复位,进而方便进行下次使用,从而实现在清洁灰尘的同时,U形刷杆23还可以进行自清洁。
轴杆13的上方套设有圆盘14,且圆盘14的顶部开设有牵引槽15,并且牵引槽15中连接有立柱1601,牵引槽15用于带动立柱1601进行活动,而且立柱1601固定于连接杆16的左侧底部,同时连接杆16的右端部连接有密封活塞1602,密封活塞1602密封滑动连接于转运过渡箱17中,且转运过渡箱17右侧端部的前后侧分别安装有第一单向阀18和第二单向阀20,并且第一单向阀18和第二单向阀20的输出端分别连接有出水管19和入水管21,而且出水管19和入水管21的端部均连接于冷却管22的两端,同时冷却管22嵌入式安装于外壳2的顶部内侧,冷却管22的底部贯穿外壳2的顶部密封安装有用于吸收热量的散热铜柱2201,且散热铜柱2201等间距分布于冷却管22的底部,并且散热铜柱2201的底部位于外壳2的内侧顶部。牵引槽15设置为旋涡状结构,且牵引槽15通过连接杆16和立柱1601带动密封活塞1602在转运过渡箱17中进行直线活动,并且连接杆16与牵引槽15之间贴合滑动。第一单向阀18、出水管19、第二单向阀20、入水管21和冷却管22构成水冷却结构,且第一单向阀18和出水管19构成只出不进的结构,第二单向阀20和入水管21构成只进不出的结构,如图1-3和图7所示,轴杆13在转动的同时还会带动圆盘14进行转动,圆盘14转动后就会通过牵引槽15带动立柱1601进行左右移动,立柱1601移动后就会带动连接杆16进行移动,连接杆16就会同步带动密封活塞1602在转运过渡箱17中往复移动,进而使得水加快循环速度,冷却管22中的水就会在第二单向阀20和入水管21的作用下抽入到转运过渡箱17,而后再通过第一单向阀18和出水管19的作用将水从转运过渡箱17重新输送到冷却管22中,冷却管22就会通过水的流动将热量进行传导走,并且配合散热铜柱2201,使得吸热效率更高,热量传导的更快,而且配合扇叶9的分冷,使得散热效果更好。
工作原理:在使用该断电自动上报的电能表时,如图1-7所示,首先,通过接线板5、弹性橡胶箍501和接线口502对连接线进行快速整理,而后启动电机7,半齿辊8、全齿辊10和第一扭力弹簧11带动U形刷杆23在螺纹段1301上往复移动进而对透气窗6上的灰尘进行清扫,且通过抵接柱2301、敲击杆24和第二扭力弹簧2401的作用对U形刷杆23进行自清洁,并且通过圆盘14、牵引槽15、连接杆16和密封活塞1602、第一单向阀18、出水管19、第二单向阀20、入水管21、冷却管22和散热铜柱2201加快水的流速,加快热量散失,提高散热效果,从而完成一系列工作。
本说明书中未作详细描述的内容属于本领域专业技术人员公知的现有技术,在本发明的描述中,除非另有说明,“多个”的含义是两个或两个以上;术语“上”、“下”、“左”、“右”、“内”、“外”、“前端”、“后端”、“头部”、“尾部”等指示的方位或位置关系为基于附图所示的方位或位置关系,仅是为了便于描述本发明和简化描述,而不是指示或暗示所指的装置或元件必须具有特定的方位、以特定的方位构造和操作,因此不能理解为对本发明的限制。此外,术语“第一”、“第二”、“第三”等仅用于描述目的,而不能理解为指示或暗示相对重要性。在本发明的描述中,需要说明的是,除非另有明确的规定和限定,术语“相连”、“连接”应做广义理解,例如,可以是固定连接,也可以是可拆卸连接,或一体地连接;可以是机械连接,也可以是电连接;可以是直接相连,也可以通过中间媒介间接相连。对于本领域的普通技术人员而言,可以具体情况理解上述术语在本发明中的具体含义。尽管参照前述实施例对本发明进行了详细的说明,对于本领域的技术人员来说,其依然可以对前述各实施例所记载的技术方案进行修改,或者对其中部分技术特征进行等同替换,凡在本发明的精神和原则之内,所作的任何修改、等同替换、改进等,均应包含在本发明的保护范围之内。

Claims (4)

1.一种断电自动上报的电能表,其特征在于:包括:
底座,位于电能表的底部用于承接表整体,且所述底座的顶部一体式固定安装有外壳,并且外壳的前侧底部开设有放置电子元件与相关仪器的容置腔,而且所述外壳的左右两端侧面对称安装有用于通风的透气窗,外壳两侧的轴杆的中部均开设有一段螺纹段,且螺纹段的外侧螺纹连接有U形刷杆,并且U形刷杆的刷毛与所述透气窗之间相贴合,而且U形刷杆左右两侧端部的上下端面上均一体式安装有用于推动的抵接柱,同时螺纹段的上方与下方均转动连接有敲击杆,所述敲击杆轴连接于所述轴杆上,且敲击杆与所述轴杆之间连接有用于转动复位的第二扭力弹簧,U形刷杆通过抵接柱与敲击杆的抵接构成敲击结构,且敲击杆与第二扭力弹簧成组出现,并且敲击杆通过第二扭力弹簧构成自动复位结构;
显示屏,安装于所述外壳的前侧上方,用于显示电能表的相关数值,并且所述外壳后侧面的上方和下方安装有用于连接固定的安装板,而且安装板与墙体相贴合;
电机,安装于所述外壳的顶面中部,且所述电机的输出端贯穿轴连接于所述外壳上,外壳左侧的轴杆的上方套设有圆盘,且圆盘的顶部开设有牵引槽,并且牵引槽中连接有立柱,牵引槽用于带动立柱进行活动,而且立柱固定于连接杆的左侧底部,同时连接杆的右端部连接有密封活塞,所述密封活塞密封滑动连接于转运过渡箱中,且转运过渡箱右侧端部的前后侧分别安装有第一单向阀和第二单向阀,并且第一单向阀和第二单向阀的输出端分别连接有出水管和入水管,而且出水管和入水管的端部均连接于冷却管的两端,同时冷却管嵌入式安装于所述外壳的顶部内侧,所述冷却管的底部贯穿所述外壳的顶部密封安装有用于吸收热量的散热铜柱,且散热铜柱等间距分布于冷却管的底部,并且散热铜柱的底部位于所述外壳的内侧顶部,牵引槽设置为旋涡状结构,且牵引槽通过连接杆和立柱带动密封活塞在转运过渡箱中进行直线活动,并且连接杆与牵引槽之间贴合滑动,第一单向阀、出水管、第二单向阀、入水管和冷却管构成水冷却结构,且第一单向阀和出水管构成只出不进的结构,第二单向阀和入水管构成只进不出的结构;
转运过渡箱,固定安装于所述外壳的顶部左侧,且所述转运过渡箱用于水资源的调度;
扇叶,固定套设于所述电机输出端的底部,且所述扇叶位于所述外壳内侧的顶部,用于加快热空气的流动。
2.根据权利要求1所述的一种断电自动上报的电能表,其特征在于:所述外壳内部的后侧端面的底部设置有接线板,且接线板的内部一体式等间距设置有弹性橡胶箍,并且弹性橡胶箍的中部开设有用于整理连接线的接线口,而且弹性橡胶箍通过弹性形变可对不同规格的连接线进行固定,同时接线口与弹性橡胶箍的位置与数量一一对应。
3.根据权利要求1所述的一种断电自动上报的电能表,其特征在于:所述电机输出端的中部套设有半齿辊,且半齿辊的外侧连接有全齿辊,并且全齿辊轴连接于所述外壳的顶部,而且全齿辊的底部与所述外壳之间有第一扭力弹簧,同时全齿辊的顶部外侧绕设有用于连接的传动带,所述传动带的两侧端部均套设有所述轴杆,且轴杆对称的轴连接于所述底座顶部的左右端部上。
4.根据权利要求3所述的一种断电自动上报的电能表,其特征在于:所述半齿辊与全齿辊相互啮合,且全齿辊通过第一扭力弹簧与半齿辊构成往复转动结构,并且半齿辊通过半齿辊与轴杆构成联动结构。
CN202110481122.7A 2021-04-30 2021-04-30 一种断电自动上报的电能表 Active CN113189382B (zh)

Priority Applications (1)

Application Number Priority Date Filing Date Title
CN202110481122.7A CN113189382B (zh) 2021-04-30 2021-04-30 一种断电自动上报的电能表

Applications Claiming Priority (1)

Application Number Priority Date Filing Date Title
CN202110481122.7A CN113189382B (zh) 2021-04-30 2021-04-30 一种断电自动上报的电能表

Publications (2)

Publication Number Publication Date
CN113189382A CN113189382A (zh) 2021-07-30
CN113189382B true CN113189382B (zh) 2022-10-21

Family

ID=76983100

Family Applications (1)

Application Number Title Priority Date Filing Date
CN202110481122.7A Active CN113189382B (zh) 2021-04-30 2021-04-30 一种断电自动上报的电能表

Country Status (1)

Country Link
CN (1) CN113189382B (zh)

Families Citing this family (5)

* Cited by examiner, † Cited by third party
Publication number Priority date Publication date Assignee Title
CN113555806A (zh) * 2021-09-11 2021-10-26 国家电网有限公司 一种基于物联网的智能温湿度调节的开关柜
CN113972584B (zh) * 2021-11-03 2023-10-20 国家电网有限公司 一种设有内部湿度检测调节机构的城市供电环网柜
CN114414873B (zh) * 2021-12-14 2023-05-05 中南仪表有限公司 一种单相远程费控智能电能表
CN114392951A (zh) * 2022-01-15 2022-04-26 韩国平 一种智慧城市用公共设备智能控制装置
CN114447817A (zh) * 2022-03-12 2022-05-06 刘俊 一种可对接口处进行二次固定的防漏电低压柜

Citations (8)

* Cited by examiner, † Cited by third party
Publication number Priority date Publication date Assignee Title
CN106093495A (zh) * 2016-06-02 2016-11-09 齐宽宽 一种具有可持续清洁能力的电能表
WO2017152365A1 (zh) * 2016-03-08 2017-09-14 马翼 一种全自动智能型空气净化器
CN107419682A (zh) * 2017-08-17 2017-12-01 张大伟 一种建筑施工现场用清扫除尘车
CN207424054U (zh) * 2017-10-31 2018-05-29 江苏苏源杰瑞科技有限公司 一种具有防水防潮效果的单相电子式电能表
CN211017953U (zh) * 2019-12-06 2020-07-14 重庆艾格润数控机床有限公司 一种用于电气控制系统的开关柜
CN211137189U (zh) * 2019-12-09 2020-07-31 南通亚振东方家具有限公司 一种家具生产用板料抓取装置
CN211453729U (zh) * 2019-09-06 2020-09-08 宁波泰丰源电气有限公司 一种具有通风防尘功能的直流电能表壳体
CN212905093U (zh) * 2020-09-02 2021-04-06 许博 一种电力营销用的除尘散热型电表

Patent Citations (8)

* Cited by examiner, † Cited by third party
Publication number Priority date Publication date Assignee Title
WO2017152365A1 (zh) * 2016-03-08 2017-09-14 马翼 一种全自动智能型空气净化器
CN106093495A (zh) * 2016-06-02 2016-11-09 齐宽宽 一种具有可持续清洁能力的电能表
CN107419682A (zh) * 2017-08-17 2017-12-01 张大伟 一种建筑施工现场用清扫除尘车
CN207424054U (zh) * 2017-10-31 2018-05-29 江苏苏源杰瑞科技有限公司 一种具有防水防潮效果的单相电子式电能表
CN211453729U (zh) * 2019-09-06 2020-09-08 宁波泰丰源电气有限公司 一种具有通风防尘功能的直流电能表壳体
CN211017953U (zh) * 2019-12-06 2020-07-14 重庆艾格润数控机床有限公司 一种用于电气控制系统的开关柜
CN211137189U (zh) * 2019-12-09 2020-07-31 南通亚振东方家具有限公司 一种家具生产用板料抓取装置
CN212905093U (zh) * 2020-09-02 2021-04-06 许博 一种电力营销用的除尘散热型电表

Also Published As

Publication number Publication date
CN113189382A (zh) 2021-07-30

Similar Documents

Publication Publication Date Title
CN113189382B (zh) 一种断电自动上报的电能表
CN217082996U (zh) 一种冷凝器的高效制冷装置
CN113437827A (zh) 一种直流无刷电机
CN102538082A (zh) 带自清洁功能的空调器外机
CN112525279A (zh) 一种基于物联网控制的智能水表
CN109862728B (zh) 一种微电网用风机控制器
CN114421710B (zh) 一种干式真空泵散热系统
CN208191130U (zh) 一种具有良好散热功能的通信柜
CN110594892A (zh) 岗位送风空调系统
CN211860898U (zh) 一种方便清洁的散热器
CN206409162U (zh) 一种技术服务用会议室智能百叶玻璃窗
CN210220015U (zh) 空调室内机
CN209594159U (zh) 一种智能机房送风系统
CN206145801U (zh) 一种全新的可封闭进风口的天花机
CN206055904U (zh) 一种空调导风机构
CN214683038U (zh) 一种智能数据采集网关装置
CN215181730U (zh) 一种智能型微电脑远程控制系统
CN117212911A (zh) 一种空调室外机除霜设备及除霜方法
CN212022584U (zh) 一种具有自动清洗功能的车载热风机
CN210023192U (zh) 一种便于粉尘清理的气象实验室用万向抽气装置
CN218735768U (zh) 一种具有散热功能的外壳
CN210113682U (zh) 一种多功能电能计算柜
CN219756562U (zh) 一种绿色建筑节能通风结构
CN223258322U (zh) 一种绿色建筑节能通风结构
CN214404068U (zh) 一种空调器用轴流风机

Legal Events

Date Code Title Description
PB01 Publication
PB01 Publication
SE01 Entry into force of request for substantive examination
SE01 Entry into force of request for substantive examination
GR01 Patent grant
GR01 Patent grant