CN112892306A - Raw material mixing device for water-based paint preparation - Google Patents

Raw material mixing device for water-based paint preparation Download PDF

Info

Publication number
CN112892306A
CN112892306A CN202110231368.9A CN202110231368A CN112892306A CN 112892306 A CN112892306 A CN 112892306A CN 202110231368 A CN202110231368 A CN 202110231368A CN 112892306 A CN112892306 A CN 112892306A
Authority
CN
China
Prior art keywords
fixedly connected
water
rotating shaft
shell
raw material
Prior art date
Legal status (The legal status is an assumption and is not a legal conclusion. Google has not performed a legal analysis and makes no representation as to the accuracy of the status listed.)
Pending
Application number
CN202110231368.9A
Other languages
Chinese (zh)
Inventor
蒋钦龙
Current Assignee (The listed assignees may be inaccurate. Google has not performed a legal analysis and makes no representation or warranty as to the accuracy of the list.)
Guangxi Baobao Environmental Protection Technology Co ltd
Original Assignee
Guangxi Baobao Environmental Protection Technology Co ltd
Priority date (The priority date is an assumption and is not a legal conclusion. Google has not performed a legal analysis and makes no representation as to the accuracy of the date listed.)
Filing date
Publication date
Application filed by Guangxi Baobao Environmental Protection Technology Co ltd filed Critical Guangxi Baobao Environmental Protection Technology Co ltd
Priority to CN202110231368.9A priority Critical patent/CN112892306A/en
Publication of CN112892306A publication Critical patent/CN112892306A/en
Pending legal-status Critical Current

Links

Images

Classifications

    • BPERFORMING OPERATIONS; TRANSPORTING
    • B01PHYSICAL OR CHEMICAL PROCESSES OR APPARATUS IN GENERAL
    • B01FMIXING, e.g. DISSOLVING, EMULSIFYING OR DISPERSING
    • B01F27/00Mixers with rotary stirring devices in fixed receptacles; Kneaders
    • B01F27/05Stirrers
    • B01F27/11Stirrers characterised by the configuration of the stirrers
    • B01F27/19Stirrers with two or more mixing elements mounted in sequence on the same axis
    • B01F27/191Stirrers with two or more mixing elements mounted in sequence on the same axis with similar elements
    • BPERFORMING OPERATIONS; TRANSPORTING
    • B01PHYSICAL OR CHEMICAL PROCESSES OR APPARATUS IN GENERAL
    • B01FMIXING, e.g. DISSOLVING, EMULSIFYING OR DISPERSING
    • B01F27/00Mixers with rotary stirring devices in fixed receptacles; Kneaders
    • B01F27/23Mixers with rotary stirring devices in fixed receptacles; Kneaders characterised by the orientation or disposition of the rotor axis
    • B01F27/232Mixers with rotary stirring devices in fixed receptacles; Kneaders characterised by the orientation or disposition of the rotor axis with two or more rotation axes
    • B01F27/2322Mixers with rotary stirring devices in fixed receptacles; Kneaders characterised by the orientation or disposition of the rotor axis with two or more rotation axes with parallel axes
    • BPERFORMING OPERATIONS; TRANSPORTING
    • B01PHYSICAL OR CHEMICAL PROCESSES OR APPARATUS IN GENERAL
    • B01FMIXING, e.g. DISSOLVING, EMULSIFYING OR DISPERSING
    • B01F27/00Mixers with rotary stirring devices in fixed receptacles; Kneaders
    • B01F27/80Mixers with rotary stirring devices in fixed receptacles; Kneaders with stirrers rotating about a substantially vertical axis
    • B01F27/90Mixers with rotary stirring devices in fixed receptacles; Kneaders with stirrers rotating about a substantially vertical axis with paddles or arms 
    • BPERFORMING OPERATIONS; TRANSPORTING
    • B01PHYSICAL OR CHEMICAL PROCESSES OR APPARATUS IN GENERAL
    • B01FMIXING, e.g. DISSOLVING, EMULSIFYING OR DISPERSING
    • B01F35/00Accessories for mixers; Auxiliary operations or auxiliary devices; Parts or details of general application
    • B01F35/10Maintenance of mixers
    • B01F35/12Maintenance of mixers using mechanical means
    • B01F35/123Maintenance of mixers using mechanical means using scrapers for cleaning mixers
    • BPERFORMING OPERATIONS; TRANSPORTING
    • B01PHYSICAL OR CHEMICAL PROCESSES OR APPARATUS IN GENERAL
    • B01FMIXING, e.g. DISSOLVING, EMULSIFYING OR DISPERSING
    • B01F2101/00Mixing characterised by the nature of the mixed materials or by the application field
    • B01F2101/30Mixing paints or paint ingredients, e.g. pigments, dyes, colours, lacquers or enamel

Landscapes

  • Chemical & Material Sciences (AREA)
  • Chemical Kinetics & Catalysis (AREA)
  • Engineering & Computer Science (AREA)
  • Mechanical Engineering (AREA)
  • Mixers Of The Rotary Stirring Type (AREA)

Abstract

本发明公开了一种水性涂料制备用原料混合装置,通过支撑脚与外壳固定连接,出料管与外壳固定连接,出料阀门与出料管的另一侧固定连接,进料管与外壳固定连接,进料阀门与进料管的另一侧固定连接,第一电机与外壳固定连接,第一转轴与第一电机输出端固定连接,第一刮板与第一转轴固定连接,安装架与第一转轴固定连接,第二电机与安装架固定连接,第二转轴与第二电机输出端固定连接,搅拌扇叶与第二转轴固定连接,气缸与外壳固定连接,活塞杆与气缸的输出端固定连接,连接板与活塞杆的另一侧固定连接,第二刮板与连接板固定连接,补水机构与外壳固定连接,解决了原料混合装置混合后的涂料附着在装置内壁上造成资源浪费的问题。

Figure 202110231368

The invention discloses a raw material mixing device for water-based paint preparation, which is fixedly connected with a casing through a supporting foot, a discharge pipe is fixedly connected with the casing, a discharge valve is fixedly connected with the other side of the discharge pipe, and the feed pipe is fixed with the casing Connection, the feeding valve is fixedly connected to the other side of the feeding pipe, the first motor is fixedly connected to the shell, the first rotating shaft is fixedly connected to the output end of the first motor, the first scraper is fixedly connected to the first rotating shaft, and the mounting frame is fixedly connected to the The first rotating shaft is fixedly connected, the second motor is fixedly connected to the mounting frame, the second rotating shaft is fixedly connected to the output end of the second motor, the stirring fan blade is fixedly connected to the second rotating shaft, the cylinder is fixedly connected to the housing, and the piston rod is fixedly connected to the output end of the cylinder Fixed connection, the connecting plate is fixedly connected to the other side of the piston rod, the second scraper is fixedly connected to the connecting plate, and the water replenishing mechanism is fixedly connected to the shell, which solves the problem that the paint mixed by the raw material mixing device adheres to the inner wall of the device and causes waste of resources. question.

Figure 202110231368

Description

Raw material mixing device for water-based paint preparation
Technical Field
The invention relates to the technical field of mixing devices, in particular to a raw material mixing device for preparing a water-based paint.
Background
Water-based paint, also known as water-based paint or water-dispersed paint, is a paint system prepared by using water as a dispersion medium, namely a continuous phase, and using resin as a dispersed phase. The paint is mainly classified into water-based acrylate paint, water-based vinyl acetate paint, water-based polyvinyl alcohol paint, water-based styrene paint, water-based vinyl chloride paint, water-based fluorine-containing paint, water-based phenolic paint, water-based amino paint, water-based epoxy paint, water-based alkyd paint, water-based polyurethane paint and the like according to the material classification.
The production process of the water-based paint is to add water and various raw materials into a dispersion tank in a certain sequence, and achieve the purpose of uniform dispersion through grinding, stirring and other modes, thereby obtaining the final product. In the production process, raw material mixing and stirring equipment is required to be used for uniformly mixing various raw materials added in the production process of the coating. The coating after the current raw materials mixing arrangement mixes is attached to the device inner wall, can not discharge and use to cause the wasting of resources.
Disclosure of Invention
The invention aims to provide a raw material mixing device for preparing water-based paint, and aims to solve the problem of resource waste caused by the fact that the paint mixed by the raw material mixing device is attached to the inner wall of the device.
In order to achieve the above purpose, the invention provides a raw material mixing device for preparing a water-based paint, which comprises three supporting legs, a shell, a discharging pipe, a discharging valve, two feeding pipes, two feeding valves, a first motor, a first rotating shaft, a first scraper blade, an installation frame, two second motors, two second rotating shafts, a plurality of stirring blades, two air cylinders, two piston rods, two connecting plates, two second scraper blades and a water supplementing mechanism, wherein the three supporting legs are respectively and fixedly connected with the shell and are positioned on one side of the shell, the discharging pipe is fixedly connected with the shell and is positioned on one side close to the supporting legs, the discharging valve is fixedly connected with the other side of the discharging pipe, the two feeding pipes are respectively and fixedly connected with the shell and are positioned on one side far away from the discharging pipe, and the two feeding valves are respectively and fixedly connected with the other sides of the two feeding pipes, the first motor is fixedly connected with the shell and positioned at one side far away from the discharge pipe, the first rotating shaft is fixedly connected with the output end of the first motor, the first scraper blade is fixedly connected with the first rotating shaft and positioned at the outer side wall of the first rotating shaft, the mounting frame is fixedly connected with the first rotating shaft and positioned around the first rotating shaft, the two second motors are respectively and fixedly connected with the mounting frame and positioned at two sides of the mounting frame, the two second rotating shafts are respectively and fixedly connected with the output ends of the two second motors, the stirring blades are respectively and fixedly connected with the two second rotating shafts and positioned around the second rotating shafts, the two cylinders are respectively and fixedly connected with the shell and positioned at one side near the first motor, and the two piston rods are respectively and fixedly connected with the output ends of the two cylinders, the two connecting plates are respectively fixedly connected with the other sides of the two piston rods, the two second scraping plates are respectively fixedly connected with the two connecting plates and are positioned between the connecting plates and the first scraping plates, and the water supplementing mechanism is fixedly connected with the shell and penetrates through the shell.
Wherein, moisturizing mechanism includes water tank, two inlet tubes, two water pumps and two outlet pipes, the water tank with shell fixed connection to be located and be close to one side of first motor, two the inlet tube respectively with water tank fixed connection all runs through the water tank, two the water pump respectively with two inlet tube fixed connection all is located and keeps away from one side of water tank, two one side of outlet pipe respectively with the opposite side fixed connection of water pump, two the opposite side of outlet pipe respectively with shell fixed connection all runs through the shell.
The water replenishing mechanism further comprises two spray heads, wherein the two spray heads are fixedly connected with the two water outlet pipes respectively and are located inside the shell.
The raw material mixing device for preparing the water-based paint further comprises a fixing block, the fixing block is fixedly connected with the first rotating shaft and located around the first rotating shaft, and the mounting frame is fixedly connected with the fixing block and located between the first motor and the fixing block.
Wherein, raw materials mixing arrangement is used in water based paint preparation still includes the shock pad, one side of shock pad with mounting bracket fixed connection to be located and be close to one side of first pivot, the opposite side of shock pad with first pivot fixed connection.
Wherein, raw materials mixing arrangement is used in water based paint preparation still includes two feed hopper, two feed hopper respectively with two feed valve fixed connection all is located and keeps away from one side of inlet pipe.
Wherein, raw materials mixing arrangement is used in water based paint preparation still includes two filter screens, two the filter screen respectively with two feed hopper fixed connection all is located and is close to one side of feed valve.
The raw material mixing device for preparing the water-based paint is fixedly connected with the shell through three supporting legs respectively and is positioned on one side of the shell, the discharging pipe is fixedly connected with the shell and is positioned on one side close to the supporting legs, the discharging valve is fixedly connected with the other side of the discharging pipe, two feeding pipes are fixedly connected with the shell respectively and are positioned on one side far away from the discharging pipe respectively, two feeding valves are fixedly connected with the other sides of the two feeding pipes respectively, the first motor is fixedly connected with the shell and is positioned on one side far away from the discharging pipe, the first rotating shaft is fixedly connected with the output end of the first motor, the first scraping plate is fixedly connected with the first rotating shaft and is positioned on the outer side wall of the first rotating shaft, and the mounting frame is fixedly connected with the first rotating shaft, and be located around first pivot, two the second motor respectively with mounting bracket fixed connection all is located the mounting bracket both sides, two the second pivot respectively with two second motor output fixed connection, a plurality of stirring fan blade respectively with two second pivot fixed connection all is located around the second pivot, two the cylinder respectively with shell fixed connection all is located and is close to one side of first motor, two the piston rod respectively with two the output fixed connection of cylinder, two the connecting plate respectively with two the opposite side fixed connection of piston rod, two the second scraper blade respectively with two connecting plate fixed connection all is located the connecting plate with between the first scraper blade, moisturizing mechanism with shell fixed connection to run through the shell has solved the coating after the raw materials mixing arrangement mixes and has attached to and cause the wasting of resources problem on the device inner wall.
Drawings
In order to more clearly illustrate the embodiments of the present invention or the technical solutions in the prior art, the drawings used in the description of the embodiments or the prior art will be briefly described below, it is obvious that the drawings in the following description are only some embodiments of the present invention, and for those skilled in the art, other drawings can be obtained according to the drawings without creative efforts.
FIG. 1 is a schematic structural view of a raw material mixing apparatus for aqueous paint preparation;
FIG. 2 is a cross-sectional view of a raw material mixing apparatus for aqueous paint preparation;
FIG. 3 is a partial enlarged view A of FIG. 2;
fig. 4 is a schematic view of the structure of the feed hopper and the filter screen.
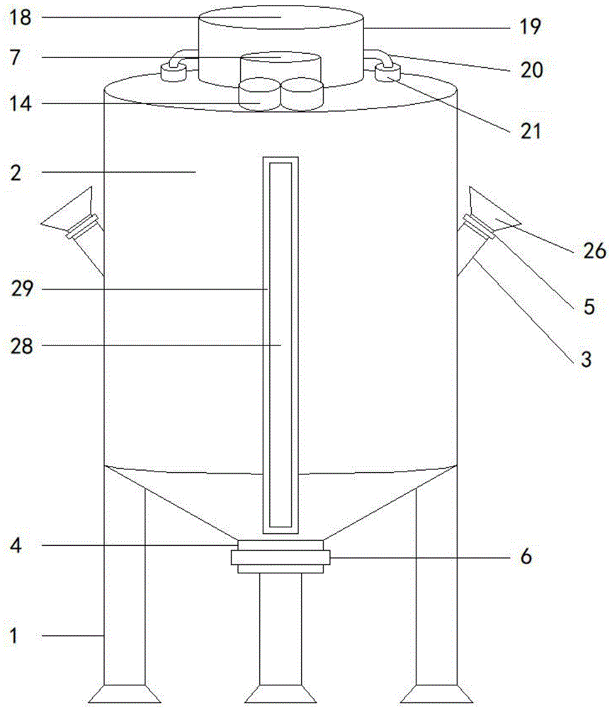
1-supporting foot, 2-shell, 3-feeding pipe, 4-discharging pipe, 5-feeding valve, 6-discharging valve, 7-first motor, 8-first rotating shaft, 9-first scraper, 10-mounting rack, 11-second motor, 12-second rotating shaft, 13-stirring fan blade, 14-air cylinder, 15-piston rod, 16-connecting plate, 17-second scraper, 18-water replenishing mechanism, 19-water tank, 20-water inlet pipe, 21-water pump, 22-water outlet pipe, 23-nozzle, 24-fixing block, 25-shock pad, 26-feeding funnel, 27-filter screen, 28-observation window and 29-sealing ring.
Detailed Description
Reference will now be made in detail to embodiments of the present invention, examples of which are illustrated in the accompanying drawings, wherein like or similar reference numerals refer to the same or similar elements or elements having the same or similar function throughout. The embodiments described below with reference to the drawings are illustrative and intended to be illustrative of the invention and are not to be construed as limiting the invention.
In the description of the present invention, it is to be understood that the terms "longitudinal", "lateral", "upper", "lower", "left", "right", "top", "bottom", "inner", "outer", and the like refer to the orientation or positional relationship as shown in the drawings, which is for convenience of description and simplicity of description, and does not indicate or imply that the referenced device or element must be constructed and operated in a particular orientation or orientation, and thus, is not to be construed as limiting the present invention. In addition, in the description of the present invention, "a plurality" means two or more unless specifically limited otherwise.
Referring to fig. 1 to 4, the present invention provides a raw material mixing device for preparing a water-based paint, including three supporting legs 1, a housing 2, a discharging tube 4, a discharging valve 6, two feeding tubes 3, two feeding valves 5, a first motor 7, a first rotating shaft 8, a first scraping plate 9, an installation frame 10, two second motors 11, two second rotating shafts 12, a plurality of stirring blades 13, two air cylinders 14, two piston rods 15, two connecting plates 16, two second scraping plates 17 and a water replenishing mechanism 18, wherein the three supporting legs 1 are respectively and fixedly connected with the housing 2 and are all located on one side of the housing 2, the discharging tube 4 is fixedly connected with the housing 2 and is located on one side close to the supporting legs 1, the discharging valve 6 is fixedly connected with the other side of the discharging tube 4, and the two feeding tubes 3 are respectively and fixedly connected with the housing 2, the two feeding valves 5 are respectively fixedly connected with the other sides of the two feeding pipes 3, the first motor 7 is fixedly connected with the shell 2 and is positioned on one side far away from the discharging pipe 4, the first rotating shaft 8 is fixedly connected with the output end of the first motor 7, the first scraper blade 9 is fixedly connected with the first rotating shaft 8 and is positioned on the outer side wall of the first rotating shaft 8, the mounting frame 10 is fixedly connected with the first rotating shaft 8 and is positioned around the first rotating shaft 8, the two second motors 11 are respectively fixedly connected with the mounting frame 10 and are positioned on two sides of the mounting frame 10, the two second rotating shafts 12 are respectively fixedly connected with the output ends of the two second motors 11, the plurality of stirring fan blades 13 are respectively fixedly connected with the two second rotating shafts 12 and are positioned around the second rotating shafts 12, two the cylinder 14 respectively with shell 2 fixed connection all is located and is close to one side of first motor 7, two the piston rod 15 respectively with two the output fixed connection of cylinder 14, two the connecting plate 16 respectively with two the opposite side fixed connection of piston rod 15, two the second scraper blade 17 respectively with two connecting plate 16 fixed connection all is located the connecting plate 16 with between the first scraper blade 9, moisturizing mechanism 18 with shell 2 fixed connection, and run through shell 2.
In this embodiment, the feeding valve 5 on the feeding pipe 3 is opened, the raw material of the coating is fed into the casing 2 from the feeding pipe 3, the water replenishing mechanism 18 supplies water for the raw material mixing, when the raw material is mixed, the first motor 7 drives the first rotating shaft 8 to drive the first scraper blade 9 to rotate so as to scrape the coating attached to the inner wall of the casing 2, the second motor 11 installed on the mounting frame 10 on the first rotating shaft 8 drives the second rotating shaft 12 to drive the stirring fan blades 13 to stir and mix the raw material in the casing 2, when the mixing is finished, the second motor 11 stops working, the discharging valve 6 on the discharging pipe 4 is opened, the coating is discharged from the discharging pipe 4, and the first rotating shaft 8 is still driven by the first motor 7 to drive the first scraper blade 9 to scrape the coating, until the ejection of compact is accomplished, first motor 7 drive first pivot 8 will first scraper blade 9 resets to two between the connecting plate 16, two cylinder 14 drive two piston rod 15 drives on the connecting plate 16 second scraper blade 17 will the adnexed coating in first scraper blade 9 both sides scrape extremely discharging pipe 4 discharges, supporting legs 1 has increased the stability of shell 2 has solved the coating after the raw materials mixing arrangement mixes and has attached to the problem that causes the wasting of resources on the device inner wall.
Further, moisturizing mechanism 18 includes water tank 19, two inlet tubes 20, two water pumps 21 and two outlet pipes 22, water tank 19 with 2 fixed connection of shell to be located and be close to one side of first motor 7, two inlet tube 20 respectively with 19 fixed connection of water tank all runs through water tank 19, two water pump 21 respectively with two 20 fixed connection of inlet tube all is located and keeps away from one side of water tank 19, two one side of outlet pipe 22 respectively with 21's opposite side fixed connection, two the opposite side of outlet pipe 22 respectively with 2 fixed connection of shell, all run through shell 2.
In this embodiment, the water pump 21 drives the water inlet pipe 20 to deliver the water in the water tank 19 to the inside of the housing 2 through the water outlet pipe 22.
Further, the water supplementing mechanism 18 further includes two spray heads 23, and the two spray heads 23 are respectively and fixedly connected with the two water outlet pipes 22 and are both located inside the housing 2.
In this embodiment, the two nozzles 23 on the outlet pipe 22 make the water spray more uniformly inside the housing 2.
Further, raw materials mixing arrangement is used in water based paint preparation still includes fixed block 24, fixed block 24 with first pivot 8 fixed connection, and be located around the first pivot 8, mounting bracket 10 with fixed block 24 fixed connection, and be located first motor 7 with between the fixed block 24.
In the present embodiment, in order to prevent the mounting bracket 10 from slipping off the first rotating shaft 8, the fixing block 24 is disposed at the bottom end of the mounting bracket 10.
Further, raw materials mixing arrangement is used in water based paint preparation still includes shock pad 25, one side of shock pad 25 with mounting bracket 10 fixed connection to be located and be close to one side of first pivot 8, the opposite side of shock pad 25 with first pivot 8 fixed connection.
In this embodiment, the shock absorbing pad 25 between the mounting frame 10 and the first rotating shaft 8 can effectively reduce the vibration generated by the first motor 7 and the second motor 11 during operation.
Further, raw materials mixing arrangement is used in water based paint preparation still includes two feed hopper 26, two feed hopper 26 respectively with two feed valve 5 fixed connection all is located and keeps away from one side of inlet pipe 3.
In this embodiment, the scattering of the raw material can be effectively avoided far from the feeding pipe 3 through the feeding funnel 26.
Further, raw materials mixing arrangement is used in water based paint preparation still includes two filter screens 27, two filter screen 27 respectively with two feed hopper 26 fixed connection, all are located near one side of feed valve 5.
In this embodiment, the filter screen 27 on the feeding funnel 26 can filter out large particles in the raw material before the raw material is fed into the feeding funnel 26 into the inside of the housing 2.
Further, the raw material mixing device for preparing the water-based paint further comprises an observation window 28, wherein the observation window 28 is fixedly connected with the shell 2 and penetrates through the shell 2.
In the present embodiment, the mixing of the paint in the housing 2 can be observed through the observation window 28.
Further, raw material mixing device for preparing water-based paint still includes sealing washer 29, one side of sealing washer 29 with observation window 28 fixed connection, and be located observation window 28 is all around, the opposite side of sealing washer 29 with shell 2 fixed connection
In the present embodiment, in order to prevent the paint in the housing 2 from flowing out through the gap between the observation window 28 and the housing 2, the seal ring 29 is provided between the observation window 28 and the housing 2 to fill the gap.
The raw material mixing device for preparing the water-based paint is characterized in that the feeding valve 5 on the feeding pipe 3 is opened, the raw material of the paint is fed into the shell 2 from the feeding pipe 3, the water supplementing mechanism 18 supplies water for the raw material mixing, when the raw material is mixed, the first motor 7 drives the first rotating shaft 8 to drive the first scraping plate 9 to rotate so as to scrape the paint attached to the inner wall of the shell 2, the second motor 11 arranged on the mounting frame 10 on the first rotating shaft 8 drives the second rotating shaft 12 to drive the stirring fan blades 13 to stir and mix the raw material in the shell 2, when the mixing is finished, the second motor 11 stops working, the discharging valve 6 on the discharging pipe 4 is opened, the paint is discharged from the discharging pipe 4, and the first rotating shaft 8 is still driven by the first motor 7 to drive the first scraping plate 9 to scrape the paint, until the ejection of compact is accomplished, first motor 7 drive first pivot 8 will first scraper blade 9 resets to two between the connecting plate 16, two cylinder 14 drive two piston rod 15 drives on the connecting plate 16 second scraper blade 17 will the adnexed coating in first scraper blade 9 both sides scrape extremely discharging pipe 4 discharges, supporting legs 1 has increased the stability of shell 2 has solved the coating after the raw materials mixing arrangement mixes and has attached to the problem that causes the wasting of resources on the device inner wall.
While the invention has been described with reference to a preferred embodiment of a raw material mixing apparatus for preparing an aqueous coating material, it will be understood by those skilled in the art that the invention is not limited thereto, and that all or a portion of the process flow for implementing the embodiment described above may be equally varied, and still fall within the scope of the invention.

Claims (7)

1. A raw material mixing device for preparing water-based paint is characterized by comprising three supporting legs, a shell, a discharging pipe, a discharging valve, two feeding pipes, two feeding valves, a first motor, a first rotating shaft, a first scraper blade, a mounting frame, two second motors, two second rotating shafts, a plurality of stirring fan blades, two air cylinders, two piston rods, two connecting plates, two second scraper blades and a water supplementing mechanism, wherein the three supporting legs are fixedly connected with the shell respectively and are positioned on one side of the shell, the discharging pipe is fixedly connected with the shell and is positioned on one side close to the supporting legs, the discharging valve is fixedly connected with the other side of the discharging pipe, the two feeding pipes are fixedly connected with the shell respectively and are positioned on one side far away from the discharging pipe, and the two feeding valves are fixedly connected with the other sides of the two feeding pipes respectively, the first motor is fixedly connected with the shell and positioned at one side far away from the discharge pipe, the first rotating shaft is fixedly connected with the output end of the first motor, the first scraper blade is fixedly connected with the first rotating shaft and positioned at the outer side wall of the first rotating shaft, the mounting frame is fixedly connected with the first rotating shaft and positioned around the first rotating shaft, the two second motors are respectively and fixedly connected with the mounting frame and positioned at two sides of the mounting frame, the two second rotating shafts are respectively and fixedly connected with the output ends of the two second motors, the stirring blades are respectively and fixedly connected with the two second rotating shafts and positioned around the second rotating shafts, the two cylinders are respectively and fixedly connected with the shell and positioned at one side near the first motor, and the two piston rods are respectively and fixedly connected with the output ends of the two cylinders, the two connecting plates are respectively fixedly connected with the other sides of the two piston rods, the two second scraping plates are respectively fixedly connected with the two connecting plates and are positioned between the connecting plates and the first scraping plates, and the water supplementing mechanism is fixedly connected with the shell and penetrates through the shell.
2. The raw material mixing device for preparing the water-based paint, as recited in claim 1, wherein the water charging mechanism comprises a water tank, two water inlet pipes, two water pumps and two water outlet pipes, the water tank is fixedly connected to the housing and located at a side close to the first motor, the two water inlet pipes are respectively fixedly connected to the water tank and both penetrate through the water tank, the two water pumps are respectively fixedly connected to the two water inlet pipes and both located at a side far from the water tank, one side of the two water outlet pipes is respectively fixedly connected to the other side of the water pump, and the other side of the two water outlet pipes is respectively fixedly connected to the housing and both penetrates through the housing.
3. The raw material mixing device for preparing the water-based paint, according to claim 2, wherein the water replenishing mechanism further comprises two nozzles, and the two nozzles are respectively and fixedly connected with the two water outlet pipes and are both positioned in the shell.
4. The raw material mixing device for preparing the water-based paint, according to claim 1, further comprising a fixing block, wherein the fixing block is fixedly connected with the first rotating shaft and located around the first rotating shaft, and the mounting bracket is fixedly connected with the fixing block and located between the first motor and the fixing block.
5. The raw material mixing device for preparing water-based paint according to claim 1, further comprising a shock pad, wherein one side of the shock pad is fixedly connected to the mounting frame and is located at a side close to the first rotating shaft, and the other side of the shock pad is fixedly connected to the first rotating shaft.
6. The raw material mixing device for preparing the water-based paint, as recited in claim 1, further comprising two feeding funnels, wherein the two feeding funnels are respectively and fixedly connected with the two feeding valves, and are located on one side away from the feeding pipe.
7. The raw material mixing device for preparing the water-based paint as claimed in claim 6, wherein the raw material mixing device for preparing the water-based paint further comprises two filter screens, and the two filter screens are respectively and fixedly connected with the two feeding funnels and are positioned at one side close to the feeding valve.
CN202110231368.9A 2021-03-02 2021-03-02 Raw material mixing device for water-based paint preparation Pending CN112892306A (en)

Priority Applications (1)

Application Number Priority Date Filing Date Title
CN202110231368.9A CN112892306A (en) 2021-03-02 2021-03-02 Raw material mixing device for water-based paint preparation

Applications Claiming Priority (1)

Application Number Priority Date Filing Date Title
CN202110231368.9A CN112892306A (en) 2021-03-02 2021-03-02 Raw material mixing device for water-based paint preparation

Publications (1)

Publication Number Publication Date
CN112892306A true CN112892306A (en) 2021-06-04

Family

ID=76107428

Family Applications (1)

Application Number Title Priority Date Filing Date
CN202110231368.9A Pending CN112892306A (en) 2021-03-02 2021-03-02 Raw material mixing device for water-based paint preparation

Country Status (1)

Country Link
CN (1) CN112892306A (en)

Citations (6)

* Cited by examiner, † Cited by third party
Publication number Priority date Publication date Assignee Title
US4810099A (en) * 1987-05-06 1989-03-07 Berwind Corporation Mixer
US20100133464A1 (en) * 2005-06-08 2010-06-03 Keiji Tomura Heat storage substance, heat storage agent, heat reservoir, heat transport medium, cold insulation agent, cold insulator, melting point control agent for heat storage agent, supercooling preventive agent for heat storage agent and method for producing main agent of heat storage agent heat transport medium, or cold insulation agent
CN109225013A (en) * 2018-09-14 2019-01-18 合肥瀚鹏新能源有限公司 A kind of electric coating agitating device
CN210905893U (en) * 2019-09-19 2020-07-03 湖北唯吾新材料科技有限公司 Agitating unit is used in coating production
CN111482125A (en) * 2020-05-06 2020-08-04 山东大学齐鲁医院 An oral clinical impression material blending and extrusion device
CN214635689U (en) * 2021-03-02 2021-11-09 广西镀宝环保科技有限公司 Raw material mixing device for water-based paint preparation

Patent Citations (6)

* Cited by examiner, † Cited by third party
Publication number Priority date Publication date Assignee Title
US4810099A (en) * 1987-05-06 1989-03-07 Berwind Corporation Mixer
US20100133464A1 (en) * 2005-06-08 2010-06-03 Keiji Tomura Heat storage substance, heat storage agent, heat reservoir, heat transport medium, cold insulation agent, cold insulator, melting point control agent for heat storage agent, supercooling preventive agent for heat storage agent and method for producing main agent of heat storage agent heat transport medium, or cold insulation agent
CN109225013A (en) * 2018-09-14 2019-01-18 合肥瀚鹏新能源有限公司 A kind of electric coating agitating device
CN210905893U (en) * 2019-09-19 2020-07-03 湖北唯吾新材料科技有限公司 Agitating unit is used in coating production
CN111482125A (en) * 2020-05-06 2020-08-04 山东大学齐鲁医院 An oral clinical impression material blending and extrusion device
CN214635689U (en) * 2021-03-02 2021-11-09 广西镀宝环保科技有限公司 Raw material mixing device for water-based paint preparation

Similar Documents

Publication Publication Date Title
CN210473774U (en) High-efficient agitator tank is used in beautiful seam agent processing
CN221244968U (en) Carbon nanotube conductive paste stirring device
CN214635689U (en) Raw material mixing device for water-based paint preparation
CN108714967A (en) A kind of self-cleaning concrete mixer
CN112892306A (en) Raw material mixing device for water-based paint preparation
CN209952659U (en) High-efficient anti expanding agent compounding device that splits that mixes
CN117101804B (en) Screen dredging system for sand mill
CN116571160B (en) Nozzle, propylene pigment stirring equipment for nozzle and stirring method
CN215282656U (en) Environment-friendly high-efficiency U-shaped vertical cutter mortar mixer
CN207822919U (en) A kind of dispersing apparatus of Water-borne modification steam coating material production
CN216573096U (en) Reaction kettle for producing mine safe functional polymer material
CN118179401A (en) Reaction curing equipment for preparing solvent-free adhesive
CN208465714U (en) A kind of mixing machine of mixing dynamics anti-sticking inner wall by force
CN118144129A (en) A homogenizing mechanism and closed kneading machine for producing automotive-grade silicone tubes
CN214210504U (en) 3-stirring tank for pyrroline
CN116251543A (en) High-speed catalytic gas-liquid mass transfer self-priming reaction kettle
CN212942473U (en) A feed mixing device
CN222197354U (en) Coal washing flotation device
CN221601687U (en) A device for preparing high-density nanobubbles using high-pressure microchannel technology
CN218573379U (en) Light building block binder production mixing arrangement convenient to wash
CN213563488U (en) Clean type concrete mixing device
CN107537359A (en) Filter cake is into sizing device
CN222118891U (en) Separated sewage treatment equipment
CN221664175U (en) Anti-blocking mortar spraying machine
CN221136486U (en) Particle mixer

Legal Events

Date Code Title Description
PB01 Publication
PB01 Publication
SE01 Entry into force of request for substantive examination
SE01 Entry into force of request for substantive examination
RJ01 Rejection of invention patent application after publication
RJ01 Rejection of invention patent application after publication

Application publication date: 20210604