CN112802295B - 一种节能型安防报警装置 - Google Patents
一种节能型安防报警装置 Download PDFInfo
- Publication number
- CN112802295B CN112802295B CN202110365069.4A CN202110365069A CN112802295B CN 112802295 B CN112802295 B CN 112802295B CN 202110365069 A CN202110365069 A CN 202110365069A CN 112802295 B CN112802295 B CN 112802295B
- Authority
- CN
- China
- Prior art keywords
- fixedly connected
- alarm
- box
- plate
- connecting plate
- Prior art date
- Legal status (The legal status is an assumption and is not a legal conclusion. Google has not performed a legal analysis and makes no representation as to the accuracy of the status listed.)
- Active
Links
- 230000007246 mechanism Effects 0.000 claims abstract description 35
- 239000000779 smoke Substances 0.000 claims description 13
- 238000004887 air purification Methods 0.000 claims description 10
- 238000000746 purification Methods 0.000 claims description 10
- 230000003139 buffering effect Effects 0.000 claims description 4
- 238000013016 damping Methods 0.000 claims description 4
- 241000883990 Flabellum Species 0.000 claims description 2
- 239000007788 liquid Substances 0.000 claims 1
- 238000010248 power generation Methods 0.000 claims 1
- 230000000694 effects Effects 0.000 abstract description 5
- 230000002708 enhancing effect Effects 0.000 abstract 1
- OKTJSMMVPCPJKN-UHFFFAOYSA-N Carbon Chemical compound [C] OKTJSMMVPCPJKN-UHFFFAOYSA-N 0.000 description 7
- 230000017525 heat dissipation Effects 0.000 description 4
- 238000010586 diagram Methods 0.000 description 3
- 238000000034 method Methods 0.000 description 3
- 230000002265 prevention Effects 0.000 description 3
- 230000008569 process Effects 0.000 description 3
- XLYOFNOQVPJJNP-UHFFFAOYSA-N water Substances O XLYOFNOQVPJJNP-UHFFFAOYSA-N 0.000 description 3
- 230000003028 elevating effect Effects 0.000 description 2
- 239000012530 fluid Substances 0.000 description 2
- 230000009545 invasion Effects 0.000 description 2
- 230000002035 prolonged effect Effects 0.000 description 2
- 238000010521 absorption reaction Methods 0.000 description 1
- 230000009471 action Effects 0.000 description 1
- 230000006978 adaptation Effects 0.000 description 1
- 230000009286 beneficial effect Effects 0.000 description 1
- 229910052799 carbon Inorganic materials 0.000 description 1
- 238000004140 cleaning Methods 0.000 description 1
- 230000007123 defense Effects 0.000 description 1
- 239000000428 dust Substances 0.000 description 1
- 238000005516 engineering process Methods 0.000 description 1
- 239000000203 mixture Substances 0.000 description 1
- 230000004048 modification Effects 0.000 description 1
- 238000012986 modification Methods 0.000 description 1
- 230000007306 turnover Effects 0.000 description 1
- 239000002699 waste material Substances 0.000 description 1
Images
Classifications
-
- G—PHYSICS
- G08—SIGNALLING
- G08B—SIGNALLING OR CALLING SYSTEMS; ORDER TELEGRAPHS; ALARM SYSTEMS
- G08B17/00—Fire alarms; Alarms responsive to explosion
- G08B17/10—Actuation by presence of smoke or gases, e.g. automatic alarm devices for analysing flowing fluid materials by the use of optical means
-
- F—MECHANICAL ENGINEERING; LIGHTING; HEATING; WEAPONS; BLASTING
- F24—HEATING; RANGES; VENTILATING
- F24F—AIR-CONDITIONING; AIR-HUMIDIFICATION; VENTILATION; USE OF AIR CURRENTS FOR SCREENING
- F24F13/00—Details common to, or for air-conditioning, air-humidification, ventilation or use of air currents for screening
- F24F13/28—Arrangement or mounting of filters
-
- G—PHYSICS
- G08—SIGNALLING
- G08B—SIGNALLING OR CALLING SYSTEMS; ORDER TELEGRAPHS; ALARM SYSTEMS
- G08B13/00—Burglar, theft or intruder alarms
- G08B13/18—Actuation by interference with heat, light, or radiation of shorter wavelength; Actuation by intruding sources of heat, light, or radiation of shorter wavelength
- G08B13/189—Actuation by interference with heat, light, or radiation of shorter wavelength; Actuation by intruding sources of heat, light, or radiation of shorter wavelength using passive radiation detection systems
- G08B13/19—Actuation by interference with heat, light, or radiation of shorter wavelength; Actuation by intruding sources of heat, light, or radiation of shorter wavelength using passive radiation detection systems using infrared-radiation detection systems
-
- G—PHYSICS
- G08—SIGNALLING
- G08B—SIGNALLING OR CALLING SYSTEMS; ORDER TELEGRAPHS; ALARM SYSTEMS
- G08B19/00—Alarms responsive to two or more different undesired or abnormal conditions, e.g. burglary and fire, abnormal temperature and abnormal rate of flow
- G08B19/005—Alarms responsive to two or more different undesired or abnormal conditions, e.g. burglary and fire, abnormal temperature and abnormal rate of flow combined burglary and fire alarm systems
-
- H—ELECTRICITY
- H02—GENERATION; CONVERSION OR DISTRIBUTION OF ELECTRIC POWER
- H02J—CIRCUIT ARRANGEMENTS OR SYSTEMS FOR SUPPLYING OR DISTRIBUTING ELECTRIC POWER; SYSTEMS FOR STORING ELECTRIC ENERGY
- H02J7/00—Circuit arrangements for charging or depolarising batteries or for supplying loads from batteries
- H02J7/34—Parallel operation in networks using both storage and other DC sources, e.g. providing buffering
- H02J7/35—Parallel operation in networks using both storage and other DC sources, e.g. providing buffering with light sensitive cells
-
- H—ELECTRICITY
- H05—ELECTRIC TECHNIQUES NOT OTHERWISE PROVIDED FOR
- H05K—PRINTED CIRCUITS; CASINGS OR CONSTRUCTIONAL DETAILS OF ELECTRIC APPARATUS; MANUFACTURE OF ASSEMBLAGES OF ELECTRICAL COMPONENTS
- H05K7/00—Constructional details common to different types of electric apparatus
- H05K7/20—Modifications to facilitate cooling, ventilating, or heating
- H05K7/20009—Modifications to facilitate cooling, ventilating, or heating using a gaseous coolant in electronic enclosures
- H05K7/20136—Forced ventilation, e.g. by fans
Landscapes
- Engineering & Computer Science (AREA)
- Physics & Mathematics (AREA)
- General Physics & Mathematics (AREA)
- Chemical & Material Sciences (AREA)
- Microelectronics & Electronic Packaging (AREA)
- Combustion & Propulsion (AREA)
- Thermal Sciences (AREA)
- Mechanical Engineering (AREA)
- General Engineering & Computer Science (AREA)
- Analytical Chemistry (AREA)
- Business, Economics & Management (AREA)
- Emergency Management (AREA)
- Power Engineering (AREA)
- Emergency Alarm Devices (AREA)
Abstract
本发明涉及室内安防报警技术领域,具体是一种节能型安防报警装置,包括安装板,安装板下侧设置有连接板,连接板顶端与安装板之间通过升降机构连接,连接板下侧设置有用于固定报警器的支撑箱,支撑箱与连接板之间设置有缓冲机构,支撑箱内侧设置有可自动充电的供电机构,本发明,通过设置供电机构,利用太阳能实现对装置的供电,可以减少对外带电能的消耗,实现节能的目的,通过设置空气净化机构,利用气泵和净化箱不仅可以实现对室内空气的净化,而且可以对支撑箱内部的电气元件实现快速散热,经过净化后的空气作用在扇叶上使转轴高速旋转,发电机产生的电力可以对蓄电池进行充电,从而进一步增强了装置的节能效果。
Description
技术领域
本发明涉及室内安防报警技术领域,具体是一种节能型安防报警装置。
背景技术
安防,根据现在汉语词典的解释,所谓安全,就是没有危险、不受侵害、不出事故;所谓防范,就是防备、戒备,而防备是指作好准备以应付攻击或避免受害,戒备是指防备和保护。因此,安防就是指做好准备和保护,以应付攻击或者避免受害,从而使被保护对象处于没有危险、不受侵害、不出现事故的安全状态。显而易见,安全是目的,防范是手段,通过防范的手段达到或实现安全的目的,就是安全防范的基本内涵。
现有的安防装置由于功能越来越强大,导致装置消耗的电能越来越高,大大增加了用户的家庭负担,无法做到节能环保,而且现有的安防报警装置由于缺少相应的高度调节机构,使得用户无法对室内安防报警装置的高度进行调节,因此当安装在天花板上的室内安防报警装置发生故障时,用户需要站在梯子上对安装在天花板上的室内安防报警装置进行检修,使得室内安防报警装置检修起来比较麻烦,费时费力,因此,针对以上现状,迫切需要开发一种节能型安防报警装置,以克服当前实际应用中的不足。
发明内容
本发明的目的在于提供一种节能型安防报警装置,以解决上述背景技术中提出的问题。
为实现上述目的,本发明提供如下技术方案:
一种节能型安防报警装置,包括安装板,所述安装板下侧设置有连接板,所述连接板顶端与安装板之间通过升降机构连接,所述连接板下侧设置有用于固定报警器的支撑箱,所述支撑箱与连接板之间设置有缓冲机构,所述支撑箱内侧设置有可自动充电的供电机构。
作为本发明进一步的方案:所述升降机构包括设置在安装板底端的凹槽,所述凹槽内侧设置有与安装板转动连接的第一螺纹杆,所述第一螺纹杆通过螺栓连接设置在安装板内侧的电机驱动,所述第一螺纹杆前后两侧均设置有与安装板转动连接的第二螺纹杆,所述第一螺纹杆和第二螺纹杆外侧均固定连接设置有带轮,所述带轮之间通过皮带连接,所述第一螺纹杆和第二螺纹杆位于凹槽内侧部分左右两端外侧均螺纹连接设置有活动块,所述活动块内侧铰接设置有连接杆,所述连接杆顶端与固定连接设置在连接板顶部的连接块铰接。
作为本发明进一步的方案:所述缓冲机构包括滑动连接设置在连接板内侧的限位板,所述限位板左右两侧底端与连接板之间固定连接设置有第三弹簧,两侧所述第三弹簧之间设置有与限位板固定连接的支撑箱,所述限位板顶部固定连接设置有楔形块,所述楔形块内侧设置有用于放置阻尼液的空腔,所述空腔内侧滑动连接设置有固定板,所述固定板顶端与连接板之间固定连接设置有滑杆,所述楔形块左右两侧均抵接设置有推块,所述推块内侧滑动连接设置有与连接板固定连接的支撑杆,所述支撑杆与推块之间固定连接设置有第一弹簧。
作为本发明进一步的方案:所述支撑箱左右两端内侧底部均固定连接设置有伸缩杆,所述伸缩杆另一端固定连接设置有用于固定报警器的夹板,所述支撑箱底端设置有若干定位槽,所述定位槽与固定连接设置在报警器顶部的定位块卡接,所述定位槽内侧左右两端均设置有卡块,所述卡块与支撑箱之间固定连接设置有第二弹簧,所述定位块外侧设置有若干与卡块相适配的卡槽。
作为本发明进一步的方案:所述报警器内侧设置有警示灯,所述报警器左右两端底部均固定连接设置有摄像头,两侧所述摄像头之间设置有与报警器固定连接的烟雾传感器,所述烟雾传感器左侧设置有与报警器固定连接的空气质量检测器,所述空气质量检测器通过控制器与设置在支撑箱内侧的空气净化机构连接,所述烟雾传感器右侧设置有与报警器固定连接的红外传感器。
作为本发明进一步的方案:所述供电机构包括螺栓连接设置在支撑箱内侧左右两端顶部的蓄电池,所述蓄电池输入端通过第一导线与固定连接设置在室外的太阳能板电性连接,两侧所述蓄电池之间设置有空气净化机构。
作为本发明进一步的方案:所述空气净化机构包括螺栓连接设置在支撑箱内侧的气泵,所述气泵输入端通过吸气管与支撑箱连接,所述吸气管左右两侧均固定连接设置有支管,所述支管内侧螺栓连接设置有止逆阀,所述气泵输出端通过导管与螺栓连接设置在支撑箱内侧的净化箱连接,所述净化箱输出端通过连接管与固定连接设置在支撑箱内侧的固定框,所述固定框远离净化箱一端与支撑箱之间固定连接设置有出气管,所述出气管与连接管之间设置有与固定框转动连接的转轴,所述转轴底端与发电机连接,所述转轴位于固定框内侧部分外侧固定连接设置有若干扇叶,所述发电机输出端通过第二导线与蓄电池输入端连接,所述第二导线外侧设置有与支撑箱螺栓连接的自动开关,所述支撑箱左右两侧设置有若干进气孔。
与现有技术相比,本发明的有益效果是:
1.通过设置供电机构,利用太阳能实现对装置的供电,可以减少对外带电能的消耗,实现节能的目的;
2.通过设置空气净化机构,利用气泵和净化箱不仅可以实现对室内空气的净化,而且气泵运行过程中可以加快支撑箱内空气流速,从而对支撑箱内部的电气元件实现快速散热,从而提升了设备的散热能力,利于提高设备的使用寿命,而且经过净化后的空气作用在扇叶上使转轴高速旋转,发电机产生的电力可以对蓄电池进行充电,从而进一步增强了装置的节能效果;
3.通过设置升降机构,可以对支撑箱的高度实现自由调节,方便人们对装置进行检修和维护,通过设置缓冲机构,可以增强装置在使用时的稳定性;
4.通过设置定位块和定位槽,可以对报警器的安装位置实现准确定位,同时利用卡块和卡槽实现对报警器的初步固定,并通过设置伸缩杆和夹板,使报警器可以被牢牢固定,且大大降低了对报警器的拆装难度,使装置使用起来更加便利;
5.通过设置摄像头,方便人们实时了解室内情况,通过设置烟雾传感器,有助于及时发现火灾,提升室内的防火能力,通过设置红外传感器,可以记录室内人员进出情况,有助于人们判断室内是否有外人侵入并及时报警。
附图说明
图1为节能型安防报警装置的结构示意图。
图2为节能型安防报警装置中安装板的结构示意图。
图3为节能型安防报警装置中支撑箱的内部俯视图。
图4为节能型安防报警装置中支撑箱的结构示意图。
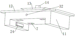
图中:1-安装板,2-凹槽,3-电机,4-第一螺纹杆,5-带轮,6-活动块,7-定位槽,8-连接板,9-连接块,10-连接杆,11-支撑箱,12-限位板,13-楔形块,14-滑杆,15-固定板,16-推块,17-支撑杆,18-第一弹簧,19-蓄电池,20-太阳能板,21-第一导线,22-报警器,23-定位块,24-夹板,25-伸缩杆,26-摄像头,27-烟雾传感器,28-空气质量检测器,29-红外传感器,30-第二螺纹杆,31-气泵,32-吸气管,33-支管,34-净化箱,35-活性炭过滤层,36-吸水层,37-滤框,38-固定框,39-转轴,40-扇叶,41-发电机,42-第二导线,43-自动开关,44-进气孔,45-出气管。
具体实施方式
下面结合具体实施方式对本专利的技术方案作进一步详细地说明。
下面详细描述本专利的实施例,所述实施例的示例在附图中示出,其中自始至终相同或类似的标号表示相同或类似的元件或具有相同或类似功能的元件。下面通过参考附图描述的实施例是示例性的,仅用于解释本专利,而不能理解为对本专利的限制。
实施例1
请参阅图1-图4,本发明实施例中,一种节能型安防报警装置,包括安装板1,所述安装板1下侧设置有连接板8,所述连接板8顶端与安装板1之间通过升降机构连接,所述连接板8下侧设置有用于固定报警器22的支撑箱11,所述支撑箱11与连接板8之间设置有缓冲机构,所述支撑箱11内侧设置有可自动充电的供电机构。
实施例2
本实施例中,所述升降机构包括设置在安装板1底端的凹槽2,所述凹槽2内侧设置有与安装板1转动连接的第一螺纹杆4,所述第一螺纹杆4通过螺栓连接设置在安装板1内侧的电机3驱动,所述第一螺纹杆4前后两侧均设置有与安装板1转动连接的第二螺纹杆30,所述第一螺纹杆4和第二螺纹杆30外侧均固定连接设置有带轮5,所述带轮5之间通过皮带连接,所述第一螺纹杆4和第二螺纹杆30位于凹槽2内侧部分左右两端外侧均螺纹连接设置有活动块6,所述活动块6内侧铰接设置有连接杆10,所述连接杆10顶端与固定连接设置在连接板8顶部的连接块9铰接,通过设置升降机构,可以对支撑箱11的高度实现自由调节,方便人们对装置进行检修和维护。
本实施例中,所述缓冲机构包括滑动连接设置在连接板8内侧的限位板12,所述限位板12左右两侧底端与连接板8之间固定连接设置有第三弹簧,两侧所述第三弹簧之间设置有与限位板12固定连接的支撑箱11,所述限位板12顶部固定连接设置有楔形块13,所述楔形块13内侧设置有用于放置阻尼液的空腔,所述空腔内侧滑动连接设置有固定板15,所述固定板15顶端与连接板8之间固定连接设置有滑杆14,所述楔形块13左右两侧均抵接设置有推块16,所述推块16内侧滑动连接设置有与连接板8固定连接的支撑杆17,所述支撑杆17与推块16之间固定连接设置有第一弹簧18,通过设置缓冲机构,可以增强装置在使用时的稳定性。
本实施例中,所述支撑箱11左右两端内侧底部均固定连接设置有伸缩杆25,所述伸缩杆25另一端固定连接设置有用于固定报警器22的夹板24,所述支撑箱11底端设置有若干定位槽7,所述定位槽7与固定连接设置在报警器22顶部的定位块23卡接,所述定位槽7内侧左右两端均设置有卡块,所述卡块与支撑箱11之间固定连接设置有第二弹簧,所述定位块23外侧设置有若干与卡块相适配的卡槽,通过设置定位块23和定位槽,可以对报警器的安装位置实现准确定位,同时利用卡块和卡槽实现对报警器22的初步固定,并通过设置伸缩杆25和夹板24,使报警器22可以被牢牢固定,且大大降低了对报警器22的拆装难度,使装置使用起来更加便利。
本实施例中,所述报警器22内侧设置有警示灯,所述报警器22左右两端底部均固定连接设置有摄像头26,两侧所述摄像头26之间设置有与报警器22固定连接的烟雾传感器27,所述烟雾传感器27左侧设置有与报警器22固定连接的空气质量检测器28,所述空气质量检测器28通过控制器与设置在支撑箱11内侧的空气净化机构连接,所述烟雾传感器27右侧设置有与报警器22固定连接的红外传感器29,通过设置摄像头26,方便人们实时了解室内情况,通过设置烟雾传感器27,有助于及时发现火灾,提升室内的防火能力,通过设置红外传感器29,可以记录室内人员进出情况,有助于人们判断室内是否有外人侵入并及时报警。
本实施例中,所述供电机构包括螺栓连接设置在支撑箱11内侧左右两端顶部的蓄电池19,所述蓄电池19输入端通过第一导线21与固定连接设置在室外的太阳能板20电性连接,两侧所述蓄电池19之间设置有空气净化机构,通过设置供电机构,利用太阳能实现对装置的供电,可以减少对外带电能的消耗,实现节能的目的。
本实施例中,所述空气净化机构包括螺栓连接设置在支撑箱11内侧的气泵31,所述气泵31输入端通过吸气管32与支撑箱11连接,所述吸气管32左右两侧均固定连接设置有支管33,所述支管33内侧螺栓连接设置有止逆阀,所述气泵31输出端通过导管与螺栓连接设置在支撑箱11内侧的净化箱34连接,所述净化箱34输出端通过连接管与固定连接设置在支撑箱11内侧的固定框38,所述固定框38远离净化箱34一端与支撑箱11之间固定连接设置有出气管45,所述出气管45与连接管之间设置有与固定框38转动连接的转轴39,所述转轴39底端与发电机41连接,所述转轴39位于固定框38内侧部分外侧固定连接设置有若干扇叶40,所述发电机41输出端通过第二导线42与蓄电池19输入端连接,所述第二导线42外侧设置有与支撑箱11螺栓连接的自动开关43,所述支撑箱11左右两侧设置有若干进气孔44,通过设置空气净化机构,利用气泵31和净化箱34不仅可以实现对室内空气的净化,而且气泵31运行过程中可以加快支撑箱11内空气流速,从而对支撑箱11内部的电气元件实现快速散热,从而提升了设备的散热能力,利于提高设备的使用寿命,而且经过净化后的空气作用在扇叶40上使转轴39高速旋转,发电机41产生的电力可以对蓄电池19进行充电,从而进一步增强了装置的节能效果。
本实施例中,所述净化箱34内侧卡接设置有活性炭过滤层35,所述活性炭过滤层35前后两侧均固定连接设置有吸水层36,所述吸水层36远离活性炭过滤层35一侧设置有与净化箱34卡接的滤框37。
本实施例中,所述进气孔44内侧可拆卸连接设置有防尘网。
本发明的工作原理是:通过设置供电机构,利用太阳能实现对装置的供电,可以减少对外带电能的消耗,实现节能的目的,通过设置空气净化机构,利用气泵31和净化箱34不仅可以实现对室内空气的净化,而且气泵31运行过程中可以加快支撑箱11内空气流速,从而对支撑箱11内部的电气元件实现快速散热,从而提升了设备的散热能力,利于提高设备的使用寿命,而且经过净化后的空气作用在扇叶40上使转轴39高速旋转,发电机41产生的电力可以对蓄电池19进行充电,从而进一步增强了装置的节能效果,通过设置摄像头26,方便人们实时了解室内情况,通过设置烟雾传感器27,有助于及时发现火灾,提升室内的防火能力,通过设置红外传感器29,可以记录室内人员进出情况,有助于人们判断室内是否有外人侵入并及时报警。
以上的仅是本发明的优选实施方式,应当指出,对于本领域的技术人员来说,在不脱离本发明构思的前提下,还可以作出若干变形和改进,这些也应该视为本发明的保护范围,这些都不会影响本发明实施的效果和专利的实用性。
Claims (2)
1.一种节能型安防报警装置,包括安装板(1),其特征在于,所述安装板(1)下侧设置有连接板(8),所述连接板(8)顶端与安装板(1)之间通过升降机构连接,所述连接板(8)下侧设置有用于固定报警器(22)的支撑箱(11),所述支撑箱(11)与连接板(8)之间设置有缓冲机构,所述支撑箱(11)内侧设置有可自动充电的供电机构;
所述升降机构包括设置在安装板(1)底端的凹槽(2),所述凹槽(2)内侧设置有与安装板(1)转动连接的第一螺纹杆(4),所述第一螺纹杆(4)通过螺栓连接设置在安装板(1)内侧的电机(3)驱动,所述第一螺纹杆(4)前后两侧均设置有与安装板(1)转动连接的第二螺纹杆(30),所述第一螺纹杆(4)和第二螺纹杆(30)外侧均固定连接设置有带轮(5),所述带轮(5)之间通过皮带连接,所述第一螺纹杆(4)和第二螺纹杆(30)位于凹槽(2)内侧部分左右两端外侧均螺纹连接设置有活动块(6),所述活动块(6)内侧铰接设置有连接杆(10),所述连接杆(10)顶端与固定连接设置在连接板(8)顶部的连接块(9)铰接;
所述缓冲机构包括滑动连接设置在连接板(8)内侧的限位板(12),所述限位板(12)左右两侧底端与连接板(8)之间固定连接设置有第三弹簧,两侧所述第三弹簧之间设置有与限位板(12)固定连接的支撑箱(11),所述限位板(12)顶部固定连接设置有楔形块(13),所述楔形块(13)内侧设置有用于放置阻尼液的空腔,所述空腔内侧滑动连接设置有固定板(15),所述固定板(15)顶端与连接板(8)之间固定连接设置有滑杆(14),所述楔形块(13)左右两侧均抵接设置有推块(16),所述推块(16)内侧滑动连接设置有与连接板(8)固定连接的支撑杆(17),所述支撑杆(17)与推块(16)之间固定连接设置有第一弹簧(18);
所述支撑箱(11)左右两端内侧底部均固定连接设置有伸缩杆(25),所述伸缩杆(25)另一端固定连接设置有用于固定报警器(22)的夹板(24),所述支撑箱(11)底端设置有若干定位槽(7),所述定位槽(7)与固定连接设置在报警器(22)顶部的定位块(23)卡接,所述定位槽(7)内侧左右两端均设置有卡块,所述卡块与支撑箱(11)之间固定连接设置有第二弹簧,所述定位块(23)外侧设置有若干与卡块相适配的卡槽;
所述供电机构包括螺栓连接设置在支撑箱(11)内侧左右两端顶部的蓄电池(19),所述蓄电池(19)输入端通过第一导线(21)与固定连接设置在室外的太阳能板(20)电性连接,两侧所述蓄电池(19)之间设置有空气净化机构;
所述空气净化机构包括螺栓连接设置在支撑箱(11)内侧的气泵(31),所述气泵(31)输入端通过吸气管(32)与支撑箱(11)连接,所述吸气管(32)左右两侧均固定连接设置有支管(33),所述支管(33)内侧螺栓连接设置有止逆阀,所述气泵(31)输出端通过导管与螺栓连接设置在支撑箱(11)内侧的净化箱(34)连接,所述净化箱(34)输出端通过连接管与固定连接设置在支撑箱(11)内侧的固定框(38),所述固定框(38)远离净化箱(34)一端与支撑箱(11)之间固定连接设置有出气管(45),所述出气管(45)与连接管之间设置有与固定框(38)转动连接的转轴(39),所述转轴(39)底端与发电机(41)连接,所述转轴(39)位于固定框(38)内侧部分外侧固定连接设置有若干扇叶(40),所述发电机(41)输出端通过第二导线(42)与蓄电池(19)输入端连接,所述第二导线(42)外侧设置有与支撑箱(11)螺栓连接的自动开关(43),所述支撑箱(11)左右两侧设置有若干进气孔(44)。
2.根据权利要求1所述的节能型安防报警装置,其特征在于,所述报警器(22)内侧设置有警示灯,所述报警器(22)左右两端底部均固定连接设置有摄像头(26),两侧所述摄像头(26)之间设置有与报警器(22)固定连接的烟雾传感器(27),所述烟雾传感器(27)左侧设置有与报警器(22)固定连接的空气质量检测器(28),所述空气质量检测器(28)通过控制器与设置在支撑箱(11)内侧的空气净化机构连接,所述烟雾传感器(27)右侧设置有与报警器(22)固定连接的红外传感器(29)。
Priority Applications (1)
| Application Number | Priority Date | Filing Date | Title |
|---|---|---|---|
| CN202110365069.4A CN112802295B (zh) | 2021-04-06 | 2021-04-06 | 一种节能型安防报警装置 |
Applications Claiming Priority (1)
| Application Number | Priority Date | Filing Date | Title |
|---|---|---|---|
| CN202110365069.4A CN112802295B (zh) | 2021-04-06 | 2021-04-06 | 一种节能型安防报警装置 |
Publications (2)
| Publication Number | Publication Date |
|---|---|
| CN112802295A CN112802295A (zh) | 2021-05-14 |
| CN112802295B true CN112802295B (zh) | 2021-07-06 |
Family
ID=75816306
Family Applications (1)
| Application Number | Title | Priority Date | Filing Date |
|---|---|---|---|
| CN202110365069.4A Active CN112802295B (zh) | 2021-04-06 | 2021-04-06 | 一种节能型安防报警装置 |
Country Status (1)
| Country | Link |
|---|---|
| CN (1) | CN112802295B (zh) |
Families Citing this family (1)
| Publication number | Priority date | Publication date | Assignee | Title |
|---|---|---|---|---|
| CN113280407B (zh) * | 2021-05-18 | 2022-08-26 | 山西精工天成空调技术有限公司 | 一种热泵空调室外换热器 |
Family Cites Families (7)
| Publication number | Priority date | Publication date | Assignee | Title |
|---|---|---|---|---|
| JP6092663B2 (ja) * | 2013-03-05 | 2017-03-08 | 能美防災株式会社 | 感知器用アダプタ |
| CN203350973U (zh) * | 2013-05-24 | 2013-12-18 | 成都聪慧物联网技术有限公司 | 办公室用智能控制系统 |
| CN108800340A (zh) * | 2018-07-16 | 2018-11-13 | 赵芳芳 | 一种具有新能源供电的全天候空气净化装置 |
| CN211454763U (zh) * | 2019-12-28 | 2020-09-08 | 新驱动(福建)信息科技有限公司 | 一种易于检修的独立式无线光电感烟报警器 |
| CN211670483U (zh) * | 2020-02-07 | 2020-10-13 | 四川兴创泰信息科技有限公司 | 一种具有减震功能的配电箱 |
| CN212617506U (zh) * | 2020-06-28 | 2021-02-26 | 衡阳市信投烽华网络科技有限公司 | 一种楼道火灾监控报警设备 |
| CN112483590A (zh) * | 2020-12-08 | 2021-03-12 | 湖南沃峰智能科技有限公司 | 一种机械设备用减震装置 |
-
2021
- 2021-04-06 CN CN202110365069.4A patent/CN112802295B/zh active Active
Also Published As
| Publication number | Publication date |
|---|---|
| CN112802295A (zh) | 2021-05-14 |
Similar Documents
| Publication | Publication Date | Title |
|---|---|---|
| CN110429476B (zh) | 一种电缆夹线装置及其配电柜 | |
| CN112802295B (zh) | 一种节能型安防报警装置 | |
| CN212056582U (zh) | 一种建筑工程检测监管装置 | |
| CN112422799A (zh) | 一种矿用多功能隔爆摄像仪 | |
| CN215136236U (zh) | 一种船舶用便捷灭火装置 | |
| CN211930719U (zh) | 一种便于安装的门店监控摄像头 | |
| CN112489344A (zh) | 一种智慧消防监控多功能探测器 | |
| CN108843367B (zh) | 一种桥梁用便于隧道通风的装置 | |
| CN216208927U (zh) | 一种突发环境污染预警应急处理装置 | |
| CN112181093B (zh) | 一种基于区块链的数据信息存储装置及其使用方法 | |
| CN212491973U (zh) | 一种涡旋式呼吸集成系统 | |
| CN210781664U (zh) | 一种电力发电厂用可便捷移动式电气柜 | |
| CN212435786U (zh) | 一种用于工程监理用监控装置 | |
| CN108668481B (zh) | 一种安全型ptc加热组件的漏电保护装置 | |
| CN222316455U (zh) | 一种弱电工程安防监控装置 | |
| CN217687208U (zh) | 一种输电线杆塔倾斜在线监测装置 | |
| CN221103193U (zh) | 一种具有外保护功能的变频器 | |
| CN112193262B (zh) | 一种车厢用加热器的保护组件 | |
| CN219394055U (zh) | 一种用于电力工程的安全型电力柜 | |
| CN222850998U (zh) | 一种电杆塔输电线路电气安全预警装置 | |
| CN216170835U (zh) | 一种用于活性炭生产的排烟装置 | |
| CN213177611U (zh) | 一种螺杆机组远程监控设备 | |
| CN209553051U (zh) | 一种电力安全工器具移动试验车 | |
| CN110466669B (zh) | 一种拆卸式防火性能强的电动自行车 | |
| CN217879368U (zh) | 一种防偷电的安全电表 |
Legal Events
| Date | Code | Title | Description |
|---|---|---|---|
| PB01 | Publication | ||
| PB01 | Publication | ||
| SE01 | Entry into force of request for substantive examination | ||
| SE01 | Entry into force of request for substantive examination | ||
| GR01 | Patent grant | ||
| GR01 | Patent grant |