CN112623793A - Disc feed divider - Google Patents

Disc feed divider Download PDF

Info

Publication number
CN112623793A
CN112623793A CN202011634759.7A CN202011634759A CN112623793A CN 112623793 A CN112623793 A CN 112623793A CN 202011634759 A CN202011634759 A CN 202011634759A CN 112623793 A CN112623793 A CN 112623793A
Authority
CN
China
Prior art keywords
disc
material distribution
stirring
disk
discharge
Prior art date
Legal status (The legal status is an assumption and is not a legal conclusion. Google has not performed a legal analysis and makes no representation as to the accuracy of the status listed.)
Pending
Application number
CN202011634759.7A
Other languages
Chinese (zh)
Inventor
林伟喜
王晓春
罗冬贵
Current Assignee (The listed assignees may be inaccurate. Google has not performed a legal analysis and makes no representation or warranty as to the accuracy of the list.)
Lardmee Ningling Fertilizer Co ltd
Zhanjiang Ladomei Technology Co ltd
Guangdong Lardmee Fertilizer Co ltd
Original Assignee
Lardmee Ningling Fertilizer Co ltd
Zhanjiang Ladomei Technology Co ltd
Guangdong Lardmee Fertilizer Co ltd
Priority date (The priority date is an assumption and is not a legal conclusion. Google has not performed a legal analysis and makes no representation as to the accuracy of the date listed.)
Filing date
Publication date
Application filed by Lardmee Ningling Fertilizer Co ltd, Zhanjiang Ladomei Technology Co ltd, Guangdong Lardmee Fertilizer Co ltd filed Critical Lardmee Ningling Fertilizer Co ltd
Priority to CN202011634759.7A priority Critical patent/CN112623793A/en
Publication of CN112623793A publication Critical patent/CN112623793A/en
Pending legal-status Critical Current

Links

Images

Classifications

    • BPERFORMING OPERATIONS; TRANSPORTING
    • B65CONVEYING; PACKING; STORING; HANDLING THIN OR FILAMENTARY MATERIAL
    • B65GTRANSPORT OR STORAGE DEVICES, e.g. CONVEYORS FOR LOADING OR TIPPING, SHOP CONVEYOR SYSTEMS OR PNEUMATIC TUBE CONVEYORS
    • B65G65/00Loading or unloading
    • B65G65/30Methods or devices for filling or emptying bunkers, hoppers, tanks, or like containers, of interest apart from their use in particular chemical or physical processes or their application in particular machines, e.g. not covered by a single other subclass
    • B65G65/34Emptying devices
    • B65G65/40Devices for emptying otherwise than from the top
    • B65G65/48Devices for emptying otherwise than from the top using other rotating means, e.g. rotating pressure sluices in pneumatic systems
    • B65G65/4809Devices for emptying otherwise than from the top using other rotating means, e.g. rotating pressure sluices in pneumatic systems rotating about a substantially vertical axis
    • B65G65/4818Devices for emptying otherwise than from the top using other rotating means, e.g. rotating pressure sluices in pneumatic systems rotating about a substantially vertical axis and having the form of rotating tables or pans
    • BPERFORMING OPERATIONS; TRANSPORTING
    • B65CONVEYING; PACKING; STORING; HANDLING THIN OR FILAMENTARY MATERIAL
    • B65DCONTAINERS FOR STORAGE OR TRANSPORT OF ARTICLES OR MATERIALS, e.g. BAGS, BARRELS, BOTTLES, BOXES, CANS, CARTONS, CRATES, DRUMS, JARS, TANKS, HOPPERS, FORWARDING CONTAINERS; ACCESSORIES, CLOSURES, OR FITTINGS THEREFOR; PACKAGING ELEMENTS; PACKAGES
    • B65D88/00Large containers
    • B65D88/54Large containers characterised by means facilitating filling or emptying
    • B65D88/64Large containers characterised by means facilitating filling or emptying preventing bridge formation
    • B65D88/68Large containers characterised by means facilitating filling or emptying preventing bridge formation using rotating devices
    • BPERFORMING OPERATIONS; TRANSPORTING
    • B65CONVEYING; PACKING; STORING; HANDLING THIN OR FILAMENTARY MATERIAL
    • B65GTRANSPORT OR STORAGE DEVICES, e.g. CONVEYORS FOR LOADING OR TIPPING, SHOP CONVEYOR SYSTEMS OR PNEUMATIC TUBE CONVEYORS
    • B65G43/00Control devices, e.g. for safety, warning or fault-correcting
    • B65G43/08Control devices operated by article or material being fed, conveyed or discharged
    • BPERFORMING OPERATIONS; TRANSPORTING
    • B65CONVEYING; PACKING; STORING; HANDLING THIN OR FILAMENTARY MATERIAL
    • B65GTRANSPORT OR STORAGE DEVICES, e.g. CONVEYORS FOR LOADING OR TIPPING, SHOP CONVEYOR SYSTEMS OR PNEUMATIC TUBE CONVEYORS
    • B65G2203/00Indexing code relating to control or detection of the articles or the load carriers during conveying
    • B65G2203/04Detection means
    • B65G2203/042Sensors

Landscapes

  • Engineering & Computer Science (AREA)
  • Mechanical Engineering (AREA)
  • Filling Or Emptying Of Bunkers, Hoppers, And Tanks (AREA)

Abstract

本发明公开了一种圆盘分料装置,包括分料圆盘,所述分料圆盘通过圆盘驱动机构驱动,所述分料圆盘的中心位置设有隔料筒,所述隔料筒的外壁与所述分料圆盘的内壁形成分料圆环,所述分料圆盘上设有圆盘出料口,所述分料圆盘设有用于对所述分料圆环内的物料进行搅拌的搅拌机构,所述搅拌机构与所述分料圆盘同轴转动。解决了现有分料圆盘负荷大容易引起设备过载及分料不均匀的问题。

Figure 202011634759

The invention discloses a disk material distribution device, comprising a material distribution disk, the material distribution disk is driven by a disk drive mechanism, a material separation cylinder is arranged at the center of the material distribution disk, and the material separation disk is The outer wall of the cylinder and the inner wall of the material distribution disk form a material distribution ring, the material distribution disk is provided with a disk outlet, and the material distribution disk is provided with a The stirring mechanism is used for stirring the materials, and the stirring mechanism rotates coaxially with the material distribution disc. The problem that the large load of the existing material distribution disc can easily cause equipment overload and uneven material distribution is solved.

Figure 202011634759

Description

Disc feed divider
Technical Field
The invention relates to the field of material conveying equipment, in particular to a disc distributing device.
Background
More and more attention is paid to the production of compound fertilizers by an extrusion process, the single capacity of the existing extruder is about 1-2 tons/hour, and granulation must be carried out by a plurality of extruders at the same time to realize high capacity; in this case, it is necessary to consider how the raw material is uniformly distributed in each extruder to ensure the proper granulation of each extruder, and therefore, a distribution device is necessary to cooperate.
The existing distribution disc mostly rotates along with a bottom turntable of the distribution disc, materials enter the distribution disc and then rotate along with a chassis, a plurality of discharge ports are formed in the side face of the distribution disc, and the materials are scraped into a material groove by a discharge plate when passing through the discharge ports; the diameter of each material distribution disc is larger (more than 80 cm), the height of each material distribution disc is generally 30cm or more, more materials are loaded (more than 800 kg), so that the rotary disc is loaded, a certain gap (3-5mm) is reserved between the base plate of each material distribution disc and the side cylinder enclosing plate, and the materials are easy to leak out from the gap in the rotating process, so that the surrounding environment is polluted; meanwhile, materials are agglomerated in the gap under the condition of shutdown and untimely cleaning, the rotation of the turntable is further influenced, and the load of the driving device is easily increased, so that the equipment is overloaded; on the other hand, because the material leaves the branch material disc from side drum bounding wall, cause the disk middle department material to pile up all the time, if material viscosity is slightly bigger, arouse easily that the material can't leave the depiler, can appear dividing the inhomogeneous condition simultaneously.
Disclosure of Invention
In order to overcome the defects of the prior art, the invention aims to provide a disc distributing device to solve the problems that the existing distributing disc is large in load and easily causes equipment overload and uneven distribution.
The purpose of the invention is realized by adopting the following technical scheme:
the utility model provides a disc feed divider, includes the material disc that divides, divide the material disc to pass through the drive of disc actuating mechanism, the central point who divides the material disc puts and is equipped with at a distance from the feed cylinder, separate the outer wall of feed cylinder with the inner wall that divides the material disc forms divides the material ring, be equipped with the disc discharge gate on dividing the material disc, it is right to divide the material disc to be equipped with be used for divide the intra-annular material of material ring to carry out the rabbling mechanism that stirs, rabbling mechanism with divide the coaxial rotation of material disc.
Furthermore, a storage bin is arranged above the material distribution disc, the discharge end of the storage bin extends into the material distribution circular ring, and the center of the storage bin is connected with an arch breaking cone.
Furthermore, a discharge adjusting plate is arranged at the discharge port of the disc.
Further, still include with ejection of compact regulating plate transmission is connected adjusts actuating mechanism, adjust actuating mechanism can drive ejection of compact regulating plate for the motion of disc discharge gate is thereby with the disc discharge gate is closed or is opened.
Further, a discharge chute is connected below the disc discharge port.
Further, the disc driving mechanism comprises a disc motor, a speed reducer, a coupler, a main shaft and a shaft sleeve sleeved on the main shaft, and the material distribution disc is connected with the disc motor through the main shaft, the coupler and the speed reducer.
Further, rabbling mechanism include with the coaxial pivoted stirring frame of disc, the stirring frame rigid coupling has a plurality of stirring paddle leaf, and is a plurality of stirring paddle leaf circumference evenly sets up.
Further, stirring paddle leaf includes first stirring paddle leaf and second stirring paddle leaf, second stirring paddle leaf device is in the bottom in first stirring paddle leaf outside, first stirring paddle leaf is the L type, second stirring paddle leaf is the rectangle.
Further, the storage silo is equipped with storage silo feed inlet and storage silo discharge gate, the storage silo discharge gate disposes closing mechanism.
Further, the closing mechanism comprises a blocking piece and a driving assembly, the driving assembly is in transmission connection with the blocking piece, and the driving assembly can drive the blocking piece to move relative to the storage bin discharge port so as to close or open the storage bin discharge port.
Compared with the prior art, the invention has the beneficial effects that:
according to the invention, the material separating barrel and the stirring mechanism are additionally arranged in the material distributing disk, so that the loading capacity of the material distributing disk can be reduced, the problem that the existing material distributing disk is large in load and easy to cause equipment overload is solved, the material in the material distributing disk is scraped to the disk discharge hole by using the stirring mechanism, the material is prevented from being accumulated or being incapable of leaving the material distributing disk due to viscosity, and the problem of uneven material distribution of the existing material distributing disk is solved.
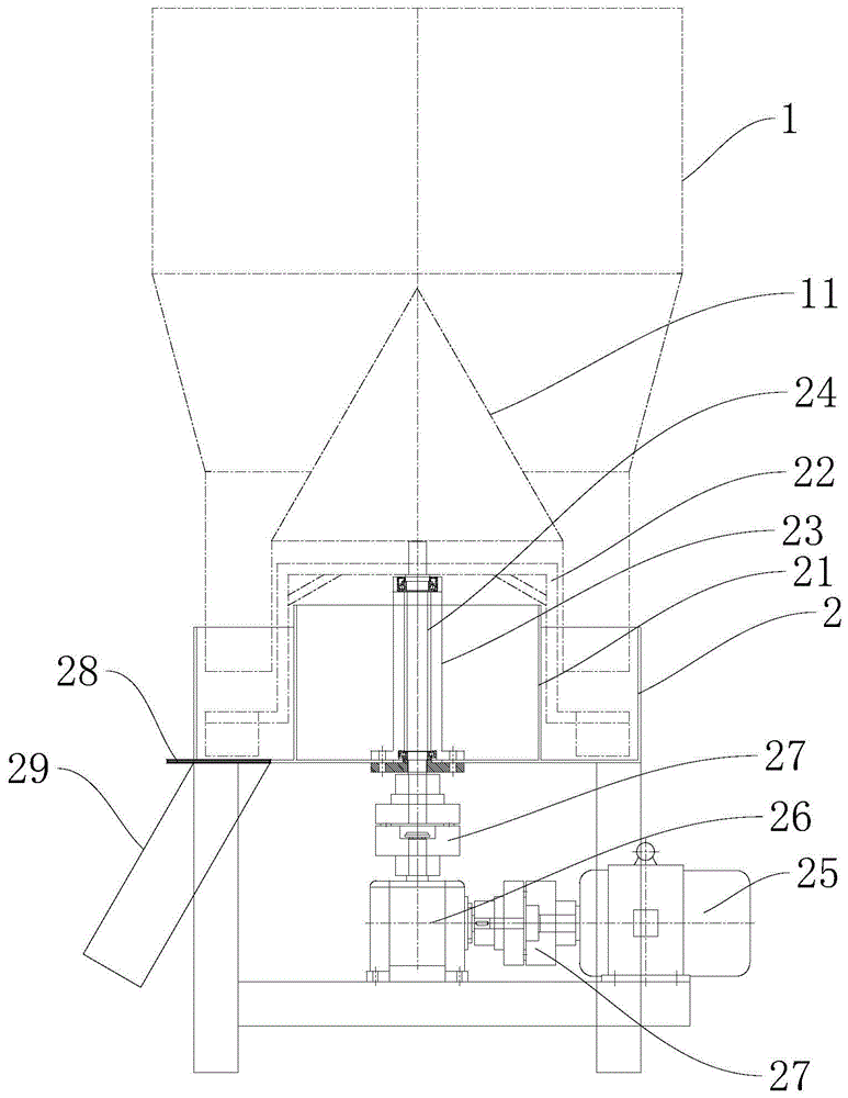
Drawings
FIG. 1 is a schematic view of a disc distributor according to the present invention;
FIG. 2 is a schematic view of a stirring mechanism provided by the present invention;
in the figure: 1. a storage bin; 11. breaking an arch cone; 2. a material distributing disc; 21. a material separating barrel; 22. a stirring mechanism; 220. a stirring frame; 221. a first stirring blade; 222. a second stirring blade; 23. a shaft sleeve; 24. a main shaft; 25. a disc motor; 26. a speed reducer; 27. a coupling; 28. a discharging adjusting plate; 29. a discharge chute.
Detailed Description
The present invention will be further described with reference to the accompanying drawings and the detailed description, and it should be noted that any combination of the embodiments or technical features described below can be used to form a new embodiment without conflict.
In the description of the present invention, it is to be understood that the terms "upper", "lower", "front", "rear", "left", "right", "horizontal", "vertical", "top", "inner", "outer", and the like indicate orientations or positional relationships based on those shown in the drawings, and are only for convenience of description and simplicity of description, but do not indicate or imply that the device or element being referred to must have a particular orientation, be constructed and operated in a particular orientation, and thus, are not to be construed as limiting the present invention. Furthermore, the terms "first," "second," "one," "another," and the like are used to distinguish similar elements, and these terms and other similar terms are not intended to limit the scope of the present invention.
In the description of the present invention, it should be noted that unless otherwise explicitly stated or limited, the terms "mounted," "connected," and "connected" are to be construed broadly, e.g., as being fixedly connected, detachably connected, or integrally connected; can be mechanically or electrically connected; either directly or indirectly through intervening media, or through both elements. The specific meanings of the above terms in the present invention can be understood by those skilled in the art according to specific situations. Corresponding reference numerals are used throughout the figures to indicate corresponding or corresponding elements (e.g., elements identified as "1 XX" and "2 XX" are structurally identical and functionally similar).
As shown in fig. 1-2, the disc material distributing device provided by the present invention includes a material distributing disc 2, the material distributing disc 2 is driven by a disc driving mechanism, a material separating barrel 21 is disposed at a central position of the material distributing disc 2, a material distributing circular ring is formed by an outer wall of the material separating barrel 21 and an inner wall of the material distributing disc 2, a disc material outlet is disposed on the material distributing disc 2, the material distributing disc 2 is further provided with a stirring mechanism 22 for stirring materials in the material distributing circular ring, and the stirring mechanism 22 and the material distributing disc 2 rotate coaxially.
According to the invention, the material separating barrel 21 and the stirring mechanism 22 are additionally arranged in the distribution disc 2, so that the loading capacity of the material of the distribution disc 2 is reduced, the problem that the existing distribution disc 2 is large in load and easy to cause equipment overload is solved, the material in the distribution disc 2 is scraped to the disc discharge hole by using the stirring mechanism 22, the material is prevented from being accumulated or being incapable of leaving the distribution disc 2 due to viscosity, and the problem that the existing distribution disc 2 cannot distribute materials uniformly is solved.
In one embodiment, a storage bin 1 is arranged above the material distributing disk 2, the discharge end of the storage bin 1 extends into the material distributing circular ring, and a broken circular cone 11 is connected to the center of the storage bin 1. Through setting up storage silo 1, when the material in dividing material disc 2 reduces, storage silo 1 can in time supply the material to dividing material disc 2. Through setting up broken circular cone 11, can break the caking material fast to quick guide has reduced the dwell time of material in storage silo 1 on dividing material disc 2, prevents long-pending material.
In this embodiment, the height of the material separating barrel 21 is about 10-15cm higher than the outer wall of the distribution disc 2, so as to prevent the material from falling into the middle of the distribution disc 2 in the material loading process, and the diameter of the material separating barrel 21 is 40-60cm smaller than that of the distribution disc 2, so that the loading capacity of the material is reduced, wherein the loading volume of the distribution disc 2 is the depth of the distribution disc 2 multiplied by the area of the distribution ring. The distance that the lower part of the storage bin 1 extends into the distribution disc 2 is more than 5cm, and the diameter of the lower part of the storage bin 1 is about 1cm smaller than that of the distribution disc 2, so that materials can be prevented from overflowing out of the distribution disc 2; broken circular cone 11 has great tapering, can break the caking material fast, prevents that the material from piling up on it, and broken circular cone 11 lower part has the drum of a take the altitude simultaneously for rabbling mechanism 22 installation provides the space, and broken circular cone 11 passes through the bolt or other detachable modes to be fixed in the middle of storage silo 1, and the aim at provides convenience for maintaining stirring disc actuating mechanism and rabbling mechanism 22, and the maximum diameter department mounting height of broken circular cone 11 is slightly higher than rabbling mechanism 22.
A material distribution process: the material evenly gets into in the branch material ring through broken circular cone 11 after getting into storage silo 1, and the effect of storage silo 1 is along with the material reduction in the material disc 2 and in the material ring is divided in the material with the continuous supply of material, thereby it reduces the load capacity of dividing material disc 2 to separate the feed cylinder 21 and isolate the material entering depiler intermediate position. The disc driving mechanism drives the material distribution disc 2 and the stirring mechanism 22 to rotate, and the materials of the material distribution ring are rotated to the position of a disc discharge port, so that uniform material distribution is realized.
In one embodiment, the disk discharge port is provided with a discharge regulating plate 28. Specifically, the disc material distributing device further comprises an adjusting driving mechanism in transmission connection with the discharging adjusting plate 28, and the adjusting driving mechanism can drive the discharging adjusting plate 28 to move relative to the disc discharging port so as to close or open the disc discharging port. In this embodiment, the discharge size is controlled to the aperture that utilizes the disc discharge gate, specifically is: the discharge adjusting plate 28 is driven to move by adjusting the driving mechanism so as to control the extension length of the discharge adjusting plate 28, so that the discharge proportion of the disc discharge port is adjusted, and uniform discharge can be realized. The adjusting driving mechanism of the embodiment can be an adjusting motor or an adjusting cylinder. In addition, 2 or more than 2 disc discharge ports can be uniformly distributed on the material distribution disc 2 according to actual needs, and the maximum opening amount of the disc discharge ports in the diameter direction of the material distribution disc 2 is the difference value between the diameter of the material distribution disc 2 and the radius of the material separation barrel 21.
In one embodiment, a discharge chute 29 is connected below the disk discharge port. By arranging the discharge chute 29, the material discharged from the disc discharge port falls into the discharge chute 29 due to gravity and enters the next process through the discharge chute 29.
In one embodiment, the disc driving mechanism includes a disc motor 25, a speed reducer 26, a coupling 27, a main shaft 24, and a shaft sleeve 23 sleeved on the main shaft 24, and the material-separating disc 2 is connected with the disc motor 25 through the main shaft 24, the coupling 27, and the speed reducer 26. Of course, the distributing disk 2 can also be driven to rotate by other driving methods.
In one embodiment, the stirring mechanism 22 includes a stirring frame 220 coaxially rotating with the disk, and a plurality of stirring blades are fixedly connected to the stirring frame 220 and are circumferentially and uniformly arranged. In the embodiment, the stirring blades can be arranged into 2 pieces or more than 2 pieces which are uniformly distributed in the circumference according to the material condition and the use requirement, so that the integral stress balance of the main shaft 24 is kept; wherein, the height of stirring paddle leaf lower part is apart from 2 bottoms of branch material disc 1cm to it is suitable to guarantee that stirring paddle leaf does not touch 2 bottoms of branch material disc when rotating, should not be too high simultaneously, prevents to divide the interior long-pending material of material disc 2 too much, and the maximum value of stirring paddle leaf on dividing the diameter direction of material disc 2 is 2-5cm less for the radius of dividing material disc 2 outer wall and separating a feed cylinder 21, and it is accurate to guarantee that stirring paddle leaf rotates the in-process and does not scrape and touch 2 outer walls of branch material disc and separating a feed cylinder 21.
Specifically, the stirring paddle comprises a first stirring paddle 221 and a second stirring paddle 222, the second stirring paddle 222 is arranged at the bottom of the outer side of the first stirring paddle 221, the first stirring paddle 221 is L-shaped, and the second stirring paddle 222 is rectangular. The material agglomeration phenomenon is avoided by arranging the first stirring blade 221, and the material is prevented from being bonded at the bottom of the distribution disk 2 by arranging the second stirring blade 222, so that the distribution disk 2 cannot be separated from the material. By providing the first stirring blade 221 and the second stirring blade 222, thorough discharge is facilitated.
In one embodiment, the storage silo 1 is provided with a storage silo feeding port and a storage silo discharging port, the storage silo 1 discharging port is provided with a closing mechanism, the closing mechanism comprises a blocking member and a driving assembly, the driving assembly is in transmission connection with the blocking member, and the driving assembly can drive the blocking member to move relative to the storage silo 1 discharging port so as to close or open the storage silo 1 discharging port.
In this embodiment, after the material enters the storage bin 1, the material enters the distribution disk 2 according to the height of the material in the distribution disk 2, and after the height of the material in the distribution disk 2 reaches the lower edge of the storage bin 1, the material will not fall into the distribution disk 2 any more and is stored in the storage bin 1. Therefore, a closing mechanism is required to be arranged at the discharge hole of the storage bin 1 to prevent the materials in the storage bin 1 from continuously falling. Preferably, the discharge outlet of the storage bin 1 can be further provided with a position sensor, when the material height in the material distribution disc 2 reaches the lower edge of the storage bin 1, the position sensor sends a signal to the driving assembly, and the driving assembly drives the blocking piece to move so as to close the discharge outlet of the storage bin 1. The moving direction of the mouth blocking piece in practical application can be adjusted according to equipment arrangement, and a reasonable mode and direction are selected. The drive assembly of this embodiment may be a cylinder, motor or other drive component.
The above embodiments are only preferred embodiments of the present invention, and the protection scope of the present invention is not limited thereby, and any insubstantial changes and substitutions made by those skilled in the art based on the present invention are within the protection scope of the present invention.

Claims (10)

1.一种圆盘分料装置,其特征在于,包括分料圆盘,所述分料圆盘通过圆盘驱动机构驱动,所述分料圆盘的中心位置设有隔料筒,所述隔料筒的外壁与所述分料圆盘的内壁形成分料圆环,所述分料圆盘上设有圆盘出料口,所述分料圆盘设有用于对所述分料圆环内的物料进行搅拌的搅拌机构,所述搅拌机构与所述分料圆盘同轴转动。1. a disk material distribution device, is characterized in that, comprises material distribution disk, described material distribution disk is driven by disk drive mechanism, and the center position of described material distribution disk The outer wall of the separation cylinder and the inner wall of the material distribution disc form a material distribution ring, the material distribution disc is provided with a disc discharge port, and the material distribution disc is provided with a A stirring mechanism for stirring the materials in the ring, and the stirring mechanism rotates coaxially with the material distribution disc. 2.如权利要求1所述的圆盘分料装置,其特征在于,所述分料圆盘的上方设有储料仓,所述储料仓的出料端伸入所述分料圆环内,所述储料仓的中心位置连接有破拱圆锥。2 . The disc material distribution device according to claim 1 , wherein a storage bin is arranged above the material distribution disc, and the discharge end of the storage bin extends into the material distribution ring. 3 . Inside, the central position of the storage bin is connected with a broken arch cone. 3.如权利要求1所述的圆盘分料装置,其特征在于,所述圆盘出料口处配置有出料调节板。3 . The disc material distribution device according to claim 1 , wherein a discharge regulating plate is arranged at the discharge port of the disc. 4 . 4.如权利要求3所述的圆盘分料装置,其特征在于,还包括与所述出料调节板传动连接的调节驱动机构,所述调节驱动机构能带动所述出料调节板相对于所述圆盘出料口运动从而将所述圆盘出料口关闭或打开。4. The disc material distributing device according to claim 3, characterized in that, further comprising an adjustment driving mechanism drivingly connected with the discharge adjustment plate, and the adjustment drive mechanism can drive the discharge adjustment plate relative to the discharge adjustment plate. The disc outlet moves to close or open the disc outlet. 5.如权利要求1所述的圆盘分料装置,其特征在于,所述圆盘出料口的下方连接有出料槽。5 . The disc material distribution device according to claim 1 , wherein a discharge chute is connected below the discharge outlet of the disc. 6 . 6.如权利要求1所述的圆盘分料装置,其特征在于,所述圆盘驱动机构包括圆盘电机、减速机、联轴器、主轴及套设在所述主轴上的轴套,所述分料圆盘通过所述主轴、联轴器、减速机与所述圆盘电机相连接。6. The disc material distribution device according to claim 1, wherein the disc drive mechanism comprises a disc motor, a reducer, a coupling, a main shaft and a bushing sleeved on the main shaft, The material distribution disc is connected with the disc motor through the main shaft, the coupling and the reducer. 7.如权利要求1所述的圆盘分料装置,其特征在于,所述搅拌机构包括与所述圆盘同轴转动的搅拌架,所述搅拌架固接有多个搅拌桨叶,多个所述搅拌桨叶周向均匀设置。7. The disc material distribution device according to claim 1, wherein the stirring mechanism comprises a stirring frame that rotates coaxially with the disc, and the stirring frame is fixed with a plurality of stirring paddles. Each of the stirring blades is evenly arranged in the circumferential direction. 8.如权利要求7所述的圆盘分料装置,其特征在于,所述搅拌桨叶包括第一搅拌桨叶和第二搅拌桨叶,所述第二搅拌桨叶装置在第一搅拌桨叶外侧的底部,所述第一搅拌桨叶呈L型,所述第二搅拌桨叶呈矩形。8. The disc dispensing device according to claim 7, wherein the stirring paddle comprises a first stirring paddle and a second stirring paddle, and the second stirring paddle is installed at the first stirring paddle. At the bottom of the outer side of the blade, the first stirring blade is L-shaped, and the second stirring blade is rectangular. 9.如权利要求2所述的圆盘分料装置,其特征在于,所述储料仓设有储料仓进料口和储料仓出料口,所述储料仓出料口配置有闭合机构。9. The disc material distribution device according to claim 2, wherein the storage bin is provided with a storage bin feed port and a storage bin discharge port, and the storage bin discharge port is configured with a Closing mechanism. 10.如权利要求9所述的圆盘分料装置,其特征在于,所述闭合机构包括挡口件及驱动组件,所述驱动组件与挡口件传动连接,所述驱动组件能带动所述挡口件相对于所述储料仓出料口运动从而将所述储料仓出料口关闭或打开。10 . The disc material distributing device according to claim 9 , wherein the closing mechanism comprises a shutter and a drive assembly, the drive assembly is drivingly connected with the shutter, and the drive assembly can drive the The shutter member moves relative to the outlet of the storage bin to close or open the outlet of the storage bin.
CN202011634759.7A 2020-12-31 2020-12-31 Disc feed divider Pending CN112623793A (en)

Priority Applications (1)

Application Number Priority Date Filing Date Title
CN202011634759.7A CN112623793A (en) 2020-12-31 2020-12-31 Disc feed divider

Applications Claiming Priority (1)

Application Number Priority Date Filing Date Title
CN202011634759.7A CN112623793A (en) 2020-12-31 2020-12-31 Disc feed divider

Publications (1)

Publication Number Publication Date
CN112623793A true CN112623793A (en) 2021-04-09

Family

ID=75289897

Family Applications (1)

Application Number Title Priority Date Filing Date
CN202011634759.7A Pending CN112623793A (en) 2020-12-31 2020-12-31 Disc feed divider

Country Status (1)

Country Link
CN (1) CN112623793A (en)

Cited By (2)

* Cited by examiner, † Cited by third party
Publication number Priority date Publication date Assignee Title
CN113335954A (en) * 2021-07-21 2021-09-03 六安中科聚盆机械有限公司 Feeding device for ore screening
CN113415640A (en) * 2021-07-19 2021-09-21 宁安市粮油淀粉机械制造有限公司 Material distribution device and starch manufacturing equipment

Citations (5)

* Cited by examiner, † Cited by third party
Publication number Priority date Publication date Assignee Title
JP2012006687A (en) * 2010-06-23 2012-01-12 Taisei Kogyo Kk Machine for quantitatively discharging powder and granular material
CN108031378A (en) * 2017-12-12 2018-05-15 湖南太子新材料科技有限公司 A kind of circular pan mixer
CN108745084A (en) * 2017-07-25 2018-11-06 湘潭大学 A kind of vertical powder mixing blender
CN210674933U (en) * 2019-08-26 2020-06-05 成都养元动物科技有限公司 Feed mixing device
CN216189427U (en) * 2020-12-31 2022-04-05 广东拉多美化肥有限公司 Disc feed divider

Patent Citations (5)

* Cited by examiner, † Cited by third party
Publication number Priority date Publication date Assignee Title
JP2012006687A (en) * 2010-06-23 2012-01-12 Taisei Kogyo Kk Machine for quantitatively discharging powder and granular material
CN108745084A (en) * 2017-07-25 2018-11-06 湘潭大学 A kind of vertical powder mixing blender
CN108031378A (en) * 2017-12-12 2018-05-15 湖南太子新材料科技有限公司 A kind of circular pan mixer
CN210674933U (en) * 2019-08-26 2020-06-05 成都养元动物科技有限公司 Feed mixing device
CN216189427U (en) * 2020-12-31 2022-04-05 广东拉多美化肥有限公司 Disc feed divider

Cited By (2)

* Cited by examiner, † Cited by third party
Publication number Priority date Publication date Assignee Title
CN113415640A (en) * 2021-07-19 2021-09-21 宁安市粮油淀粉机械制造有限公司 Material distribution device and starch manufacturing equipment
CN113335954A (en) * 2021-07-21 2021-09-03 六安中科聚盆机械有限公司 Feeding device for ore screening

Similar Documents

Publication Publication Date Title
CN203612426U (en) Automatic and even feeding device
CN203319297U (en) Feeding device and feeding system
AU2014331449B2 (en) Dispensing system for an agricultural spreader machine
CN112623793A (en) Disc feed divider
KR101619367B1 (en) Multiple mixing system for control of particle size of cyclic aggregate production treatment process of construction waste using dual fan mixer and con mixer using waste conveyor belt and multiple impeller mixer
CN216189427U (en) Disc feed divider
CN207044458U (en) Plastics mixed powder self detecting type Automatic-feeding equipment
JPH09313910A (en) Kneading device
JP6892107B2 (en) Supply device and supply method of powder and granular material
CN209209087U (en) A kind of precise weighing batcher
CN221439711U (en) Steel plate bin distributing device
CN108081453A (en) A kind of two-driven-by-one concrete mixing plant for powder dispensing
JP2012006687A (en) Machine for quantitatively discharging powder and granular material
CN207044638U (en) PVC production feeding device
CN218422469U (en) Compound microbial fertilizer granulator adds device
CN217160431U (en) A solid fertilizer injection unit for vegetables
CN207709139U (en) Calcium hydroxide flour mill
CN216266794U (en) Concrete feed opening adjusting device
CN207046470U (en) A kind of quantifying organic manure batcher
JP3002161B2 (en) Plastic material crushing and mixing equipment
US2863575A (en) Storage hoppers
JP2580203B2 (en) Powder supply unit
CN208868672U (en) A kind of raw materials for production storage device facilitating blanking
CN219488978U (en) Feeding device
US2481101A (en) Feeding apparatus

Legal Events

Date Code Title Description
PB01 Publication
PB01 Publication
SE01 Entry into force of request for substantive examination
SE01 Entry into force of request for substantive examination
WD01 Invention patent application deemed withdrawn after publication

Application publication date: 20210409

WD01 Invention patent application deemed withdrawn after publication