CN112617546A - Pillow and pillow component - Google Patents

Pillow and pillow component Download PDF

Info

Publication number
CN112617546A
CN112617546A CN202011026276.9A CN202011026276A CN112617546A CN 112617546 A CN112617546 A CN 112617546A CN 202011026276 A CN202011026276 A CN 202011026276A CN 112617546 A CN112617546 A CN 112617546A
Authority
CN
China
Prior art keywords
pillow
pair
component
fastener
pillow member
Prior art date
Legal status (The legal status is an assumption and is not a legal conclusion. Google has not performed a legal analysis and makes no representation as to the accuracy of the status listed.)
Pending
Application number
CN202011026276.9A
Other languages
Chinese (zh)
Inventor
山田志奈乃
渡边贤悟
Current Assignee (The listed assignees may be inaccurate. Google has not performed a legal analysis and makes no representation or warranty as to the accuracy of the list.)
Xichuan Co ltd
Original Assignee
Xichuan Co ltd
Priority date (The priority date is an assumption and is not a legal conclusion. Google has not performed a legal analysis and makes no representation as to the accuracy of the date listed.)
Filing date
Publication date
Application filed by Xichuan Co ltd filed Critical Xichuan Co ltd
Publication of CN112617546A publication Critical patent/CN112617546A/en
Pending legal-status Critical Current

Links

Images

Classifications

    • AHUMAN NECESSITIES
    • A47FURNITURE; DOMESTIC ARTICLES OR APPLIANCES; COFFEE MILLS; SPICE MILLS; SUCTION CLEANERS IN GENERAL
    • A47GHOUSEHOLD OR TABLE EQUIPMENT
    • A47G9/00Bed-covers; Counterpanes; Travelling rugs; Sleeping rugs; Sleeping bags; Pillows
    • A47G9/10Pillows

Landscapes

  • Health & Medical Sciences (AREA)
  • General Health & Medical Sciences (AREA)
  • Otolaryngology (AREA)
  • Pulmonology (AREA)
  • Bedding Items (AREA)

Abstract

本发明提供一种在能够容易地调节高度或柔软度的同时,能够减少改变材料或形状时耗费的成本的枕头以及枕头部件。一个实施方式所涉及的枕头具备枕头部件3、枕头部件2和拉链10,该枕头部件3具有在第1方向上延伸的一对短边以及在与第1方向交叉的第2方向上延伸的一对长边,该枕头部件2位于枕头部件3的上方,且其具有在第1方向上延伸的一对短边以及在第2方向上延伸的一对长边,该拉链10使枕头部件3以及枕头部件2相互接合,拉链10具备一对链牙12和拉头11,该一对链牙12沿着枕头部件3以及枕头部件2各自的短边以及长边而被设为环状,该拉头11对一对链牙12进行开闭,在一对链牙12打开时,枕头部件3以及枕头部件2可相互分离。

Figure 202011026276

The present invention provides a pillow and pillow components that can be easily adjusted for height or softness while reducing the cost of changing materials or shapes. The pillow according to one embodiment includes a pillow member 3 having a pair of short sides extending in a first direction and a pair of short sides extending in a second direction intersecting the first direction, a pillow member 2 and a slide fastener 10 . For the long sides, the pillow part 2 is located above the pillow part 3, and has a pair of short sides extending in the first direction and a pair of long sides extending in the second direction, and the slide fastener 10 makes the pillow part 3 and the The pillow members 2 are joined to each other, and the slide fastener 10 includes a pair of fastener elements 12 and a slider 11 formed in an annular shape along the short and long sides of the pillow member 3 and the pillow member 2, respectively. The head 11 opens and closes the pair of fastener elements 12, and when the pair of fastener elements 12 is opened, the pillow member 3 and the pillow member 2 can be separated from each other.

Figure 202011026276

Description

Pillow and pillow component
Technical Field
The invention relates to a pillow for resting the head of a user and to pillow parts (parts).
Background
Various pillows are known in the art. Japanese utility model registration No. 3154563 discloses a pillow for bedding. The pillow for bedding comprises a lower layer pillow and an upper layer pillow, wherein the lower layer pillow and the upper layer pillow are connected with each other via a sewing part. The lower layer pillow and the upper layer pillow are respectively provided with a plurality of separation cavities, and each separation cavity is provided with a zipper (fastener) for opening and closing each separation cavity. The filler can be contained in each of the divided cavities by opening the zipper.
The lower layer pillow and the upper layer pillow are respectively in a rectangular shape which is long in the transverse direction. The sewing part is composed of a long side of the lower layer pillow and a long side of the upper layer pillow. Zippers are arranged on three sides except the stitching parts of the lower layer pillow and the upper layer pillow. The lower layer pillow and the upper layer pillow can be opened and closed by opening and closing the zippers on the three sides of the lower layer pillow and the zippers on the three sides of the upper layer pillow.
Patent document
Patent document 1: japanese utility model registration No. 3154563
Disclosure of Invention
In the above pillow for bedding, the lower layer pillow and the upper layer pillow can be opened and closed. However, since the lower layer pillow and the upper layer pillow are provided integrally, the lower layer pillow and the upper layer pillow are always used integrally. Therefore, when adjusting the height or the softness of the entire pillow, it is necessary to adjust the amount or the type of the filler in the partitioned chamber of either the lower-layer pillow or the upper-layer pillow, and the adjustment of the height or the softness may be complicated. Further, when the material or shape of the lower layer pillow or the upper layer pillow itself is adjusted, the lower layer pillow and the upper layer pillow are integrated, and therefore, the bedding pillow itself may have to be replaced. Therefore, it is expected that a cost is incurred in changing the material or shape.
The invention aims to provide a pillow and a pillow component, which can easily adjust the height or the softness and reduce the cost for changing materials or shapes.
The pillow of the invention comprises: a lower pillow part having a pair of short sides extending in a 1 st direction and a pair of long sides extending in a 2 nd direction crossing the 1 st direction, an upper pillow part, and a slide fastener; the upper pillow component is positioned above the lower pillow component and is provided with a pair of short sides extending in the 1 st direction and a pair of long sides extending in the 2 nd direction; the zipper enables the lower pillow component and the upper pillow component to be mutually jointed, and the zipper is provided with: a pair of elements (slider) formed in a ring shape along the short sides and the long sides of the lower pillow member and the upper pillow member; the slider opens and closes the pair of fastener elements, and when the pair of fastener elements are opened, the lower pillow member and the upper pillow member are separable from each other.
The pillow is provided with a zipper for connecting the lower pillow component and the upper pillow component, and each zipper tooth of the zipper is in a ring shape. The slider of the slide fastener opens and closes the fastener elements provided on the lower pillow member and the fastener elements provided on the upper pillow member. When the slider opens the pair of fastener elements, the lower pillow member and the upper pillow member can be separated from each other. Accordingly, since the lower pillow part and the upper pillow part can be separated, the height or softness of the pillow can be adjusted by replacing only any one of the lower pillow part and the upper pillow part. As a result, the height or the flexibility of the pillow can be easily adjusted. Further, by replacing only either one of the lower pillow part and the upper pillow part, the material or shape of the pillow can be adjusted. Therefore, the material or the shape can be changed by replacing either one of the lower pillow member and the upper pillow member, and therefore, the cost required for changing the material or the shape can be reduced.
Further, the slide fastener may have a covering portion that covers the pair of closed fastener elements. In this case, since the pair of closed fastener elements is covered with the cover, the fastener elements of the slide fastener can be prevented from directly hitting the body of the user. Therefore, it is possible to avoid the user from feeling uncomfortable when the user's body touches the fastener elements during sleep or the like.
Further, in a state where the pair of coupling elements are completely closed, the slider may be positioned between the short side of the lower pillow member and the short side of the upper pillow member. In this case, when the pair of elements are completely closed, the slider is positioned on the end portion side of each long side, and therefore, the distance from the slider to the body of the user can be increased. Therefore, the slider of the slide fastener can be made less likely to touch the body of the user.
The pillow member of the present invention has a pair of short sides extending in a 1 st direction and a pair of long sides extending in a 2 nd direction intersecting the 1 st direction, and is provided with a slide fastener joined to the other pillow member, the slide fastener being formed in a loop shape along the short sides and the long sides, and the pillow member is separable from the other pillow member when the slide fastener is opened.
The pillow member is provided with a slide fastener joined to the other pillow member, and the slide fastener is formed in a ring shape. When the zipper is opened, the pillow component can be separated from the other pillow components. Accordingly, since the pillow part is provided to be separable from other pillow parts, the height or softness of the pillow can be adjusted by replacing the pillow part. Therefore, the height or softness of the pillow can be easily adjusted. In addition, even if the whole pillow is not replaced, the material or the shape of the pillow can be changed by replacing the pillow component, so that the cost consumed in changing the material or the shape of the pillow can be reduced.
According to the present invention, while the height or softness can be easily adjusted, the cost required for changing the material or shape can be reduced.
Drawings
Fig. 1 is a plan view showing an outer surface of an upper pillow member of the pillow according to the embodiment.
Fig. 2 is a top view showing the outer surface of the lower pillow component of the pillow of fig. 1.
Fig. 3 is a top view showing the interior surface of the upper pillow component of fig. 1.
Fig. 4 is a top view showing the interior surface of the lower pillow component of fig. 2.
Fig. 5 is a perspective view showing a slider and a cover of a zipper of the pillow of fig. 1.
Fig. 6 is a perspective view showing an example of the slide fastener of fig. 5 in a state where a pair of elements are opened.
Detailed Description
Hereinafter, embodiments of the pillow and the pillow member according to the present invention will be described with reference to the drawings. In the description of the drawings, the same or corresponding components are denoted by the same reference numerals, and overlapping description is omitted as appropriate. In addition, in the drawings, a part may be simplified or exaggerated for easy understanding, and the dimensional ratio and the like are not limited to those described in the drawings.
Fig. 1 is a plan view of a pillow 1 according to the present embodiment, as viewed from a side of a pillow member 2. Fig. 2 is a top view of the pillow 1 viewed from the side of the pillow part 3 which is different from the pillow part 2 and faces the opposite side of the pillow part 2. As shown in fig. 1 and 2, the pillow 1 includes a pillow member 3 and a pillow member 2, the pillow member 3 being a lower side pillow member that comes into contact with a bedding (application き bedding), and the pillow member 2 being an upper side pillow member that is positioned above the pillow member 3 and on which the head of the user of the pillow 1 rests. In the present embodiment, an example in which the kind of the pillow member 3 is different from that of the pillow member 2 will be described.
The pillow members 2 and 3 are provided so as to be separable from each other, and for example, only one of the pillow members 2 and 3 can be replaced in the pillow 1. As an example of the pillow member 2 and the pillow member 3, both of them are formed in a rectangular shape in a plan view, and the pillow member 2 is joined to the pillow member 3 to constitute the pillow 1.
The pillow member 2 has a vertically upward facing surface 2b, and quilting (quilt) is applied to the surface 2b of the pillow member 2, for example. The pillow member 2 has a pair of short sides 2A extending in the 1 st direction D1 and a pair of long sides 2B extending in the 2 nd direction D2 intersecting the 1 st direction D1. The 1 st direction D1 and the 2 nd direction D2 are orthogonal to each other, for example.
The pair of short sides 2A and the pair of long sides 2B form an annular region surrounding the surface 2B, and an outer edge 4 extending along the annular region is formed below the annular region (on the side of the pillow member 3). The outer edge portion 4 is formed in a linear shape having a constant width, for example, and is made of a material different from the material of the surface 2b of the pillow member 2. One of the pair of long sides 2B is curved toward the center side in the 1 st direction D1 of the pillow member 2 as it goes toward the center in the 2 nd direction D2, for example, and this curved portion corresponds to a portion where the neck of the user rests.
The pillow part 2 has, for example, inner spaces 2c, 2d, 2f, 2g, 2h, 2j, 2k capable of accommodating a filler. The internal space 2c and the internal space 2D are aligned along the 1 st direction D1 on one side (left side in fig. 1) in the 2 nd direction D2. The internal space 2f, the internal space 2g, and the internal space 2h are aligned along the 1 st direction D1 at the center of the 2 nd direction D2.
The internal space 2f is disposed on one side (upper side in fig. 1) in the 1 st direction D1, and the internal space 2h is disposed on the other side (lower side in fig. 1) in the 1 st direction D1. The internal space 2g is disposed between the internal space 2f and the internal space 2 h. The internal space 2j is disposed on one side in the 1 st direction D1, and the internal space 2k is disposed on the other side in the 1 st direction D1.
The pillow member 2 has a plurality of 1 st partitions 7a extending in the 1 st direction D1 and a plurality of 2 nd partitions 7b extending in the 2 nd direction D2, and is partitioned into internal spaces 2c, 2D, 2f, 2g, 2h, 2j, 2k by the plurality of 1 st partitions 7a and the plurality of 2 nd partitions 7 b. For example, two 1 st partitions 7a extend along the 1 st direction D1, and four 2 nd partitions 7b extend along the 2 nd direction D2. As described above, the pillow member 2 is provided to have 7 inner spaces, and the fillings can be accommodated in the respective inner spaces. However, the number and arrangement of the inner spaces of the pillow member 2 are not limited to the above examples, and may be changed as appropriate.
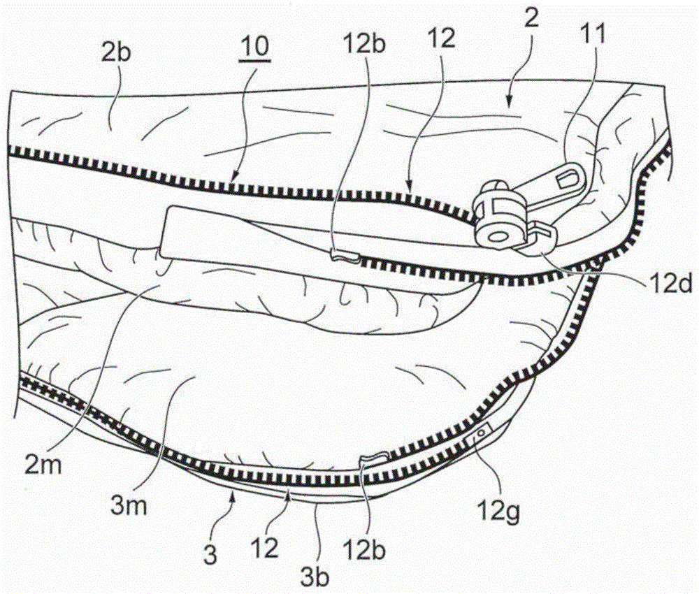
The pillow part 3 has a vertically downwardly directed surface 3b, for example, the surface 3b of the pillow part 3 is provided as a flat cloth. The shape of the pillow part 3 in plan view corresponds to the shape of the pillow part 2 in plan view, and may be, for example, the same as the shape of the pillow part 2 in plan view. The pillow member 3 has a pair of short sides 3A extending in the 1 st direction D1 and a pair of long sides 3B extending in the 2 nd direction D2. The pair of short sides 3A and the pair of long sides 3B form a loop-shaped region surrounding the surface 3B, and a slide fastener 10 extending along the loop-shaped region is provided on the upper side (pillow member 2 side) of the loop-shaped region.
The slide fastener 10 is a slide fastener for joining the pillow member 2 and the pillow member 3 to each other, and is, for example, a concealed type slide fastener (concealed fastener) in which the fastener elements 12 (see fig. 6) of the slide fastener 10 are concealed in a closed state. The zipper 10 is provided in a ring shape which surrounds the outer circumference of the pillow 1 extending in the 1 st direction D1 and the 2 nd direction D2 for one turn so that the pillow part 2 and the pillow part 3 can be attached to and detached from each other. The structure of the slide fastener 10 will be described in detail later.
One of the pair of long sides 3B is curved toward the center side of the pillow member 3 in the 1 st direction D1, for example, as it goes toward the center in the 2 nd direction D2, and this curved portion is placed on the curved portion of the pillow member 2. The pillow member 3 has, for example, inner spaces 3c, 3d, 3f, 3g, 3h, 3j, 3k capable of storing a filler.
The respective inner spaces 3c, 3d, 3f, 3g, 3h, 3j, 3k are opposed to the respective inner spaces 2c, 2d, 2f, 2g, 2h, 2j, 2k of the pillow part 2, for example, in the thickness direction (height direction) of the pillow 1. Thus, the pillow member 3 is provided to have 7 inner spaces, and fillings can be accommodated in the respective inner spaces. Therefore, the pillow 1 has a total of 14 inner spaces, and the 14 inner spaces can accommodate fillers of different kinds and amounts, and thus, the height and hardness of the pillow 1 can be arbitrarily changed according to the preference of the user.
Fig. 3 is a plan view showing the back surface 2m of the pillow member 2 on the opposite side of the surface 2 b. Fig. 4 is a plan view showing the back surface 3m of the pillow member 3 on the opposite side of the surface 3 b. The pillow member 2 includes zippers 5c, 5d, 5f, 5g, 5h, 5j, and 5k corresponding to the internal spaces 2c, 2d, 2f, 2g, 2h, 2j, and 2k, respectively.
By opening and closing the slide fasteners 5c, 5d, 5f, 5g, 5h, 5j, 5k, the types and amounts of the fillers contained in the internal spaces 2c, 2d, 2f, 2g, 2h, 2j, 2k, respectively, can be changed. The pillow member 3 includes the slide fasteners 6c, 6d, 6f, 6g, 6h, 6j, and 6k, and the types and amounts of the fillers stored in the internal spaces 3c, 3d, 3f, 3g, 3h, 3j, and 3k can be changed by opening and closing the slide fasteners 6c, 6d, 6f, 6g, 6h, 6j, and 6 k. For example, the slide fasteners 5c, 5D, 5f, 5g, 5h, 5j, 5k and the slide fasteners 6c, 6D, 6f, 6g, 6h, 6j, 6k are linear fasteners extending in the 2 nd direction D2.
The pillow member 3 includes, for example, belt-shaped portions 3x, 3y, and 3z protruding from the long side 3B, and the belt-shaped portions 3x, 3y, and 3z are hook portions for hooking a clothes peg or the like. The pillow member 3 after washing can be easily dried by the belt- like portions 3x, 3y, and 3 z. The shape, size, number, and arrangement of the belt-shaped portions of the pillow member 3 are not limited to the belt-shaped portions 3x, 3y, and 3z, and may be appropriately changed. The pillow member 2 may also have a band-shaped portion.
Next, the structure of the slide fastener 10 will be described in detail. The slide fastener 10 includes a pair of elements 12 and a slider 11, the pair of elements 12 being formed in a ring shape along the short sides 2A, 3A and the long sides 2B, 3B of the pillow member 2 and the pillow member 3, respectively, and the slider 11 opening and closing the pair of elements 12. In a state where the pair of fastener elements 12 are completely closed, the slider 11 is located between the short side 2A of the pillow member 2 and the short side 3A of the pillow member 3, for example.
Specifically, in a state where the fastener elements 12 are closed, the slider 11 is positioned at a corner portion of the pillow member 2 and the pillow member 3 (for example, the farthest position from the neck portion in the four corners). That is, the slider 11 is located at the end of the short side 2A of the pillow member 2 in the 1 st direction D1 and at the end of the pillow member 3 in the 1 st direction D1. By disposing the slider 11 at this position, the slider 11 can be disposed at a distance from the neck of the user, and thus the slider 11 can be made less likely to touch the body of the user.
Fig. 5 is an enlarged perspective view of the slider 11 of the slide fastener 10 when the pair of elements 12 are closed. As shown in fig. 5, an outer edge 4 is formed below an annular region surrounding the surface 2b of the pillow member 2, and a band-shaped portion 9 extending along the outer edge 4 is formed below the outer edge 4.
The pillow member 2, the outer edge portion 4, the belt-like portion 9, and the slide fastener 10 are arranged in this order, and the outer edge portion 4 and the belt-like portion 9 having a constant width are arranged between the pillow member 2 and the slide fastener 10. Therefore, the position of the slide fastener 10 can be set to a position away from the pillow member 2 as the upper side pillow member, whereby the slide fastener 10 can be made less likely to touch the body of the user.
Fig. 6 is a perspective view showing a state where the pair of elements 12 are opened. As shown in fig. 5 and 6, the fastener elements 12 extend along the outer periphery of the pillow 1 (the loop region of the pillow members 2 and 3) from one end 12b to the other end 12c by one or more turns. In addition, the one end portion 12b of the element 12 is positioned adjacent to the other end portion 12c of the element 12 in a plan view.
The slide fastener 10 is, for example, a concealed type slide fastener having a covering portion 13 covering a pair of closed fastener elements 12. The slide fastener 10 is formed as an open type slide fastener (open fastener) including a socket (retainer box)12d, a socket tube 12f, and a spigot tube (insertion pin)12g, and a pair of fastener elements 12 are separable from each other.
In the slide fastener 10, for example, from the state shown in fig. 6, the insert pin 12g is held by the slider 11 and the receptacle 12d, the slider 11 is separated from the other end portion 12c, and the slider 11 is wound around the pillow 1 in one direction (leftward in fig. 6), thereby closing the pair of elements 12. In the slide fastener 10, for example, from the state shown in fig. 5, the slider 11 is separated from the one end portion 12b, and the slider 11 is wound around the pillow 1 in a direction opposite to the above direction (rightward in fig. 5) to open the pair of fastener elements 12, whereby the pillow member 2 can be completely separated from the pillow member 3.
Next, the operational effects obtained by the pillow 1 and the pillow members 2 and 3 according to the present embodiment will be described in detail. The pillow 1 includes a slide fastener 10, and the slide fastener 10 joins a pillow member 2 as an upper pillow member and a pillow member 3 as a lower pillow member to each other, and each fastener element 12 of the slide fastener 10 is formed in a ring shape surrounding the pillow 1 in one round. The slider 11 of the slide fastener 10 opens and closes the fastener elements 12 provided in the pillow member 3 and the fastener elements 12 provided in the pillow member 2. When the slider 11 opens the pair of fastener elements 12, the pillow part 3 and the pillow part 2 can be separated from each other. Therefore, since the pillow part 2 and the pillow part 3 can be separated, the height or softness of the pillow 1 can be adjusted by replacing only any one of the pillow part 2 and the pillow part 3.
As a result, the height or the flexibility of the pillow 1 can be easily adjusted. In addition, only either one of the pillow part 2 and the pillow part 3 is replaced, and the material or shape of the pillow 1 can be adjusted. Therefore, the material or the shape can be changed by replacing either one of the pillow part 2 and the pillow part 3, and thus the cost consumed in changing the material or the shape can be reduced.
The slide fastener 10 may have a covering portion 13 that covers the pair of closed fastener elements 12. In this case, since the pair of closed elements 12 are covered with the cover 13, the elements 12 of the slide fastener 10 can be prevented from directly hitting against the body of the user. Therefore, it is possible to avoid the user from feeling uncomfortable when the user's body touches the fastener elements 12 during sleep or the like.
In addition, the slider 11 may be positioned between the short side 3A of the pillow member 3 and the short side 2A of the pillow member 2 in a state where the pair of fastener elements 12 are completely closed. In this case, when the pair of elements 12 are completely closed, the slider 11 is positioned on the end side of the long sides 2B and 3B, and therefore, the distance from the slider 11 to the body of the user can be increased. Thus, the slider 11 of the slide fastener 10 can be made less likely to touch the body of the user.
The pillow member 2 according to the present embodiment includes a slide fastener 10 joined to the pillow member 3, and the slide fastener 10 is formed in a ring shape. When the zipper 10 is opened, the pillow part 2 can be separated from the pillow part 3. Accordingly, since the pillow part 2 is provided to be separable from the pillow part 3, the height or softness of the pillow 1 can be adjusted by replacing the pillow part 2 (or replacing the pillow part 3). Thus, the height or softness of the pillow 1 can be easily adjusted. Further, even if the whole of the pillow 1 is not replaced, the material or shape of the pillow 1 can be changed by replacing the pillow member 2 (or the pillow member 3), and therefore, the cost consumed in changing the material or shape of the pillow 1 can be reduced.
The above description explains the embodiments of the pillow and the pillow member according to the present invention. However, the present invention is not limited to the above embodiments, and the present invention may be modified and applied to other objects without changing the gist of the present invention described in the claims. That is, the shape, size, material, number, and arrangement of the pillow and the pillow member can be modified as appropriate within the scope not departing from the gist of the invention.
For example, in the above embodiment, the pillow member 2 and the pillow member 3 divided into 7 parts are explained. However, the number of divisions of the pillow member 2 and the pillow member may be 2 or more and 6 or less, or 8 or more. Further, it is also possible to omit division of either one of the pillow member 2 and the pillow member 3. For example, it is also possible to divide the pillow part 3 as a lower pillow part without dividing the pillow part 2 as an upper pillow part. In this case, the pillow member 2 is set to be flat, and thus, even for a user who dislikes the concave-convex feeling of the pillow, a suitable pillow 1 can be provided.
In addition, in the above-described embodiment, an example was explained in which the kind of the pillow part 2 as the upper side pillow part and the kind of the pillow part 3 as the lower side pillow part are different from each other. However, the kind of the upper pillow part and the kind of the lower pillow part may be the same as each other. In this case, the pillow components constituting the pillow can be used in common, and therefore, the cost for manufacturing the pillow components and the like can be reduced.
In the above embodiment, the pillow member 2 in which one of the pair of long sides 2B is curved toward the center in the 1 st direction D1 as it goes toward the center in the 2 nd direction D2 is exemplified. However, the shape of the pillow member is not limited to the above example, and may be appropriately modified. For example, the pillow member may be a pillow member in which one of the pair of long sides 2B protrudes in the 1 st direction D1 toward the center in the 2 nd direction D2. Further, the pillow members may also be formed in shapes symmetrical to each other with respect to a reference line extending in the 2 nd direction D2 at the center in the 1 st direction D1. In this case, even if the orientation of the pillow member in the 1 st direction D1 is reversed, the pillow member can be used in the same manner as before the reversal, and therefore, the pillow can be used without being conscious of the orientation of the pillow member.
Description of the symbols
… pillow, 2 … pillow parts (upper pillow part), 2a … short side, 2B … face, 2B … long side, 2c, 2d, 2f, 2g, 2h, 2j, 2k … internal space, 2m … back, 3 … pillow part (lower pillow part), 3a … short side, 3B … face, 3B … long side, 3c, 3d, 3f, 3g, 3h, 3j, 3k … internal space, 3m … back, 3x, 3y, 3z … ribbon, 4 … outer edge, 5c, 5d, 5f, 5g, 5h, 5j, 5k, 6c, 6d, 6f, 6g, 6h, 6j, 6k … zipper, 7a … th partition 6861, 7B … nd partition, 9 ribbon shaped …, 10B 8653, 8612B 8612 socket 3687412, … B8612 end 3646 d, 3646B insert 3646 c, 12f … seat tube, 12g … cannula, 13 … cover, D1 … 1 st direction, D2 … 2 nd direction.

Claims (10)

1. A pillow is provided with:
a lower pillow component having a pair of short sides extending in a 1 st direction and a pair of long sides extending in a 2 nd direction crossing the 1 st direction;
an upper pillow component positioned above the lower pillow component and having a pair of short sides extending in the 1 st direction and a pair of long sides extending in the 2 nd direction; and
a zipper that engages the lower pillow component and the upper pillow component with one another,
the slide fastener has:
a pair of fastener elements that are formed in a loop shape along the short side and the long side of each of the lower pillow member and the upper pillow member; and
a slider that opens and closes the pair of fastener elements,
the lower pillow component and the upper pillow component are separable from each other when the pair of coupling elements are open.
2. The pillow of claim 1, wherein,
the slide fastener has a covering portion that covers the pair of closed fastener elements.
3. The pillow of claim 1 or 2,
the slider is located between the short side of the lower pillow member and the short side of the upper pillow member in a state where the pair of coupling elements are completely closed.
4. The pillow of any one of claims 1-3,
the slider is located at a corner of the upper pillow member and the lower pillow member in a state where the fastener elements are closed.
5. The pillow according to any one of claims 1 to 4,
an outer edge portion is formed on the lower side of an annular region surrounding the surface of the upper pillow member, a belt-shaped portion extending along the outer edge portion is formed on the lower side of the outer edge portion,
the upper pillow member, the outer edge portion, the band portion, and the zipper are arranged in this order.
6. The pillow according to any one of claims 1 to 4,
an outer edge portion and a belt-shaped portion having a constant width are disposed between the upper pillow member and the slide fastener.
7. The pillow of any one of claims 1-6,
the fastener elements extend along the outer periphery of the pillow from one end to the other end by more than one turn.
8. The pillow of claim 7, wherein,
the one end portion of the fastener element is located adjacent to the other end portion in a plan view.
9. The pillow of any one of claims 1-8,
the zipper is an open type zipper comprising a socket, a seat tube and a cannula.
10. A pillow component having a pair of short sides extending in a 1 st direction and a pair of long sides extending in a 2 nd direction crossing the 1 st direction,
the pillow parts are provided with zippers which engage with other of the pillow parts,
the zipper is formed in a ring shape along the short side and the long side,
when the zipper is opened, the pillow component can be separated from the other pillow components.
CN202011026276.9A 2019-10-08 2020-09-25 Pillow and pillow component Pending CN112617546A (en)

Applications Claiming Priority (2)

Application Number Priority Date Filing Date Title
JP2019185491A JP7389994B2 (en) 2019-10-08 2019-10-08 Pillows and pillow parts
JP2019-185491 2019-10-08

Publications (1)

Publication Number Publication Date
CN112617546A true CN112617546A (en) 2021-04-09

Family

ID=75302744

Family Applications (1)

Application Number Title Priority Date Filing Date
CN202011026276.9A Pending CN112617546A (en) 2019-10-08 2020-09-25 Pillow and pillow component

Country Status (2)

Country Link
JP (1) JP7389994B2 (en)
CN (1) CN112617546A (en)

Families Citing this family (1)

* Cited by examiner, † Cited by third party
Publication number Priority date Publication date Assignee Title
US20240150945A1 (en) 2021-03-30 2024-05-09 Toyobo Mc Corporation Biodegradable three-dimensional network structure

Citations (6)

* Cited by examiner, † Cited by third party
Publication number Priority date Publication date Assignee Title
KR20120015788A (en) * 2010-08-13 2012-02-22 김충배 Healthy pillow
JP2013042856A (en) * 2011-08-23 2013-03-04 Toyo Quality One Corp Pillow cover
CN203953138U (en) * 2014-06-30 2014-11-26 田中床上用品株式会社 Pillow for bedding
CN203987245U (en) * 2014-07-14 2014-12-10 江苏堂皇集团有限公司 Two-in-one pillow
CN104873052A (en) * 2015-06-16 2015-09-02 易勇波 Combined reshaping pillow
JP3206144U (en) * 2016-06-21 2016-09-01 株式会社アテックス Multifunction pillow

Family Cites Families (5)

* Cited by examiner, † Cited by third party
Publication number Priority date Publication date Assignee Title
JPH0496219U (en) * 1991-01-21 1992-08-20
JP3621014B2 (en) 1999-04-22 2005-02-16 Ykk株式会社 Chain for slide fastener, terminal molding method and terminal molding apparatus
JP3129552U (en) 2006-11-07 2007-03-01 弓子 畑 Men's round neck shirt
JP3142823U (en) 2008-04-17 2008-06-26 有限会社ウェルシー pillow
JP2012239775A (en) 2011-05-24 2012-12-10 Lec Inc Pillow

Patent Citations (6)

* Cited by examiner, † Cited by third party
Publication number Priority date Publication date Assignee Title
KR20120015788A (en) * 2010-08-13 2012-02-22 김충배 Healthy pillow
JP2013042856A (en) * 2011-08-23 2013-03-04 Toyo Quality One Corp Pillow cover
CN203953138U (en) * 2014-06-30 2014-11-26 田中床上用品株式会社 Pillow for bedding
CN203987245U (en) * 2014-07-14 2014-12-10 江苏堂皇集团有限公司 Two-in-one pillow
CN104873052A (en) * 2015-06-16 2015-09-02 易勇波 Combined reshaping pillow
JP3206144U (en) * 2016-06-21 2016-09-01 株式会社アテックス Multifunction pillow

Also Published As

Publication number Publication date
JP7389994B2 (en) 2023-12-01
JP2021058475A (en) 2021-04-15

Similar Documents

Publication Publication Date Title
US11730292B2 (en) Self-stowing pillow
US20220202211A1 (en) Bedding and bedding cover therefor
AU2023233083A1 (en) Improvements in Bedding
US20220039569A1 (en) Adjustable Pillow
CN112617546A (en) Pillow and pillow component
US20060021134A1 (en) Cot
CN111093440B (en) Improvements in bedding including push-pin fixture assemblies
US20030106150A1 (en) Kickproof quilt stucture
JP2002325668A (en) Futon (quilt)cover
KR102291244B1 (en) blanket using a slider for 3-line zipper
JP7481524B1 (en) Cushions and covers
KR102602735B1 (en) Blanket cover for easy binding of inside pad and manufacturing method thereof
KR20230096834A (en) Slide pastener
JP7692579B2 (en) sleeping bag
KR102542064B1 (en) Baby pillow and manufacturing method thereof
CN111802879A (en) Pillow body and pillow
US20250000222A1 (en) Snap-fit suitcase
JP3212622U (en) Duvet cover
KR102118828B1 (en) Bedclothes
CN218044591U (en) Sleeping bag
CN218942748U (en) Quilt cover capable of being overlapped and spliced
JP2559866Y2 (en) Terminal processing structure of tape
JP3098988U (en) cushion
JP2024110775A (en) Duvet Cover
JP7539680B2 (en) Elastic pillowcase

Legal Events

Date Code Title Description
PB01 Publication
PB01 Publication
SE01 Entry into force of request for substantive examination
SE01 Entry into force of request for substantive examination
WD01 Invention patent application deemed withdrawn after publication
WD01 Invention patent application deemed withdrawn after publication

Application publication date: 20210409