CN112377647A - Leakage-proof one-way valve structure - Google Patents

Leakage-proof one-way valve structure Download PDF

Info

Publication number
CN112377647A
CN112377647A CN202011184130.7A CN202011184130A CN112377647A CN 112377647 A CN112377647 A CN 112377647A CN 202011184130 A CN202011184130 A CN 202011184130A CN 112377647 A CN112377647 A CN 112377647A
Authority
CN
China
Prior art keywords
movable
sleeve
retaining ring
valve body
fixedly installed
Prior art date
Legal status (The legal status is an assumption and is not a legal conclusion. Google has not performed a legal analysis and makes no representation as to the accuracy of the status listed.)
Pending
Application number
CN202011184130.7A
Other languages
Chinese (zh)
Inventor
刘浩杰
Current Assignee (The listed assignees may be inaccurate. Google has not performed a legal analysis and makes no representation or warranty as to the accuracy of the list.)
Taizhou Shuofu Machinery Technology Co ltd
Original Assignee
Taizhou Shuofu Machinery Technology Co ltd
Priority date (The priority date is an assumption and is not a legal conclusion. Google has not performed a legal analysis and makes no representation as to the accuracy of the date listed.)
Filing date
Publication date
Application filed by Taizhou Shuofu Machinery Technology Co ltd filed Critical Taizhou Shuofu Machinery Technology Co ltd
Priority to CN202011184130.7A priority Critical patent/CN112377647A/en
Publication of CN112377647A publication Critical patent/CN112377647A/en
Pending legal-status Critical Current

Links

Images

Classifications

    • FMECHANICAL ENGINEERING; LIGHTING; HEATING; WEAPONS; BLASTING
    • F16ENGINEERING ELEMENTS AND UNITS; GENERAL MEASURES FOR PRODUCING AND MAINTAINING EFFECTIVE FUNCTIONING OF MACHINES OR INSTALLATIONS; THERMAL INSULATION IN GENERAL
    • F16KVALVES; TAPS; COCKS; ACTUATING-FLOATS; DEVICES FOR VENTING OR AERATING
    • F16K15/00Check valves
    • F16K15/02Check valves with guided rigid valve members
    • F16K15/06Check valves with guided rigid valve members with guided stems
    • F16K15/063Check valves with guided rigid valve members with guided stems the valve being loaded by a spring
    • FMECHANICAL ENGINEERING; LIGHTING; HEATING; WEAPONS; BLASTING
    • F16ENGINEERING ELEMENTS AND UNITS; GENERAL MEASURES FOR PRODUCING AND MAINTAINING EFFECTIVE FUNCTIONING OF MACHINES OR INSTALLATIONS; THERMAL INSULATION IN GENERAL
    • F16KVALVES; TAPS; COCKS; ACTUATING-FLOATS; DEVICES FOR VENTING OR AERATING
    • F16K15/00Check valves
    • F16K15/18Check valves with actuating mechanism; Combined check valves and actuated valves
    • FMECHANICAL ENGINEERING; LIGHTING; HEATING; WEAPONS; BLASTING
    • F16ENGINEERING ELEMENTS AND UNITS; GENERAL MEASURES FOR PRODUCING AND MAINTAINING EFFECTIVE FUNCTIONING OF MACHINES OR INSTALLATIONS; THERMAL INSULATION IN GENERAL
    • F16KVALVES; TAPS; COCKS; ACTUATING-FLOATS; DEVICES FOR VENTING OR AERATING
    • F16K31/00Actuating devices; Operating means; Releasing devices
    • F16K31/44Mechanical actuating means
    • F16K31/50Mechanical actuating means with screw-spindle or internally threaded actuating means
    • F16K31/508Mechanical actuating means with screw-spindle or internally threaded actuating means the actuating element being rotatable, non-rising, and driving a non-rotatable axially-sliding element

Landscapes

  • Engineering & Computer Science (AREA)
  • General Engineering & Computer Science (AREA)
  • Mechanical Engineering (AREA)
  • Check Valves (AREA)

Abstract

本发明适用于单向阀领域,提供了一种避免泄漏的单向阀结构,包括阀体,所述阀体内部一端的中间位置处固定安装有安装套,所述安装套内部的一端活动安装有活动块,所述活动块的一侧固定安装有支撑弹簧,移动挡圈移动时,推动活动套沿着伸缩螺杆的表面进行移动,活动套对复位弹簧进行压缩,当移动挡圈复位时,在复位弹簧的作用下,加强了移动挡圈与固定挡圈的贴合,加强了密封性,当阀体根据使用者需求反向流动时,使用者通过旋转把手带动旋转螺套进行旋转,旋转螺套带动伸缩螺杆进行收缩,伸缩螺杆通过限位块和限位槽带动活动套进行移动,活动套带动移动挡圈移动,使得液体可以回流,便于对阀体进行调节。

Figure 202011184130

The invention is applicable to the field of one-way valves, and provides a one-way valve structure for avoiding leakage, comprising a valve body, an installation sleeve is fixedly installed at the middle position of one end inside the valve body, and one end inside the installation sleeve is movably installed There is a movable block, and a support spring is fixedly installed on one side of the movable block. When the movable retaining ring moves, the movable sleeve is pushed to move along the surface of the telescopic screw, and the movable sleeve compresses the return spring. When the movable retaining ring is reset, Under the action of the return spring, the fit of the movable retaining ring and the fixed retaining ring is strengthened, and the sealing performance is strengthened. When the valve body flows in the reverse direction according to the user's needs, the user drives the rotary screw sleeve to rotate by rotating the handle, and the rotation The screw sleeve drives the telescopic screw to shrink, the telescopic screw drives the movable sleeve to move through the limit block and the limit groove, and the movable sleeve drives the movable retaining ring to move, so that the liquid can flow back, which is convenient for adjusting the valve body.

Figure 202011184130

Description

Leakage-proof one-way valve structure
Technical Field
The invention belongs to the technical field of one-way valves, and particularly relates to a leakage-preventing one-way valve structure.
Background
The check valve is commonly called as a check valve, fluid can only flow along the water inlet, and the medium at the water outlet cannot flow back. Check valves are also known as check valves or check valves. For preventing reverse flow of oil in hydraulic systems or for preventing reverse flow of compressed air in pneumatic systems. The one-way valve has a straight-through type and a right-angle type. The straight-through one-way valve is installed on the pipeline by threaded connection. The right-angle check valve has three forms of threaded connection, plate connection and flange connection.
The existing one-way valve is simple in structure, a great number of problems often exist in the using process, for example, the valve core is complex in structure and poor in sealing effect, liquid inside the valve flows reversely easily, the using effect is affected, the valve cannot be adjusted according to the requirements of users, and the using limitation is large.
Disclosure of Invention
The invention provides a leakage-preventing one-way valve structure, and aims to solve the problems that the existing valve core is complex in structure and poor in sealing effect, liquid in the valve easily flows reversely, the use effect is influenced, the valve core cannot be adjusted according to the requirements of users, and the use limitation is large.
The invention is realized in such a way, the one-way valve structure for avoiding leakage comprises a valve body, wherein a mounting sleeve is fixedly arranged at the middle position of one end in the valve body, a movable block is movably arranged at one end in the mounting sleeve, a supporting spring is fixedly arranged at one side of the movable block, one end of the supporting spring is fixedly connected with one side in the mounting sleeve, a movable rod is fixedly arranged at the middle position of one side of the movable block, one end of the movable rod is movably inserted in the outer side of the mounting sleeve, a fixed check ring is fixedly arranged at one side in the valve body, a discharge hole is formed in the surface of the fixed check ring, the movable rod is movably inserted in the discharge hole, a movable check ring is movably arranged at one side of the fixed check ring, one side of the movable check ring is fixedly connected with one side of the movable rod, a sealing block is fixedly, the utility model discloses a valve body, including valve body, sealed piece, discharge gate, valve body, movable sleeve, return ring, sealed piece with the discharge gate is connected, the inside one side movable mounting of valve body has rotatory swivel nut, the inside activity interlude of rotatory swivel nut one end has telescopic screw, telescopic screw's one end activity interlude is in the outside of rotatory swivel nut, and this end movable sleeve is equipped with the movable sleeve, the one end of movable sleeve with one side fixed connection of removal retaining ring, the inside one end fixed mounting of movable sleeve has reset spring, its one end with telescopic screw's one end.
Preferably, the diameter of the fixed retainer ring is larger than that of the movable retainer ring, and the shape of the sealing block is equal to that of the discharge hole.
Preferably, one end of the rotary threaded sleeve is movably inserted in the outer side of the valve body in a penetrating mode, a rotary handle is fixedly installed at the end of the rotary threaded sleeve, and anti-skid threads are arranged on the surface of the rotary handle.
Preferably, the both sides of the inside of movable sleeve are all fixedly mounted with a limiting groove, the limiting groove is located the both sides of telescopic screw one end are the symmetric distribution, the inside movable mounting of limiting groove has the stopper, two the stopper respectively with the both sides fixed connection of telescopic screw one end.
Preferably, the two ends of the valve body are respectively provided with a discharge hole and a feed inlet, and the feed inlet is positioned on one side of the fixed check ring.
Preferably, the sliding grooves are formed in two sides of the inner portion of the mounting sleeve, the sliding blocks are fixedly mounted on two sides of the surface of the movable block, and the sliding blocks are movably connected with the sliding grooves.
Preferably, the both sides on installation cover surface all fixed mounting have the installation pole, the one end of installation pole with one side fixed connection of valve body inner wall.
Compared with the prior art, the invention has the beneficial effects that: the invention relates to a leakage-preventing one-way valve structure, which comprises the following components:
1. through the arrangement of the mounting sleeve, the integral device has good sealing effect, when a user uses the integral device, the valve body is fixed at the use position, the discharge port and the feed port are respectively connected with other equipment through flanges, liquid enters the interior of the valve body through the feed port, when the liquid is contacted with the fixed check ring, pressure is generated on the movable check ring, the movable check ring moves, the movable check ring drives the movable rod to move, the movable rod drives the movable block to move in the interior of the mounting sleeve, the supporting spring is compressed, the liquid is discharged from the discharge port through the discharge port, thereby facilitating the flow of the liquid, when the flow is stopped, the movable block recovers the original position under the action of the supporting spring, the movable block drives the movable check ring to move through the movable rod, the sealing block on one side of the movable check ring is attached to the discharge port, the discharge port is convenient to be blocked, liquid backflow is avoided;
2. when removing the retaining ring and removing, promote the movable sleeve and remove along telescopic screw's surface, the movable sleeve compresses reset spring, when removing the retaining ring and reseing, under reset spring's effect, the laminating of removing retaining ring and retaining ring has been strengthened, the leakproofness has been strengthened, when the valve body is according to user's demand reverse flow, the user drives rotatory swivel nut through rotatory handle and rotates, rotatory swivel nut drives telescopic screw and contracts, telescopic screw drives the movable sleeve through stopper and spacing groove and removes, the movable sleeve drives the removal retaining ring and removes, make liquid can flow back, be convenient for adjust the valve body.
Drawings
FIG. 1 is a schematic diagram of the overall apparatus of the present invention;
FIG. 2 is a schematic view of the movable stopper of the present invention;
FIG. 3 is a schematic view of a retaining ring according to the present invention;
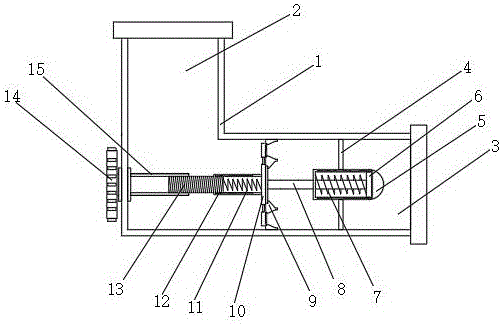
in the figure: 1. a valve body; 2. a discharge outlet; 3. a feed inlet; 4. mounting a rod; 5. installing a sleeve; 6. a movable block; 7. a support spring; 8. a movable rod; 9. fixing a retainer ring; 10. moving the retainer ring; 11. a return spring; 12. a movable sleeve; 13. a telescopic screw; 14. rotating the handle; 15. rotating the threaded sleeve; 16. a sealing block; 17. and (4) a discharge port.
Detailed Description
In order to make the objects, technical solutions and advantages of the present invention more apparent, the present invention is described in further detail below with reference to the accompanying drawings and embodiments. It should be understood that the specific embodiments described herein are merely illustrative of the invention and are not intended to limit the invention.
Referring to fig. 1-3, the present invention provides a technical solution of a check valve structure for preventing leakage: comprises a valve body 1, a mounting sleeve 5 is fixedly arranged at the middle position of one end inside the valve body 1, a movable block 6 is movably arranged at one end inside the mounting sleeve 5, a supporting spring 7 is fixedly arranged at one side of the movable block 6, one end of the supporting spring is fixedly connected with one side inside the mounting sleeve 5, a movable rod 8 is fixedly arranged at the middle position of one side of the movable block 6, one end of the movable rod is movably inserted outside the mounting sleeve 5, a fixed check ring 9 is fixedly arranged at one side inside the valve body 1, a discharge hole 17 is arranged on the surface of the fixed check ring 9, a movable rod 8 is movably inserted inside the discharge hole 17, a movable check ring 10 is movably arranged at one side of the fixed check ring 9, one side of the movable check ring 10 is fixedly connected with one side of the movable rod 8, a sealing block 16 is fixedly arranged at one side of the movable check ring 10, the sealing block 16 is, a telescopic screw 13 is movably inserted in one end of the rotary threaded sleeve 15, one end of the telescopic screw 13 is movably inserted in the outer side of the rotary threaded sleeve 15, a movable sleeve 12 is movably sleeved at the end, one end of the movable sleeve 12 is fixedly connected with one side of the movable check ring 10, a return spring 11 is fixedly installed at one end of the inner part of the movable sleeve 12, and one end of the return spring is fixedly connected with one end of the telescopic screw 13.
In this embodiment, when the liquid will contact the fixed retainer 9, pressure is generated on the movable retainer 10, the movable retainer 10 moves, the movable retainer 10 drives the movable rod 8 to move, the movable rod 8 drives the movable block 6 to move inside the mounting sleeve 5, and the support spring 7 is compressed, so that the liquid is discharged through the discharge port 17, thereby facilitating the flow of the liquid, when the flow stops, the movable block 6 returns to the original position under the action of the support spring 7, the movable block 6 drives the movable retainer 10 to move through the movable rod 8, so that the sealing block 16 on one side of the movable retainer 10 is attached to the discharge port 17, thereby facilitating the blockage of the discharge port 17, enhancing the sealing effect, avoiding the backflow of the liquid, when the movable retainer 10 moves, the movable sleeve 12 is pushed to move along the surface of the telescopic screw 13, and the movable sleeve 12 compresses the return spring 11, when removing retaining ring 10 and reseing, under reset spring 11's effect, the laminating of removing retaining ring 10 and retaining ring 9 has been strengthened, the leakproofness has been strengthened, when valve body 1 is according to user's demand reverse flow, the user drives rotatory swivel nut 15 through rotatory handle 14 and rotates, rotatory swivel nut 15 drives telescopic screw 13 and contracts, telescopic screw 13 drives movable sleeve 12 through stopper and spacing groove and removes, movable sleeve 12 drives and removes retaining ring 10 and removes, make liquid can flow back, be convenient for adjust valve body 1.
Further, the diameter of the fixed retainer 9 is larger than that of the movable retainer 10, and the shape of the sealing block 16 is equal to that of the discharge hole 17.
In the embodiment, the sealing effect of the discharge hole 17 is enhanced by the arrangement of the sealing block 16, and meanwhile, the diameter of the fixed check ring 9 is larger than that of the movable check ring 10, so that better liquid flow is facilitated.
Furthermore, one end of the rotary threaded sleeve 15 is movably inserted outside the valve body 1, a rotary handle 14 is fixedly installed at the end, and anti-skid threads are arranged on the surface of the rotary handle 14.
In this embodiment, the user can rotate the rotary screw sleeve 15 by the rotary handle 14, so as to move the movable check ring 10.
Further, the both sides of the inside of movable sleeve 12 are all fixedly mounted with a spacing groove, the both sides that the spacing groove is located telescopic screw 13 one end are the symmetric distribution, and the inside movable mounting of spacing groove has the stopper, two stoppers respectively with telescopic screw 13 one end's both sides fixed connection.
In the present embodiment, the movable connection between the movable sleeve 12 and the telescopic screw 13 is strengthened
Further, both ends of the valve body 1 are respectively provided with a discharge opening 2 and a feed inlet 3, and the feed inlet 3 is positioned on one side of the fixed check ring 9.
In this embodiment, when the user uses the valve body 1, the discharge opening 2 and the feed opening 3 are connected to other devices via flanges, respectively, and liquid enters the valve body 1 through the feed opening 3.
Further, the spout has all been seted up to the inside both sides of installation cover 5, and the equal fixed mounting in both sides on 6 surfaces of movable block has the slider, slider and spout swing joint.
In this embodiment, the swing joint of the mounting sleeve 5 and the movable block 6 is strengthened, so that the movable retainer ring 10 is kept in an original state under the action of the mounting sleeve 5, rotation is avoided, the telescopic screw 13 is limited, and the phenomenon that the rotary screw sleeve 15 drives the telescopic screw 13 to rotate to influence the contraction of the telescopic screw 13 is avoided.
Furthermore, the two sides of the surface of the mounting sleeve 5 are fixedly provided with mounting rods 4, and one end of each mounting rod 4 is fixedly connected with one side of the inner wall of the valve body 1.
In this embodiment, the user can fix the mounting sleeve 5 by the mounting rod 4.
The working principle and the using process of the invention are as follows: when a user uses the valve body 1, the valve body 1 is fixed at the use position, the discharge port 2 and the feed port 3 are respectively connected with other equipment through flanges, after the valve is installed, liquid enters the interior of the valve body 1 through the feed port 3, when the liquid is in contact with the fixed check ring 9, pressure is generated on the movable check ring 10, the movable check ring 10 moves, the movable check ring 10 drives the movable rod 8 to move, the movable rod 8 drives the movable block 6 to move in the interior of the installation sleeve 5, the supporting spring 7 is compressed, the liquid is discharged from the discharge port 17 through the discharge port 17, so that the liquid can conveniently flow, when the flow is stopped, the movable block 6 is restored to the original position under the action of the supporting spring 7, the movable block 6 drives the movable check ring 10 to move through the movable rod 8, the sealing block 16 on one side of the movable check ring 10 is attached to the discharge port 17, and the, strengthened sealed effect, avoid the liquid backward flow, when removing retaining ring 10 and removing, promote movable sleeve 12 and remove along telescopic screw 13's surface, movable sleeve 12 compresses reset spring 11, when removing retaining ring 10 and reseing, under reset spring 11's effect, the laminating of removing retaining ring 10 and retaining ring 9 has been strengthened, the leakproofness has been strengthened, when valve body 1 is according to user's demand reverse flow, the user drives rotatory swivel nut 15 through rotatory handle 14 and rotates, rotatory swivel nut 15 drives telescopic screw 13 and contracts, telescopic screw 13 drives movable sleeve 12 through stopper and spacing groove and removes, movable sleeve 12 drives removal retaining ring 10 and removes, make liquid can flow back, be convenient for adjust valve body 1.
The above description is only for the purpose of illustrating the preferred embodiments of the present invention and is not to be construed as limiting the invention, and any modifications, equivalents and improvements made within the spirit and principle of the present invention are intended to be included within the scope of the present invention.

Claims (7)

1.一种避免泄漏的单向阀结构,包括阀体(1),其特征在于:所述阀体(1)内部一端的中间位置处固定安装有安装套(5),所述安装套(5)内部的一端活动安装有活动块(6),所述活动块(6)的一侧固定安装有支撑弹簧(7),其一端与所述安装套(5)内部的一侧固定连接,所述活动块(6)一侧的中间位置处固定安装有活动杆(8),其一端活动穿插在所述安装套(5)的外侧,所述阀体(1)内部的一侧固定安装有固定挡圈(9),所述固定挡圈(9)的表面开设有出料口(17),所述出料口(17)的内部活动穿插有所述活动杆(8),所述固定挡圈(9)的一侧活动安装有移动挡圈(10),所述移动挡圈(10)的一侧与所述活动杆(8)的一侧固定连接,所述移动挡圈(10)的一侧固定安装有密封块(16),所述密封块(16)与所述出料口(17)相连接,所述阀体(1)内部的一侧活动安装有旋转螺套(15),所述旋转螺套(15)一端的内部活动穿插有伸缩螺杆(13),所述伸缩螺杆(13)的一端活动穿插在所述旋转螺套(15)的外侧,且该端活动套设有活动套(12),所述活动套(12)的一端与所述移动挡圈(10)的一侧固定连接,所述活动套(12)内部的一端固定安装有复位弹簧(11),其一端与所述伸缩螺杆(13)的一端固定连接。1. A one-way valve structure for avoiding leakage, comprising a valve body (1), characterized in that: an installation sleeve (5) is fixedly installed at the middle position of one end inside the valve body (1), and the installation sleeve ( 5) A movable block (6) is movably installed at one end of the inner side, a support spring (7) is fixedly installed on one side of the movable block (6), and one end of the movable block (6) is fixedly connected to one side inside the installation sleeve (5), A movable rod (8) is fixedly installed at the middle position of one side of the movable block (6), one end of which is movably inserted into the outer side of the installation sleeve (5), and one side inside the valve body (1) is fixedly installed There is a fixed retaining ring (9), a discharge port (17) is opened on the surface of the fixed retaining ring (9), and the movable rod (8) is movably inserted in the interior of the discharge port (17). One side of the fixed retaining ring (9) is movably mounted with a movable retaining ring (10), one side of the movable retaining ring (10) is fixedly connected with one side of the movable rod (8), and the movable retaining ring ( 10) A sealing block (16) is fixedly installed on one side, the sealing block (16) is connected with the discharge port (17), and a rotating screw sleeve is movably installed on one side of the inside of the valve body (1). (15), a telescopic screw (13) is movably inserted into one end of the rotating screw sleeve (15), and one end of the telescopic screw (13) is movably inserted outside the rotating screw sleeve (15), and this end The movable sleeve is provided with a movable sleeve (12), one end of the movable sleeve (12) is fixedly connected with one side of the movable retaining ring (10), and one end inside the movable sleeve (12) is fixedly installed with a return spring ( 11), one end of which is fixedly connected to one end of the telescopic screw (13). 2.如权利要求1所述的一种避免泄漏的单向阀结构,其特征在于:所述固定挡圈(9)的直径大于所述移动挡圈(10)的直径,所述密封块(16)的形状与所述出料口(17)的相等。2. The one-way valve structure for avoiding leakage according to claim 1, characterized in that: the diameter of the fixed retaining ring (9) is larger than the diameter of the moving retaining ring (10), and the sealing block ( The shape of 16) is equal to that of the outlet (17). 3.如权利要求1所述的一种避免泄漏的单向阀结构,其特征在于:所述旋转螺套(15)的一端活动穿插在所述阀体(1)的外侧,且该端固定安装有旋转把手(14),所述旋转把手(14)的表面设置有防滑纹。3. The one-way valve structure for avoiding leakage according to claim 1, characterized in that: one end of the rotating screw sleeve (15) is movably inserted through the outside of the valve body (1), and the end is fixed A rotating handle (14) is installed, and the surface of the rotating handle (14) is provided with anti-skid patterns. 4.如权利要求1所述的一种避免泄漏的单向阀结构,其特征在于:所述活动套(12)内部的两侧均固定安装有限位槽,所述限位槽位于所述伸缩螺杆(13)一端的两侧呈对称分布,所述限位槽的内部活动安装有限位块,两块所述限位块分别与所述伸缩螺杆(13)一端的两侧固定连接。The one-way valve structure for avoiding leakage according to claim 1, characterized in that: limiting grooves are fixedly installed on both sides inside the movable sleeve (12), and the limiting grooves are located in the telescopic Both sides of one end of the screw rod (13) are symmetrically distributed, and limit blocks are movably installed inside the limit groove, and the two limit blocks are respectively fixedly connected to both sides of one end of the telescopic screw rod (13). 5.如权利要求1所述的一种避免泄漏的单向阀结构,其特征在于:所述阀体(1)的两端分别设置有排料口(2)和进料口(3),所述进料口(3)位于所述固定挡圈(9)的一侧。5. The one-way valve structure for avoiding leakage according to claim 1, characterized in that: both ends of the valve body (1) are respectively provided with a discharge port (2) and a feed port (3), The feeding port (3) is located on one side of the fixed retaining ring (9). 6.如权利要求1所述的一种避免泄漏的单向阀结构,其特征在于:所述安装套(5)内部的两侧均开设有滑槽,所述活动块(6)表面的两侧均固定安装有滑块,所述滑块与所述滑槽活动连接。6. The one-way valve structure for avoiding leakage according to claim 1, characterized in that: sliding grooves are provided on both sides of the inside of the installation sleeve (5), and two sides of the surface of the movable block (6) are provided with sliding grooves. A sliding block is fixedly installed on both sides, and the sliding block is movably connected with the chute. 7.如权利要求1所述的一种避免泄漏的单向阀结构,其特征在于:所述安装套(5)表面的两侧均固定安装有安装杆(4),所述安装杆(4)的一端与所述阀体(1)内壁的一侧固定连接。7. The one-way valve structure for avoiding leakage according to claim 1, characterized in that: both sides of the surface of the mounting sleeve (5) are fixedly installed with mounting rods (4), and the mounting rods (4) ) is fixedly connected to one side of the inner wall of the valve body (1).
CN202011184130.7A 2020-10-30 2020-10-30 Leakage-proof one-way valve structure Pending CN112377647A (en)

Priority Applications (1)

Application Number Priority Date Filing Date Title
CN202011184130.7A CN112377647A (en) 2020-10-30 2020-10-30 Leakage-proof one-way valve structure

Applications Claiming Priority (1)

Application Number Priority Date Filing Date Title
CN202011184130.7A CN112377647A (en) 2020-10-30 2020-10-30 Leakage-proof one-way valve structure

Publications (1)

Publication Number Publication Date
CN112377647A true CN112377647A (en) 2021-02-19

Family

ID=74577823

Family Applications (1)

Application Number Title Priority Date Filing Date
CN202011184130.7A Pending CN112377647A (en) 2020-10-30 2020-10-30 Leakage-proof one-way valve structure

Country Status (1)

Country Link
CN (1) CN112377647A (en)

Cited By (1)

* Cited by examiner, † Cited by third party
Publication number Priority date Publication date Assignee Title
CN115287150A (en) * 2022-06-30 2022-11-04 镇江丹和醋业有限公司 Large-scale production and preparation process for mature vinegar

Citations (7)

* Cited by examiner, † Cited by third party
Publication number Priority date Publication date Assignee Title
US20060226387A1 (en) * 2005-04-11 2006-10-12 Scg (Thailand) Co., Ltd. Check valve
CN102102689A (en) * 2011-01-30 2011-06-22 林友根 Hydraulic one-way valve
CN202266710U (en) * 2011-09-30 2012-06-06 郑州人造金刚石及制品工程技术研究中心有限公司 Check valve
CN204387406U (en) * 2014-12-26 2015-06-10 邵泽超 A kind of adjustable shaft flow type back valve
CN211398668U (en) * 2019-11-12 2020-09-01 温州御封流体设备有限公司 Check valve
CN211550637U (en) * 2019-12-02 2020-09-22 龚麒麟 Novel chemical valve
CN213839697U (en) * 2020-10-30 2021-07-30 泰州硕甫机械科技有限公司 Leakage-proof one-way valve structure

Patent Citations (7)

* Cited by examiner, † Cited by third party
Publication number Priority date Publication date Assignee Title
US20060226387A1 (en) * 2005-04-11 2006-10-12 Scg (Thailand) Co., Ltd. Check valve
CN102102689A (en) * 2011-01-30 2011-06-22 林友根 Hydraulic one-way valve
CN202266710U (en) * 2011-09-30 2012-06-06 郑州人造金刚石及制品工程技术研究中心有限公司 Check valve
CN204387406U (en) * 2014-12-26 2015-06-10 邵泽超 A kind of adjustable shaft flow type back valve
CN211398668U (en) * 2019-11-12 2020-09-01 温州御封流体设备有限公司 Check valve
CN211550637U (en) * 2019-12-02 2020-09-22 龚麒麟 Novel chemical valve
CN213839697U (en) * 2020-10-30 2021-07-30 泰州硕甫机械科技有限公司 Leakage-proof one-way valve structure

Cited By (1)

* Cited by examiner, † Cited by third party
Publication number Priority date Publication date Assignee Title
CN115287150A (en) * 2022-06-30 2022-11-04 镇江丹和醋业有限公司 Large-scale production and preparation process for mature vinegar

Similar Documents

Publication Publication Date Title
CN213839697U (en) Leakage-proof one-way valve structure
CN108506527A (en) One kind is two-way to use machinery valve
CN112377647A (en) Leakage-proof one-way valve structure
CN207470860U (en) Automatic pressure reducing valve
CN210739460U (en) A combined ball valve
CN207229847U (en) A kind of check-valves of convenient dismounting
CN216045626U (en) One-way valve with elastic sealing effect
CN208058030U (en) One kind is two-way to use machinery valve
CN220337551U (en) But slow-closure butterfly valve of non return formula
CN115405761A (en) Vertical sliding rail fixing device
CN223120656U (en) Angle valve decompression structure and angle valve thereof
CN223782084U (en) A flow-stopping mechanism for a check valve and the check valve itself.
CN215568355U (en) Novel antibiotic stop valve
CN221943328U (en) A ball valve capable of preventing connected pipes from loosening and leaking
CN212226176U (en) Novel bellows no-leakage valve
CN218326238U (en) A butterfly valve that is easy to assemble and disassemble
CN223035769U (en) Anti-seepage drain pipe backstop
CN220378932U (en) Ball valve with elastic valve seat
CN212745247U (en) One-way flow guide valve of ball seat convenient to installation
CN222864177U (en) Cut-off valve
CN111946858A (en) Three-way stop valve convenient to adjust
CN213298959U (en) Decoking control valve easy to assemble and disassemble quickly
CN223049456U (en) Flow-controllable high-pressure ball valve
CN220302855U (en) Wear-resistant corrosion-resistant air conditioner check valve
CN210461705U (en) High-pressure reducing valve

Legal Events

Date Code Title Description
PB01 Publication
PB01 Publication
SE01 Entry into force of request for substantive examination
SE01 Entry into force of request for substantive examination
WD01 Invention patent application deemed withdrawn after publication

Application publication date: 20210219

WD01 Invention patent application deemed withdrawn after publication