CN112240113A - 一种挡臂可伸缩的内叉车泊车机器人及其停车实现方法 - Google Patents
一种挡臂可伸缩的内叉车泊车机器人及其停车实现方法 Download PDFInfo
- Publication number
- CN112240113A CN112240113A CN202011236194.7A CN202011236194A CN112240113A CN 112240113 A CN112240113 A CN 112240113A CN 202011236194 A CN202011236194 A CN 202011236194A CN 112240113 A CN112240113 A CN 112240113A
- Authority
- CN
- China
- Prior art keywords
- arm
- fork arm
- gear
- vehicle
- parking robot
- Prior art date
- Legal status (The legal status is an assumption and is not a legal conclusion. Google has not performed a legal analysis and makes no representation as to the accuracy of the status listed.)
- Withdrawn
Links
- 238000000034 method Methods 0.000 title claims abstract description 24
- 230000000903 blocking effect Effects 0.000 claims abstract description 47
- 230000007246 mechanism Effects 0.000 claims description 42
- 238000005096 rolling process Methods 0.000 claims description 32
- 230000008569 process Effects 0.000 abstract description 4
- 230000004888 barrier function Effects 0.000 description 4
- NJPPVKZQTLUDBO-UHFFFAOYSA-N novaluron Chemical compound C1=C(Cl)C(OC(F)(F)C(OC(F)(F)F)F)=CC=C1NC(=O)NC(=O)C1=C(F)C=CC=C1F NJPPVKZQTLUDBO-UHFFFAOYSA-N 0.000 description 4
- 239000003638 chemical reducing agent Substances 0.000 description 3
- 230000000694 effects Effects 0.000 description 2
- 238000001125 extrusion Methods 0.000 description 2
- 230000001788 irregular Effects 0.000 description 2
- 230000009471 action Effects 0.000 description 1
- 230000009286 beneficial effect Effects 0.000 description 1
- 238000010586 diagram Methods 0.000 description 1
- 238000004519 manufacturing process Methods 0.000 description 1
- 238000012986 modification Methods 0.000 description 1
- 230000004048 modification Effects 0.000 description 1
- 238000003825 pressing Methods 0.000 description 1
- 230000001681 protective effect Effects 0.000 description 1
- 230000000630 rising effect Effects 0.000 description 1
- 230000032258 transport Effects 0.000 description 1
Images
Classifications
-
- E—FIXED CONSTRUCTIONS
- E04—BUILDING
- E04H—BUILDINGS OR LIKE STRUCTURES FOR PARTICULAR PURPOSES; SWIMMING OR SPLASH BATHS OR POOLS; MASTS; FENCING; TENTS OR CANOPIES, IN GENERAL
- E04H6/00—Buildings for parking cars, rolling-stock, aircraft, vessels or like vehicles, e.g. garages
- E04H6/08—Garages for many vehicles
- E04H6/12—Garages for many vehicles with mechanical means for shifting or lifting vehicles
-
- E—FIXED CONSTRUCTIONS
- E04—BUILDING
- E04H—BUILDINGS OR LIKE STRUCTURES FOR PARTICULAR PURPOSES; SWIMMING OR SPLASH BATHS OR POOLS; MASTS; FENCING; TENTS OR CANOPIES, IN GENERAL
- E04H6/00—Buildings for parking cars, rolling-stock, aircraft, vessels or like vehicles, e.g. garages
- E04H6/08—Garages for many vehicles
- E04H6/12—Garages for many vehicles with mechanical means for shifting or lifting vehicles
- E04H6/18—Garages for many vehicles with mechanical means for shifting or lifting vehicles with means for transport in vertical direction only or independently in vertical and horizontal directions
- E04H6/182—Garages for many vehicles with mechanical means for shifting or lifting vehicles with means for transport in vertical direction only or independently in vertical and horizontal directions using car-gripping transfer means
-
- E—FIXED CONSTRUCTIONS
- E04—BUILDING
- E04H—BUILDINGS OR LIKE STRUCTURES FOR PARTICULAR PURPOSES; SWIMMING OR SPLASH BATHS OR POOLS; MASTS; FENCING; TENTS OR CANOPIES, IN GENERAL
- E04H6/00—Buildings for parking cars, rolling-stock, aircraft, vessels or like vehicles, e.g. garages
- E04H6/08—Garages for many vehicles
- E04H6/12—Garages for many vehicles with mechanical means for shifting or lifting vehicles
- E04H6/18—Garages for many vehicles with mechanical means for shifting or lifting vehicles with means for transport in vertical direction only or independently in vertical and horizontal directions
- E04H6/24—Garages for many vehicles with mechanical means for shifting or lifting vehicles with means for transport in vertical direction only or independently in vertical and horizontal directions characterised by use of dollies for horizontal transport, i.e. cars being permanently parked on wheeled platforms
-
- E—FIXED CONSTRUCTIONS
- E04—BUILDING
- E04H—BUILDINGS OR LIKE STRUCTURES FOR PARTICULAR PURPOSES; SWIMMING OR SPLASH BATHS OR POOLS; MASTS; FENCING; TENTS OR CANOPIES, IN GENERAL
- E04H6/00—Buildings for parking cars, rolling-stock, aircraft, vessels or like vehicles, e.g. garages
- E04H6/08—Garages for many vehicles
- E04H6/12—Garages for many vehicles with mechanical means for shifting or lifting vehicles
- E04H6/30—Garages for many vehicles with mechanical means for shifting or lifting vehicles with means for transport in horizontal direction only
- E04H6/305—Garages for many vehicles with mechanical means for shifting or lifting vehicles with means for transport in horizontal direction only using car-gripping transfer means
-
- E—FIXED CONSTRUCTIONS
- E04—BUILDING
- E04H—BUILDINGS OR LIKE STRUCTURES FOR PARTICULAR PURPOSES; SWIMMING OR SPLASH BATHS OR POOLS; MASTS; FENCING; TENTS OR CANOPIES, IN GENERAL
- E04H6/00—Buildings for parking cars, rolling-stock, aircraft, vessels or like vehicles, e.g. garages
- E04H6/08—Garages for many vehicles
- E04H6/12—Garages for many vehicles with mechanical means for shifting or lifting vehicles
- E04H6/30—Garages for many vehicles with mechanical means for shifting or lifting vehicles with means for transport in horizontal direction only
- E04H6/36—Garages for many vehicles with mechanical means for shifting or lifting vehicles with means for transport in horizontal direction only characterised by use of freely-movable dollies
-
- E—FIXED CONSTRUCTIONS
- E04—BUILDING
- E04H—BUILDINGS OR LIKE STRUCTURES FOR PARTICULAR PURPOSES; SWIMMING OR SPLASH BATHS OR POOLS; MASTS; FENCING; TENTS OR CANOPIES, IN GENERAL
- E04H6/00—Buildings for parking cars, rolling-stock, aircraft, vessels or like vehicles, e.g. garages
- E04H6/42—Devices or arrangements peculiar to garages, not covered elsewhere, e.g. securing devices, safety devices, monitoring and operating schemes; centering devices
Landscapes
- Engineering & Computer Science (AREA)
- Architecture (AREA)
- Civil Engineering (AREA)
- Structural Engineering (AREA)
- Mechanical Engineering (AREA)
- Forklifts And Lifting Vehicles (AREA)
Abstract
本发明属于泊车机器人技术领域,公开了一种挡臂可伸缩的内叉车泊车机器人及其停车实现方法。所述机器人包括:呈一字形结构的车架、主动行走装置、结构对称相同的左叉臂和右叉臂、安装在左叉臂和右叉臂上的万向轮和结构对称相同的左挡臂和右挡臂。可伸缩的左挡臂和右挡臂可移动的安装在车架上,分别位于左叉臂和右叉臂的两侧,且分别与左叉臂和右叉臂组合使用,用于在左叉臂和右叉臂夹起车辆的过程中限制车辆的前后移动并确认车轮是否已经被抬起。所述挡臂结构,能够在泊车机器人抬起车辆时限制车辆的前后移动并确认车轮是否已经被抬起,以免因为车辆前后配重差较大,导致较轻的一端直接越过叉臂,造成抬起车辆失败。
Description
技术领域
本发明属于泊车机器人技术领域,涉及一种停车场用将车辆搬运到或搬离停车位的自动化设备,具体地说是一种挡臂可伸缩的内叉车泊车机器人及其停车实现方法。
背景技术
随着社会的发展,经济的提高,汽车数量急剧增加,家用汽车已是各户必备交通工具,各城市泊车难的问题也随之而来,泊车排队、找车位时间长,传统的司机自己找车位泊车的方法已经不能满足现在各城市泊车需求。为了减少找车位的时间,市场上出现了具有不同结构的泊车机器人。
其中,一种通过从侧面插入车辆底部并夹抱轮胎来抬起车辆的泊车机器人具有很广泛的应用前景。通常,这种泊车机器人采用四爪结构,包括一个带有移动轮的U型框架主体和四个可以在框架主体的长边上滑动的夹持用的叉臂。这种结构的泊车机器人占地空间大,重量高,并且由于叉臂下没有支撑结构,结构不稳定,容易出现车辆侧滑的问题。另外,现有市场还出现了一种两爪结构的泊车机器人,包括一个“一”字型的框架主体和两个带有万向轮的可以在框架主体上滑动的叉臂。这种结构的泊车机器人改变了框架主体的形状,减少了叉臂的数量,并在叉臂下方增加了万向轮支撑结构。但是,在受到较大颠簸时,仍然有车辆滑脱的隐患。同时,在搬运前后配重差距较大的车辆时,可能出现在挤压车胎过程中会出现车辆配重较轻的一侧的轮胎直接越过叉臂,而配重较重的一侧的轮胎还没有被挤压上叉臂的情况,限制了这种结构的泊车机器人的应用范围。
发明内容
鉴于现有技术中存在上述技术问题,本发明的目的之一是针对现有的两爪式泊车机器人在搬运前后配重差距较大的车辆时,出现的不能将车辆挤压到叉臂上的技术问题,以及车辆容易滑脱的问题,设计一种挡臂可伸缩的内叉车泊车机器人。
本发明的目的之二是提供一种上述挡臂可伸缩的内叉车泊车机器人的停车实现方法。
本发明的技术方案如下所述:
本发明提供一种挡臂可伸缩的内叉车泊车机器人,所述机器人包括:
车架100,该车架100呈一字形结构,其长度固定或可调;
主动行走装置140,该主动行走装置140安装在车架100的上,用于驱动车架100移动;
结构对称相同的左叉臂200和右叉臂300,左叉臂200和右叉臂300分别安装在车架100的同一侧,二者之间的距离可调;
万向轮340,该万向轮340安装在左叉臂200和右叉臂300上,以满足泊车机器人的行驶要求,并作为支撑结构;
结构对称相同的左挡臂500和右挡臂600,左挡臂500和右挡臂600可移动的安装在车架100上,分别位于左叉臂200和右叉臂300的两侧,且分别与左叉臂200和右叉臂300组合使用,用于在左叉臂200和右叉臂300夹起车辆的过程中限制车辆的前后移动并确认车轮是否已经被抬起;所述左挡臂500和右挡臂600可在电机的驱动下伸长和缩短。
在上述技术方案中,左叉臂200和右叉臂300能够从车辆侧面伸入车辆底部前轮和后轮的中间,并能够沿着车架100作相离运动,分别挤压前轮和后轮,促使车轮爬上左叉臂200和右叉臂300,从而使车辆脱离地面;同时,左挡臂500和右挡臂600能够从车辆侧面伸入车辆底部前轮的前方和后轮的后方,并分别向前轮和后轮移动,当接触到车轮时停止移动。为了避免因为车辆前后配重差较大而出现的在挤压轮胎时车辆较轻的一侧直接越过左叉臂200或右叉臂300的情况,上述技术方案,增加了左挡臂500和右挡臂600,当车辆较轻的一侧的轮胎在左叉臂200或右叉臂300的挤压下,爬上左叉臂200或右叉臂300,此时,原本接触到轮胎的左挡臂500或右挡臂600因轮胎位置升高而不再能接触到轮胎,此时,不需要再移动左叉臂200或右叉臂300,只需要移动另外一个叉臂,以将另一个轮胎挤压到另一个叉臂上,使整个车辆脱离地面,从而避免车辆较轻的一侧直接越过左叉臂200或右叉臂300。
在进一步的技术方案中,所述左挡臂500和右挡臂600,与左叉臂200和右叉臂300位于同一水平面上。在更进一步的技术方案中,左挡臂500和左叉臂200可以共用滑轨,右挡臂600和右叉臂300可以共用滑轨,或者左挡臂500和左叉臂200分别与不同的移动结构相连接,右挡臂600和右叉臂300分别与不同的移动结构相连接。当所述左挡臂500和右挡臂600,与左叉臂200和右叉臂300位于同一水平面上时,左挡臂500、右挡臂600、左叉臂200与右叉臂300四者之间的左右位置关系不变,便于控制。若左挡臂500和左叉臂200共用滑轨,右挡臂600和右叉臂300共用滑轨,则结构简单,减轻设备重量,优化制造工艺;若左挡臂500和左叉臂200分别与不同的移动结构相连接,右挡臂600和右叉臂300分别与不同的移动结构相连接,则能够分别控制,不易因故障停机。
在进一步的技术方案中,所述左挡臂500和右挡臂600包括挡臂前板501和挡臂后板502,挡臂前板501和挡臂后板502通过多级伸缩电机相连接。挡臂后板502可以在多级伸缩电机的驱动下向外伸出和收回,使得左挡臂500或右挡臂600伸长和缩短。
在进一步的技术方案中,所述左挡臂500和右挡臂600缩短时的长度应确保在夹起车辆时能够碰到距离较近一个车轮,伸长时的长度应确保在夹起车辆时能够碰到距离较远一个车轮。左挡臂500和右挡臂600只有满足上述长度要求,才能保证实现限制车辆移动和确认车轮是否已经被抬起的效果,否则,车辆就可能在挡臂和挤压力作用下发生侧滑,同时出现在搬运前后配重差距较大的车辆时,出现的不能将车辆挤压到叉臂上的情况。
在进一步的技术方案中,所述左挡臂500和右挡臂600的横截面可以为圆形、椭圆形、方形、三角形、多边形或其他不规则形状。左挡臂500和右挡臂600的横截面形状,并不影响其效果,但可能会对轮胎胎面造成影响,甚至引起爆胎。
在进一步的技术方案中,所述左挡臂500和右挡臂600上套有弹性保护套。弹性保护套可以避免夹起车辆时对车辆轮胎的损伤和避免左挡臂500和右挡臂600因碰撞产生的损伤。
在进一步的技术方案中,所述左挡臂500和右挡臂600均连接有一个挡臂移动装置510,并通过该挡臂移动装置510实现左挡臂500和右挡臂600在车架100上的移动。所述的挡臂移动装置510包括移动电机511、L型安装板512、第三导轨滑块机构513、第四导轨滑块机构514和齿条515,L形安装板512与左挡臂500或右挡臂600相连的同时与第三导轨滑块机构513或第四导轨滑块机构514相连,第三导轨滑块机构513及第四导轨滑块机构514固定在车架100上;移动电机511安装在L形安装板512上,移动电机511的输出轴上安装有主动齿轮,主动齿轮与固定在车架110上的齿条515相啮合,移动电机511带动主动齿轮转动,主动齿轮与齿条啮合从而带动L形安装板512在车架110上移动。
在进一步的技术方案中,所述左叉臂200和右叉臂300对应轮胎的位置设有轮毂限位座330,所述轮毂限位座330中安装有轮胎托架331。
在更进一步的技术方案中,所述轮胎托架331包括滚动组件332、固定块334和弹簧335。所述滚动组件332包括滚动轴套336、滚子轴337和轴架338。所述滚动轴套336套在滚子轴337上,所述滚子轴337排成两排或两排以上安装在轴架338上。所述轴架338包括一个横向支架3381、两个第一纵向支架3382和一个或多个第二纵向支架3383。所述横向支架3381位于滚动组件332的后侧。所有第一纵向支架3382和第二纵向支架3383相互平行。所述第一纵向支架3382为两个转动连接的片状结构,分别为第一后侧支架3384和前侧支架3385,所述第二纵向支架3383为两个转动连接的片状结构,分别为第二后侧支架3386和前侧支架3385。第一后侧支架3384位于滚动组件332的左右两侧,第二后侧支架3386位于滚动组件332的中部,且都与横向支架3381固定连接。所述滚子轴337安装在两个纵向支架之间。所述第一纵向支架3382的第一后侧支架3384端的外侧固定安装有第一固定块3341,其前侧支架3385端的外侧固定安装第三固定块3343,其前侧支架3385靠近转动连接结构的位置的外侧固定安装有第二固定块3342。所述片状的弹簧335的一端固定在第一固定块3341上,并穿过第二固定块3342和第三固定块3343。
在再进一步的技术方案中,所述轮胎托架331通过第一后侧支架3384与轮毂限位座330固定连接。再进一步的,全部或者远离横向支架3381的两排或两排以上所述滚动轴套336的直径随着与横向支架3381间的距离增加而逐渐减小。再进一步的,最外面一排滚动轴套336为三角形的垫块339。再进一步的,所述横向支架3382为块状结构,所述第一后侧支架3384和第二后侧支架3386的底部设置了一个或多个横向的固定支架333。
在更进一步的技术方案中,所述左叉臂200的辊毂限位座330位于其左侧,右叉臂300的辊毂限位座330位于其右侧,将车辆抬离地面时左叉臂200和右叉臂300作相离运动。将车辆抬离地面时,左叉臂200和右叉臂300插入车辆的两排车轮之间,左叉臂200和右叉臂300作相离运动,将两排轮胎都抬离地面。
在进一步的技术方案中,所述的左叉臂200和右叉臂300圴连接有一个叉臂移动装置310,并通过该叉臂移动装置310实现左叉臂200和右叉臂300之间的距离可调,所述的叉臂移动装置310包括移动电机311、L型安装板312、第一导轨滑块机构313、第二导轨滑块机构314和齿条315,L形安装板312与左叉臂200或右叉臂300相连的同时与第一导轨滑块机构313及第二导轨滑块机构314相连,第一导轨滑块机构313及第二导轨滑块机构314固定在车架100上;移动电机311安装在L形安装板312上,移动电机311的输出轴上安装有主动齿轮,主动齿轮与固定在车架110上的齿条相啮合,移动电机311带动主动齿轮转动,主动齿轮与齿条啮合从而带动L形安装板312在车架110上移动。在更进一步的技术方案中,左挡臂500和左叉臂200共用导轨和齿条,右挡臂600和右叉臂300共用导轨和齿条。
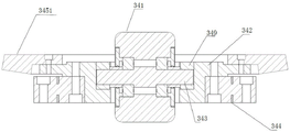
在进一步的技术方案中,所述万向轮340,包括轮子341、旋转体344、锥齿轮组345和电机348;所述锥齿轮组345包括水平放置的环状齿轮3451和由电机348驱动的小齿轮3452;所述轮子341位于旋转体344的中心孔内,且所述旋转体344的内圈和环状齿轮3451内侧分别与轮子341的轮毂342固定连接,驱动电机348通过带动锥齿轮组345带动轮子341主动转向。
在更进一步的技术方案中,所述万向轮340的轮子341安装在轮轴343上,所述轮轴343通过固定件349固定安装在轮毂342内,所述旋转体344为交叉滚子轴承,所述交叉滚子轴承的外圈固定在左叉臂200或右叉臂300上,所述电机348通过减速器7驱动小齿轮3452,并安装在电机固定架346上,所述电机固定架346安装在左叉臂200或右叉臂300上,所述锥刺轮组为弧齿螺旋锥齿轮,所述小齿轮3452的中心轴与环状齿轮3451的中心轴的夹角为90°。在上述万向轮340使用时,所述旋转体344的外圈固定安装在设备的底座上。电机348未启动时,旋转体344的内圈与外圈相对静止,万向轮不能随意转动。当电机348启动,且电机348带动小齿轮3452转动,小齿轮3452带动环状齿轮3451转动角度α时,环状齿轮3451带动旋转体344的内圈和轮毂342转动角度α,而旋转体344的外圈由于固定在设备底座上,不会发生转动。其中,角度α的范围是0°≤α≤360°。并且,调整电机348的速率和运行时间可以随意控制α的大小,实现任意方向转动轮子的滚动方向的目的。
在进一步的技术方案中,所述车架100上与左叉臂200和右叉臂300同侧设有光电感应器400,用于检测车辆的位置、车辆轴距等参数。
在进一步的技术方案中,所述车架100由前板110、后板120以及中板130组成,中板130的分别与前板110和后板120固定连接。在更进一步的技术方案中,所述车架100包括一个中间连接件150,所述中间连接件150位于车架100的中间位置。
本发明还提供上述挡臂可伸缩的内叉车泊车机器人的停车实现方法,所述停车实现方法包括:
收到用户确定存车或取车的信号以后,控制泊车机器人靠近车辆的一侧,行至泊车机器人与车辆之间的距离小于或等于预定的第一搬运距离;
获取车辆的轴距;
调整左挡臂和右挡臂、左叉臂和右叉臂的位置,使得左挡臂与右挡臂之间的距离大于车辆的轴距且其差值大于或等于预定差值,左叉臂与右叉臂之间的距离小于车辆的轴距且其差值大于或等于预定差值,且左挡臂和右挡臂之间的中点与左叉臂和右叉臂的中点相重合;
控制泊车机器人调整位置并驶向车辆,至泊车机器人的车架与车辆间的距离小于或等于预定的第二搬运距离,并伸长左挡臂和右挡臂;
同时分别向泊车机器人的中间移动左挡臂和右挡臂,当检测到左挡臂或右挡臂受到的阻力时停止移动左挡臂或右挡臂;
同时分别向泊车机器人的两端移动左叉臂和右叉臂,当检测到左叉臂或右叉臂受到的阻力时,继续移动左叉臂或右叉臂,并检测左挡臂或右挡臂向泊车机器人的中间移动时是否受到阻力,若是,则再次检测左挡臂或右挡臂向泊车机器人的中间移动时是否受到阻力,若否,则停止移动左叉臂或右叉臂。
在进一步的技术方案中,所述停车实现方法还包括:
驱动泊车机器人驶向车辆将要停放的停车位上;
同时分别向泊车机器人的中间移动左叉臂和右叉臂,且同时分别向泊车机器人的两端移动左挡臂和右挡臂,至左叉臂与右叉臂之间的距离小于车辆的轴距、左挡臂与右挡臂之间的距离大于车辆的轴距,且两个差值都大于或等于预定差值;
控制泊车机器人远离车辆的一侧,行至泊车机器人与车辆之间的距离大于或等于预定的第一搬运距离,并缩短左挡臂和右挡臂。
在进一步的技术方案中,所述停车实现方法还包括:
在停止移动左叉臂或右叉臂后,向泊车机器人的中间移动左挡臂或右挡臂;
当检测到左挡臂或右挡臂受到的阻力时停止移动左挡臂或右挡臂。
在进一步的技术方案中,上述停车实现方法还包括:
在调整左挡臂和右挡臂、左叉臂和右叉臂的位置的同时,调整车架的长度。
在上述停车实现方法中,左叉臂和右叉臂作相离运动来挤压轮胎,在获取车辆轴距后,左叉臂和右叉臂分别向泊车机器人的中间移动,左挡臂和右挡臂分别向泊车机器人的两端移动;在挤压轮胎时,左叉臂和右叉臂分别向泊车机器人的两端移动,左挡臂和右挡臂分别向泊车机器人的中间移动;在放置车辆时,左叉臂和右叉臂分别向泊车机器人的中间移动,左挡臂和右挡臂分别向泊车机器人的两端移动。
以左挡臂和左叉臂为例,在向泊车机器人中间移动左挡臂时,当左挡臂第一次受到阻力,表明左挡臂已经碰到了车轮,可以停止继续移动了。当该车轮受到左叉臂的挤压力,爬上左叉臂时,车轮因为离开地面而其位置升高,这样,原本碰到该车轮的左挡臂,不再能够碰到该车轮,当其向泊车机器人中间移动时不再受到阻力。因此,当检测到左挡臂向泊车机器人的中间移动时不再受到阻力,则表明该车轮已经被左叉臂抬起,不需要继续移动左叉臂,否则该车轮可能越过左叉臂重新掉到地面上。而再次向泊车机器人中间移动左挡臂直到第二次受到阻力,表明左挡臂又一次碰到了车轮,能够防止搬运车辆时因颠簸产生的前后移动。
本发明具有如下有益效果:
1、本发明引入了挡臂结构,能够在泊车机器人抬起车辆时限制车辆的前后移动并确认车轮是否已经被抬起,以免因为车辆前后配重差较大,导致较轻的一端直接越过叉臂,造成抬起车辆失败;
2、挡臂设计为可伸缩结构,较长的挡臂可以同时接触到所有车轮,保证安全抬起车辆,同时缩短后的挡臂能够减少泊车机器人的回转半径节省空间;
3、所述的泊车机器人的叉臂利用轮毂限位座与安装在轮毂限位座中的轮胎托架之间的高度差,阻碍轮胎在叉臂上可能发生的侧向滑动,以实现防止车辆掉落的目的;
4、本发明所述轮胎托架在接触到轮胎后可以向地面发生一定偏转,降低轮胎爬上轮胎托架所需的力,能够轻松抬起较重的车辆或前后配重相差较大的车辆;
5、本发明设计的轮胎托架是一种自适应结构,不需要另外设计驱动装置,节约能源,降低成本。
附图说明
图1为本发明实施例1的泊车机器人的立体结构图;
图2为本发明实施例的泊车机器人叉臂的立体结构图;
图3为本发明实施例的泊车机器人叉臂的一个轮胎托架的立体结构图;
图4为本发明实施例的泊车机器人叉臂的另一个轮胎托架的仰视图;
图5为本发明实施例的泊车机器人叉臂的万向轮结构示意图;
图6为本发明实施例的泊车机器人叉臂的万向轮的剖视图;
图7为本发明实施例2的泊车机器人的立体结构图;
其中,100为车架,110为前板,120为后板,130为中板,140为主动行走装置,150为中间连接件,200为左叉臂,300为右叉臂,310为叉臂移动装置,311为移动电机,312为L型安装板,313为第一导轨滑块机构,314为第二导轨滑块机构,315为齿条,330为轮毂限位座,331为轮胎托架,332为滚动组件,333为固定支架,334为固定块,3341为第一固定块,3342为第二固定块,3343为第三固定块,335为弹簧,336为滚动轴套,337为滚子轴,338为轴架,3381为横向支架,3382为第一纵向支架,3383为第二纵向支架,3384为第一后侧支架,3385为前侧支架,3386为第二后侧支架,339为垫块,340为万向轮,341为轮子,342为轮毂,343为轮轴,344为旋转体,345为锥齿轮组,3451为环状齿轮,3452为小齿轮,346为电机固定架,347为减速器,348为电机,349为固定件,400为光电感应器,500为左挡臂,501为挡臂前板,502为挡臂后板,510为挡臂移动装置,511为移动电机,512为L型安装板,513为第三导轨滑块机构,514为第四导轨滑块机构,515为齿条,600为右挡臂。
具体实施方式
为了更清楚地说明本发明的技术方案,下面将结合具体实施例和附图进行说明,显而易见地,下面描述中的实施例仅是本发明的一些实施例,对于本领域普通技术人员来讲,在不付出创造性劳动的前提下,还可以根据这些实施例获得其他的实例。
实施例1
本实施例涉及一种带有挡臂的泊车机器人,如图1所示,所述机器人包括:
车架100,该车架100呈一字形结构,其长度固定;
主动行走装置140,该主动行走装置140安装在车架100的上,用于驱动车架100移动;
结构对称相同的左叉臂200和右叉臂300,左叉臂200和右叉臂300分别安装在车架100的同一侧,二者之间的距离可调;
万向轮340,该万向轮340安装在左叉臂200和右叉臂300上,以满足泊车机器人的行驶要求,并作为支撑结构;
结构对称相同的左挡臂500和右挡臂600,左挡臂500和右挡臂600可移动的安装在车架100上,分别位于左叉臂200和右叉臂300的两侧,且分别与左叉臂200和右叉臂300组合使用,用于在左叉臂200和右叉臂300夹起车辆的过程中限制车辆的前后移动并确认车轮是否已经被抬起;所述左挡臂500和右挡臂600可在电机的驱动下伸长和缩短。
所述左挡臂500和右挡臂600,与左叉臂200和右叉臂300位于同一水平面上,并且左挡臂500和左叉臂200共用滑轨,右挡臂600和右叉臂300共用滑轨。所述左挡臂500和右挡臂600包括挡臂前板501和挡臂后板502,挡臂前板501和挡臂后板502通过多级伸缩电机(未在图中显示)相连接。所述左挡臂500和右挡臂600缩短时的长度应确保在夹起车辆时能够碰到距离较近一个车轮,伸长时的长度应确保在夹起车辆时能够碰到距离较远一个车轮。所述左挡臂500和右挡臂600的横截面为矩形。在其他实施例中,所述左挡臂500和右挡臂600的横截面可以为圆形、椭圆形、方形、三角形、多边形或其他不规则形状。所述左挡臂500和右挡臂600上套有弹性保护套。
所述左挡臂500和右挡臂600均连接有一个挡臂移动装置510,并通过该挡臂移动装置510实现左挡臂500和右挡臂600在车架100上的移动。所述的挡臂移动装置510包括移动电机511、L型安装板512、第三导轨滑块机构513、第四导轨滑块机构514和齿条515,L形安装板512与左挡臂500或右挡臂600相连的同时与第三导轨滑块机构513或第四导轨滑块机构514相连,第三导轨滑块机构513及第四导轨滑块机构514固定在车架100上;移动电机511安装在L形安装板512上,移动电机511的输出轴上安装有主动齿轮,主动齿轮与固定在车架110上的齿条515相啮合,移动电机511带动主动齿轮转动,主动齿轮与齿条啮合从而带动L形安装板512在车架110上移动。
所述的左叉臂200和右叉臂300圴连接有一个叉臂移动装置310,并通过该叉臂移动装置310实现左叉臂200和右叉臂300之间的距离可调,所述的叉臂移动装置310包括移动电机311、L型安装板312、第一导轨滑块机构313、第二导轨滑块机构314和齿条315,L形安装板312与左叉臂200或右叉臂300相连的同时与第一导轨滑块机构313及第二导轨滑块机构314相连,第一导轨滑块机构313及第二导轨滑块机构314固定在车架100上;移动电机311安装在L形安装板312上,移动电机311的输出轴上安装有主动齿轮,主动齿轮与固定在车架110上的齿条相啮合,移动电机311带动主动齿轮转动,主动齿轮与齿条啮合从而带动L形安装板312在车架110上移动。在更进一步的技术方案中,左挡臂500和左叉臂200共用导轨和齿条,右挡臂600和右叉臂300共用导轨和齿条。
其中,左叉臂200的第一导轨滑块机构313与左挡臂500的第三导轨滑块机构513共用导轨,左叉臂200的第二导轨滑块机构314与左挡臂500的第四导轨滑块机构514共用导轨,左叉臂200和左挡臂500共用一条齿条315/515。同样,右叉臂200的第一导轨滑块机构313与右挡臂500的第三导轨滑块机构513共用导轨,右叉臂200的第二导轨滑块机构314与右挡臂500的第四导轨滑块机构514共用导轨,右叉臂200和右挡臂500共用一条齿条315/515。在其他实施例中,叉臂和挡臂可以不共用滑轨或齿条。
如图5和6所示,所述万向轮340,包括轮子341、旋转体344、锥齿轮组345和电机348;所述锥齿轮组345包括水平放置的环状齿轮3451和由电机348驱动的小齿轮3452;所述轮子341位于旋转体344的中心孔内,且所述旋转体344的内圈和环状齿轮3451内侧分别与轮子341的轮毂342固定连接,驱动电机348通过带动锥齿轮组345带动轮子341主动转向。
所述万向轮340的轮子341安装在轮轴343上,所述轮轴343通过固定件349固定安装在轮毂342内,所述旋转体344为交叉滚子轴承,所述交叉滚子轴承的外圈固定在左叉臂200或右叉臂300上,所述电机348通过减速器7驱动小齿轮3452,并安装在电机固定架346上,所述电机固定架346安装在左叉臂200或右叉臂300上,所述锥刺轮组为弧齿螺旋锥齿轮,所述小齿轮3452的中心轴与环状齿轮3451的中心轴的夹角为90°。
在上述万向轮340使用时,所述旋转体344的外圈固定安装在设备的底座上。电机348未启动时,旋转体344的内圈与外圈相对静止,万向轮不能随意转动。当电机348启动,且电机348带动小齿轮3452转动,小齿轮3452带动环状齿轮3451转动角度α时,环状齿轮3451带动旋转体344的内圈和轮毂342转动角度α,而旋转体344的外圈由于固定在设备底座上,不会发生转动。其中,角度α的范围是0°≤α≤360°。并且,调整电机348的速率和运行时间可以随意控制α的大小,实现任意方向转动轮子的滚动方向的目的。
如图2、3和4所示,所述左叉臂200和右叉臂300对应轮胎的位置设有轮毂限位座330,所述轮毂限位座330中安装有轮胎托架331。
所述轮胎托架331包括滚动组件332、固定块334和弹簧335。所述滚动组件332包括滚动轴套336、滚子轴337和轴架338。所述滚动轴套336套在滚子轴337上,所述滚子轴337排成两排或两排以上安装在轴架338上。所述轴架338包括一个横向支架3381、两个第一纵向支架3382和一个或多个第二纵向支架3383。所述横向支架3381位于滚动组件332的后侧。所有第一纵向支架3382和第二纵向支架3383相互平行。所述第一纵向支架3382为两个转动连接的片状结构,分别为第一后侧支架3384和前侧支架3385,所述第二纵向支架3383为两个转动连接的片状结构,分别为第二后侧支架3386和前侧支架3385。第一后侧支架3384位于滚动组件332的左右两侧,第二后侧支架3386位于滚动组件332的中部,且都与横向支架3381固定连接。所述滚子轴337安装在两个纵向支架之间。所述第一纵向支架3382的第一后侧支架3384端的外侧固定安装有第一固定块3341,其前侧支架3385端的外侧固定安装第三固定块3343,其前侧支架3385靠近转动连接结构的位置的外侧固定安装有第二固定块3342。所述片状的弹簧335的一端固定在第一固定块3341上,并穿过第二固定块3342和第三固定块3343。
所述轮胎托架331通过第一后侧支架3384与轮毂限位座330固定连接。再进一步的,全部或者远离横向支架3381的两排或两排以上所述滚动轴套336的直径随着与横向支架3381间的距离增加而逐渐减小。再进一步的,最外面一排滚动轴套336为三角形的垫块339。再进一步的,所述横向支架3382为块状结构,所述第一后侧支架3384和第二后侧支架3386的底部设置了一个或多个横向的固定支架333。
所述左叉臂200的辊毂限位座330位于其左侧,右叉臂300的辊毂限位座330位于其右侧,将车辆抬离地面时左叉臂200和右叉臂300作相离运动。将车辆抬离地面时,左叉臂200和右叉臂300插入车辆的两排车轮之间,左叉臂200和右叉臂300作相离运动,将两排轮胎都抬离地面。
所述车架100上与左叉臂200和右叉臂300同侧设有光电感应器400,用于检测车辆的位置、车辆轴距等参数。
所述车架100由前板110、后板120以及中板130组成,中板130的分别与前板110和后板120固定连接。
实施例2
本实施例中,涉及一种带有挡臂的泊车机器人,如图7所示。该泊车机器人与实施例1中的泊车机器人具有类似的结构,只有车架100和光电感应器400的结构或位置不同。
其中,车架100的长度可调,其长度可调的位置在一字形车架100的中间位置处。所述长度可调的位置安装有中间连接件150,所述中间连接件150的两端插装定位在对应的车架110的中部。
所述车架100的前板110在接近长度可调位置处设有两个光电感应器400。
实施例3
本实施例涉及上述实施例1中的挡臂可伸缩的泊车机器人的停车实现方法,所述方法包括如下内容:
S1:收到用户确定存车或取车的信号以后,控制泊车机器人靠近车辆的一侧,行至泊车机器人与车辆之间的距离小于或等于预定的第一搬运距离;
当用户通过停车管理系统发出存车或取车的信号,若用户存车,管理系统获取停车交换位位置、将要停车的停车位位置以及泊车机器人行进路线等信息。从而可以控制泊车机器人根据停车交换位位置,靠近车辆的一侧,行至泊车机器人与车辆之间的距离小于或等于预定的第一搬运距离。所述第一搬运距离,是确保泊车机器人不会撞到车辆,并能够调整叉臂和挡臂位置的一个距离。
S2:获取车辆的轴距;
泊车机器人既可以通过自带的光电感应装置在测量车辆的轴距,也可以通过调取数据库中的信息,根据用户记录、车型、车牌等信息调取车辆的轴距。
S3:调整左挡臂和右挡臂、左叉臂和右叉臂的位置,使得左挡臂与右挡臂之间的距离大于车辆的轴距且其差值大于或等于预定差值,左叉臂与右叉臂之间的距离小于车辆的轴距且其差值大于或等于预定差值,且左挡臂和右挡臂之间的中点与左叉臂和右叉臂的中点相重合;
泊车机器人调整叉臂和挡臂的位置,以确保在将叉臂和挡臂插入车辆底部时不会撞到车轮等。
S4:控制泊车机器人调整位置并驶向车辆,至泊车机器人的车架与车辆间的距离小于或等于预定的第二搬运距离,并伸长左挡臂和右挡臂;
泊车机器人调整好叉臂和挡臂的位置后,驶向车辆,以便将叉臂和挡臂插入车辆底部。第二搬运距离,是确保泊车机器人不会撞到车辆,而叉臂能够顺利将所有车轮抬起,挡臂能够碰触到车轮的距离。
S5:同时分别向泊车机器人的中间移动左挡臂和右挡臂,当检测到左挡臂或右挡臂受到的阻力时停止移动左挡臂或右挡臂;
在向泊车机器人中间移动左挡臂时,当左挡臂第一次受到阻力,表明左挡臂已经碰到了车轮,不需要继续移动了;在向泊车机器人中间移动右挡臂时,当右挡臂第一次受到阻力,表明右挡臂已经碰到了车轮,不需要继续移动了。
S6:同时分别向泊车机器人的两端移动左叉臂和右叉臂,当检测到左叉臂或右叉臂受到的阻力时,继续移动左叉臂或右叉臂,并检测左挡臂或右挡臂向泊车机器人的中间移动时是否受到阻力,若是,则再次检测左挡臂或右挡臂向泊车机器人的中间移动时是否受到阻力,若否,则停止移动左叉臂或右叉臂。
当检测到左挡臂向泊车机器人的中间移动时不再受到阻力,则表明该车轮已经被左叉臂抬起,不需要继续移动左叉臂,否则该车轮可能越过左叉臂重新掉到地面上;当检测到右挡臂向泊车机器人的中间移动时不再受到阻力,则表明该车轮已经被右叉臂抬起,不需要继续移动右叉臂,否则该车轮可能越过右叉臂重新掉到地面上。
S7:在停止移动左叉臂或右叉臂后,向泊车机器人的中间移动左挡臂或右挡臂,当检测到左挡臂或右挡臂受到的阻力时停止移动左挡臂或右挡臂。
再次向泊车机器人中间移动左挡臂直到第二次受到阻力,表明左挡臂又一次碰到了车轮,能够防止搬运车辆时因颠簸产生的前后移动;再次向泊车机器人中间移动右挡臂直到第二次受到阻力,表明右挡臂又一次碰到了车轮,能够防止搬运车辆时因颠簸产生的前后移动。
S8:驱动泊车机器人驶向车辆将要停放的停车位上;
泊车机器人根据获取的将要停车的停车位位置以及泊车机器人行进路线等信息,将车辆运输到将要停放的停车位上。
S9:同时分别向泊车机器人的中间移动左叉臂和右叉臂,且同时分别向泊车机器人的两端移动左挡臂和右挡臂,至左叉臂与右叉臂之间的距离小于车辆的轴距、左挡臂与右挡臂之间的距离大于车辆的轴距,且两个差值都大于或等于预定差值;
调整叉臂和挡臂的位置,使车辆的车轮从叉臂上掉落到停车位上,使得整个车辆停放在停车位上。
S10:控制泊车机器人远离车辆的一侧,行至泊车机器人与车辆之间的距离大于或等于预定的第一搬运距离,并缩短左挡臂和右挡臂。
泊车机器人将叉臂和挡臂从车辆的底部移出,而第一搬运距离可以保证,泊车机器人后续运动不会碰撞到车辆。
实施例4
本实施例涉及上述实施例2中的带有挡臂的泊车机器人的停车实现方法,所述方法与实施例3中的方法基本相同,仅步骤S3中不同。本实施例中的步骤S3具体包括如下内容:
S3:调整左挡臂和右挡臂、左叉臂和右叉臂的位置,并调整车架的长度,使得左挡臂与右挡臂之间的距离大于车辆的轴距且其差值大于或等于预定差值,左叉臂与右叉臂之间的距离小于车辆的轴距且其差值大于或等于预定差值,且左挡臂和右挡臂之间的中点与左叉臂和右叉臂的中点相重合;
泊车机器人调整叉臂和挡臂的位置,以确保在将叉臂和挡臂插入车辆底部时不会撞到车轮等。
本发明未涉及部分均与现有技术相同或可采用现有技术加以实现。
对所公开的实施例的上述说明,使本领域专业技术人员能够实现或使用本发明。对这些实施例的多种修改对本领域的专业技术人员来说将是显而易见的,本文中所定义的一般原理可以在不脱离本发明的精神或范围的情况下,在其它实施例中实现。因此,本发明将不会被限制于本文所示的这些实施例,而是要符合与本文所公开的原理和新颖特点相一致的最宽的范围。
Claims (10)
1.一种挡臂可伸缩的内叉车泊车机器人,其特征在于,所述机器人包括:
车架,该车架呈一字形结构,其长度固定或可调;
主动行走装置,该主动行走装置安装在车架的上;
结构对称相同的左叉臂和右叉臂,左叉臂和右叉臂分别安装在车架的同一侧,二者之间的距离可调;
万向轮,该万向轮安装在左叉臂和右叉臂上;
结构对称相同的左挡臂和右挡臂,左挡臂和右挡臂可移动的安装在车架上,分别位于左叉臂和右叉臂的两侧,且分别与左叉臂和右叉臂组合使用,所述左挡臂和右挡臂可在电机的驱动下伸长和缩短。
2.根据权利要求1所述的挡臂可伸缩的内叉车泊车机器人,其特征在于,所述左挡臂和右挡臂,与左叉臂和右叉臂位于同一水平面上。
3.根据权利要求1所述的挡臂可伸缩的内叉车泊车机器人,其特征在于,所述左挡臂和右挡臂包括挡臂前板和挡臂后板,挡臂前板和挡臂后板通过多级伸缩电机相连接。
4.根据权利要求1所述的挡臂可伸缩的内叉车泊车机器人,其特征在于,所述左挡臂和右挡臂缩短时的长度应确保在夹起车辆时能够碰到距离较近一个车轮,伸长时的长度应确保在夹起车辆时能够碰到距离较远一个车轮。
5.根据权利要求1所述的挡臂可伸缩的内叉车泊车机器人,其特征在于,所述左挡臂和右挡臂均连接有一个挡臂移动装置,并通过该挡臂移动装置实现左挡臂和右挡臂在车架上的移动;所述的挡臂移动装置包括移动电机、L型安装板、第三导轨滑块机构、第四导轨滑块机构和齿条,L形安装板与左挡臂或右挡臂相连的同时与第三导轨滑块机构或第四导轨滑块机构相连,第三导轨滑块机构及第四导轨滑块机构固定在车架上;移动电机安装在L形安装板上,移动电机的输出轴上安装有主动齿轮,主动齿轮与固定在车架上的齿条相啮合,移动电机带动主动齿轮转动,主动齿轮与齿条啮合从而带动L形安装板在车架上移动。
6.根据权利要求1所述的挡臂可伸缩的内叉车泊车机器人,其特征在于,所述左叉臂和右叉臂对应轮胎的位置设有轮毂限位座,所述轮毂限位座中安装有轮胎托架;
所述轮胎托架包括滚动组件、固定块和弹簧;所述滚动组件包括滚动轴套、滚子轴和轴架;所述滚动轴套套在滚子轴上,所述滚子轴排成两排或两排以上安装在轴架上;所述轴架包括一个横向支架、两个第一纵向支架和一个或多个第二纵向支架;所述横向支架位于滚动组件的后侧;所有第一纵向支架和第二纵向支架相互平行;所述第一纵向支架为两个转动连接的片状结构,分别为第一后侧支架和前侧支架,所述第二纵向支架为两个转动连接的片状结构,分别为第二后侧支架和前侧支架;第一后侧支架位于滚动组件的左右两侧,第二后侧支架位于滚动组件的中部,且都与横向支架固定连接;所述滚子轴安装在两个纵向支架之间;所述第一纵向支架的第一后侧支架端的外侧固定安装有第一固定块,其前侧支架端的外侧固定安装第三固定块,其前侧支架靠近转动连接结构的位置的外侧固定安装有第二固定块;所述片状的弹簧的一端固定在第一固定块上,并穿过第二固定块和第三固定块;
所述轮胎托架通过第一后侧支架与轮毂限位座固定连接;全部或者远离横向支架的两排或两排以上所述滚动轴套的直径随着与横向支架间的距离增加而逐渐减小;最外面一排滚动轴套为三角形的垫块;所述横向支架为块状结构,所述第一后侧支架和第二后侧支架的底部设置了一个或多个横向的固定支架;
所述左叉臂的辊毂限位座位于其左侧,右叉臂的辊毂限位座位于其右侧,将车辆抬离地面时左叉臂和右叉臂作相离运动。
7.一种如权利要求1-6中任意一项所述的挡臂可伸缩的内叉车泊车机器人的停车实现方法,其特征在于,所述停车实现方法包括:
收到用户确定存车或取车的信号以后,控制泊车机器人靠近车辆的一侧,行至泊车机器人与车辆之间的距离小于或等于预定的第一搬运距离;
获取车辆的轴距;
调整左挡臂和右挡臂、左叉臂和右叉臂的位置,使得左挡臂与右挡臂之间的距离大于车辆的轴距且其差值大于或等于预定差值,左叉臂与右叉臂之间的距离小于车辆的轴距且其差值大于或等于预定差值,且左挡臂和右挡臂之间的中点与左叉臂和右叉臂的中点相重合;
控制泊车机器人调整位置并驶向车辆,至泊车机器人的车架与车辆间的距离小于或等于预定的第二搬运距离,并伸长左挡臂和右挡臂;
同时分别向泊车机器人的中间移动左挡臂和右挡臂,当检测到左挡臂或右挡臂受到的阻力时停止移动左挡臂或右挡臂;
同时分别向泊车机器人的两端移动左叉臂和右叉臂,当检测到左叉臂或右叉臂受到的阻力时,继续移动左叉臂或右叉臂,并检测左挡臂或右挡臂向泊车机器人的中间移动时是否受到阻力,若是,则再次检测左挡臂或右挡臂向泊车机器人的中间移动时是否受到阻力,若否,则停止移动左叉臂或右叉臂。
8.根据权利要求7所述的停车实现方法,其特征在于,所述方法还包括:
驱动泊车机器人驶向车辆将要停放的停车位上;
同时分别向泊车机器人的中间移动左叉臂和右叉臂,且同时分别向泊车机器人的两端移动左挡臂和右挡臂,至左叉臂与右叉臂之间的距离小于车辆的轴距、左挡臂与右挡臂之间的距离大于车辆的轴距,且两个差值都大于或等于预定差值;
控制泊车机器人远离车辆的一侧,行至泊车机器人与车辆之间的距离大于或等于预定的第一搬运距离,并缩短左挡臂和右挡臂。
9.根据权利要求7所述的停车实现方法,其特征在于,所述方法还包括:
在停止移动左叉臂或右叉臂后,向泊车机器人的中间移动左挡臂或右挡臂;
当检测到左挡臂或右挡臂受到的阻力时停止移动左挡臂或右挡臂。
10.根据权利要求7所述的停车实现方法,其特征在于,所述方法还包括:
在调整左挡臂和右挡臂、左叉臂和右叉臂的位置的同时,调整车架的长度。
Priority Applications (2)
| Application Number | Priority Date | Filing Date | Title |
|---|---|---|---|
| CN202011236194.7A CN112240113A (zh) | 2020-11-09 | 2020-11-09 | 一种挡臂可伸缩的内叉车泊车机器人及其停车实现方法 |
| CN202111322345.5A CN115142715A (zh) | 2020-11-09 | 2021-11-09 | 一种挡臂可伸缩的泊车机器人及其停车实现方法 |
Applications Claiming Priority (1)
| Application Number | Priority Date | Filing Date | Title |
|---|---|---|---|
| CN202011236194.7A CN112240113A (zh) | 2020-11-09 | 2020-11-09 | 一种挡臂可伸缩的内叉车泊车机器人及其停车实现方法 |
Publications (1)
| Publication Number | Publication Date |
|---|---|
| CN112240113A true CN112240113A (zh) | 2021-01-19 |
Family
ID=74170126
Family Applications (1)
| Application Number | Title | Priority Date | Filing Date |
|---|---|---|---|
| CN202011236194.7A Withdrawn CN112240113A (zh) | 2020-11-09 | 2020-11-09 | 一种挡臂可伸缩的内叉车泊车机器人及其停车实现方法 |
Country Status (1)
| Country | Link |
|---|---|
| CN (1) | CN112240113A (zh) |
Cited By (1)
| Publication number | Priority date | Publication date | Assignee | Title |
|---|---|---|---|---|
| CN113863751A (zh) * | 2021-09-18 | 2021-12-31 | 江苏小白兔智造科技有限公司 | 一种拖行式夹持泊车机器人及停车实现方法 |
-
2020
- 2020-11-09 CN CN202011236194.7A patent/CN112240113A/zh not_active Withdrawn
Cited By (1)
| Publication number | Priority date | Publication date | Assignee | Title |
|---|---|---|---|---|
| CN113863751A (zh) * | 2021-09-18 | 2021-12-31 | 江苏小白兔智造科技有限公司 | 一种拖行式夹持泊车机器人及停车实现方法 |
Similar Documents
| Publication | Publication Date | Title |
|---|---|---|
| CN214659182U (zh) | 一种带有挡臂的内叉车泊车机器人 | |
| CN112225128A (zh) | 一种挡臂可折叠的外叉车泊车机器人控制系统和方法 | |
| CN112240113A (zh) | 一种挡臂可伸缩的内叉车泊车机器人及其停车实现方法 | |
| CN214615717U (zh) | 一种挡臂可折叠的外叉车泊车机器人 | |
| CN214062498U (zh) | 一种带有挡臂的双齿式泊车机器人 | |
| CN113958172A (zh) | 一种带挡臂的侧向夹持泊车机器人及其停车实现方法 | |
| CN214195746U (zh) | 一种挡臂可伸缩的内叉车泊车机器人 | |
| CN214091233U (zh) | 一种挡臂可伸缩的外叉车泊车机器人 | |
| CN112360202A (zh) | 一种有挡齿结构的外叉车泊车机器人及其停车实现方法 | |
| CN113969680A (zh) | 一种带挡臂的舵轮驱动叉臂的泊车机器人及其停车实现方法 | |
| CN214091231U (zh) | 一种带有挡齿的外叉车泊车机器人 | |
| CN112240114A (zh) | 一种挡臂可伸缩的外叉车泊车机器人及其停车实现方法 | |
| CN112360210A (zh) | 一种带挡臂的新型外插双齿式泊车机器人及其停车实现方法 | |
| CN112240121A (zh) | 一种带有挡臂的内叉车泊车机器人及其停车实现方法 | |
| CN112360204A (zh) | 一种具有挡臂的内叉车泊车机器人及其停车实现方法 | |
| CN112360205A (zh) | 一种具有挡臂的外叉车泊车机器人及其停车实现方法 | |
| CN112240118A (zh) | 一种带有挡臂的外叉车泊车机器人及其停车实现方法 | |
| CN112360209A (zh) | 一种有挡臂结构的内叉车泊车机器人及其停车实现方法 | |
| CN112360206A (zh) | 一种有挡臂结构的外叉车泊车机器人及其停车实现方法 | |
| CN112240112A (zh) | 一种挡臂可折叠的外叉车泊车机器人及其停车实现方法 | |
| CN112240119A (zh) | 一种挡臂可折叠的内叉车泊车机器人及其停车实现方法 | |
| CN112240120A (zh) | 一种带有挡齿的内叉车泊车机器人及其停车实现方法 | |
| CN114016783A (zh) | 一种基于中心重合的泊车机器人的停车实现方法 | |
| CN112360208A (zh) | 一种具有挡齿的内叉车泊车机器人及其停车实现方法 | |
| CN112240122A (zh) | 一种带有挡齿的外叉车泊车机器人及其停车实现方法 |
Legal Events
| Date | Code | Title | Description |
|---|---|---|---|
| PB01 | Publication | ||
| PB01 | Publication | ||
| SE01 | Entry into force of request for substantive examination | ||
| SE01 | Entry into force of request for substantive examination | ||
| WW01 | Invention patent application withdrawn after publication | ||
| WW01 | Invention patent application withdrawn after publication |
Application publication date: 20210119 |