CN112056605B - A high-efficiency and energy-saving tobacco drying system - Google Patents

A high-efficiency and energy-saving tobacco drying system Download PDF

Info

Publication number
CN112056605B
CN112056605B CN202010809041.0A CN202010809041A CN112056605B CN 112056605 B CN112056605 B CN 112056605B CN 202010809041 A CN202010809041 A CN 202010809041A CN 112056605 B CN112056605 B CN 112056605B
Authority
CN
China
Prior art keywords
drying
air
infrared
drying drum
box
Prior art date
Legal status (The legal status is an assumption and is not a legal conclusion. Google has not performed a legal analysis and makes no representation as to the accuracy of the status listed.)
Active
Application number
CN202010809041.0A
Other languages
Chinese (zh)
Other versions
CN112056605A (en
Inventor
吴晋禄
高乃平
Current Assignee (The listed assignees may be inaccurate. Google has not performed a legal analysis and makes no representation or warranty as to the accuracy of the list.)
Tongji University
Original Assignee
Tongji University
Priority date (The priority date is an assumption and is not a legal conclusion. Google has not performed a legal analysis and makes no representation as to the accuracy of the date listed.)
Filing date
Publication date
Application filed by Tongji University filed Critical Tongji University
Priority to CN202010809041.0A priority Critical patent/CN112056605B/en
Publication of CN112056605A publication Critical patent/CN112056605A/en
Application granted granted Critical
Publication of CN112056605B publication Critical patent/CN112056605B/en
Active legal-status Critical Current
Anticipated expiration legal-status Critical

Links

Images

Classifications

    • AHUMAN NECESSITIES
    • A24TOBACCO; CIGARS; CIGARETTES; SIMULATED SMOKING DEVICES; SMOKERS' REQUISITES
    • A24BMANUFACTURE OR PREPARATION OF TOBACCO FOR SMOKING OR CHEWING; TOBACCO; SNUFF
    • A24B3/00Preparing tobacco in the factory
    • A24B3/04Humidifying or drying tobacco bunches or cut tobacco
    • FMECHANICAL ENGINEERING; LIGHTING; HEATING; WEAPONS; BLASTING
    • F25REFRIGERATION OR COOLING; COMBINED HEATING AND REFRIGERATION SYSTEMS; HEAT PUMP SYSTEMS; MANUFACTURE OR STORAGE OF ICE; LIQUEFACTION SOLIDIFICATION OF GASES
    • F25BREFRIGERATION MACHINES, PLANTS OR SYSTEMS; COMBINED HEATING AND REFRIGERATION SYSTEMS; HEAT PUMP SYSTEMS
    • F25B30/00Heat pumps
    • F25B30/02Heat pumps of the compression type

Landscapes

  • Engineering & Computer Science (AREA)
  • Physics & Mathematics (AREA)
  • Mechanical Engineering (AREA)
  • Thermal Sciences (AREA)
  • General Engineering & Computer Science (AREA)
  • Drying Of Solid Materials (AREA)

Abstract

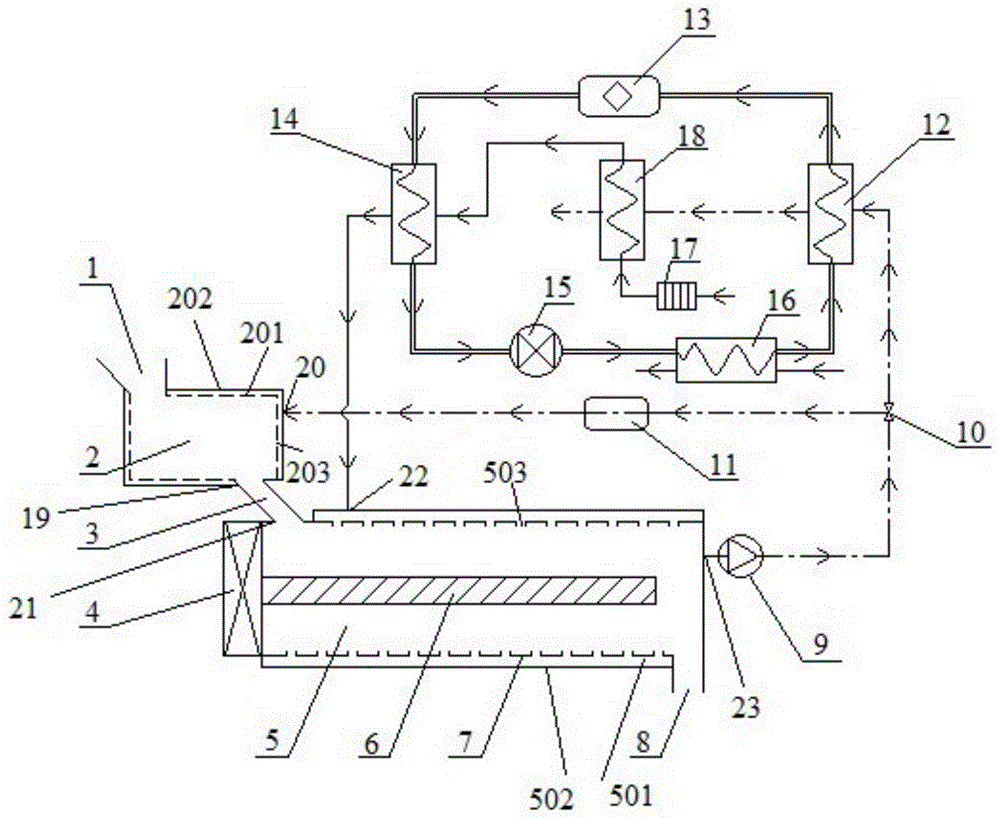
本发明涉及一种高效节能型烟草干燥系统,所述干燥系统包括预热干燥箱(2)、红外干燥滚筒(5)、热泵循环模块、空气过滤器(17)和空气预热器(18),所述预热干燥箱(2)和红外干燥滚筒(5)相连通,所述热泵循环模块包括首尾依次相连形成回路的废热源蒸发器(12)、压缩机(13)、冷凝器(14)、膨胀阀(15)和空气源蒸发器(16),所述空气过滤器(17)、空气预热器(18)、冷凝器(14)和红外干燥滚筒(5)依次相连。与现有技术相比,本发明对烟草原料进行对流与辐射加热干燥处理,并对热量进行分级充分利用,具有干燥速度快,高效节能等优点。

Figure 202010809041

The invention relates to a high-efficiency and energy-saving tobacco drying system, the drying system comprises a preheating drying box (2), an infrared drying drum (5), a heat pump circulation module, an air filter (17) and an air preheater (18) , the preheating drying box (2) is communicated with the infrared drying drum (5), and the heat pump circulation module comprises a waste heat source evaporator (12), a compressor (13), a condenser (14) that are connected end to end to form a loop ), expansion valve (15) and air source evaporator (16), the air filter (17), air preheater (18), condenser (14) and infrared drying drum (5) are connected in sequence. Compared with the prior art, the present invention performs convection and radiation heating and drying treatment on tobacco raw materials, and makes full use of heat by classification, and has the advantages of fast drying speed, high efficiency and energy saving.

Figure 202010809041

Description

Energy-efficient type tobacco drying system
Technical Field
The invention belongs to the field of tobacco drying, and particularly relates to a high-efficiency energy-saving tobacco drying system.
Background
The tobacco drying process is a very important tobacco raw material treatment process, and aims to remove excess moisture in tobacco raw materials such as cut leaves, cut stems, redried leaves and the like or cut tobacco. In order to complete the drying process tasks of tobacco such as cut tobacco, cut stems, redried leaves and the like, a hot air system of an adopted dryer generally adopts air with higher temperature to dry the tobacco, and the mode has large energy consumption. At the same time, it is particularly important: the tobacco is a heat-sensitive substance, the taste of the tobacco can be damaged at high temperature, and the color, the aroma, the taste and the texture of the tobacco can be well maintained only by drying the tobacco at low temperature.
At present, the tobacco drying equipment has the technical defects of poor drying effect, high energy consumption, general energy-saving and environment-friendly performance and the like. Therefore, the traditional tobacco drying technology is improved, the drying technology level is improved, and the high-efficiency energy-saving tobacco drying system is provided, so that the system has very important industrial significance for promoting the technical development of the field of tobacco drying.
Disclosure of Invention
The invention aims to provide an efficient energy-saving tobacco drying system which is used for carrying out convection and radiation heating drying treatment on tobacco raw materials and has the advantages of high drying speed, high efficiency, energy conservation and the like.
The purpose of the invention is realized by the following technical scheme:
the utility model provides an energy-efficient type tobacco drying system, drying system is including preheating drying cabinet, infrared drying cylinder, heat pump cycle module, air cleaner and air heater, heat pump cycle module includes end to end waste heat source evaporimeter, compressor, condenser, expansion valve and the air source evaporimeter that forms the return circuit in proper order, preheat the drying cabinet with infrared drying cylinder is linked together, air cleaner, air heater, condenser and infrared drying cylinder link to each other in proper order. The air source evaporator obtains heat from ambient air, and the waste heat source evaporator obtains heat from high-temperature waste heat. The preheating drying box preheats the tobacco raw materials to be dried, so that the damage to the appearance and the taste caused by the instantaneous temperature rise of the tobacco raw materials in the infrared drying roller can be avoided. The air is filtered by the air filter before entering the air preheater, so that the purity of the air is ensured, and the tobacco raw material to be dried is prevented from being polluted. The evaporator, the compressor, the condenser, the expansion valve and the like all adopt the existing equipment.
The infrared drying drum is provided with a drying drum tobacco raw material inlet, a drying drum tobacco raw material outlet, an infrared drying drum air inlet and an infrared drying drum air outlet, wherein the infrared drying drum air inlet and the infrared drying drum air outlet are communicated with the condenser, one end of the infrared drying drum is provided with a motor for driving the infrared drying drum to rotate, and an infrared heating column is arranged inside the infrared drying drum.
The infrared drying drum comprises an inner drum body and an outer drum body sleeved on the outer side of the inner drum body, the air inlet and the air outlet of the infrared drying drum are both located on the outer drum body, and a plurality of drying drum vent holes are formed in the side wall of the inner drum body along the circumferential direction. The drying drum vent holes can be used as air equalizing plates, so that high-temperature air is distributed more uniformly, the air is contacted with the tobacco raw materials to be dried more fully, and the drying effect is better.
The inner wall of the inner cylinder body is provided with a plurality of convex teeth, and the air vent of the drying cylinder is positioned between the adjacent convex teeth. The convex teeth can fully stir the tobacco raw materials.
The preheating drying oven is provided with a drying oven tobacco raw material inlet, a drying oven tobacco raw material outlet and a drying oven air inlet, wherein the drying oven tobacco raw material outlet is communicated with the infrared drying roller.
The drying oven tobacco raw material inlet is located above the preheating drying oven, and the drying oven tobacco raw material outlet is located below the preheating drying oven.
The preheating drying box comprises an inner box body and an outer box body sleeved on the outer side of the inner box body, a plurality of drying box air vents are formed in the side wall of the inner box body along the circumferential direction, and air inlets of the drying boxes are located on the outer box body. A plurality of drying cabinet air vents can be regarded as the board of wind-sharing, make the low wet waste gas of high temperature distribute more evenly to contact more fully with the tobacco raw materials that will be dried, it is better to preheat the effect.
And a three-way valve is arranged between the infrared drying roller and the waste heat source evaporator and is communicated with the waste heat source evaporator through the three-way valve, the three-way valve is also communicated with the preheating drying box, and the three-way valve is connected with an air outlet of the infrared drying roller.
And a high-temperature dehumidifier is arranged between the three-way valve and the preheating drying box. The three-way valve leads out a part of high-temperature waste gas flowing out of the infrared drying drum to enter the high-temperature dehumidifier for removing moisture, and then the high-temperature waste gas enters the preheating drying box for preheating the tobacco raw materials.
And an air pump is arranged between the infrared drying drum (namely the air outlet of the infrared drying drum) and the three-way valve.
The air preheater is also communicated with the waste heat source evaporator. And after a part of high-temperature waste gas flowing out of the infrared drying roller is utilized by the waste heat source evaporator, the high-temperature waste gas enters the air preheater to further preheat the air, and the air is utilized in multiple stages.
The evaporator, the compressor, the condenser, the expansion valve, the infrared drying roller, the preheating drying box, the air preheater, the air filter, the air pump and the like all adopt the existing equipment.
The invention dries tobacco based on infrared radiation heat transfer and hot air convection heat transfer. The drying mechanism of the infrared drying is that the moisture-containing material is heated by electromagnetic wave radiation, and the radiation electromagnetic wavelength with the heating effect is mainly located in an infrared ray section within 0.76-20.00 mu m, so the infrared radiation heat transfer drying is also called, has the advantages of non-contact heating, small thermal inertia, good heating uniformity of irregular particle materials and the like, and can realize uniform heating on the surface layer of the material and a certain depth below the surface layer due to the penetrability of the infrared ray on the material. In the infrared radiation heating process, when the frequency of infrared radiation irradiated on the material is the same as the inherent frequency of molecules forming the material, the molecules can generate resonance absorption, and meanwhile, because the molecular motion is accelerated, the internal energy of the molecules is increased, so that the internal temperature of the material is increased, and the internal and external temperature difference is 5-10 ℃. The temperature gradient existing in the material temperature and the water content gradient act together to cause the internal moisture of the material to be continuously diffused, thereby achieving the aim of drying. The infrared radiation heat transfer and the hot air convection heat transfer both play a role in strengthening the mass transfer process, and the elasticity, filling value and cut tobacco size of the cut tobacco can be controlled by adjusting the temperature of infrared drying, the humidity and temperature of hot air and the like, and the drying speed is high.
When the drying system works, tobacco raw materials enter the preheating drying box, are preheated by the dehumidified high-temperature waste gas, and then enter the infrared drying drum to be heated and dried by infrared radiation and hot air. After the air is heated up through the preheating of the air preheater and the heat exchange of the condenser, high-temperature air is formed, and then the air enters the infrared drying roller to dry the tobacco, so that high-temperature waste gas is formed, and the high-temperature waste gas flows out of the infrared drying roller under the action of the air suction pump. At the moment, a part of high-temperature waste gas enters the waste heat source evaporator at the three-way valve, is subjected to heat recycling by the heat pump circulation module, then enters the air preheater, is further preheated by waste heat, and finally is discharged to the ambient air. And the other part of high-temperature waste gas enters the high-temperature dehumidifier at the three-way valve to remove moisture, and then enters the preheating drying box to preheat the tobacco raw materials. In the heat pump circulation module, low-temperature and low-pressure liquid heat pump circulation working media firstly obtain heat from ambient air through an air source evaporator, then obtain heat from waste gas through a waste heat source evaporator to form gaseous heat pump circulation working media, then the temperature of the gaseous heat pump circulation working media is increased through compression of a compressor to form high-temperature and high-pressure gaseous heat pump circulation working media, the gaseous heat pump circulation working media and air exchange are carried out in a condenser, the gaseous heat pump circulation working media are expanded through an expansion valve to be continuously cooled after condensation, the gaseous heat pump circulation working media are changed into low-temperature and low-pressure liquid heat pump circulation working media, and then the liquid heat pump circulation working media enter the air source evaporator to form a circulation loop.
Compared with the prior art, the invention obtains heat from ambient air through the air source evaporator, recovers heat from high-temperature waste gas through the waste heat source evaporator and the air preheater, and carries out convection and radiation heating drying treatment on the tobacco raw material through the preheating drying box and the infrared drying drum, and the structural design of the air holes of the drying drum and the drying box is beneficial to full contact of the tobacco raw material and hot air flow, and has the advantages of high drying speed, high efficiency, energy saving and the like.
Drawings
Fig. 1 is a schematic view of a drying system.
In the figure: 1-tobacco raw material inlet of drying box; 2-preheating a drying box; 201-inner box body; 202-outer box body; 203-drying oven vent; 3-a pipeline; 4-an electric motor; 5-infrared drying roller; 501-inner cylinder body; 502-outer cylinder; 503-drying drum vent hole; 6-infrared heating column; 7-convex teeth; 8-drying drum tobacco material outlet; 9-an air pump; 10-three-way valve; 11-high temperature dehumidifier; 12-a waste heat source evaporator; 13-a compressor; 14-a condenser; 15-an expansion valve; 16-an air source evaporator; 17-an air filter; 18-an air preheater; 19-a tobacco raw material outlet of the drying box; 20-drying oven air inlet; 21-drying drum tobacco material inlet; 22-infrared drying drum air inlet; 23-Infrared drying drum air outlet.
Detailed Description
The invention is described in detail below with reference to the figures and specific embodiments.
Examples
As shown in fig. 1, the drying system comprises a preheating drying box 2, an infrared drying drum 5, a heat pump circulation module, an air filter 17, an air preheater 18, an air pump 9, a three-way valve 10 and a high-temperature dehumidifier 11, wherein the heat pump circulation module comprises a waste heat source evaporator 12, a compressor 13, a condenser 14, an expansion valve 15 and an air source evaporator 16 which are sequentially connected end to form a loop, the preheating drying box 2 is communicated with the infrared drying drum 5, the air filter 17, the air preheater 18, the condenser 14, the infrared drying drum 5, the air pump 9, the three-way valve 11, the waste heat source evaporator 12 and the air source evaporator 18 are sequentially connected, one interface of the three-way valve 11 is also communicated with the high-temperature dehumidifier 11, and the high-temperature dehumidifier 11 is communicated with the preheating drying box 2. Wherein, the dotted line is the flowing direction of the waste gas, the single solid line is the flowing direction of the air, and the double solid lines are the flowing direction of the heat pump cycle working medium.
Be equipped with drying cylinder tobacco raw materials entry 21 on infrared drying cylinder 5, drying cylinder tobacco raw materials export 8, infrared drying cylinder air inlet 22 that is linked together with condenser 14 and the infrared drying cylinder gas outlet 23 that is linked together with aspiration pump 9, the one end of infrared drying cylinder 5 is equipped with and is used for driving infrared drying cylinder 5 pivoted motor 4, the inside of infrared drying cylinder 5 is equipped with infrared heating post 6, infrared drying cylinder 5 includes interior barrel 501 and the outer barrel 502 of cover in the barrel 501 outside, infrared drying cylinder air inlet 22 and infrared drying cylinder gas outlet 23 all are located outer barrel 502, be equipped with a plurality of drying cylinder air vents 503 along circumference on the lateral wall of interior barrel 501, be equipped with a plurality of protruding teeth 7 along circumference on the inner wall of interior barrel 501, drying cylinder air vent 503 is located between the adjacent protruding tooth 7.
Preheating drying cabinet 2 is last to be equipped with drying cabinet tobacco raw material entry 1, drying cabinet tobacco raw material export 19 (connecting through pipeline 3 between drying cabinet tobacco raw material export 19 and the drying drum tobacco raw material entry 21) and the drying cabinet air inlet 20 that are linked together with drying drum tobacco raw material entry 21 of infrared drying drum 5, preheating drying cabinet 2 includes that interior box 201 and cover establish the outer box 202 in the interior box 201 outside, be equipped with a plurality of drying cabinet air vents 203 along circumference on the lateral wall of interior box 201, drying cabinet air inlet 20 is located outer box 202 and is linked together with high temperature dehumidifier 11.
When the drying system works, tobacco raw materials to be dried firstly enter the preheating drying box 2 through the tobacco raw material inlet 1 of the drying box, and then enter the infrared drying drum 5 from the tobacco raw material outlet 19 of the drying box, the pipeline 3 and the tobacco raw material inlet 21 of the drying drum after being preheated. The air is heated up through the filtration of the air filter 17, the preheating of the air preheater 18 and the heat exchange of the condenser 14 to form high-temperature air, and then the high-temperature air enters the infrared drying drum 5 through the air inlet 22 of the infrared drying drum and the vent 503 of the drying drum in sequence to dry the tobacco, so that the high-temperature waste gas is formed, and the tobacco which is dried at the moment is discharged out of the infrared drying drum 5 through the tobacco raw material outlet 8 of the drying drum. The high-temperature waste gas flows out of the infrared drying drum 5 from the infrared drying drum air outlet 23, and a part of the high-temperature waste gas sequentially enters the waste heat source evaporator 12 and the air preheater 18 through the air suction pump 9 and the three-way valve 10 to recycle heat, and then is discharged out of the system to enter ambient air. The other part of the high-temperature waste gas enters the high-temperature dehumidifier 11 through the air pump 9 and the three-way valve 10, after moisture is removed by the high-temperature dehumidifier 11, the other part of the high-temperature waste gas enters the preheating drying box 2 through the drying box air inlet 20 and the drying box vent hole 203 to heat the tobacco raw materials. In the heat pump circulation module, low-temperature and low-pressure liquid heat pump circulation working media firstly obtain heat from ambient air through an air source evaporator 16, then obtain heat from high-temperature waste gas through a waste heat source evaporator 12 to form gaseous heat pump circulation working media, then the gaseous heat pump circulation working media are compressed by a compressor 13 to be increased in temperature to become high-temperature and high-pressure gaseous heat pump circulation working media, then the gaseous heat pump circulation working media exchange heat with air in a condenser 14, and the gaseous heat pump circulation working media are expanded by an expansion valve 15 to be continuously reduced in temperature after being condensed to become low-temperature and low-pressure liquid heat pump circulation working media, and then the low-temperature and low-pressure liquid heat pump circulation working media enter the air source evaporator 16 to form a circulation loop.
The embodiments described above are described to facilitate an understanding and use of the invention by those skilled in the art. It will be readily apparent to those skilled in the art that various modifications to these embodiments may be made, and the generic principles described herein may be applied to other embodiments without the use of the inventive faculty. Therefore, the present invention is not limited to the above embodiments, and those skilled in the art should make improvements and modifications within the scope of the present invention based on the disclosure of the present invention.

Claims (8)

1.一种高效节能型烟草干燥系统,其特征在于,所述干燥系统包括预热干燥箱(2)、红外干燥滚筒(5)、热泵循环模块、空气过滤器(17)和空气预热器(18),所述预热干燥箱(2)和红外干燥滚筒(5)相连通,所述热泵循环模块包括首尾依次相连形成回路的废热源蒸发器(12)、压缩机(13)、冷凝器(14)、膨胀阀(15)和空气源蒸发器(16),所述空气过滤器(17)、空气预热器(18)、冷凝器(14)和红外干燥滚筒(5)依次相连,1. A high-efficiency and energy-saving tobacco drying system, characterized in that the drying system comprises a preheating drying box (2), an infrared drying drum (5), a heat pump circulation module, an air filter (17) and an air preheater (18), the preheating drying box (2) is communicated with the infrared drying drum (5), and the heat pump circulation module includes a waste heat source evaporator (12), a compressor (13), a condenser (13), a waste heat source evaporator (12), a compressor (13), and a loop that are connected end to end to form a loop. (14), expansion valve (15) and air source evaporator (16), the air filter (17), air preheater (18), condenser (14) and infrared drying drum (5) are connected in sequence , 所述红外干燥滚筒(5)和废热源蒸发器(12)之间设有三通阀(10)并通过三通阀(10)相连通,所述三通阀(10)还和预热干燥箱(2)相连通,A three-way valve (10) is provided between the infrared drying drum (5) and the waste heat source evaporator (12) and communicated through the three-way valve (10), and the three-way valve (10) is also connected to the preheating drying box (2) Connected, 所述三通阀(10)和预热干燥箱(2)之间设有高温除湿器(11)。A high temperature dehumidifier (11) is arranged between the three-way valve (10) and the preheating drying box (2). 2.根据权利要求1所述的一种高效节能型烟草干燥系统,其特征在于,所述红外干燥滚筒(5)上设有干燥滚筒烟草原料入口(21)、干燥滚筒烟草原料出口(8)、与冷凝器(14)相连通的红外干燥滚筒进气口(22)和红外干燥滚筒出气口(23),所述红外干燥滚筒(5)的一端设有用于驱动红外干燥滚筒(5)转动的电动机(4),所述红外干燥滚筒(5)的内部设有红外加热柱(6)。2. A high-efficiency and energy-saving tobacco drying system according to claim 1, wherein the infrared drying drum (5) is provided with a drying drum tobacco raw material inlet (21) and a drying drum tobacco raw material outlet (8). , an infrared drying drum air inlet (22) and an infrared drying drum air outlet (23) communicated with the condenser (14), one end of the infrared drying drum (5) is provided with a drive for driving the infrared drying drum (5) to rotate The electric motor (4) is provided with an infrared heating column (6) inside the infrared drying drum (5). 3.根据权利要求2所述的一种高效节能型烟草干燥系统,其特征在于,所述红外干燥滚筒(5)包括内筒体(501)以及套设在内筒体(501)外侧的外筒体(502),所述红外干燥滚筒进气口(22)和红外干燥滚筒出气口(23)均位于外筒体(502)上,所述内筒体(501)的侧壁上沿周向设有多个干燥滚筒通气孔(503)。3. The high-efficiency and energy-saving tobacco drying system according to claim 2, wherein the infrared drying drum (5) comprises an inner cylinder (501) and an outer casing sleeved outside the inner cylinder (501). The cylinder (502), the air inlet (22) of the infrared drying drum and the air outlet (23) of the infrared drying drum are both located on the outer cylinder (502), and the side wall of the inner cylinder (501) is circumferentially arranged. There are multiple drying drum vents (503). 4.根据权利要求3所述的一种高效节能型烟草干燥系统,其特征在于,所述内筒体(501)的内壁上沿周向设有多个凸齿(7),所述干燥滚筒通气孔(503)位于相邻的凸齿(7)之间。The high-efficiency and energy-saving tobacco drying system according to claim 3, characterized in that, a plurality of protruding teeth (7) are arranged on the inner wall of the inner cylinder (501) along the circumferential direction, and the drying drum has ventilation holes. (503) is located between adjacent convex teeth (7). 5.根据权利要求1所述的一种高效节能型烟草干燥系统,其特征在于,所述预热干燥箱(2)上设有干燥箱烟草原料入口(1)、与红外干燥滚筒(5)相连通的干燥箱烟草原料出口(19)和干燥箱进气口(20)。5. A high-efficiency and energy-saving tobacco drying system according to claim 1, wherein the preheating drying box (2) is provided with a drying box tobacco raw material inlet (1), and an infrared drying drum (5) The tobacco raw material outlet (19) of the drying box and the air inlet (20) of the drying box are communicated with each other. 6.根据权利要求5所述的一种高效节能型烟草干燥系统,其特征在于,所述预热干燥箱(2)包括内箱体(201)以及套设在内箱体(201)外侧的外箱体(202),所述内箱体(201)的侧壁上沿周向设有多个干燥箱通气孔(203),所述干燥箱进气口(20)位于外箱体(202)上。6. The high-efficiency and energy-saving tobacco drying system according to claim 5, wherein the preheating and drying box (2) comprises an inner box (201) and an inner box (201) sleeved outside the inner box (201). The outer box body (202), the side wall of the inner box body (201) is provided with a plurality of drying box ventilation holes (203) along the circumferential direction, and the drying box air inlet (20) is located on the outer box body (202) . 7.根据权利要求1所述的一种高效节能型烟草干燥系统,其特征在于,所述红外干燥滚筒(5)与所述三通阀(10)之间设有抽气泵(9)。7 . The high-efficiency and energy-saving tobacco drying system according to claim 1 , wherein an air pump ( 9 ) is arranged between the infrared drying drum ( 5 ) and the three-way valve ( 10 ). 8 . 8.根据权利要求1所述的一种高效节能型烟草干燥系统,其特征在于,所述空气预热器(18)还与废热源蒸发器(12)相连通。8 . The high-efficiency and energy-saving tobacco drying system according to claim 1 , wherein the air preheater ( 18 ) is also communicated with the waste heat source evaporator ( 12 ). 9 .
CN202010809041.0A 2020-08-12 2020-08-12 A high-efficiency and energy-saving tobacco drying system Active CN112056605B (en)

Priority Applications (1)

Application Number Priority Date Filing Date Title
CN202010809041.0A CN112056605B (en) 2020-08-12 2020-08-12 A high-efficiency and energy-saving tobacco drying system

Applications Claiming Priority (1)

Application Number Priority Date Filing Date Title
CN202010809041.0A CN112056605B (en) 2020-08-12 2020-08-12 A high-efficiency and energy-saving tobacco drying system

Publications (2)

Publication Number Publication Date
CN112056605A CN112056605A (en) 2020-12-11
CN112056605B true CN112056605B (en) 2021-10-08

Family

ID=73662667

Family Applications (1)

Application Number Title Priority Date Filing Date
CN202010809041.0A Active CN112056605B (en) 2020-08-12 2020-08-12 A high-efficiency and energy-saving tobacco drying system

Country Status (1)

Country Link
CN (1) CN112056605B (en)

Families Citing this family (1)

* Cited by examiner, † Cited by third party
Publication number Priority date Publication date Assignee Title
CN116793052A (en) * 2023-07-14 2023-09-22 安徽农业大学 Composite tea dryer and control method based on heat pump

Citations (8)

* Cited by examiner, † Cited by third party
Publication number Priority date Publication date Assignee Title
DE102007018018A1 (en) * 2007-04-17 2008-10-23 Helmut Spielvogel Contact-frame dryer for sliced veneer, has steel fiber tape connected with frame roller in force-fit manner, where roller is driven into dryer-sections at different temperatures, and control device obtaining air conditioning in chamber
CN201426364Y (en) * 2009-06-26 2010-03-24 江苏智思机械集团有限公司 Staged cut tobacco-drying equipment
CN104000299A (en) * 2014-06-19 2014-08-27 中国烟草总公司郑州烟草研究院 Tobacco roller far infrared composite dying experimental equipment
CN105066666A (en) * 2015-07-22 2015-11-18 合肥淘能环境科技有限公司 Heat pump drying device with humidity and temperature adjusting function
CN205561502U (en) * 2016-04-15 2016-09-07 泉州装备制造研究所 Material waste heat recovery drying system
CN106403538A (en) * 2016-11-30 2017-02-15 洛阳山竹农牧有限公司 Feed drying device
CN107997202A (en) * 2017-12-12 2018-05-08 大连葆光节能空调设备厂 Four sections of thermal cycle kelp drying units
CN108283326A (en) * 2017-01-10 2018-07-17 秦皇岛烟草机械有限责任公司 A kind of combined type tobacco drying equipment

Family Cites Families (2)

* Cited by examiner, † Cited by third party
Publication number Priority date Publication date Assignee Title
CN203435668U (en) * 2013-07-18 2014-02-19 成都蓉阳科技有限公司 Split type air source waste heat recycling type tobacco heat pump drying machine set
CN111174539A (en) * 2018-11-13 2020-05-19 秦皇岛烟草机械有限责任公司 A Tobacco Drying Hot Air Circulation System

Patent Citations (8)

* Cited by examiner, † Cited by third party
Publication number Priority date Publication date Assignee Title
DE102007018018A1 (en) * 2007-04-17 2008-10-23 Helmut Spielvogel Contact-frame dryer for sliced veneer, has steel fiber tape connected with frame roller in force-fit manner, where roller is driven into dryer-sections at different temperatures, and control device obtaining air conditioning in chamber
CN201426364Y (en) * 2009-06-26 2010-03-24 江苏智思机械集团有限公司 Staged cut tobacco-drying equipment
CN104000299A (en) * 2014-06-19 2014-08-27 中国烟草总公司郑州烟草研究院 Tobacco roller far infrared composite dying experimental equipment
CN105066666A (en) * 2015-07-22 2015-11-18 合肥淘能环境科技有限公司 Heat pump drying device with humidity and temperature adjusting function
CN205561502U (en) * 2016-04-15 2016-09-07 泉州装备制造研究所 Material waste heat recovery drying system
CN106403538A (en) * 2016-11-30 2017-02-15 洛阳山竹农牧有限公司 Feed drying device
CN108283326A (en) * 2017-01-10 2018-07-17 秦皇岛烟草机械有限责任公司 A kind of combined type tobacco drying equipment
CN107997202A (en) * 2017-12-12 2018-05-08 大连葆光节能空调设备厂 Four sections of thermal cycle kelp drying units

Also Published As

Publication number Publication date
CN112056605A (en) 2020-12-11

Similar Documents

Publication Publication Date Title
CN205843311U (en) A kind of Novel multifunctional heat pump drying all-in-one
CN110455068B (en) Solar heat pump dehumidification drying system
CN206771801U (en) A kind of dehumidifying drying heat pump set system
CN103771680B (en) Sequencing batch waste heat recovery vacuum drying device
CN102487993B (en) Solar fruit and vegetable hot air vacuum combined drying equipment and drying method
CN109368976A (en) A hollow paddle dryer and its drying system for sludge drying
CN210321020U (en) Energy-saving drying equipment for spunlace nonwoven process
CN112056605B (en) A high-efficiency and energy-saving tobacco drying system
CN207862650U (en) A kind of energy-efficient industrial drying machine
CN212320249U (en) Drying device for sticking solid wood skin on density board
CN209415908U (en) A kind of combined heat pump dehumidifying integrated machine of the dual heat recovery function of band
CN103940203B (en) A kind of microwave heat pump hypoxemia drying equipment and method of operating thereof
CN208536530U (en) A kind of energy-saving and environment-friendly hot air circulation air energy heat pump dryer
CN106903986A (en) A kind of printing drier
CN207527938U (en) Combined drying system
CN206683324U (en) A kind of dryer of recuperation of heat
CN206207966U (en) Water circulation type function of mechanical steam recompression MVR drying systems
CN205420856U (en) Dry clothing heat pump system of heat recovery and heat pump dryer
CN208765420U (en) It is a kind of special type stencil paper production use energy-saving drying device
CN112254376A (en) Rotating wheel heat recovery system for low-temperature sludge drying machine
CN208523763U (en) A kind of heat pump baking equipment and the bulk curing barn system with the equipment
CN201532093U (en) Uninterrupted batch heat pump-hot air combined drying device
CN207247857U (en) Warming heat pump dehumidification drying device
CN113007985A (en) Drying air duct system of drying equipment
CN103966815A (en) Direct heating type double-drum clothes dryer

Legal Events

Date Code Title Description
PB01 Publication
PB01 Publication
SE01 Entry into force of request for substantive examination
SE01 Entry into force of request for substantive examination
GR01 Patent grant
GR01 Patent grant