CN112023547A - Efficient pulse dust collector and working method thereof - Google Patents
Efficient pulse dust collector and working method thereof Download PDFInfo
- Publication number
- CN112023547A CN112023547A CN202010921822.9A CN202010921822A CN112023547A CN 112023547 A CN112023547 A CN 112023547A CN 202010921822 A CN202010921822 A CN 202010921822A CN 112023547 A CN112023547 A CN 112023547A
- Authority
- CN
- China
- Prior art keywords
- mounting plate
- filter bag
- upper box
- air
- air outlet
- Prior art date
- Legal status (The legal status is an assumption and is not a legal conclusion. Google has not performed a legal analysis and makes no representation as to the accuracy of the status listed.)
- Granted
Links
- 239000000428 dust Substances 0.000 title claims abstract description 78
- 238000000034 method Methods 0.000 title claims abstract description 15
- 238000009434 installation Methods 0.000 claims abstract description 38
- 239000002245 particle Substances 0.000 claims description 12
- 238000012423 maintenance Methods 0.000 claims description 7
- 238000003466 welding Methods 0.000 claims description 6
- 230000005540 biological transmission Effects 0.000 claims description 4
- 239000003638 chemical reducing agent Substances 0.000 claims description 3
- 230000005484 gravity Effects 0.000 claims description 3
- 230000002093 peripheral effect Effects 0.000 claims description 3
- 210000003437 trachea Anatomy 0.000 claims 1
- 238000001914 filtration Methods 0.000 abstract description 6
- 230000000694 effects Effects 0.000 description 6
- 230000009286 beneficial effect Effects 0.000 description 1
- 238000010586 diagram Methods 0.000 description 1
- 238000012986 modification Methods 0.000 description 1
- 230000004048 modification Effects 0.000 description 1
- 230000035939 shock Effects 0.000 description 1
Images
Classifications
-
- B—PERFORMING OPERATIONS; TRANSPORTING
- B01—PHYSICAL OR CHEMICAL PROCESSES OR APPARATUS IN GENERAL
- B01D—SEPARATION
- B01D46/00—Filters or filtering processes specially modified for separating dispersed particles from gases or vapours
- B01D46/02—Particle separators, e.g. dust precipitators, having hollow filters made of flexible material
- B01D46/023—Pockets filters, i.e. multiple bag filters mounted on a common frame
-
- B—PERFORMING OPERATIONS; TRANSPORTING
- B01—PHYSICAL OR CHEMICAL PROCESSES OR APPARATUS IN GENERAL
- B01D—SEPARATION
- B01D46/00—Filters or filtering processes specially modified for separating dispersed particles from gases or vapours
- B01D46/02—Particle separators, e.g. dust precipitators, having hollow filters made of flexible material
- B01D46/04—Cleaning filters
Landscapes
- Chemical & Material Sciences (AREA)
- Chemical Kinetics & Catalysis (AREA)
- Filtering Of Dispersed Particles In Gases (AREA)
Abstract
本发明公开了一种高效脉冲除尘器及其工作方法,该除尘器包括下箱体,下箱体的底部设置有集灰斗,下箱体的顶部设置有上箱体,上箱体的一端设置有翻转盖,固定安装板、活动安装板之间设置有若干组过滤袋,翻转盖的一侧外壁、上箱体远离翻转盖的一侧外壁上均安装有高压气罐,高压气罐通过连接管与喷气管连接,支撑架上活动安装有移动组件,移动组件与活动安装板固定连接;本发明中的过滤袋采用横向放置的方式,使得空气与过滤袋的接触面积较大,从而加速空气的过滤,提高除尘效率,同时对过滤袋两端通入压缩气体,缩短了压缩气体填充过滤袋的时间,本发明的过滤袋便于安装和拆卸,可以快速对过滤袋进行维护。
The invention discloses a high-efficiency pulse dust collector and a working method thereof. The dust collector comprises a lower box body, an ash collecting hopper is arranged at the bottom of the lower box body, an upper box body is arranged at the top of the lower box body, and one end of the upper box body is arranged A flip cover is provided, and several groups of filter bags are arranged between the fixed installation plate and the movable installation board. A high-pressure gas tank is installed on the outer wall of one side of the flip cover and the outer wall of the upper box away from the flip cover. The high-pressure gas tank passes through The connecting pipe is connected with the jet pipe, the movable assembly is movably installed on the support frame, and the movable assembly is fixedly connected with the movable mounting plate; the filter bag in the present invention is placed horizontally, so that the contact area between the air and the filter bag is larger, thereby accelerating the The air filtration improves the dust removal efficiency, and at the same time, the compressed gas is introduced into the two ends of the filter bag, which shortens the time for filling the filter bag with the compressed gas.
Description
技术领域technical field
本发明涉及除尘设备技术领域,具体涉及一种高效脉冲除尘器及其工作方法。The invention relates to the technical field of dust removal equipment, in particular to a high-efficiency pulse dust collector and a working method thereof.
背景技术Background technique
脉冲袋式除尘器的原理是以压缩空气为动力,利用储气罐瞬间喷出的压缩空气,通过喷气管诱导数倍于喷射气量的空气高速进入过滤袋,使过滤袋由顶部滤口至底部产生急剧的膨胀和冲击振动,产生很强的清落积灰作用。这种除尘器清灰强度大,可以允许采用较高的过滤风速,因此成为目前国内应用最广的除尘清灰方式;The principle of the pulse bag filter is to use compressed air as the driving force, and use the compressed air instantly ejected from the air storage tank to induce the air several times the amount of injected air to enter the filter bag at a high speed through the jet pipe, so that the filter bag is from the top filter port to the bottom. It produces rapid expansion and shock vibration, and produces a strong effect of removing dust. This kind of dust collector has high dust removal intensity and can allow higher filtration wind speed, so it has become the most widely used dust removal method in China;
专利文件(CN107961605A)公开了一种高效能脉冲式除尘器,该脉冲式除尘器空气与过滤袋较小,过滤袋对空气的过滤速度慢,除尘效率低,而且只对过滤袋一端通入压缩气体,压缩气体无法快速填充过滤袋,过滤袋上的灰尘脱落慢,脱落效果差,该脉冲式除尘器不便于安装和拆卸,无法快速对过滤袋进行维护,影响该除尘器的正常使用。The patent document (CN107961605A) discloses a high-efficiency pulse type dust collector. The pulse type dust collector has smaller air and filter bags, and the filter bag can filter the air at a slow speed, and the dust removal efficiency is low. Gas and compressed gas cannot quickly fill the filter bag, the dust on the filter bag falls off slowly, and the falling effect is poor. The pulse type dust collector is not easy to install and disassemble, and the filter bag cannot be maintained quickly, which affects the normal use of the dust collector.
发明内容SUMMARY OF THE INVENTION
本发明的目的在于提供一种高效脉冲除尘器及其工作方法,通过在固定安装板、活动安装板之间横向设置多个过滤袋,通过滤袋对空气进行除尘,除尘过滤后的空气分别穿过固定安装板、活动安装板上的出气罩,并通过出气口排出到外界,本发明中的过滤袋采用横向放置的方式,使得空气在进入到下箱体内部时,空气与过滤袋的接触面积较大,从而加速空气的过滤,提高除尘效率,解决了传统脉冲除尘器除尘效率低的技术问题;The purpose of the present invention is to provide a high-efficiency pulse dust collector and a working method thereof. By arranging a plurality of filter bags laterally between the fixed installation plate and the movable installation plate, the air is dedusted through the filter bags, and the air after the dedusting and filtration is passed through respectively. Through the air outlet hood on the fixed installation plate and the movable installation plate, and discharged to the outside world through the air outlet, the filter bag in the present invention is placed horizontally, so that when the air enters the inside of the lower box, the air contacts the filter bag. The area is larger, thereby accelerating the air filtration, improving the dust removal efficiency, and solving the technical problem of low dust removal efficiency of the traditional pulse dust collector;
本发明通过在翻转盖的外侧和上箱体的外侧分别安装高压气罐,高压气罐通过连接管与各个喷气管连接,通过打开脉冲阀,使高压气罐内的压缩空气通过各个连接管进入到对应的喷气管中,并通过各个喷嘴向出气罩喷出,压缩空气通过出气罩进入到过滤袋中,使过滤袋迅速膨胀,从而过滤袋表面附着的灰尘脱离并下落到下方的集灰斗内,本发明同时对过滤袋两端通入压缩气体,缩短了压缩气体填充过滤袋的时间,从而快速使过滤袋上的灰尘脱落,同时可以使得过滤袋膨胀体积大,过滤袋上的灰尘脱落效果好,解决了传统脉冲除尘器过滤袋上的灰尘脱落慢,脱落效果差的技术问题;In the present invention, the high-pressure air tank is respectively installed on the outer side of the flip cover and the outer side of the upper box body, the high-pressure air tank is connected with each jet pipe through a connecting pipe, and the compressed air in the high-pressure air tank enters through each connecting pipe by opening the pulse valve. The compressed air enters into the filter bag through the air outlet hood, so that the filter bag expands rapidly, so that the dust attached to the surface of the filter bag is detached and falls to the ash collecting hopper below. In the present invention, the compressed gas is introduced into both ends of the filter bag at the same time, which shortens the time for the compressed gas to fill the filter bag, thereby quickly making the dust on the filter bag fall off, and at the same time, the expansion volume of the filter bag can be large, and the dust on the filter bag can fall off. The effect is good, and the technical problem of slow dust shedding and poor shedding effect on the filter bag of the traditional pulse dust collector is solved;
本发明通过松开翻转盖顶部与上箱体的连接螺栓,通过翻转气缸带动翻转盖转动,使上箱体的一端处于打开状态,通过移动电机带动转动轴转动,转动轴通过齿轮带动齿轮带转动,齿轮带带动移动小车移动,移动小车带动竖架移动,并带动活动安装板移动,活动安装板移动到上箱体靠近翻转盖的一端开口处,此时过滤袋移动到上箱体的开口处,松开固定安装板与上箱体的上壁、下壁的连接螺栓,将固定安装板、活动安装板连同过滤袋拆下进行维护更换,解决了传统脉冲除尘器不便于安装和拆卸,无法快速对过滤袋进行维护,影响该除尘器的正常使用的技术问题。In the present invention, the connecting bolts between the top of the flip cover and the upper box are loosened, the flip cover is driven to rotate by the flip cylinder, so that one end of the top box is in an open state, the rotating shaft is driven to rotate by the moving motor, and the rotating shaft drives the gear belt to rotate through the gear. , the gear belt drives the mobile trolley to move, the mobile trolley drives the vertical frame to move, and drives the movable mounting plate to move, and the movable mounting plate moves to the opening at one end of the upper box close to the flip cover. At this time, the filter bag moves to the opening of the upper box. , Loosen the connecting bolts between the fixed installation plate and the upper and lower walls of the upper box, and remove the fixed installation plate, movable installation plate and filter bag for maintenance and replacement, which solves the problem that the traditional pulse dust collector is inconvenient to install and disassemble. Quick maintenance of the filter bag, technical problems affecting the normal use of the dust collector.
本发明的目的可以通过以下技术方案实现:The object of the present invention can be realized through the following technical solutions:
一种高效脉冲除尘器,包括下箱体,所述下箱体的底部设置有集灰斗,所述下箱体的顶部设置有上箱体,所述上箱体的一端设置有翻转盖,所述翻转盖的底部与上箱体的一端底部铰接,所述翻转盖的顶部与上箱体的一端顶部之间通过螺栓固定;A high-efficiency pulse dust collector includes a lower box, an ash collecting hopper is arranged at the bottom of the lower box, an upper box is arranged at the top of the lower box, and one end of the upper box is arranged with a flip cover, The bottom of the flip cover is hinged with the bottom of one end of the upper box, and the top of the flip cover and the top of one end of the upper box are fixed by bolts;
所述上箱体的内侧固定安装有固定安装板,所述固定安装板的顶端、底端分别通过螺栓与上箱体的上壁、下壁固定连接,所述上箱体的内侧活动安装有活动安装板,所述固定安装板、活动安装板相互平行且呈竖直设置,所述固定安装板、活动安装板之间设置有若干组过滤袋;The inner side of the upper box body is fixedly installed with a fixed installation plate, the top and bottom ends of the fixed installation plate are respectively fixedly connected with the upper wall and the lower wall of the upper box body through bolts, and the inner side of the upper box body is movably installed with a movable installation plate, the fixed installation plate and the movable installation plate are parallel to each other and arranged vertically, and several groups of filter bags are arranged between the fixed installation plate and the movable installation plate;
所述翻转盖的内侧、上箱体的内部远离翻转盖的一侧均竖直固定有若干个喷气管,所述喷气管上均固定安装有若干个喷嘴,所述翻转盖的一侧外壁、上箱体远离翻转盖的一侧外壁上均固定安装有高压气罐,所述高压气罐的顶部固定安装有若干个连接管,若干个连接管与若干个喷气管一一对应,所述连接管的一端与喷气管连接;The inner side of the flip cover and the inner side of the upper box away from the flip cover are vertically fixed with several jet pipes, and several nozzles are fixedly installed on the jet pipes. One side outer wall of the flip cover, A high-pressure gas tank is fixedly installed on the outer wall of the upper box away from the flip cover, and a number of connecting pipes are fixedly installed on the top of the high-pressure gas tank. One end of the pipe is connected with the jet pipe;
所述上箱体的内侧上部通过焊接水平固定有支撑架,所述支撑架上活动安装有移动组件,所述移动组件与活动安装板固定连接;A support frame is horizontally fixed on the inner upper part of the upper box body by welding, a movable assembly is movably installed on the support frame, and the movable assembly is fixedly connected with the movable mounting plate;
所述下箱体的一侧外壁设置有进气口,所述翻转盖的一侧外壁、所述上箱体远离翻转盖的一侧外壁处均设置有出气口,所述集灰斗的底部设置有出尘口。One side of the outer wall of the lower box is provided with an air inlet, one side of the outer wall of the flip cover, and one side of the outer wall of the upper box away from the flip cover are provided with an air outlet, and the bottom of the ash collecting hopper is provided with an air outlet. A dust outlet is provided.
进一步的,所述移动组件包括移动小车,所述移动小车沿水平方向滑动安装在支撑架的上表面,所述支撑架的上表面通过转动安装有两个转动轴,两个所述转动轴分别位于支撑架的上表面的两侧边缘处,所述转动轴的两端均固定安装有齿轮,两个所述转动轴上对应一侧的齿轮之间通过齿轮带传动连接,所述齿轮带的上侧与移动小车固定连接,所述支撑架的上表面固定安装有移动电机,所述移动电机的输出轴通过减速机与其中一个转动轴传动连接;Further, the moving assembly includes a moving trolley, the moving trolley is slidably mounted on the upper surface of the support frame in a horizontal direction, and two rotating shafts are installed on the upper surface of the support frame through rotation, and the two rotating shafts are respectively Located at the two edges of the upper surface of the support frame, gears are fixedly installed on both ends of the rotating shaft, and the gears on the corresponding sides of the two rotating shafts are connected by a gear belt transmission. The upper side is fixedly connected with the moving trolley, the upper surface of the support frame is fixedly installed with a moving motor, and the output shaft of the moving motor is drive-connected with one of the rotating shafts through a reducer;
所述移动小车的底面通过螺栓竖直固定有两个竖架,两个竖架分别位于移动小车底面的两侧边缘处,所述竖架包括第一竖杆、第二竖杆,所述第二竖杆上沿竖直方向滑动安装有滑动座,所述滑动座的一侧与活动安装板固定连接,所述第一竖杆的内侧沿竖直方向活动安装有配重块,所述配重块的顶部与升降链条的一端固定连接,所述升降链条的另一端延伸至第二竖杆的内侧,所述升降链条的另一端与滑动座的顶部固定连接,所述第二竖杆上固定安装有升降电机,所述升降电机的输出轴端固定安装有齿轮,所述第一竖杆的上部也转动安装有齿轮,两个所述齿轮通过升降链条传动连接。Two vertical frames are vertically fixed on the bottom surface of the mobile trolley through bolts, and the two vertical frames are respectively located at the edges on both sides of the bottom surface of the mobile trolley. The vertical frames include a first vertical rod and a second vertical rod. A sliding seat is slidably installed on the two vertical rods along the vertical direction, one side of the sliding seat is fixedly connected with the movable mounting plate, the inner side of the first vertical rod is movably installed with a counterweight block in the vertical direction, and the matching weight is installed on the inner side of the first vertical rod. The top of the heavy block is fixedly connected to one end of the lifting chain, the other end of the lifting chain extends to the inner side of the second vertical rod, the other end of the lifting chain is fixedly connected to the top of the sliding seat, and the second vertical rod is fixedly connected. A lift motor is fixedly installed, a gear is fixedly installed at the output shaft end of the lift motor, a gear is also rotatably installed on the upper part of the first vertical rod, and the two gears are connected by a lift chain transmission.
进一步的,所述下箱体的一侧外壁处设置有两个翻转气缸,所述翻转气缸的底端与下箱体的一侧外壁铰接,所述翻转气缸的输出杆顶端与翻转盖的底面铰接。Further, two overturning cylinders are arranged on one side outer wall of the lower case, the bottom end of the overturning cylinder is hinged with one side outer wall of the lower case, and the top end of the output rod of the overturning cylinder is connected with the bottom surface of the overturning cover. Hinged.
进一步的,若干组所述过滤袋沿水平方向呈等间距线性阵列分布,每组所述过滤袋的数量为若干个,若干个所述过滤袋沿竖直方向呈等间距线性阵列分布,所述过滤袋的两端均与出气罩固定连接;Further, several groups of the filter bags are distributed in an equidistant linear array along the horizontal direction, the number of the filter bags in each group is several, and the several filter bags are distributed in an equidistant linear array along the vertical direction. Both ends of the filter bag are fixedly connected with the air outlet cover;
若干个所述喷气管沿水平方向呈等间距线性阵列分布,若干个所述喷气管与若干组过滤袋一一对应。A plurality of the jet pipes are distributed in a linear array with equal spacing along the horizontal direction, and the plurality of the jet pipes are in one-to-one correspondence with several groups of filter bags.
进一步的,所述固定安装板的一侧表面均固定安装有若干组出气罩,若干组所述出气罩在固定安装板的一侧表面沿水平方向呈等间距线性阵列分布,每组所述出气罩的数量为若干个,若干个所述出气罩在固定安装板的一侧表面沿竖直方向呈等间距线性阵列分布。Further, several groups of air outlet hoods are fixedly installed on one side surface of the fixed installation plate, and several groups of the air outlet hoods are distributed in an equal-spaced linear array along the horizontal direction on one side surface of the fixed installation plate. The number of the hoods is several, and the several air outlet hoods are distributed in a linear array with equal spacing along the vertical direction on one side surface of the fixed installation plate.
进一步的,所述活动安装板的一侧表面均固定安装有若干组出气罩,若干组所述出气罩在活动安装板的一侧表面沿水平方向呈等间距线性阵列分布,每组所述出气罩的数量为若干个,若干个所述出气罩在活动安装板的一侧表面沿竖直方向呈等间距线性阵列分布。Further, several groups of air outlet hoods are fixedly installed on one side surface of the movable mounting plate, and several groups of the air outlet hoods are distributed in a linear array at equal intervals along the horizontal direction on one side surface of the movable installation plate. The number of the hoods is several, and the several air outlet hoods are distributed in a linear array with equal spacing along the vertical direction on one side surface of the movable mounting plate.
进一步的,若干个所述喷嘴在喷气管上沿竖直方向呈等间距线性阵列分布,若干个所述喷嘴与若干个出气罩一一对应。Further, a plurality of the nozzles are distributed in an equidistant linear array along the vertical direction on the jet pipe, and a plurality of the nozzles are in one-to-one correspondence with a plurality of air outlet hoods.
进一步的,所述下箱体的外周面底部通过焊接固定安装有支撑框板,所述支撑框板的底面竖直设置有四个支撑杆,四个所述支撑杆分别位于支撑框板底面的四个拐角位置处。Further, a support frame plate is fixedly installed on the bottom of the outer peripheral surface of the lower box by welding, and four support rods are vertically arranged on the bottom surface of the support frame plate, and the four support rods are respectively located on the bottom surface of the support frame plate. four corner locations.
进一步的,所述连接管上固定安装有脉冲阀。Further, a pulse valve is fixedly installed on the connecting pipe.
一种高效脉冲除尘器的工作方法,该方法的具体步骤如下:A working method of a high-efficiency pulse dust collector, the specific steps of the method are as follows:
步骤一、将空气从下箱体一侧的进气口导入,大颗粒粉尘在重力的作用下直接掉入集灰斗的底部,小颗粒粉尘随着空气向上移动,空气在向上移动的过程中经过过滤袋,空气中小颗粒粉尘粘在过滤袋的表面,对空气进行除尘,除尘后的空气分别穿过固定安装板、活动安装板上的出气罩,并通过上箱体、翻转盖一侧的出气口排出到外界;
步骤二、打开脉冲阀,高压气罐内的压缩空气通过各个连接管进入到对应的喷气管中,喷气管中的压缩空气通过各个喷嘴向出气罩喷出,压缩空气通过出气罩进入到过滤袋中,使过滤袋迅速膨胀,过滤袋表面附着的灰尘脱离并下落到下方的集灰斗内,并通过集灰斗底部的出尘口排出;Step 2: Open the pulse valve, the compressed air in the high-pressure air tank enters the corresponding jet pipe through each connecting pipe, the compressed air in the jet pipe is ejected to the air outlet hood through each nozzle, and the compressed air enters the filter bag through the air outlet hood. In the middle of the filter bag, the filter bag is rapidly expanded, and the dust attached to the surface of the filter bag is detached and falls into the ash collecting hopper below, and is discharged through the dust outlet at the bottom of the ash collecting hopper;
步骤三、松开翻转盖顶部与上箱体的连接螺栓,启动翻转气缸,翻转气缸带动翻转盖转动,使上箱体的一端处于打开状态,启动移动电机,移动电机带动转动轴转动,转动轴通过齿轮带动齿轮带转动,齿轮带带动移动小车移动,移动小车带动竖架移动,并带动活动安装板移动,当活动安装板移动到下箱体上方时,启动升降电机,升降电机通过齿轮带动升降链条转动,并带动滑动座下降,滑动座带动活动安装板下降,并带动过滤袋的一端下降,使过滤袋的一端倾斜向下,使过滤袋内的粉尘颗粒下落收集,当活动安装板移动到上箱体靠近翻转盖的一端开口处,过滤袋移动到上箱体的开口处,松开固定安装板与上箱体的上壁、下壁的连接螺栓,将固定安装板、活动安装板连同过滤袋拆下进行维护更换。Step 3: Loosen the connecting bolts between the top of the flip cover and the upper box, start the flip cylinder, and the flip cylinder drives the flip cover to rotate, so that one end of the top box is in an open state, start the moving motor, and the moving motor drives the rotating shaft to rotate, and the rotating shaft rotates. The gear belt drives the gear belt to rotate, the gear belt drives the mobile trolley to move, the mobile trolley drives the vertical frame to move, and drives the movable mounting plate to move. When the movable mounting plate moves to the top of the lower box, the lifting motor is started, and the lifting motor drives the lifting and lowering through the gear. The chain rotates and drives the sliding seat to descend, the sliding seat drives the movable mounting plate to descend, and drives one end of the filter bag to descend, so that one end of the filter bag is inclined downward, so that the dust particles in the filter bag fall and collect. The upper box is close to the opening of one end of the flip cover, the filter bag is moved to the opening of the upper box, loosen the connecting bolts between the fixed installation plate and the upper and lower walls of the upper box, and the fixed installation plate and movable installation plate together with The filter bag is removed for maintenance and replacement.
本发明的有益效果:Beneficial effects of the present invention:
本发明通过在固定安装板、活动安装板之间横向设置多个过滤袋,通过滤袋对空气进行除尘,除尘过滤后的空气分别穿过固定安装板、活动安装板上的出气罩,并通过出气口排出到外界,本发明中的过滤袋采用横向放置的方式,使得空气在进入到下箱体内部时,空气与过滤袋的接触面积较大,从而加速空气的过滤,提高除尘效率;In the invention, a plurality of filter bags are arranged horizontally between the fixed installation plate and the movable installation plate, and the air is dedusted through the filter bags. The air outlet is discharged to the outside, and the filter bag in the present invention is placed horizontally, so that when the air enters the inside of the lower box, the contact area between the air and the filter bag is larger, thereby accelerating the air filtration and improving the dust removal efficiency;
本发明通过在翻转盖的外侧和上箱体的外侧分别安装高压气罐,高压气罐通过连接管与各个喷气管连接,通过打开脉冲阀,使高压气罐内的压缩空气通过各个连接管进入到对应的喷气管中,并通过各个喷嘴向出气罩喷出,压缩空气通过出气罩进入到过滤袋中,使过滤袋迅速膨胀,从而过滤袋表面附着的灰尘脱离并下落到下方的集灰斗内,本发明同时对过滤袋两端通入压缩气体,缩短了压缩气体填充过滤袋的时间,从而快速使过滤袋上的灰尘脱落,同时可以使得过滤袋膨胀体积大,过滤袋上的灰尘脱落效果好;In the present invention, the high-pressure air tank is respectively installed on the outer side of the flip cover and the outer side of the upper box body, the high-pressure air tank is connected with each jet pipe through a connecting pipe, and the compressed air in the high-pressure air tank enters through each connecting pipe by opening the pulse valve. The compressed air enters into the filter bag through the air outlet hood, so that the filter bag expands rapidly, so that the dust attached to the surface of the filter bag is detached and falls to the ash collecting hopper below. In the present invention, the compressed gas is introduced into both ends of the filter bag at the same time, which shortens the time for the compressed gas to fill the filter bag, thereby quickly making the dust on the filter bag fall off, and at the same time, the expansion volume of the filter bag can be large, and the dust on the filter bag can fall off. good effect;
本发明通过松开翻转盖顶部与上箱体的连接螺栓,通过翻转气缸带动翻转盖转动,使上箱体的一端处于打开状态,通过移动电机带动转动轴转动,转动轴通过齿轮带动齿轮带转动,齿轮带带动移动小车移动,移动小车带动竖架移动,并带动活动安装板移动,活动安装板移动到上箱体靠近翻转盖的一端开口处,此时过滤袋移动到上箱体的开口处,松开固定安装板与上箱体的上壁、下壁的连接螺栓,将固定安装板、活动安装板连同过滤袋拆下进行维护更换,本发明的过滤袋便于安装和拆卸,可以快速对过滤袋进行维护,避免影响该除尘器的正常使用,保证了除尘效率。In the present invention, the connecting bolts between the top of the flip cover and the upper box are loosened, the flip cover is driven to rotate by the flip cylinder, so that one end of the top box is in an open state, the rotating shaft is driven to rotate by the moving motor, and the rotating shaft drives the gear belt to rotate through the gear. , the gear belt drives the mobile trolley to move, the mobile trolley drives the vertical frame to move, and drives the movable mounting plate to move, and the movable mounting plate moves to the opening at one end of the upper box close to the flip cover. At this time, the filter bag moves to the opening of the upper box. , loosen the connecting bolts between the fixed installation plate and the upper and lower walls of the upper box, and remove the fixed installation plate, the movable installation plate and the filter bag for maintenance and replacement. The filter bag of the present invention is easy to install and disassemble, and can be quickly adjusted The filter bag is maintained to avoid affecting the normal use of the dust collector and ensure the dust removal efficiency.
附图说明Description of drawings
为了便于本领域技术人员理解,下面结合附图对本发明作进一步的说明。In order to facilitate the understanding of those skilled in the art, the present invention will be further described below with reference to the accompanying drawings.
图1为本发明一种高效脉冲除尘器的立体结构图;Fig. 1 is the three-dimensional structure diagram of a kind of high-efficiency pulse dust collector of the present invention;
图2为本发明一种高效脉冲除尘器的正视剖面图;Fig. 2 is the front sectional view of a kind of high-efficiency pulse dust collector of the present invention;
图3为本发明移动组件的结构正视图;3 is a front view of the structure of the mobile assembly of the present invention;
图4为本发明移动组件的结构俯视图;4 is a top view of the structure of the moving assembly of the present invention;
图5为本发明固定安装板、出气罩的装配侧视图。5 is an assembled side view of the fixed mounting plate and the air outlet cover of the present invention.
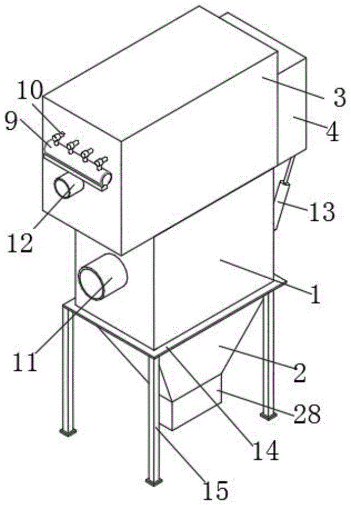
图中:1、下箱体;2、集灰斗;3、上箱体;4、翻转盖;5、过滤袋;6、固定安装板;7、活动安装板;8、移动组件;9、高压气罐;10、连接管;11、进气口;12、出气口;13、翻转气缸;14、支撑框板;15、支撑杆;16、喷气管;17、喷嘴;18、支撑架;19、移动小车;20、第一竖杆;21、第二竖杆;22、滑动座;23、移动电机;24、升降电机;25、升降链条;26、配重块;27、出气罩;28、出尘口;29、转动轴;30、齿轮带;31、脉冲阀。In the figure: 1. Lower box body; 2. Ash hopper; 3. Upper box body; 4. Flip cover; 5. Filter bag; 6. Fixed mounting plate; 7. Active mounting plate; 8. Mobile assembly; 9. High pressure air tank; 10. Connecting pipe; 11. Air inlet; 12. Air outlet; 13. Turning cylinder; 14. Supporting frame plate; 15. Supporting rod; 16. Air jet pipe; 17. Nozzle; 18. Supporting frame; 19. Mobile trolley; 20. First vertical rod; 21. Second vertical rod; 22. Sliding seat; 23. Mobile motor; 24. Lifting motor; 25. Lifting chain; 26. Counterweight; 28. Dust outlet; 29. Rotating shaft; 30. Gear belt; 31. Pulse valve.
具体实施方式Detailed ways
下面将结合实施例对本发明的技术方案进行清楚、完整地描述,显然,所描述的实施例仅仅是本发明一部分实施例,而不是全部的实施例。基于本发明中的实施例,本领域普通技术人员在没有作出创造性劳动前提下所获得的所有其它实施例,都属于本发明保护的范围。The technical solutions of the present invention will be clearly and completely described below with reference to the embodiments. Obviously, the described embodiments are only a part of the embodiments of the present invention, rather than all the embodiments. Based on the embodiments of the present invention, all other embodiments obtained by those of ordinary skill in the art without creative efforts shall fall within the protection scope of the present invention.
如图1-5所示,一种高效脉冲除尘器,包括下箱体1,所述下箱体1的底部设置有集灰斗2,所述下箱体1的顶部设置有上箱体3,所述上箱体3的一端设置有翻转盖4,所述翻转盖4的底部与上箱体3的一端底部铰接,所述翻转盖4的顶部与上箱体3的一端顶部之间通过螺栓固定;As shown in Figures 1-5, a high-efficiency pulse dust collector includes a
所述上箱体3的内侧固定安装有固定安装板6,所述固定安装板6的顶端、底端分别通过螺栓与上箱体3的上壁、下壁固定连接,所述上箱体3的内侧活动安装有活动安装板7,所述固定安装板6、活动安装板7相互平行且呈竖直设置,所述固定安装板6、活动安装板7之间设置有若干组过滤袋5;The inner side of the
所述翻转盖4的内侧、上箱体3的内部远离翻转盖4的一侧均竖直固定有若干个喷气管16,所述喷气管16上均固定安装有若干个喷嘴17,所述翻转盖4的一侧外壁、上箱体3远离翻转盖4的一侧外壁上均固定安装有高压气罐9,所述高压气罐9的顶部固定安装有若干个连接管10,若干个连接管10与若干个喷气管16一一对应,所述连接管10的一端与喷气管16连接;The inner side of the
所述上箱体3的内侧上部通过焊接水平固定有支撑架18,所述支撑架18上活动安装有移动组件8,所述移动组件8与活动安装板7固定连接;A
所述下箱体1的一侧外壁设置有进气口11,所述翻转盖4的一侧外壁、所述上箱体3远离翻转盖4的一侧外壁处均设置有出气口12,所述集灰斗2的底部设置有出尘口28。One side outer wall of the
所述移动组件8包括移动小车19,所述移动小车19沿水平方向滑动安装在支撑架18的上表面,所述支撑架18的上表面通过转动安装有两个转动轴29,两个所述转动轴29分别位于支撑架18的上表面的两侧边缘处,所述转动轴29的两端均固定安装有齿轮,两个所述转动轴29上对应一侧的齿轮之间通过齿轮带30传动连接,所述齿轮带30的上侧与移动小车19固定连接,所述支撑架18的上表面固定安装有移动电机23,所述移动电机23的输出轴通过减速机与其中一个转动轴29传动连接;The moving assembly 8 includes a moving
所述移动小车19的底面通过螺栓竖直固定有两个竖架,两个竖架分别位于移动小车19底面的两侧边缘处,所述竖架包括第一竖杆20、第二竖杆21,所述第二竖杆21上沿竖直方向滑动安装有滑动座22,所述滑动座22的一侧与活动安装板7固定连接,所述第一竖杆20的内侧沿竖直方向活动安装有配重块26,所述配重块26的顶部与升降链条25的一端固定连接,所述升降链条25的另一端延伸至第二竖杆21的内侧,所述升降链条25的另一端与滑动座22的顶部固定连接,所述第二竖杆21上固定安装有升降电机24,所述升降电机24的输出轴端固定安装有齿轮,所述第一竖杆20的上部也转动安装有齿轮,两个所述齿轮通过升降链条25传动连接。The bottom surface of the
所述下箱体1的一侧外壁处设置有两个翻转气缸13,所述翻转气缸13的底端与下箱体1的一侧外壁铰接,所述翻转气缸13的输出杆顶端与翻转盖4的底面铰接。Two overturning
若干组所述过滤袋5沿水平方向呈等间距线性阵列分布,每组所述过滤袋5的数量为若干个,若干个所述过滤袋5沿竖直方向呈等间距线性阵列分布,所述过滤袋5的两端均与出气罩27固定连接;若干个所述喷气管16沿水平方向呈等间距线性阵列分布,若干个所述喷气管16与若干组过滤袋5一一对应。Several groups of the
所述固定安装板6的一侧表面均固定安装有若干组出气罩27,若干组所述出气罩27在固定安装板6的一侧表面沿水平方向呈等间距线性阵列分布,每组所述出气罩27的数量为若干个,若干个所述出气罩27在固定安装板6的一侧表面沿竖直方向呈等间距线性阵列分布。Several groups of
所述活动安装板7的一侧表面均固定安装有若干组出气罩27,若干组所述出气罩27在活动安装板7的一侧表面沿水平方向呈等间距线性阵列分布,每组所述出气罩27的数量为若干个,若干个所述出气罩27在活动安装板7的一侧表面沿竖直方向呈等间距线性阵列分布。Several groups of
若干个所述喷嘴17在喷气管16上沿竖直方向呈等间距线性阵列分布,若干个所述喷嘴17与若干个出气罩27一一对应。A plurality of the
所述下箱体1的外周面底部通过焊接固定安装有支撑框板14,所述支撑框板14的底面竖直设置有四个支撑杆15,四个所述支撑杆15分别位于支撑框板14底面的四个拐角位置处。The bottom of the outer peripheral surface of the
所述连接管10上固定安装有脉冲阀31。A pulse valve 31 is fixedly installed on the connecting
一种高效脉冲除尘器的工作方法,该方法的具体步骤如下:A working method of a high-efficiency pulse dust collector, the specific steps of the method are as follows:
步骤一、将空气从下箱体1一侧的进气口11导入,大颗粒粉尘在重力的作用下直接掉入集灰斗2的底部,小颗粒粉尘随着空气向上移动,空气在向上移动的过程中经过过滤袋5,空气中小颗粒粉尘粘在过滤袋5的表面,对空气进行除尘,除尘后的空气分别穿过固定安装板6、活动安装板7上的出气罩27,并通过上箱体3、翻转盖4一侧的出气口12排出到外界;
步骤二、打开脉冲阀31,高压气罐9内的压缩空气通过各个连接管10进入到对应的喷气管16中,喷气管16中的压缩空气通过各个喷嘴17向出气罩27喷出,压缩空气通过出气罩27进入到过滤袋5中,使过滤袋5迅速膨胀,过滤袋5表面附着的灰尘脱离并下落到下方的集灰斗2内,并通过集灰斗2底部的出尘口28排出;
步骤三、松开翻转盖4顶部与上箱体3的连接螺栓,启动翻转气缸13,翻转气缸13带动翻转盖4转动,使上箱体3的一端处于打开状态,启动移动电机23,移动电机23带动转动轴29转动,转动轴29通过齿轮带动齿轮带30转动,齿轮带30带动移动小车19移动,移动小车19带动竖架移动,并带动活动安装板7移动,当活动安装板7移动到下箱体1上方时,启动升降电机24,升降电机24通过齿轮带动升降链条25转动,并带动滑动座22下降,滑动座22带动活动安装板7下降,并带动过滤袋5的一端下降,使过滤袋5的一端倾斜向下,使过滤袋5内的粉尘颗粒下落收集,当活动安装板7移动到上箱体3靠近翻转盖4的一端开口处,过滤袋5移动到上箱体3的开口处,松开固定安装板6与上箱体3的上壁、下壁的连接螺栓,将固定安装板6、活动安装板7连同过滤袋5拆下进行维护更换。Step 3: Loosen the connecting bolts between the top of the
本发明通过在固定安装板6、活动安装板7之间横向设置多个过滤袋5,通过滤袋5对空气进行除尘,除尘过滤后的空气分别穿过固定安装板6、活动安装板7上的出气罩27,并通过出气口12排出到外界,本发明中的过滤袋5采用横向放置的方式,使得空气在进入到下箱体1内部时,空气与过滤袋5的接触面积较大,从而加速空气的过滤,提高除尘效率;In the present invention, a plurality of
本发明通过在翻转盖4的外侧和上箱体3的外侧分别安装高压气罐9,高压气罐9通过连接管10与各个喷气管16连接,通过打开脉冲阀31,使高压气罐9内的压缩空气通过各个连接管10进入到对应的喷气管16中,并通过各个喷嘴17向出气罩27喷出,压缩空气通过出气罩27进入到过滤袋5中,使过滤袋5迅速膨胀,从而过滤袋5表面附着的灰尘脱离并下落到下方的集灰斗2内,本发明同时对过滤袋5两端通入压缩气体,缩短了压缩气体填充过滤袋5的时间,从而快速使过滤袋5上的灰尘脱落,同时可以使得过滤袋5膨胀体积大,过滤袋5上的灰尘脱落效果好;In the present invention, the high-
本发明通过松开翻转盖4顶部与上箱体3的连接螺栓,通过翻转气缸13带动翻转盖4转动,使上箱体3的一端处于打开状态,通过移动电机23带动转动轴29转动,转动轴29通过齿轮带动齿轮带30转动,齿轮带30带动移动小车19移动,移动小车19带动竖架移动,并带动活动安装板7移动,活动安装板7移动到上箱体3靠近翻转盖4的一端开口处,此时过滤袋5移动到上箱体3的开口处,松开固定安装板6与上箱体3的上壁、下壁的连接螺栓,将固定安装板6、活动安装板7连同过滤袋5拆下进行维护更换,本发明的过滤袋5便于安装和拆卸,可以快速对过滤袋5进行维护,避免影响该除尘器的正常使用,保证了除尘效率。In the present invention, by loosening the connecting bolts between the top of the
以上公开的本发明优选实施例只是用于帮助阐述本发明。优选实施例并没有详尽叙述所有的细节,也不限制该发明仅为所述的具体实施方式。显然,根据本说明书的内容,可作很多的修改和变化。本说明书选取并具体描述这些实施例,是为了更好地解释本发明的原理和实际应用,从而使所属技术领域技术人员能很好地理解和利用本发明。本发明仅受权利要求书及其全部范围和等效物的限制。The above-disclosed preferred embodiments of the present invention are provided only to help illustrate the present invention. The preferred embodiments do not exhaust all the details, nor do they limit the invention to only the described embodiments. Obviously, many modifications and variations are possible in light of the contents of this specification. These embodiments are selected and described in this specification in order to better explain the principles and practical applications of the present invention, so that those skilled in the art can well understand and utilize the present invention. The present invention is to be limited only by the claims and their full scope and equivalents.
Claims (10)
Priority Applications (1)
| Application Number | Priority Date | Filing Date | Title |
|---|---|---|---|
| CN202010921822.9A CN112023547B (en) | 2020-09-04 | 2020-09-04 | Efficient pulse dust collector and working method thereof |
Applications Claiming Priority (1)
| Application Number | Priority Date | Filing Date | Title |
|---|---|---|---|
| CN202010921822.9A CN112023547B (en) | 2020-09-04 | 2020-09-04 | Efficient pulse dust collector and working method thereof |
Publications (2)
| Publication Number | Publication Date |
|---|---|
| CN112023547A true CN112023547A (en) | 2020-12-04 |
| CN112023547B CN112023547B (en) | 2022-05-03 |
Family
ID=73592079
Family Applications (1)
| Application Number | Title | Priority Date | Filing Date |
|---|---|---|---|
| CN202010921822.9A Active CN112023547B (en) | 2020-09-04 | 2020-09-04 | Efficient pulse dust collector and working method thereof |
Country Status (1)
| Country | Link |
|---|---|
| CN (1) | CN112023547B (en) |
Cited By (3)
| Publication number | Priority date | Publication date | Assignee | Title |
|---|---|---|---|---|
| CN114452731A (en) * | 2022-02-25 | 2022-05-10 | 鑫达智能科技(河北)有限公司 | Bag type dust collector capable of automatically replacing filter bag |
| CN116832534A (en) * | 2023-07-26 | 2023-10-03 | 溧阳市特佳机械有限公司 | Automatic change pulse dust collector |
| CN120838065A (en) * | 2025-09-11 | 2025-10-28 | 鑫晨晖科技(苏州)有限公司 | A flat bag pulse dust collector |
Citations (16)
| Publication number | Priority date | Publication date | Assignee | Title |
|---|---|---|---|---|
| CN202191797U (en) * | 2011-06-28 | 2012-04-18 | 常州市康安环保设备有限公司 | Pulse reverse-jet bag filter |
| CN102936972A (en) * | 2011-08-15 | 2013-02-20 | 北京创新物业管理有限公司 | Planar moving type stereo garage system |
| US20140298764A1 (en) * | 2013-04-05 | 2014-10-09 | Columbus Industries, Inc. | Industrial coating application filter with pleated support |
| CN205287913U (en) * | 2016-01-26 | 2016-06-08 | 浙江蓝威环保科技设备有限公司 | Horizontal distribution pulse bag dust collector |
| CN105709518A (en) * | 2016-03-07 | 2016-06-29 | 苏州保酚环境科技有限公司 | Automatic releasing, purging and filter bag cleaning device for filter bag dust remover |
| CN105771448A (en) * | 2016-03-07 | 2016-07-20 | 苏州保酚环境科技有限公司 | Automatic filter bag fixing or detaching device for smoke dust filter bag dust remover |
| CN106215559A (en) * | 2016-08-29 | 2016-12-14 | 合肥合意环保科技工程有限公司 | A kind of long bag and low pulse bag-type dust collecting equipment |
| CN106422570A (en) * | 2016-10-31 | 2017-02-22 | 武汉景弘环保科技股份有限公司 | Method of mounting electrostatically activated bag dust collector |
| US20170252689A1 (en) * | 2016-03-04 | 2017-09-07 | General Electric Company | Diverted Pulse Jet Cleaning Device and System |
| CN107335302A (en) * | 2017-08-31 | 2017-11-10 | 成都捷科菲友信息技术有限公司 | A kind of exhaust dust device with bag |
| CN107961605A (en) * | 2017-12-13 | 2018-04-27 | 江苏瑞泰砂轮制造有限公司 | A kind of high-effect pulsaire collector |
| KR101883974B1 (en) * | 2018-06-12 | 2018-07-31 | 에이비이씨산업 (주) | dust collector having apparatus for removing dust |
| CN209392908U (en) * | 2018-12-26 | 2019-09-17 | 江苏水碧天蓝节能环保科技有限公司 | A kind of collapsible filter bag cage |
| CN110681223A (en) * | 2019-09-12 | 2020-01-14 | 凤台县晶谷粮油贸易有限公司 | A pulse bag filter for rice processing that prevents dust accumulation in jet pipes |
| CN210728946U (en) * | 2019-10-12 | 2020-06-12 | 抚顺新东方滤料工贸有限公司 | Elastic folding type dust removal filter bag |
| CN111603854A (en) * | 2020-05-24 | 2020-09-01 | 江苏方舟环保科技有限公司 | Bag type dust collector for cement plant warehouse top |
-
2020
- 2020-09-04 CN CN202010921822.9A patent/CN112023547B/en active Active
Patent Citations (16)
| Publication number | Priority date | Publication date | Assignee | Title |
|---|---|---|---|---|
| CN202191797U (en) * | 2011-06-28 | 2012-04-18 | 常州市康安环保设备有限公司 | Pulse reverse-jet bag filter |
| CN102936972A (en) * | 2011-08-15 | 2013-02-20 | 北京创新物业管理有限公司 | Planar moving type stereo garage system |
| US20140298764A1 (en) * | 2013-04-05 | 2014-10-09 | Columbus Industries, Inc. | Industrial coating application filter with pleated support |
| CN205287913U (en) * | 2016-01-26 | 2016-06-08 | 浙江蓝威环保科技设备有限公司 | Horizontal distribution pulse bag dust collector |
| US20170252689A1 (en) * | 2016-03-04 | 2017-09-07 | General Electric Company | Diverted Pulse Jet Cleaning Device and System |
| CN105709518A (en) * | 2016-03-07 | 2016-06-29 | 苏州保酚环境科技有限公司 | Automatic releasing, purging and filter bag cleaning device for filter bag dust remover |
| CN105771448A (en) * | 2016-03-07 | 2016-07-20 | 苏州保酚环境科技有限公司 | Automatic filter bag fixing or detaching device for smoke dust filter bag dust remover |
| CN106215559A (en) * | 2016-08-29 | 2016-12-14 | 合肥合意环保科技工程有限公司 | A kind of long bag and low pulse bag-type dust collecting equipment |
| CN106422570A (en) * | 2016-10-31 | 2017-02-22 | 武汉景弘环保科技股份有限公司 | Method of mounting electrostatically activated bag dust collector |
| CN107335302A (en) * | 2017-08-31 | 2017-11-10 | 成都捷科菲友信息技术有限公司 | A kind of exhaust dust device with bag |
| CN107961605A (en) * | 2017-12-13 | 2018-04-27 | 江苏瑞泰砂轮制造有限公司 | A kind of high-effect pulsaire collector |
| KR101883974B1 (en) * | 2018-06-12 | 2018-07-31 | 에이비이씨산업 (주) | dust collector having apparatus for removing dust |
| CN209392908U (en) * | 2018-12-26 | 2019-09-17 | 江苏水碧天蓝节能环保科技有限公司 | A kind of collapsible filter bag cage |
| CN110681223A (en) * | 2019-09-12 | 2020-01-14 | 凤台县晶谷粮油贸易有限公司 | A pulse bag filter for rice processing that prevents dust accumulation in jet pipes |
| CN210728946U (en) * | 2019-10-12 | 2020-06-12 | 抚顺新东方滤料工贸有限公司 | Elastic folding type dust removal filter bag |
| CN111603854A (en) * | 2020-05-24 | 2020-09-01 | 江苏方舟环保科技有限公司 | Bag type dust collector for cement plant warehouse top |
Cited By (4)
| Publication number | Priority date | Publication date | Assignee | Title |
|---|---|---|---|---|
| CN114452731A (en) * | 2022-02-25 | 2022-05-10 | 鑫达智能科技(河北)有限公司 | Bag type dust collector capable of automatically replacing filter bag |
| CN116832534A (en) * | 2023-07-26 | 2023-10-03 | 溧阳市特佳机械有限公司 | Automatic change pulse dust collector |
| CN116832534B (en) * | 2023-07-26 | 2024-04-30 | 溧阳市特佳机械有限公司 | Automatic change pulse dust collector |
| CN120838065A (en) * | 2025-09-11 | 2025-10-28 | 鑫晨晖科技(苏州)有限公司 | A flat bag pulse dust collector |
Also Published As
| Publication number | Publication date |
|---|---|
| CN112023547B (en) | 2022-05-03 |
Similar Documents
| Publication | Publication Date | Title |
|---|---|---|
| CN112023547B (en) | Efficient pulse dust collector and working method thereof | |
| CN112122107A (en) | Multilayer rockfill material screening plant | |
| CN219231742U (en) | Dust-containing waste gas purifying treatment device | |
| CN109939928B (en) | A screening device for peanut processing | |
| CN212855015U (en) | Jetting device of bag-type dust remover | |
| CN111888846A (en) | Ash shaking mechanism applied to flue gas dust removal system of industrial silicon electric furnace | |
| CN204448513U (en) | Catalyst screening device | |
| CN221244345U (en) | Novel factory building dust removal device | |
| CN208527226U (en) | A kind of high efficiency shake bat formula sand sieving machine | |
| CN112466997A (en) | Adjustable type-setting machine for producing photovoltaic modules | |
| CN210905337U (en) | Pulse bag type dust collector | |
| CN204074471U (en) | Catalyst dust arrester | |
| CN116139614A (en) | Vibration type cloth bag dust remover and dust removing method thereof | |
| CN210995284U (en) | Dust removal system for grain storage bin outlet | |
| CN209155428U (en) | A kind of compound type dust remover | |
| CN222998485U (en) | DMC series injection pulse bag type dust collector | |
| CN219023606U (en) | Environment-friendly dust collection device of electrolytic manganese stripping machine | |
| CN206996118U (en) | One boar food production pulse dust collector | |
| CN221432426U (en) | Vibration flapping type dust remover | |
| CN220678516U (en) | Sand and stone separation device for mortar production | |
| CN221471212U (en) | Pulse dust collector is used in production of fodder workshop | |
| CN216457523U (en) | Exhaust port device of screw conveyor | |
| CN217431143U (en) | Automatic dust removal device for production of nodular cast iron well lid | |
| CN223474616U (en) | A rotary dust suction device | |
| CN222324582U (en) | A dust collection and treatment device for a coal powder dynamic classifier |
Legal Events
| Date | Code | Title | Description |
|---|---|---|---|
| PB01 | Publication | ||
| PB01 | Publication | ||
| SE01 | Entry into force of request for substantive examination | ||
| SE01 | Entry into force of request for substantive examination | ||
| CB02 | Change of applicant information | ||
| CB02 | Change of applicant information |
Address after: 236400 No.62 Xiaguang Avenue, Linquan County, Fuyang City, Anhui Province Applicant after: Linquan Youji Food Co.,Ltd. Address before: 236400 No.62 Xiaguang Avenue, Linquan County, Fuyang City, Anhui Province Applicant before: Linquan Youji Food Co.,Ltd. |
|
| GR01 | Patent grant | ||
| GR01 | Patent grant |
