CN111952844A - A kind of anti-mistake protective shell for secondary small busbar of substation - Google Patents
A kind of anti-mistake protective shell for secondary small busbar of substation Download PDFInfo
- Publication number
- CN111952844A CN111952844A CN202010729355.XA CN202010729355A CN111952844A CN 111952844 A CN111952844 A CN 111952844A CN 202010729355 A CN202010729355 A CN 202010729355A CN 111952844 A CN111952844 A CN 111952844A
- Authority
- CN
- China
- Prior art keywords
- small
- protective shell
- small busbar
- fixed
- busbar
- Prior art date
- Legal status (The legal status is an assumption and is not a legal conclusion. Google has not performed a legal analysis and makes no representation as to the accuracy of the status listed.)
- Granted
Links
Images
Classifications
-
- H—ELECTRICITY
- H02—GENERATION; CONVERSION OR DISTRIBUTION OF ELECTRIC POWER
- H02B—BOARDS, SUBSTATIONS OR SWITCHING ARRANGEMENTS FOR THE SUPPLY OR DISTRIBUTION OF ELECTRIC POWER
- H02B1/00—Frameworks, boards, panels, desks, casings; Details of substations or switching arrangements
- H02B1/20—Bus-bar or other wiring layouts, e.g. in cubicles, in switchyards
-
- H—ELECTRICITY
- H02—GENERATION; CONVERSION OR DISTRIBUTION OF ELECTRIC POWER
- H02B—BOARDS, SUBSTATIONS OR SWITCHING ARRANGEMENTS FOR THE SUPPLY OR DISTRIBUTION OF ELECTRIC POWER
- H02B1/00—Frameworks, boards, panels, desks, casings; Details of substations or switching arrangements
- H02B1/015—Boards, panels, desks; Parts thereof or accessories therefor
- H02B1/06—Boards, panels, desks; Parts thereof or accessories therefor having associated enclosures, e.g. for preventing access to live parts
-
- H—ELECTRICITY
- H02—GENERATION; CONVERSION OR DISTRIBUTION OF ELECTRIC POWER
- H02B—BOARDS, SUBSTATIONS OR SWITCHING ARRANGEMENTS FOR THE SUPPLY OR DISTRIBUTION OF ELECTRIC POWER
- H02B3/00—Apparatus specially adapted for the manufacture, assembly, or maintenance of boards or switchgear
-
- H—ELECTRICITY
- H02—GENERATION; CONVERSION OR DISTRIBUTION OF ELECTRIC POWER
- H02G—INSTALLATION OF ELECTRIC CABLES OR LINES, OR OF COMBINED OPTICAL AND ELECTRIC CABLES OR LINES
- H02G5/00—Installations of bus-bars
Landscapes
- Engineering & Computer Science (AREA)
- Power Engineering (AREA)
- Manufacturing & Machinery (AREA)
- Patch Boards (AREA)
Abstract
本发明涉及一种变电站二次小母线防误保护壳,包括安装在小母线夹上的保护壳本体;所述小母线夹包括两竖直且平行设置的隔离板;两所述隔离板之间上下依次固定有顶部接线端子和侧接线端子,小母线可拆卸固定在所述顶部接线端子与所述侧接线端子之间;所述保护壳本体呈下端敞开的拱形结构;所述保护壳本体两侧端面分别贴于两所述隔离板的内侧端面;所述保护壳本体盖于所述顶部接线端子上方;所述保护壳本体两端端部均向下开设有贯通的避让槽;所述小母线能够穿出所述避让槽。该保护壳结构简单可靠,且操作简单,运用于小母线正常运行或者拆接过程,有效防止屏顶小母线因人为原因误操作,保障电网、设备、人身安全,提高了作业安全性。
The invention relates to an anti-mistake protection case for a secondary small busbar of a substation, comprising a protective case body mounted on a small busbar clamp; the small busbar clamp comprises two vertical and parallel isolation plates; The top wiring terminal and the side wiring terminal are fixed up and down in sequence, and the small busbar is detachably fixed between the top wiring terminal and the side wiring terminal; the protective shell body is in an arch structure with an open lower end; the protective shell body The end faces on both sides are respectively attached to the inner end faces of the two isolation plates; the protective shell body is covered above the top terminal; both ends of the protective shell body are downwardly provided with a penetrating avoidance groove; The small bus bar can pass through the escape slot. The protective shell is simple and reliable in structure and simple in operation, and is used in the normal operation or disassembly process of the small busbar, effectively preventing the misoperation of the small busbar on the screen top due to human reasons, ensuring the safety of the power grid, equipment and personal, and improving the operation safety.
Description
技术领域technical field
本发明涉及一种变电站二次小母线防误保护壳,属于变电站设备技术领域。The invention relates to an anti-mistake protection shell of a secondary small busbar of a substation, and belongs to the technical field of substation equipment.
背景技术Background technique
众所周知,变电站中保护屏间大都采用屏顶小母线来进行连接的,而屏顶小母线通常采用的是直径为6毫米或8毫米的铜棒。在变电站内保护屏柜中,屏顶小母线作为交流二次电压信号汇集、分配和传送的通道,大量存在于变电站继电保护室,对变电站保护、测量、计量等二次装置具有重要意义,因此,小母线的是否稳定运行会影响到交直流系统,是变电站安全运行的重中之重。As we all know, most of the protective screens in substations are connected by small busbars on the top of the screen, and the small busbars on the top of the screen are usually made of copper rods with a diameter of 6 mm or 8 mm. In the protective panel cabinet in the substation, the small bus bar on the top of the screen, as the channel for the collection, distribution and transmission of AC secondary voltage signals, exists in a large number in the relay protection room of the substation, and is of great significance to the secondary devices such as substation protection, measurement and measurement. Therefore, the stable operation of the small busbar will affect the AC/DC system, which is the top priority of the safe operation of the substation.
屏顶小母线大多采用整根连通敷设,在变电站保护、测量、计量等二次装置的改造施工中,涉及带电拆、接小母线的操作频繁,误碰带电的小母线会造成人身伤害,同时会导致屏顶小母线短路、接地,影响二次设备的正常运行,严重的甚至会影响电网的安全稳定运行。为了保证供电可靠性,一般拆除屏顶小母线需要带电作业。同时,由于小母线敷设在保护屏顶部,距地2米以上,作业时属于高空作业而且作业空间狭小(同层小母线轴心间距只有30mm,上下两层小母线间距只有60mm),接线螺丝全部位于运行小母线下端,使用螺丝刀拆卸螺丝、压接硬导线时难以下手,耗时、费力、作业危险点多。Most of the small busbars on the top of the screen are laid in a whole connection. In the reconstruction and construction of secondary devices such as substation protection, measurement and metering, it involves frequent operations of live dismantling and connection of small busbars. It will lead to short circuit and grounding of the small busbar on the top of the screen, affecting the normal operation of the secondary equipment, and even seriously affecting the safe and stable operation of the power grid. In order to ensure the reliability of power supply, the removal of the small busbar on the top of the screen generally requires live work. At the same time, since the small busbars are laid on the top of the protective screen, more than 2 meters away from the ground, the operation is a high-altitude operation and the working space is narrow (the distance between the axes of the small busbars on the same layer is only 30mm, and the distance between the upper and lower layers of the small busbars is only 60mm). Located at the lower end of the running small busbar, it is difficult to use a screwdriver to remove screws and crimp hard wires, which is time-consuming, laborious, and has many dangerous points.
目前,在变电站继电保护室中,比较常见的屏顶小母线防护工具主要有热缩管、防尘罩、防误盖等。其中,热缩管、防误盖的防护范围存在防护盲区,不能保护到母线夹的侧面的接线端子和没有热缩的小母线部分,防尘罩在正常运行时防护效果好,拆接过程需掀掉防尘罩,整个屏顶完全失去防护能力,目前技术方案均无法对屏顶小母线进行全面的保护。At present, in the relay protection room of the substation, the more common protection tools for the small busbar on the screen top mainly include heat shrinkable tubes, dust covers, and anti-mistake covers. Among them, the protection range of the heat shrinkable tube and the anti-mistake cover has a protective blind area, which cannot protect the terminal on the side of the busbar clip and the small busbar without heat shrinkage. The protective effect of the dust cover is good during normal operation. When the dust cover is removed, the entire top of the screen loses its protective ability. The current technical solutions cannot fully protect the small busbar on the top of the screen.
发明内容SUMMARY OF THE INVENTION
为了克服上述问题,本发明提供一种变电站二次小母线防误保护壳,该保护壳结构简单可靠,且操作简单,运用于小母线正常运行或者拆、接小母线过程,有效防止屏顶小母线因人为原因误短路、误碰、误接地,保障电网、设备、人身安全,提高了作业安全性。In order to overcome the above problems, the present invention provides an anti-mistake protection case for the secondary small busbar of a substation. The protective case is simple and reliable in structure and simple in operation. The busbar is mistakenly short-circuited, accidentally touched, and mistakenly grounded due to man-made reasons, ensuring the safety of the power grid, equipment, and personal, and improving the safety of the operation.
本发明的技术方案如下:The technical scheme of the present invention is as follows:
一种变电站二次小母线防误保护壳,包括安装在小母线夹上的保护壳本体;所述小母线夹包括两竖直且平行设置的隔离板;两所述隔离板之间上下依次固定有顶部接线端子和侧接线端子,小母线可拆卸固定在所述顶部接线端子与所述侧接线端子之间;所述保护壳本体呈下端敞开的拱形结构;所述保护壳本体两侧端面分别贴于两所述隔离板的内侧端面;所述保护壳本体盖于所述顶部接线端子上方;所述保护壳本体两端端部均向下开设有贯通的避让槽;所述小母线能够穿出所述避让槽。An anti-mistake protection shell for secondary small busbars of a substation, comprising a protective shell body mounted on a small busbar clip; the small busbar clip includes two vertical and parallel isolation plates; the two isolation plates are fixed in sequence up and down There are top wiring terminals and side wiring terminals, and the small busbar is detachably fixed between the top wiring terminals and the side wiring terminals; the protective shell body is an arch structure with an open lower end; the end faces on both sides of the protective shell body They are respectively attached to the inner end faces of the two isolation plates; the protective shell body is covered above the top terminal; both ends of the protective shell body are downwardly provided with a penetrating avoidance groove; Pass through the escape slot.
进一步的,所述保护壳本体包括矩形罩和两分别固定在两所述矩形罩两端的U形罩;所述U形罩开口向下;所述矩形罩下端和两侧均敞开设置;所述矩形罩两侧端面分别贴于两所述隔离板的内侧端面;所述矩形罩盖于所述顶部接线端子上方;所述矩形罩两端的侧板与所述U形罩固定;所述侧板上开设横向贯通的开口槽;所述U形罩的开口与所述开口槽连通;所述小母线能够容纳在所述U形罩的开口内。Further, the protective shell body includes a rectangular cover and two U-shaped covers respectively fixed at two ends of the two rectangular covers; the U-shaped cover opens downward; the lower end and both sides of the rectangular cover are open and arranged; the The end surfaces on both sides of the rectangular cover are respectively attached to the inner end surfaces of the two isolation plates; the rectangular cover is covered above the top connection terminal; the side plates at both ends of the rectangular cover are fixed with the U-shaped cover; the side plates A transversely penetrating opening groove is set on the upper part; the opening of the U-shaped cover communicates with the opening groove; the small bus bar can be accommodated in the opening of the U-shaped cover.
进一步的,所述侧板与所述U形罩之间还固定有漏斗状的缩口部;所述缩口部下端敞开设置;所述缩口部的口径由所述侧板朝向所述U形罩逐渐缩小;所述缩口部的开口分别与所述U形罩的开口、所述开口槽连通。Further, a funnel-shaped constriction is also fixed between the side plate and the U-shaped cover; the lower end of the constriction is open; the diameter of the constriction is directed from the side plate to the U The hood is gradually reduced; the openings of the constricted portion are respectively communicated with the openings of the U-shaped hood and the opening grooves.
进一步的,所述缩口部上方固定有竖直的安装把手;所述安装把手内侧端面与所述侧板外侧固定;所述安装把手中部开设有贯通的通孔。Further, a vertical installation handle is fixed above the constricted portion; the inner end surface of the installation handle is fixed to the outer side of the side plate; a through hole is formed in the middle of the installation handle.
进一步的,所述矩形罩上端固定有安装板;所述安装板包括一水平的压板以及两竖直对称固定在所述压板下端的立柱;所述立柱下端固定在所述矩形罩上。Further, a mounting plate is fixed on the upper end of the rectangular cover; the mounting plate includes a horizontal pressure plate and two vertical columns fixed on the lower end of the pressure plate symmetrically; the lower end of the column is fixed on the rectangular cover.
进一步的,所述保护壳本体采用光敏绝缘树脂材料制成。Further, the protective shell body is made of photosensitive insulating resin material.
本发明具有如下有益效果:The present invention has the following beneficial effects:
1、该保护壳结构简单可靠,且操作简单,运用于小母线正常运行或者拆、接小母线过程,有效防止屏顶小母线因人为原因误短路、误碰、误接地,保障电网、设备、人身安全,提高了作业安全性。1. The protective shell is simple and reliable in structure and simple in operation. It is used in the normal operation of the small busbar or the process of dismantling and connecting the small busbar. Personal safety, improve work safety.
2、该保护壳将防误能力拓宽至传统方式的防护盲区,实现屏顶小母线及其母线夹接线端子全方位防护,在小母线日常运行或带电操作、切割时都能稳定防护,保证小母线安全运行,保障人身和电网安全。2. The protective shell expands the anti-mistake ability to the protection blind area of the traditional method, and realizes all-round protection of the small busbar on the top of the screen and its busbar clamp terminals. The safe operation of the busbar ensures personal and power grid safety.
3、该保护壳通过计算机辅助设计技术及3D打印技术,开发出适用于多种屏柜的通用型防误器具,装置采用两侧包裹式设计,设计了独特的开口漏斗形结构及开口U形结构,配合热缩管,能够实现对屏顶小母线的100%防护。3. The protective shell has developed a universal anti-mistake device suitable for a variety of screen cabinets through computer-aided design technology and 3D printing technology. The device adopts a wrapping design on both sides, and a unique open funnel-shaped structure and open U-shaped design are designed. The structure, together with the heat shrinkable tube, can achieve 100% protection to the small bus bar on the top of the screen.
4、通过设计安装把手(或者安装板),可以更加便利的对防误器具进行拆装工作,即使在狭小的空间仍可便捷的调整,提升了该保护壳的操作性、安全性。4. By designing the installation handle (or installation plate), it is more convenient to disassemble and assemble the anti-error device, and it can be easily adjusted even in a narrow space, which improves the operability and safety of the protective shell.
5、该保护壳使用光敏绝缘树脂作为材料,具有机械强度高、不易断裂的优势,便于施工现场使用,同时,热稳定性强、阻燃、绝缘的特点很好的满足了小母线在实际运行状态下的需求。5. The protective shell is made of photosensitive insulating resin, which has the advantages of high mechanical strength and not easy to break, which is convenient for use on the construction site. At the same time, the characteristics of strong thermal stability, flame retardant and insulation are very good to meet the actual operation of the small busbar. needs in the state.
附图说明Description of drawings
图1为保护壳本体安装在小母线夹上时的整体结构示意图。FIG. 1 is a schematic diagram of the overall structure of the protective shell body when it is installed on the small busbar clip.
图2为图1的主视图。FIG. 2 is a front view of FIG. 1 .
图3为图1的俯视图。FIG. 3 is a top view of FIG. 1 .
图4为本发明实施例一的保护壳本体的结构示意图。FIG. 4 is a schematic structural diagram of a protective case body according to
图5为图4的主视图。FIG. 5 is a front view of FIG. 4 .
图6为本发明实施例一的保护壳本体的半剖图。FIG. 6 is a half cross-sectional view of the protective case body according to the first embodiment of the present invention.
图7为本发明实施例二的保护壳本体的结构示意图。FIG. 7 is a schematic structural diagram of a protective case body according to
图8为图7的左视图。FIG. 8 is a left side view of FIG. 7 .
图中附图标记表示为:The reference numbers in the figure are indicated as:
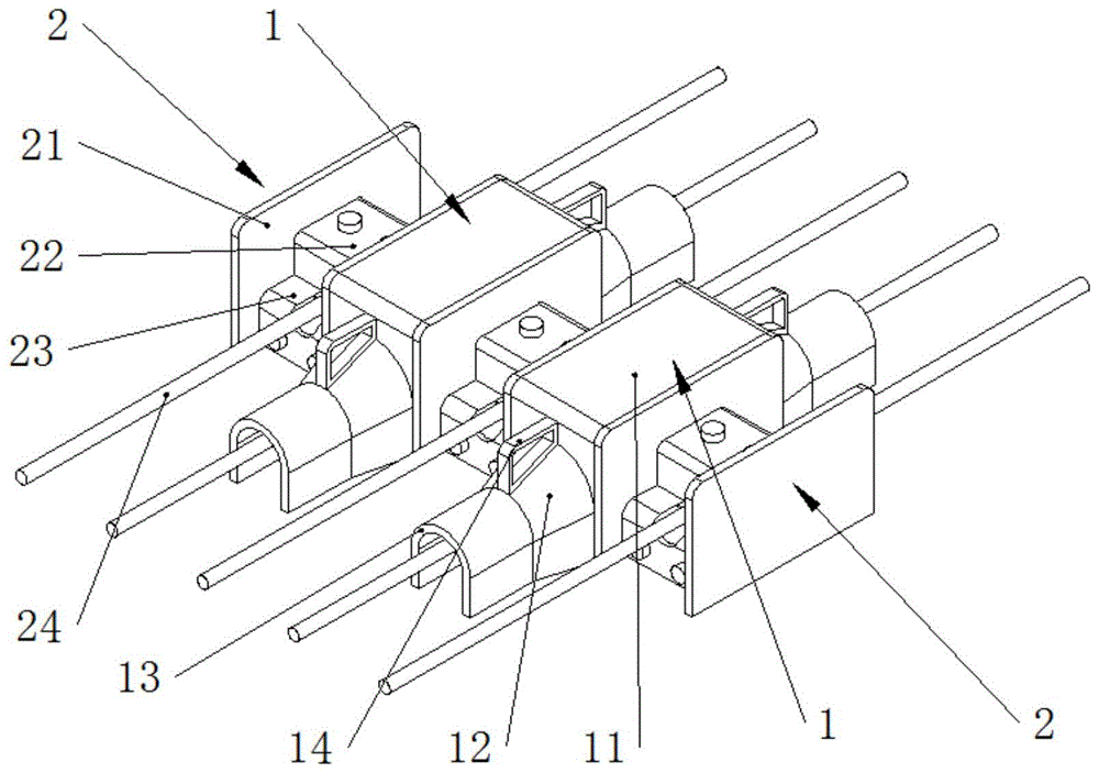
1、保护壳本体;11、矩形罩;111、侧板;112、开口槽;12、缩口部;13、U形罩;14、安装把手;141、通孔;15、安装板;151、立柱;152、压板;2、小母线夹;21、隔离板;22、顶部接线端子;23、侧接线端子;24、小母线。1. Protective shell body; 11. Rectangular cover; 111. Side plate; 112. Opening slot; 12. Narrow part; 13. U-shaped cover; 14. Mounting handle; 141. Through hole; 15. Mounting plate; 151, Column; 152, pressure plate; 2, small busbar clip; 21, isolation plate; 22, top terminal; 23, side terminal; 24, small bus.
具体实施方式Detailed ways
下面结合附图和具体实施例来对本发明进行详细的说明。The present invention will be described in detail below with reference to the accompanying drawings and specific embodiments.
实施例一:Example 1:
参见图1-6,一种变电站二次小母线防误保护壳,包括安装在小母线夹2上的保护壳本体1;所述小母线夹2包括两竖直且平行设置的隔离板21;两所述隔离板21之间上下依次固定有顶部接线端子22和侧接线端子23,小母线24可拆卸固定在所述顶部接线端子22与所述侧接线端子23之间;所述保护壳本体1呈下端敞开的拱形结构;所述保护壳本体1两侧端面分别贴于两所述隔离板21的内侧端面;所述保护壳本体1盖于所述顶部接线端子22上方;所述保护壳本体1两端端部均向下开设有贯通的避让槽;所述小母线24能够穿出所述避让槽。1-6, an anti-mistake protection case for secondary small busbars of a substation includes a
通过分析电力系统中,常用保护屏柜顶部二次小母线24的安装情况以及小母线24安装端子的结构,发现小母线防误保护壳只需匹配小母线夹2上,安装端子的通用结构,能够靠覆盖二次小母线24安装端子的部分,再配合热缩管,可基本消除小母线24和母线夹接线端子的所有金属裸露部分,能可靠防护运行中的小母线24。By analyzing the installation situation of the secondary
根据上述描述,小母线夹2即为电力系统中常用保护屏柜中用于安装小母线24的结构。拱形的保护壳本体1安装在小母线夹2上,保护壳本体1两侧端面分别贴于两隔离板21的内侧端面,保护壳本体1盖于顶部接线端子22上方,且保护壳本体1两端端部又开设有供小母线24穿出的避让槽。这样,保护壳本体1即可匹配小母线夹2,覆盖顶部接线端子22和侧接线端子23,能可靠防护运行中的小母线24。According to the above description, the
进一步的,所述保护壳本体1包括矩形罩11和两分别固定在两所述矩形罩11两端的U形罩13;所述U形罩13开口向下;所述矩形罩11下端和两侧均敞开设置;所述矩形罩11两侧端面分别贴于两所述隔离板21的内侧端面;所述矩形罩11盖于所述顶部接线端子22上方;所述矩形罩11两端的侧板111与所述U形罩13固定;所述侧板111上开设横向贯通的开口槽112;所述U形罩13的开口与所述开口槽112连通;所述小母线24能够容纳在所述U形罩13的开口内。Further, the
根据上述描述,依据二次设备屏柜常用的小母线夹2的形状,保护壳本体1中间设计了带有矩形开口的矩形罩11,用于遮挡小母线夹2的主体和顶部接线端子22;对于小母线夹2两侧的侧接线端子23以及小母线24未热缩部分等防护盲区,则采用了两侧包裹式设计,在矩形罩11两侧设计了能包裹侧接线端子23和小母线24的U形罩13,U形罩13用来包裹住小母线24未热缩的部分,防止操作时工具或人体误碰小母线24。According to the above description, according to the shape of the
进一步的,所述侧板111与所述U形罩13之间还固定有漏斗状的缩口部12;所述缩口部12下端敞开设置;所述缩口部12的口径由所述侧板111朝向所述U形罩13逐渐缩小;所述缩口部12的开口分别与所述U形罩13的开口、所述开口槽112连通。Further, a funnel-shaped
根据上述描述,开口漏斗状的缩口部12两端分别连接矩形罩11与U形罩13,同时,开口漏斗状的缩口部12可以保护在小母线夹2两侧的侧接线端子23,防止在操作中工具或人体误碰侧接线端子23;同时由于漏斗形的结构,不会对临近的小母线24上的操作起到阻碍作用。According to the above description, the two ends of the open funnel-shaped
进一步的,所述缩口部12上方固定有竖直的安装把手14;所述安装把手14内侧端面与所述侧板111外侧固定;所述安装把手14中部开设有贯通的通孔141。Further, a vertical installation handle 14 is fixed above the
根据上述描述,在变电站屏顶进行施工的过程中,经常需要对保护屏柜屏顶二次小母线24进行安装和拆除,很容易由于工作人员误碰造成二次小母线24短路或接地。同时,拆除、安装小母线24时,传统的防护器具也会造成误碰的情况。因此,为了确保在拆、装过程中,不对其他临近的小母线24误碰、误短,针对以上情况,在两侧缩口部12上专门设计了安装把手14,通过抓住通孔141,可以更加便利的对该保护壳进行拆装工作,即使在狭小的空间仍可便捷的调整,提升了该保护壳的操作性、安全性。According to the above description, during the construction of the substation screen roof, it is often necessary to install and remove the secondary
进一步的,所述保护壳本体1采用光敏绝缘树脂材料制成。Further, the
根据上述描述,在选材上,该保护壳特别选择了3D打印中常用的光敏树脂材料,其强度、热稳定性、阻燃、绝缘性均能很好满足了小母线在实际运行状态下的需求。According to the above description, in terms of material selection, the protective shell is specially selected from photosensitive resin materials commonly used in 3D printing. Its strength, thermal stability, flame retardancy and insulation can well meet the needs of small busbars in actual operating conditions. .
实施例二:Embodiment 2:
参见图7-8,一种变电站二次小母线防误保护壳,本实施例与实施例一的区别仅在于,采用安装板15来代替安装把手14。Referring to FIGS. 7-8 , there is an anti-mistake protection case for the secondary small busbar of a substation. The difference between this embodiment and the first embodiment is that the
所述矩形罩11上端固定有安装板15;所述安装板15包括一水平的压板152以及两竖直对称固定在所述压板152下端的立柱151;所述立柱151下端固定在所述矩形罩11上。A mounting
根据上述描述,本实施例采用安装板15来代替安装把手14。安装板15固定在矩形罩11上方,便于可以更加便利的对该保护壳进行拆装工作。压板152也便于将该保护壳压入小母线夹2上。According to the above description, the present embodiment adopts the mounting
以上所述仅为本发明的实施例,并非因此限制本发明的专利范围,凡是利用本发明说明书及附图内容所作的等效结构或等效流程变换,或直接或间接运用在其他相关的技术领域,均同理包括在本发明的专利保护范围内。The above descriptions are only the embodiments of the present invention, and are not intended to limit the scope of the present invention. Any equivalent structure or equivalent process transformation made by using the contents of the description and drawings of the present invention, or directly or indirectly applied to other related technologies Fields are similarly included in the scope of patent protection of the present invention.
Claims (6)
Priority Applications (1)
| Application Number | Priority Date | Filing Date | Title |
|---|---|---|---|
| CN202010729355.XA CN111952844B (en) | 2020-07-27 | 2020-07-27 | Transformer substation's secondary minibus prevents mistake protective housing |
Applications Claiming Priority (1)
| Application Number | Priority Date | Filing Date | Title |
|---|---|---|---|
| CN202010729355.XA CN111952844B (en) | 2020-07-27 | 2020-07-27 | Transformer substation's secondary minibus prevents mistake protective housing |
Publications (2)
| Publication Number | Publication Date |
|---|---|
| CN111952844A true CN111952844A (en) | 2020-11-17 |
| CN111952844B CN111952844B (en) | 2022-04-19 |
Family
ID=73338133
Family Applications (1)
| Application Number | Title | Priority Date | Filing Date |
|---|---|---|---|
| CN202010729355.XA Active CN111952844B (en) | 2020-07-27 | 2020-07-27 | Transformer substation's secondary minibus prevents mistake protective housing |
Country Status (1)
| Country | Link |
|---|---|
| CN (1) | CN111952844B (en) |
Cited By (2)
| Publication number | Priority date | Publication date | Assignee | Title |
|---|---|---|---|---|
| CN114300952A (en) * | 2021-12-30 | 2022-04-08 | 江苏和谐新能源科技有限公司 | Power cable installation device for power distribution cabinet |
| CN119315391A (en) * | 2024-09-13 | 2025-01-14 | 贵州电网有限责任公司 | A quick-replaceable screen-top small busbar base |
Citations (11)
| Publication number | Priority date | Publication date | Assignee | Title |
|---|---|---|---|---|
| CN2199619Y (en) * | 1994-05-24 | 1995-05-31 | 苏州供电局 | Sealed small clip for bus-bar |
| CN201118168Y (en) * | 2007-11-27 | 2008-09-17 | 大庆市华尔通电控设备有限公司 | High-strength aluminum-magnesium alloy outer housing closed busbar slot |
| CN101609983A (en) * | 2008-06-20 | 2009-12-23 | 株式会社东芝 | Transformer excitation inrush current suppressing device and its control method |
| CN102122803A (en) * | 2010-12-13 | 2011-07-13 | 山东电力集团公司泰安供电公司 | Novel cubicle of substation secondary device |
| CN102938537A (en) * | 2012-06-27 | 2013-02-20 | 厦门华电开关有限公司 | Detachable busbar for gas insulated switchgear (GIS) |
| CN203536736U (en) * | 2013-09-27 | 2014-04-09 | 江阴华明电气设备有限公司 | Novel miniature-bus connecting structure in switch cabinet |
| CN204144776U (en) * | 2014-08-15 | 2015-02-04 | 国家电网公司 | Remove the little bus special isolation aid in screen top |
| CN205985912U (en) * | 2016-08-23 | 2017-02-22 | 北京供电福斯特开关设备有限公司 | Put type of puing aside cubical switchboard among metal -enclosed type |
| EP3163695A1 (en) * | 2015-10-30 | 2017-05-03 | Rockwell Automation Technologies, Inc. | Fixed vertical distribution bus bar |
| CN106684741A (en) * | 2017-03-07 | 2017-05-17 | 国网浙江省电力公司检修分公司 | Demounting auxiliary tool for substation screen-top miniature bus and application method of demounting auxiliary tool |
| CN208461209U (en) * | 2018-05-30 | 2019-02-01 | 国家电网公司 | Secondary screen top small bus terminal |
-
2020
- 2020-07-27 CN CN202010729355.XA patent/CN111952844B/en active Active
Patent Citations (11)
| Publication number | Priority date | Publication date | Assignee | Title |
|---|---|---|---|---|
| CN2199619Y (en) * | 1994-05-24 | 1995-05-31 | 苏州供电局 | Sealed small clip for bus-bar |
| CN201118168Y (en) * | 2007-11-27 | 2008-09-17 | 大庆市华尔通电控设备有限公司 | High-strength aluminum-magnesium alloy outer housing closed busbar slot |
| CN101609983A (en) * | 2008-06-20 | 2009-12-23 | 株式会社东芝 | Transformer excitation inrush current suppressing device and its control method |
| CN102122803A (en) * | 2010-12-13 | 2011-07-13 | 山东电力集团公司泰安供电公司 | Novel cubicle of substation secondary device |
| CN102938537A (en) * | 2012-06-27 | 2013-02-20 | 厦门华电开关有限公司 | Detachable busbar for gas insulated switchgear (GIS) |
| CN203536736U (en) * | 2013-09-27 | 2014-04-09 | 江阴华明电气设备有限公司 | Novel miniature-bus connecting structure in switch cabinet |
| CN204144776U (en) * | 2014-08-15 | 2015-02-04 | 国家电网公司 | Remove the little bus special isolation aid in screen top |
| EP3163695A1 (en) * | 2015-10-30 | 2017-05-03 | Rockwell Automation Technologies, Inc. | Fixed vertical distribution bus bar |
| CN205985912U (en) * | 2016-08-23 | 2017-02-22 | 北京供电福斯特开关设备有限公司 | Put type of puing aside cubical switchboard among metal -enclosed type |
| CN106684741A (en) * | 2017-03-07 | 2017-05-17 | 国网浙江省电力公司检修分公司 | Demounting auxiliary tool for substation screen-top miniature bus and application method of demounting auxiliary tool |
| CN208461209U (en) * | 2018-05-30 | 2019-02-01 | 国家电网公司 | Secondary screen top small bus terminal |
Cited By (2)
| Publication number | Priority date | Publication date | Assignee | Title |
|---|---|---|---|---|
| CN114300952A (en) * | 2021-12-30 | 2022-04-08 | 江苏和谐新能源科技有限公司 | Power cable installation device for power distribution cabinet |
| CN119315391A (en) * | 2024-09-13 | 2025-01-14 | 贵州电网有限责任公司 | A quick-replaceable screen-top small busbar base |
Also Published As
| Publication number | Publication date |
|---|---|
| CN111952844B (en) | 2022-04-19 |
Similar Documents
| Publication | Publication Date | Title |
|---|---|---|
| KR100876586B1 (en) | Air insulation high and low pressure compartment metal clad insulation | |
| CN111952844A (en) | A kind of anti-mistake protective shell for secondary small busbar of substation | |
| CN105301296B (en) | A low-voltage metering box live plug-in connector | |
| CN101950936B (en) | Dense plug-pull bus system | |
| CN106816813A (en) | The method of power distribution network current transformer installing structure and charged for replacement current transformer | |
| CN208241191U (en) | Disconnecting link insulated shielding cover | |
| CN204481353U (en) | 10kV integral intelligent phased switch cabinet | |
| CN206546997U (en) | A kind of plug-in bus cable feeder pillar | |
| KR101205337B1 (en) | Box For Electric Wire Protective Of Apartment House | |
| CN207896616U (en) | Bus duct unit and bus duct are grounded mains system | |
| CN104979792B (en) | A low-voltage cable branch box | |
| CN206546894U (en) | A kind of plug-in bus connection mechanism | |
| CN206962283U (en) | A kind of Medium Voltage Switchgear | |
| CN201994573U (en) | Feed cabinet and oil-well centralized complete-set control power supply device | |
| CN203859482U (en) | Low-voltage cable branch box | |
| CN103730857A (en) | Armoured central alternating-current closed metal switch cabinet | |
| CN204441711U (en) | With the power distribution cabinet of insulation protective hood | |
| CN203300991U (en) | Wall-mounted distribution box and emergency access system | |
| CN208874258U (en) | Cross interconnection box grounding box with observation window | |
| CN208939544U (en) | Can plug protector alternately interconnect grounding box | |
| CN201975704U (en) | Lower earthing switch room of floor type alternating current high-voltage intelligent switch cabinet | |
| CN216793552U (en) | Multifunctional intelligent breaker protector with casing convenient to assemble | |
| CN205670624U (en) | A kind of deepened type KYN 40.5kV Intelligent high voltage switch device | |
| CN206834704U (en) | A kind of separate type protection type earthing box for electric cable | |
| CN210693241U (en) | Gas insulation formula box convenient to equipment |
Legal Events
| Date | Code | Title | Description |
|---|---|---|---|
| PB01 | Publication | ||
| PB01 | Publication | ||
| SE01 | Entry into force of request for substantive examination | ||
| SE01 | Entry into force of request for substantive examination | ||
| GR01 | Patent grant | ||
| GR01 | Patent grant |
