CN111799690A - A movable climbing and fixed installation step-table device for substation maintenance work - Google Patents
A movable climbing and fixed installation step-table device for substation maintenance work Download PDFInfo
- Publication number
- CN111799690A CN111799690A CN202010798993.7A CN202010798993A CN111799690A CN 111799690 A CN111799690 A CN 111799690A CN 202010798993 A CN202010798993 A CN 202010798993A CN 111799690 A CN111799690 A CN 111799690A
- Authority
- CN
- China
- Prior art keywords
- rotating
- fixedly connected
- rotating shaft
- rod
- base
- Prior art date
- Legal status (The legal status is an assumption and is not a legal conclusion. Google has not performed a legal analysis and makes no representation as to the accuracy of the status listed.)
- Granted
Links
Images
Classifications
-
- H—ELECTRICITY
- H02—GENERATION; CONVERSION OR DISTRIBUTION OF ELECTRIC POWER
- H02B—BOARDS, SUBSTATIONS OR SWITCHING ARRANGEMENTS FOR THE SUPPLY OR DISTRIBUTION OF ELECTRIC POWER
- H02B3/00—Apparatus specially adapted for the manufacture, assembly, or maintenance of boards or switchgear
Landscapes
- Engineering & Computer Science (AREA)
- Manufacturing & Machinery (AREA)
- Power Engineering (AREA)
- Handcart (AREA)
Abstract
本发明公开了一种变电检修工作可移动登高固定安装踏台装置,包括底座,所述底座的下表面固定连接有万向轮,所述底座的上表面固定连接有固定座,所述固定座的内壁固定连接有转轴,所述转轴的表面转动连接有第一转动杆,所述第一转动杆远离固定座的一端转动连接有转动轴,所述转动轴的表面转动连接有第二转动杆。该变电检修工作可移动登高固定安装踏台装置,通过设置滑轨、转动电机、转动丝杆和固定块,便于转动电机的启动使转动丝杆带动移动平台移动,方便维护人员站在移动平台上对狭小的地点进行检修,通过设置气泵、弹簧气管、出气管和球阀,便于气泵的压缩空气可以对电力设备和电路的表面进行清灰,提升作业效率。
The invention discloses a movable climbing and fixed installation platform device for substation maintenance work. The inner wall of the shaft is fixedly connected with a rotating shaft, the surface of the rotating shaft is rotatably connected with a first rotating rod, the end of the first rotating rod away from the fixed seat is rotatably connected with a rotating shaft, and the surface of the rotating shaft is rotatably connected with a second rotating rod . The substation maintenance work can be moved up and fixed to install the step table device. By setting the slide rail, the rotating motor, the rotating screw and the fixed block, it is convenient for the starting of the rotating motor to make the rotating screw drive the mobile platform to move, and it is convenient for maintenance personnel to stand on the mobile platform. When overhauling small places, by setting up air pumps, spring air pipes, air outlet pipes and ball valves, it is convenient for the compressed air of the air pump to clean the surfaces of electrical equipment and circuits, and improve work efficiency.
Description
技术领域technical field
本发明涉及变电检修平台技术领域,具体为一种变电检修工作可移动登高固定安装踏台装置。The invention relates to the technical field of substation maintenance platforms, in particular to a movable climbing and fixed installation stepping platform device for substation maintenance work.
背景技术Background technique
变电站是指电力系统中对电压和电流进行变换,接受电能及分配电能的场所。在发电厂内的变电站是升压变电站,其作用是将发电机发出的电能升压后馈送到高压电网中。A substation is a place in the power system that converts voltage and current, receives and distributes electrical energy. The substation in the power plant is a step-up substation, and its function is to boost the power generated by the generator and feed it to the high-voltage grid.
对于变电站的电气设备及电路进行检修时,目前对于登高维护电力维护人员通常都会使用升降平台,但是升降平台的面积较大,在遇到狭小的地方时,升降平台无法进入,导致无法完成维护工作。When overhauling the electrical equipment and circuits of the substation, the electric power maintenance personnel usually use the lifting platform for climbing maintenance. However, the area of the lifting platform is large. When encountering a narrow place, the lifting platform cannot enter, resulting in the inability to complete the maintenance work. .
因此我们提出一种变电检修工作可移动登高固定安装踏台装置。Therefore, we propose a movable climbing and fixed installation platform device for substation maintenance work.
发明内容SUMMARY OF THE INVENTION
本发明的目的在于提供一种变电检修工作可移动登高固定安装踏台装置,以解决上述背景技术中提出的问题。The purpose of the present invention is to provide a movable climbing and fixed installation step platform device for substation maintenance work, so as to solve the problems raised in the above background technology.
为实现上述目的,本发明提供如下技术方案:一种变电检修工作可移动登高固定安装踏台装置,包括底座,所述底座的下表面固定连接有万向轮,所述底座的上表面固定连接有固定座,所述固定座的内壁固定连接有转轴,所述转轴的表面转动连接有第一转动杆,所述第一转动杆远离固定座的一端转动连接有转动轴,所述转动轴的表面转动连接有第二转动杆,所述第二转动杆远离转动轴的一端转动连接有转动座,所述转动座的上表面固定连接有作业平台,所述作业平台的上表面固定连接有滑轨,所述滑轨的上表面滑动连接有移动平台,所述作业平台的背面分别固定连接有转动电机和轴承座,所述转动电机的输出端通过联轴器固定连接有转动丝杆,所述转动丝杆的表面与轴承座的内环面固定连接,所述移动平台的下表面固定连接有固定块,所述固定块的侧面开设有与转动丝杆相适配的螺纹孔,且螺纹孔的内壁与转动丝杆的表面固定连接。In order to achieve the above purpose, the present invention provides the following technical solutions: a movable climbing and fixed installation step platform device for substation maintenance work, including a base, the lower surface of the base is fixedly connected with a universal wheel, and the upper surface of the base is fixedly connected There is a fixed seat, the inner wall of the fixed seat is fixedly connected with a rotating shaft, the surface of the rotating shaft is rotatably connected with a first rotating rod, and the end of the first rotating rod away from the fixed seat is rotatably connected with a rotating shaft, The surface is rotatably connected with a second rotating rod, and one end of the second rotating rod away from the rotating shaft is rotatably connected with a rotating seat, the upper surface of the rotating seat is fixedly connected with a working platform, and the upper surface of the working platform is fixedly connected with a sliding plate. A moving platform is slidably connected to the upper surface of the sliding rail, a rotating motor and a bearing seat are respectively fixedly connected to the back of the working platform, and a rotating screw rod is fixedly connected to the output end of the rotating motor through a coupling. The surface of the rotating screw rod is fixedly connected with the inner ring surface of the bearing seat, the lower surface of the mobile platform is fixedly connected with a fixing block, and the side surface of the fixing block is provided with a threaded hole adapted to the rotating screw rod, and the thread The inner wall of the hole is fixedly connected with the surface of the rotating screw.
优选的,所述万向轮的数量为四个,且四个万向轮呈矩形阵列设置在底座的下表面四角处。Preferably, the number of the universal wheels is four, and the four universal wheels are arranged in a rectangular array at four corners of the lower surface of the base.
优选的,所述固定座、第一转动杆、第二转动杆和转动座的数量均为四个,且四个固定座、第一转动杆、第二转动杆和转动座均呈矩形阵列设置在底座的上方,所述转动轴的数量为两个,且两个转动轴以底座正面的中线为对称轴对称设置在底座的上方。Preferably, the number of the fixed base, the first rotating rod, the second rotating rod and the rotating base is all four, and the four fixed bases, the first rotating rod, the second rotating rod and the rotating base are all arranged in a rectangular array Above the base, the number of the rotating shafts is two, and the two rotating shafts are symmetrically arranged above the base with the center line of the front face of the base as the symmetry axis.
优选的,前后两个所述第一转动杆的相对面固定连接有第一转轴,所述第一转轴的表面转动连接有电动液压伸缩杆,前后两个所述第二转动杆的相对面固定连接有第二转轴,所述第二转轴的表面转动连接有转动块,且转动块的下表面与电动液压伸缩杆的伸缩端固定连接。Preferably, the opposite surfaces of the front and rear first rotating rods are fixedly connected with a first rotating shaft, the surfaces of the first rotating shaft are rotatably connected with electro-hydraulic telescopic rods, and the opposite surfaces of the front and rear second rotating rods are fixed A second rotating shaft is connected, the surface of the second rotating shaft is rotatably connected with a rotating block, and the lower surface of the rotating block is fixedly connected with the telescopic end of the electro-hydraulic telescopic rod.
优选的,所述作业平台的上表面固定连接有第一围栏,所述作业平台的正面固定连接有扶梯,所述移动平台的上表面固定连接有第二围栏,所述第一围栏与第二围栏的相对面固定连接有伸缩防护门。Preferably, a first fence is fixedly connected to the upper surface of the working platform, an escalator is fixedly connected to the front of the working platform, a second fence is fixedly connected to the upper surface of the mobile platform, and the first fence is connected to the second fence. A telescopic protective door is fixedly connected to the opposite surface of the fence.
优选的,所述底座的上表面固定连接有气泵,所述气泵的输出端固定连接有弹簧气管,所述弹簧气管远离气泵的一端固定连接有出气管,所述出气管的表面设置有球阀,所述出气管的表面套设有海绵套,所述第二围栏的表面固定连接有卡块,所述卡块的表面开设有与出气管相适配的卡槽,且卡槽的内壁与出气管的表面卡接。Preferably, an air pump is fixedly connected to the upper surface of the base, a spring air pipe is fixedly connected to the output end of the air pump, an air outlet pipe is fixedly connected to the end of the spring air pipe away from the air pump, and the surface of the air outlet pipe is provided with a ball valve, The surface of the air outlet pipe is sleeved with a sponge cover, the surface of the second fence is fixedly connected with a clamping block, and the surface of the clamping block is provided with a clamping groove that is adapted to the air outlet pipe, and the inner wall of the clamping groove is connected with the outlet pipe. The surface of the trachea is snapped.
优选的,所述第二围栏的表面固定连接有控制盒,所述控制盒的表面设置有开关,且开关分别与转动电机、气泵和电动液压伸缩杆耦合连接。Preferably, a control box is fixedly connected to the surface of the second fence, a switch is provided on the surface of the control box, and the switch is coupled and connected to a rotating motor, an air pump and an electro-hydraulic telescopic rod respectively.
优选的,所述底座的正面和背面均固定连接有两个方形管,四个所述方形管的内壁均滑动连接有滑动方柱,四个所述滑动方柱的上表面均开设有螺纹通孔,且四个螺纹通孔的内壁螺纹连接有丝杆,四个所述丝杆的底端均固定连接有刹车块,且刹车块的材料为橡胶,四个所述丝杆的顶端均固定连接有手轮。Preferably, the front and the back of the base are fixedly connected with two square tubes, the inner walls of the four square tubes are all slidably connected with sliding square columns, and the upper surfaces of the four sliding square columns are all provided with threaded holes. The inner walls of the four threaded through holes are threadedly connected with screw rods, the bottom ends of the four screw rods are fixedly connected with brake blocks, and the material of the brake blocks is rubber, and the top ends of the four screw rods are fixed A handwheel is attached.
优选的,所述方形管的上表面螺纹连接有固定螺栓,且固定螺栓的一端与滑动方柱的上表面搭接。Preferably, a fixing bolt is threadedly connected to the upper surface of the square tube, and one end of the fixing bolt overlaps the upper surface of the sliding square column.
有益效果beneficial effect
本发明提供了一种变电检修工作可移动登高固定安装踏台装置,具备以下有益效果:The present invention provides a movable climbing and fixed installation platform device for substation maintenance work, which has the following beneficial effects:
1.该变电检修工作可移动登高固定安装踏台装置,通过设置万向轮,便于该装置的移动,通过设置方形管、滑动方柱、丝杆、刹车块和手轮,便于手轮的转动使丝杆带动刹车块将该装置顶起,从而方便该装置固定,通过设置第一转动杆、第二转动杆和电动液压伸缩杆,便于电动液压伸缩杆的启动带动第一转动杆和第二转动杆转动,从而使作业平台提升。1. The substation maintenance work can be moved up and fixed to install the step table device. By setting the universal wheel, the movement of the device is convenient. The screw rod drives the brake block to lift the device, so as to facilitate the fixing of the device. By setting the first rotating rod, the second rotating rod and the electro-hydraulic telescopic rod, it is convenient for the start of the electro-hydraulic telescopic rod to drive the first rotating rod and the second rotating rod. The swivel lever turns to raise the work platform.
2.该变电检修工作可移动登高固定安装踏台装置,通过设置滑轨、转动电机、转动丝杆和固定块,便于转动电机的启动使转动丝杆带动固定块在转动丝杆的表面移动,从而能够带动移动平台移动,方便维护人员站在移动平台上对狭小的地点进行检修,通过设置气泵、弹簧气管、出气管和球阀,便于气泵的压缩空气可以对电力设备和电路的表面进行清灰,提升作业效率。2. The substation maintenance work can be moved up and fixed to install the platform device. By setting the slide rail, the rotating motor, the rotating screw and the fixed block, it is convenient to start the rotating motor, so that the rotating screw drives the fixed block to move on the surface of the rotating screw. Therefore, it can drive the mobile platform to move, and it is convenient for maintenance personnel to stand on the mobile platform to repair and repair small places. By setting the air pump, spring air pipe, air outlet pipe and ball valve, it is convenient for the compressed air of the air pump to clean the surface of electric equipment and circuits. , improve work efficiency.
附图说明Description of drawings
图1为本发明正视结构示意图;Fig. 1 is the front view structure schematic diagram of the present invention;
图2为本发明正剖结构示意图;Fig. 2 is the schematic diagram of the front sectional structure of the present invention;
图3为本发明后视结构示意图;Fig. 3 is the rear view structure schematic diagram of the present invention;
图4为本发明侧剖结构示意图;FIG. 4 is a schematic diagram of a side sectional structure of the present invention;
图5为图1中A处放大结构示意图。FIG. 5 is an enlarged schematic view of the structure at A in FIG. 1 .
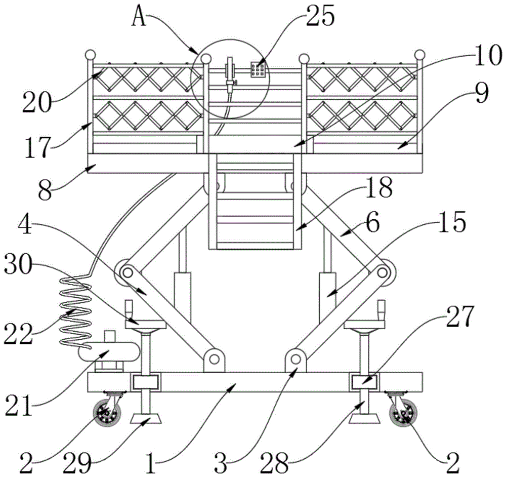
图中:1底座、2万向轮、3固定座、4第一转动杆、5转动轴、6第二转动杆、7转动座、8作业平台、9滑轨、10移动平台、11转动电机、12轴承座、13转动丝杆、14固定块、15电动液压伸缩杆、16转动块、17第一围栏、18扶梯、19第二围栏、20伸缩防护门、21气泵、22弹簧气管、23出气管、24球阀、25控制盒、26方形管、27滑动方柱、28丝杆、29刹车块、30手轮、31固定螺栓。In the picture: 1 base, 2 universal wheel, 3 fixed seat, 4 first rotating rod, 5 rotating shaft, 6 second rotating rod, 7 rotating seat, 8 working platform, 9 sliding rail, 10 moving platform, 11 rotating motor , 12 bearing seat, 13 rotating screw, 14 fixed block, 15 electro-hydraulic telescopic rod, 16 rotating block, 17 first fence, 18 escalator, 19 second fence, 20 telescopic protective door, 21 air pump, 22 spring air pipe, 23 Air outlet pipe, 24 ball valve, 25 control box, 26 square pipe, 27 sliding square column, 28 screw rod, 29 brake block, 30 hand wheel, 31 fixing bolt.
具体实施方式Detailed ways
下面将结合本发明实施例中的附图,对本发明实施例中的技术方案进行清楚、完整地描述,显然,所描述的实施例仅仅是本发明一部分实施例,而不是全部的实施例。基于本发明中的实施例,本领域普通技术人员在没有做出创造性劳动前提下所获得的所有其他实施例,都属于本发明保护的范围。The technical solutions in the embodiments of the present invention will be clearly and completely described below with reference to the accompanying drawings in the embodiments of the present invention. Obviously, the described embodiments are only a part of the embodiments of the present invention, but not all of the embodiments. Based on the embodiments of the present invention, all other embodiments obtained by those of ordinary skill in the art without creative efforts shall fall within the protection scope of the present invention.
请参阅图1-5,本发明提供一种技术方案:一种变电检修工作可移动登高固定安装踏台装置,包括底座1,万向轮2的数量为四个,且四个万向轮2呈矩形阵列设置在底座1的下表面四角处,通过设置万向轮2,便于该装置的移动。Please refer to FIGS. 1-5 , the present invention provides a technical solution: a movable climbing and fixed installation step platform device for substation maintenance work, comprising a base 1 , the number of
底座1的正面和背面均固定连接有两个方形管26,四个方形管26的内壁均滑动连接有滑动方柱27,四个滑动方柱27的上表面均开设有螺纹通孔,且四个螺纹通孔的内壁螺纹连接有丝杆28,四个丝杆28的底端均固定连接有刹车块29,且刹车块29的材料为橡胶,四个丝杆28的顶端均固定连接有手轮30,方形管26的上表面螺纹连接有固定螺栓31,且固定螺栓31的一端与滑动方柱27的上表面搭接,通过设置方形管26、滑动方柱27、丝杆28、刹车块29和手轮30,便于手轮30的转动使丝杆28带动刹车块29将该装置顶起,从而方便该装置固定。The front and back of the base 1 are fixedly connected with two
底座1的下表面固定连接有万向轮2,底座1的上表面固定连接有固定座3,固定座3的内壁固定连接有转轴,转轴的表面转动连接有第一转动杆4,第一转动杆4远离固定座3的一端转动连接有转动轴5,转动轴5的表面转动连接有第二转动杆6,第二转动杆6远离转动轴5的一端转动连接有转动座7,固定座3、第一转动杆4、第二转动杆6和转动座7的数量均为四个,且四个固定座3、第一转动杆4、第二转动杆6和转动座7均呈矩形阵列设置在底座1的上方,转动轴5的数量为两个,且两个转动轴5以底座1正面的中线为对称轴对称设置在底座1的上方,前后两个第一转动杆4的相对面固定连接有第一转轴,第一转轴的表面转动连接有电动液压伸缩杆15,前后两个第二转动杆6的相对面固定连接有第二转轴,第二转轴的表面转动连接有转动块16,且转动块16的下表面与电动液压伸缩杆15的伸缩端固定连接,转动座7的上表面固定连接有作业平台8,通过设置第一转动杆4、第二转动杆6和电动液压伸缩杆15,便于电动液压伸缩杆15的启动带动第一转动杆4和第二转动杆6转动,从而使作业平台8提升。The lower surface of the base 1 is fixedly connected with a
作业平台8的上表面固定连接有滑轨9,滑轨9的上表面滑动连接有移动平台10,作业平台8的上表面固定连接有第一围栏17,作业平台8的正面固定连接有扶梯18,移动平台10的上表面固定连接有第二围栏19,第一围栏17与第二围栏19的相对面固定连接有伸缩防护门20。The upper surface of the
底座1的上表面固定连接有气泵21,气泵21的输出端固定连接有弹簧气管22,弹簧气管22远离气泵21的一端固定连接有出气管23,出气管23的表面设置有球阀24,出气管23的表面套设有海绵套,第二围栏19的表面固定连接有卡块,卡块的表面开设有与出气管23相适配的卡槽,且卡槽的内壁与出气管23的表面卡接,第二围栏19的表面固定连接有控制盒25,控制盒25的表面设置有开关,且开关分别与转动电机11、气泵21和电动液压伸缩杆15耦合连接,通过设置气泵21、弹簧气管22、出气管23和球阀24,便于气泵21的压缩空气可以对电力设备和电路的表面进行清灰,提升作业效率。The upper surface of the base 1 is fixedly connected with an
作业平台8的背面分别固定连接有转动电机11和轴承座12,转动电机11的输出端通过联轴器固定连接有转动丝杆13,转动丝杆13的表面与轴承座12的内环面固定连接,移动平台10的下表面固定连接有固定块14,固定块14的侧面开设有与转动丝杆13相适配的螺纹孔,且螺纹孔的内壁与转动丝杆13的表面固定连接,通过设置滑轨9、转动电机11、转动丝杆13和固定块14,便于转动电机11的启动使转动丝杆13带动固定块14在转动丝杆13的表面移动,从而能够带动移动平台10移动,方便维护人员站在移动平台10上对狭小的地点进行检修。A rotating
工作原理:当使用该变电检修工作可移动登高固定安装踏台装置时,推动该装置移动至检修点,向外拉动四个滑动方柱27,再拧紧固定螺栓31固定,转动手轮30,使丝杆28带动四个刹车块29将该装置顶起,再通过扶梯18登上作业平台8,启动电动液压伸缩杆15,电动液压伸缩杆15的启动带动第一转动杆4和第二转动杆6转动,将作业平台8顶起,顶起到一定位置时,启动转动电机11,转动电机11的启动使转动丝杆13带动移动平台10在滑轨9的表面滑动,并使移动平台10移动至狭小的地方后停止,再取下出气管23,启动气泵21,打开球阀24使压缩空气对维护设备和电路进行吹灰,通过使用该变电检修工作可移动登高固定安装踏台装置,方便维护人员站在移动平台10上对狭小的地点进行检修。Working principle: When using this substation maintenance work to move the fixed installation step platform device, push the device to move to the maintenance point, pull the four sliding
尽管已经示出和描述了本发明的实施例,对于本领域的普通技术人员而言,可以理解在不脱离本发明的原理和精神的情况下可以对这些实施例进行多种变化、修改、替换和变型,本发明的范围由所附权利要求及其等同物限定。Although embodiments of the present invention have been shown and described, it will be understood by those skilled in the art that various changes, modifications, and substitutions can be made in these embodiments without departing from the principle and spirit of the invention and modifications, the scope of the present invention is defined by the appended claims and their equivalents.
Claims (9)
Priority Applications (1)
| Application Number | Priority Date | Filing Date | Title |
|---|---|---|---|
| CN202010798993.7A CN111799690B (en) | 2020-08-11 | 2020-08-11 | A movable climbing and fixed installation step-table device for substation maintenance work |
Applications Claiming Priority (1)
| Application Number | Priority Date | Filing Date | Title |
|---|---|---|---|
| CN202010798993.7A CN111799690B (en) | 2020-08-11 | 2020-08-11 | A movable climbing and fixed installation step-table device for substation maintenance work |
Publications (2)
| Publication Number | Publication Date |
|---|---|
| CN111799690A true CN111799690A (en) | 2020-10-20 |
| CN111799690B CN111799690B (en) | 2022-02-11 |
Family
ID=72833977
Family Applications (1)
| Application Number | Title | Priority Date | Filing Date |
|---|---|---|---|
| CN202010798993.7A Active CN111799690B (en) | 2020-08-11 | 2020-08-11 | A movable climbing and fixed installation step-table device for substation maintenance work |
Country Status (1)
| Country | Link |
|---|---|
| CN (1) | CN111799690B (en) |
Citations (20)
| Publication number | Priority date | Publication date | Assignee | Title |
|---|---|---|---|---|
| JP2007313585A (en) * | 2006-05-24 | 2007-12-06 | Chugoku Electric Power Co Inc:The | Device and method for assembling electrical equipment board |
| CN106044656A (en) * | 2016-05-30 | 2016-10-26 | 国网山东省电力公司曹县供电公司 | Movable climbing fixed-installation footboard device for substation maintenance work |
| CN205811387U (en) * | 2016-07-27 | 2016-12-14 | 国网山东省电力公司惠民县供电公司 | A kind of multi-functional power transformation equipment overhauling stand |
| CN207483288U (en) * | 2017-10-27 | 2018-06-12 | 江阴市绿松机械有限公司 | A kind of aerial work platform |
| CN207566825U (en) * | 2017-11-28 | 2018-07-03 | 宁夏回族自治区通信产业服务有限公司 | A kind of communication iron tower equipment maintaining vehicle carries lifter board |
| CN108358130A (en) * | 2017-12-27 | 2018-08-03 | 佛山杰致信息科技有限公司 | A kind of aircraft assembling repairing Multifunctional supporting ladder rack |
| CN207792583U (en) * | 2017-12-21 | 2018-08-31 | 华自科技股份有限公司 | Busbar handling device |
| CN108557720A (en) * | 2018-04-18 | 2018-09-21 | 常州信息职业技术学院 | A kind of full automatic lifting convenient for safe and effective high stability energy up and down |
| CN108584825A (en) * | 2018-06-15 | 2018-09-28 | 屈珠丽 | A kind of electric power overhaul platform that can stablize lifting |
| CN207943841U (en) * | 2018-03-06 | 2018-10-09 | 常州朗卓机电科技有限公司 | A kind of movable altitude operation hoistable platform |
| CN208753815U (en) * | 2018-09-09 | 2019-04-16 | 国网山东省电力公司宁津县供电公司 | A kind of substation equipment maintenance and repair frame convenient for adjusting |
| CN208791125U (en) * | 2018-09-20 | 2019-04-26 | 国网陕西省电力公司西咸新区供电公司 | The extension job platform of aerial work platform |
| CN209692228U (en) * | 2019-06-19 | 2019-11-26 | 张庆兵 | A kind of multi-functional power transformation overhaul platform |
| CN209748063U (en) * | 2019-06-04 | 2019-12-06 | 盐城竞丰达科技有限公司 | Electrical equipment maintains device |
| CN209815611U (en) * | 2019-04-18 | 2019-12-20 | 安徽省博润电力技术有限公司 | Lifting platform for scaffold |
| CN209853678U (en) * | 2019-04-18 | 2019-12-27 | 江苏楷正建设有限公司 | Portable lifting device for electric power installation operation |
| CN210460169U (en) * | 2019-06-19 | 2020-05-05 | 薛全忠 | Safety protection device for oil field downhole operation |
| CN210595155U (en) * | 2019-09-26 | 2020-05-22 | 张成云 | Combined type support for overhauling substation equipment |
| CN111332993A (en) * | 2020-04-03 | 2020-06-26 | 王婵 | Electric power electrical equipment overhauls with overhauing platform |
| DE102019200809A1 (en) * | 2019-01-23 | 2020-07-23 | Siemens Aktiengesellschaft | Process for the maintenance of a medium or high voltage system and maintenance device for carrying out the maintenance |
-
2020
- 2020-08-11 CN CN202010798993.7A patent/CN111799690B/en active Active
Patent Citations (20)
| Publication number | Priority date | Publication date | Assignee | Title |
|---|---|---|---|---|
| JP2007313585A (en) * | 2006-05-24 | 2007-12-06 | Chugoku Electric Power Co Inc:The | Device and method for assembling electrical equipment board |
| CN106044656A (en) * | 2016-05-30 | 2016-10-26 | 国网山东省电力公司曹县供电公司 | Movable climbing fixed-installation footboard device for substation maintenance work |
| CN205811387U (en) * | 2016-07-27 | 2016-12-14 | 国网山东省电力公司惠民县供电公司 | A kind of multi-functional power transformation equipment overhauling stand |
| CN207483288U (en) * | 2017-10-27 | 2018-06-12 | 江阴市绿松机械有限公司 | A kind of aerial work platform |
| CN207566825U (en) * | 2017-11-28 | 2018-07-03 | 宁夏回族自治区通信产业服务有限公司 | A kind of communication iron tower equipment maintaining vehicle carries lifter board |
| CN207792583U (en) * | 2017-12-21 | 2018-08-31 | 华自科技股份有限公司 | Busbar handling device |
| CN108358130A (en) * | 2017-12-27 | 2018-08-03 | 佛山杰致信息科技有限公司 | A kind of aircraft assembling repairing Multifunctional supporting ladder rack |
| CN207943841U (en) * | 2018-03-06 | 2018-10-09 | 常州朗卓机电科技有限公司 | A kind of movable altitude operation hoistable platform |
| CN108557720A (en) * | 2018-04-18 | 2018-09-21 | 常州信息职业技术学院 | A kind of full automatic lifting convenient for safe and effective high stability energy up and down |
| CN108584825A (en) * | 2018-06-15 | 2018-09-28 | 屈珠丽 | A kind of electric power overhaul platform that can stablize lifting |
| CN208753815U (en) * | 2018-09-09 | 2019-04-16 | 国网山东省电力公司宁津县供电公司 | A kind of substation equipment maintenance and repair frame convenient for adjusting |
| CN208791125U (en) * | 2018-09-20 | 2019-04-26 | 国网陕西省电力公司西咸新区供电公司 | The extension job platform of aerial work platform |
| DE102019200809A1 (en) * | 2019-01-23 | 2020-07-23 | Siemens Aktiengesellschaft | Process for the maintenance of a medium or high voltage system and maintenance device for carrying out the maintenance |
| CN209815611U (en) * | 2019-04-18 | 2019-12-20 | 安徽省博润电力技术有限公司 | Lifting platform for scaffold |
| CN209853678U (en) * | 2019-04-18 | 2019-12-27 | 江苏楷正建设有限公司 | Portable lifting device for electric power installation operation |
| CN209748063U (en) * | 2019-06-04 | 2019-12-06 | 盐城竞丰达科技有限公司 | Electrical equipment maintains device |
| CN209692228U (en) * | 2019-06-19 | 2019-11-26 | 张庆兵 | A kind of multi-functional power transformation overhaul platform |
| CN210460169U (en) * | 2019-06-19 | 2020-05-05 | 薛全忠 | Safety protection device for oil field downhole operation |
| CN210595155U (en) * | 2019-09-26 | 2020-05-22 | 张成云 | Combined type support for overhauling substation equipment |
| CN111332993A (en) * | 2020-04-03 | 2020-06-26 | 王婵 | Electric power electrical equipment overhauls with overhauing platform |
Also Published As
| Publication number | Publication date |
|---|---|
| CN111799690B (en) | 2022-02-11 |
Similar Documents
| Publication | Publication Date | Title |
|---|---|---|
| CN204835320U (en) | Hand propelled automatic rising substation equipment overhauls device | |
| CN207122749U (en) | A kind of portable SF6Gas inflator | |
| CN105206957B (en) | The high-altitude earthing or grounding means of Pneumatic elevation | |
| CN106229868A (en) | The regulator cubicle maintenance of a kind of transformer station monitors scavenging system with condensation | |
| CN111799690A (en) | A movable climbing and fixed installation step-table device for substation maintenance work | |
| CN103400668B (en) | A Composite Insulator Rotary Pollution Device | |
| CN220273095U (en) | Movable switch switch cabinet of cabinet bracket device | |
| CN219202901U (en) | A multifunctional transformer box | |
| CN218732785U (en) | Movable electric lifting type high-voltage cable grounding device | |
| CN204966717U (en) | High altitude earthing device that hydraulic pressure goes up and down | |
| CN211761320U (en) | Retractable reinforcing bar processing platform | |
| CN114249282A (en) | Substation equipment fault treatment auxiliary device | |
| CN204966733U (en) | High altitude earthing device of pneumatic lift | |
| CN218762356U (en) | Electric power supporting device for electric power installation | |
| CN222274055U (en) | A lifting device for fan maintenance | |
| CN223402080U (en) | A lifting distribution cabinet | |
| CN218205582U (en) | Electromechanical engineering construction is with device of ascending a height | |
| CN204966728U (en) | High altitude earthing device of manual lift | |
| CN105206955A (en) | High altitude earthing device ascending and descending manually | |
| CN118619162B (en) | A motor maintenance lifting device | |
| CN111515909A (en) | A rapid maintenance device for electrical control equipment | |
| CN221170034U (en) | A detachable mobile water pump for drainage | |
| CN219672559U (en) | Insulating two-step ladder that goes up and down | |
| CN221761847U (en) | A kind of auxiliary device for pipe well construction | |
| CN212832579U (en) | Elevating gear is used in electromechanical installation |
Legal Events
| Date | Code | Title | Description |
|---|---|---|---|
| PB01 | Publication | ||
| PB01 | Publication | ||
| SE01 | Entry into force of request for substantive examination | ||
| SE01 | Entry into force of request for substantive examination | ||
| GR01 | Patent grant | ||
| GR01 | Patent grant |
