CN111729504A - A composite adsorption reaction device coupled with a fluidized bed and a moving bed and its application - Google Patents
A composite adsorption reaction device coupled with a fluidized bed and a moving bed and its application Download PDFInfo
- Publication number
- CN111729504A CN111729504A CN202010524589.0A CN202010524589A CN111729504A CN 111729504 A CN111729504 A CN 111729504A CN 202010524589 A CN202010524589 A CN 202010524589A CN 111729504 A CN111729504 A CN 111729504A
- Authority
- CN
- China
- Prior art keywords
- adsorbent
- bed
- moving bed
- fluidized bed
- flue gas
- Prior art date
- Legal status (The legal status is an assumption and is not a legal conclusion. Google has not performed a legal analysis and makes no representation as to the accuracy of the status listed.)
- Pending
Links
Images
Classifications
-
- B—PERFORMING OPERATIONS; TRANSPORTING
- B01—PHYSICAL OR CHEMICAL PROCESSES OR APPARATUS IN GENERAL
- B01D—SEPARATION
- B01D53/00—Separation of gases or vapours; Recovering vapours of volatile solvents from gases; Chemical or biological purification of waste gases, e.g. engine exhaust gases, smoke, fumes, flue gases, aerosols
- B01D53/34—Chemical or biological purification of waste gases
- B01D53/46—Removing components of defined structure
- B01D53/48—Sulfur compounds
- B01D53/50—Sulfur oxides
- B01D53/508—Sulfur oxides by treating the gases with solids
-
- B—PERFORMING OPERATIONS; TRANSPORTING
- B01—PHYSICAL OR CHEMICAL PROCESSES OR APPARATUS IN GENERAL
- B01D—SEPARATION
- B01D2251/00—Reactants
- B01D2251/30—Alkali metal compounds
- B01D2251/304—Alkali metal compounds of sodium
-
- B—PERFORMING OPERATIONS; TRANSPORTING
- B01—PHYSICAL OR CHEMICAL PROCESSES OR APPARATUS IN GENERAL
- B01D—SEPARATION
- B01D2251/00—Reactants
- B01D2251/40—Alkaline earth metal or magnesium compounds
- B01D2251/402—Alkaline earth metal or magnesium compounds of magnesium
-
- B—PERFORMING OPERATIONS; TRANSPORTING
- B01—PHYSICAL OR CHEMICAL PROCESSES OR APPARATUS IN GENERAL
- B01D—SEPARATION
- B01D2251/00—Reactants
- B01D2251/40—Alkaline earth metal or magnesium compounds
- B01D2251/404—Alkaline earth metal or magnesium compounds of calcium
-
- B—PERFORMING OPERATIONS; TRANSPORTING
- B01—PHYSICAL OR CHEMICAL PROCESSES OR APPARATUS IN GENERAL
- B01D—SEPARATION
- B01D2251/00—Reactants
- B01D2251/60—Inorganic bases or salts
- B01D2251/602—Oxides
-
- B—PERFORMING OPERATIONS; TRANSPORTING
- B01—PHYSICAL OR CHEMICAL PROCESSES OR APPARATUS IN GENERAL
- B01D—SEPARATION
- B01D2251/00—Reactants
- B01D2251/60—Inorganic bases or salts
- B01D2251/606—Carbonates
-
- B—PERFORMING OPERATIONS; TRANSPORTING
- B01—PHYSICAL OR CHEMICAL PROCESSES OR APPARATUS IN GENERAL
- B01D—SEPARATION
- B01D2258/00—Sources of waste gases
- B01D2258/02—Other waste gases
- B01D2258/0233—Other waste gases from cement factories
-
- B—PERFORMING OPERATIONS; TRANSPORTING
- B01—PHYSICAL OR CHEMICAL PROCESSES OR APPARATUS IN GENERAL
- B01D—SEPARATION
- B01D2258/00—Sources of waste gases
- B01D2258/02—Other waste gases
- B01D2258/0283—Flue gases
-
- B—PERFORMING OPERATIONS; TRANSPORTING
- B01—PHYSICAL OR CHEMICAL PROCESSES OR APPARATUS IN GENERAL
- B01D—SEPARATION
- B01D2258/00—Sources of waste gases
- B01D2258/02—Other waste gases
- B01D2258/0283—Flue gases
- B01D2258/0291—Flue gases from waste incineration plants
Landscapes
- Engineering & Computer Science (AREA)
- Chemical & Material Sciences (AREA)
- Health & Medical Sciences (AREA)
- Biomedical Technology (AREA)
- Environmental & Geological Engineering (AREA)
- Analytical Chemistry (AREA)
- General Chemical & Material Sciences (AREA)
- Oil, Petroleum & Natural Gas (AREA)
- Chemical Kinetics & Catalysis (AREA)
- Treating Waste Gases (AREA)
Abstract
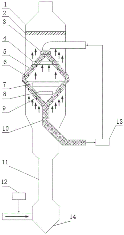
本发明涉及一种流化床与移动床耦合的复合吸附反应装置及应用,包括吸附装置主体(1)以及位于吸附装置主体(1)底部的进气烟箱(14),所述的吸附装置主体(1)内设有流化床和移动床,所述的流化床包括文丘里加速管(11)和流化床床体,该文丘里加速管(11)位于进气烟箱(14)与流化床床体之间,并连通粉末吸附剂文丘里喷射装置(12),所述的移动床包括锥形支撑筛板和颗粒吸附剂移动床,所述的颗粒吸附剂移动床安装在锥形支撑筛板上,所述的锥形支撑筛板通过导流管(10)连接颗粒吸附剂输送装置(13)。与现有技术相比,通过本发明可显著提高吸附剂的利用效率和SO3等气态污染物的去除效率,同时兼具除尘的作用,可以有效去除烟气中SO3等气态污染物。
The invention relates to a composite adsorption reaction device coupled with a fluidized bed and a moving bed and its application, comprising an adsorption device main body (1) and an intake fume box (14) located at the bottom of the adsorption device main body (1). The main body (1) is provided with a fluidized bed and a moving bed, and the fluidized bed includes a Venturi accelerator tube (11) and a fluidized bed body, and the Venturi accelerator tube (11) is located in the intake fume box (14). ) and the fluidized bed, and communicate with the powder adsorbent Venturi jetting device (12), the moving bed includes a conical support sieve plate and a particulate adsorbent moving bed, and the particulate adsorbent moving bed is installed On the conical supporting sieve plate, the conical supporting sieve plate is connected to the particle adsorbent conveying device (13) through the guide pipe (10). Compared with the prior art, the present invention can significantly improve the utilization efficiency of the adsorbent and the removal efficiency of gaseous pollutants such as SO 3 , and also has the function of dust removal, and can effectively remove gaseous pollutants such as SO 3 in the flue gas.
Description
技术领域technical field
本发明属于环境保护领域的烟气气态污染物吸附去除技术,具体是涉及一种流化床与移动床耦合的复合吸附反应装置及应用。The invention belongs to the adsorption and removal technology of flue gas gaseous pollutants in the field of environmental protection, and particularly relates to a composite adsorption reaction device coupled with a fluidized bed and a moving bed and its application.
背景技术Background technique
我国重有色金属冶炼产量已经连续十余年位居世界第一。然而,在重有色金属如铅、锌、铜等的冶炼过程中,由于其原料主要为硫化物,因而冶炼烟气中含有高浓度的硫氧化物。有色金属冶炼烟气在净化过程中一般都会采用洗涤进行降温,而烟气中高浓度的SO3是冶炼烟气洗涤污酸生成的主要原因。而洗涤污染的治理也成为了有色金属冶炼行业污染防治的重点和难点。因此,在烟气洗涤前利用吸附剂将其中的SO3进行有效捕集,并利用除尘装置将吸附剂进行高效去除,将显著减少洗涤污酸的生成量。有色金属冶炼烟气洗涤前一般只有除尘设备,其中静电除尘装置无法有效去除SO3,而SO3在降温过程中容易结露,所以对袋式除尘装置造成腐蚀和堵塞的不良影响。采用常规的静电除尘装置或这布袋除尘装置难以充分发挥吸附剂对SO3等气态污染物的捕集作用。因此,亟待开发一种可以针对SO3等气态污染物进行高效去除的干式捕集装备。my country's heavy non-ferrous metal smelting output has ranked first in the world for more than ten consecutive years. However, in the smelting process of heavy non-ferrous metals such as lead, zinc, copper, etc., since the raw materials are mainly sulfides, the smelting flue gas contains high concentrations of sulfur oxides. In the purification process of non-ferrous metal smelting flue gas, washing is generally used to cool down, and the high concentration of SO 3 in flue gas is the main reason for the generation of foul acid in smelting flue gas washing. The control of washing pollution has also become the focus and difficulty of pollution prevention and control in the non-ferrous metal smelting industry. Therefore, the use of adsorbents to effectively capture SO 3 in flue gas before scrubbing, and the efficient removal of adsorbents by dust removal devices will significantly reduce the amount of scrubbing acid generated. Before non-ferrous metal smelting flue gas washing, there is generally only dust removal equipment, among which the electrostatic dust removal device cannot effectively remove SO 3 , and SO 3 is easy to condense during the cooling process, so it will cause adverse effects on corrosion and blockage of the bag type dust removal device. It is difficult to use the conventional electrostatic precipitator or the bag filter to give full play to the capture effect of the adsorbent on gaseous pollutants such as SO 3 . Therefore, it is urgent to develop a dry capture equipment that can efficiently remove gaseous pollutants such as SO3 .
发明内容SUMMARY OF THE INVENTION
本发明的目的就是为了克服上述现有技术存在的缺陷而提供一种高效的流化床与移动床耦合的复合吸附反应装置及应用。The purpose of the present invention is to provide an efficient composite adsorption reaction device coupled with a fluidized bed and a moving bed and its application in order to overcome the above-mentioned defects of the prior art.
本发明的目的可以通过以下技术方案来实现:一种流化床与移动床耦合的复合吸附反应装置,其特征在于,包括吸附装置主体以及位于吸附装置主体底部的进气烟箱,所述的吸附装置主体内设有流化床和移动床,所述的流化床包括文丘里加速管和流化床床体,该文丘里加速管位于进气烟箱与流化床床体之间,并连通粉末吸附剂文丘里喷射装置,所述的移动床包括锥形支撑筛板和颗粒吸附剂移动床,所述的颗粒吸附剂移动床安装在锥形支撑筛板上,所述的锥形支撑筛板通过导流管连接颗粒吸附剂输送装置。The object of the present invention can be achieved by the following technical solutions: a composite adsorption reaction device coupled with a fluidized bed and a moving bed, characterized in that it includes an adsorption device main body and an air intake smoke box located at the bottom of the adsorption device main body. The main body of the adsorption device is provided with a fluidized bed and a moving bed. The fluidized bed includes a Venturi accelerator tube and a fluidized bed bed. The Venturi accelerator tube is located between the intake fume box and the fluidized bed bed. and communicated with the powder adsorbent venturi jetting device, the moving bed includes a conical support sieve plate and a particle adsorbent moving bed, the particulate adsorbent moving bed is installed on the conical support sieve plate, and the conical support sieve plate The supporting sieve plate is connected to the particle adsorbent conveying device through the guide pipe.
所述的粉末吸附剂文丘里喷射装置将粉末吸附剂喷入烟道内,并在流化床对气态污染物进行吸附。The powder adsorbent venturi spraying device sprays the powder adsorbent into the flue, and adsorbs the gaseous pollutants in the fluidized bed.
所述的粉末吸附剂的粒径为100-325目(直径0.150-0.045mm),可对气态污染物具有较高吸附容量。粉末吸附剂可以为碳酸钠、碳酸氢钠、碳酸镁、氧化镁、碳酸钙、氧化钙等常见的碱性吸收剂,这个粒径的吸附剂比表面积更大、吸收更快速,而且也易于流化。The particle size of the powder adsorbent is 100-325 mesh (0.150-0.045mm in diameter), which can have a high adsorption capacity for gaseous pollutants. Powder adsorbents can be common alkaline adsorbents such as sodium carbonate, sodium bicarbonate, magnesium carbonate, magnesium oxide, calcium carbonate, calcium oxide, etc. The adsorbent with this particle size has a larger specific surface area, faster absorption, and is also easy to flow. change.
所述的锥形支撑筛板与水平方向的倾斜角为30-60度,便于颗粒吸附以稳定的速度向下移动,筛孔的大小为2-3mm,便于烟气从下向上穿透筛板和颗粒吸附剂,又保证颗粒吸附剂不会从筛板上掉下来;开孔率为20-60%,可以让烟气容易穿透筛板,其大小可以根据阻力损失来进行调节。The inclination angle between the conical support sieve plate and the horizontal direction is 30-60 degrees, which is convenient for particle adsorption to move downward at a stable speed. And granular adsorbent, and ensure that the granular adsorbent will not fall off the sieve plate; the opening rate is 20-60%, which can allow the flue gas to easily penetrate the sieve plate, and its size can be adjusted according to the resistance loss.
所述的锥形支撑筛板包括上锥板和下锥板,上锥板和下锥板的开口部对接,所述的颗粒吸附剂输送装置连接上锥板的锥底,下锥板的锥底连接导流管,颗粒吸附剂输送装置将颗粒吸附剂输送至上锥板。The conical support sieve plate includes an upper conical plate and a lower conical plate, the openings of the upper and lower conical plates are butted together, the particle adsorbent conveying device is connected to the cone bottom of the upper conical plate, and the cone of the lower conical plate is The bottom is connected to the guide pipe, and the particle adsorbent conveying device conveys the particle adsorbent to the upper cone plate.
所述的颗粒吸附剂移动床包括上下平行设置的多层床体,各层床体固定在锥形支撑筛板上,并在各床体上设有限高环,颗粒吸附剂自上而下沿着锥形支撑筛板向下移动,落在颗粒吸附剂移动床的厚度在限高环的作用下保持在20-50mm。限高环通过4-6个支撑导流板焊接在锥形支撑板上面,这些支撑导流板高度在20-50mm,其方向与锥形板的径向方向一致,这样可以保证颗粒物从上向下移动的过程中,按照支撑导流板均匀分布在锥形支撑板上面,避免出现一部分地方颗粒吸附剂多,一部分地方没有颗粒吸附剂的情况。The granular adsorbent moving bed includes multi-layer beds arranged in parallel up and down, each layer of the bed is fixed on the conical support sieve plate, and a height-limiting ring is arranged on each bed, and the granular adsorbent is from top to bottom. With the conical support sieve plate moving downward, the thickness of the falling particle adsorbent moving bed is maintained at 20-50mm under the action of the height-limiting ring. The height-limiting ring is welded on the conical support plate through 4-6 supporting baffles. The height of these supporting baffles is 20-50mm, and its direction is consistent with the radial direction of the conical plate, so as to ensure that the particles flow from the top to the top. In the process of moving down, the support baffles are evenly distributed on the conical support plate to avoid the situation that there are many particulate adsorbents in some places and no particulate adsorbents in some places.
所述的颗粒物吸附剂通过导流管从颗粒吸附剂移动床引出,导流管与水平方向的夹角为60-80度,颗粒吸附剂为直径为5-8mm的吸附剂。颗粒物吸附剂可以为碳酸钠、碳酸氢钠、碳酸镁、氧化镁、碳酸钙、氧化钙等常见的碱性吸收剂,这个粒径的吸附剂颗粒大,容易在锥形板上从上向下移动。The particulate adsorbent is drawn out from the moving bed of the particulate adsorbent through a guide tube, the angle between the guide tube and the horizontal direction is 60-80 degrees, and the particulate adsorbent is an adsorbent with a diameter of 5-8 mm. The particulate adsorbent can be sodium carbonate, sodium bicarbonate, magnesium carbonate, magnesium oxide, calcium carbonate, calcium oxide and other common alkaline absorbents. The adsorbent with this particle size has large particles and is easy to go from top to bottom on the conical plate. move.
一种采用所述的流化床与移动床耦合的复合吸附反应装置进行烟气净化的方法,包括以下步骤:A method for purifying flue gas using the compound adsorption reaction device coupled with the fluidized bed and the moving bed, comprising the following steps:
第一步,将粉末吸附剂喷入到烟道中,从进气烟箱进入流化床,烟气首先经过文丘里加速管加速,进入流化床床体,烟气与流化床床体的粉末吸附剂形成高效的气固流化态接触,在上升的过程中,部分物料向下返回,形成内循环颗粒流,强化气固传质与传热,实现高效脱除气态污染物,吸附饱和的粉末吸附剂从进气烟箱底部排出;In the first step, the powder adsorbent is sprayed into the flue, and enters the fluidized bed from the intake smoke box. The flue gas is first accelerated by the Venturi accelerator and enters the fluidized bed bed. The powder adsorbent forms an efficient gas-solid fluidized state contact. During the rising process, part of the material returns downward to form an internal circulating particle flow, which strengthens the gas-solid mass transfer and heat transfer, and achieves efficient removal of gaseous pollutants and adsorption saturation. The powder adsorbent is discharged from the bottom of the intake fume box;
第二步,烟气经过锥形支撑筛板上的颗粒吸附剂移动床,其中的气态污染物被颗粒吸附剂进一步进行吸附,同时被烟气携带的粉末吸附剂也被颗粒吸附剂移动床拦截下来进一步吸附气态污染物;In the second step, the flue gas passes through the particle adsorbent moving bed on the conical support screen, and the gaseous pollutants are further adsorbed by the particulate adsorbent, and the powder adsorbent carried by the flue gas is also intercepted by the particulate adsorbent moving bed. down to further adsorb gaseous pollutants;
第三步,从上而下移动的颗粒吸附剂沿着导流管流出,并通过颗粒吸附剂输送装置从锥形支撑筛板顶部返回,对烟气污染物进行循环吸附处理;In the third step, the particulate adsorbent moving from top to bottom flows out along the guide pipe, and returns from the top of the conical support sieve plate through the particulate adsorbent conveying device to perform cyclic adsorption treatment on the flue gas pollutants;
第四步,经过流化床和移动床双重吸附后的烟气经过旋流分离板除尘后,经过引风机通入后续烟气净化装置。In the fourth step, the flue gas after the double adsorption of the fluidized bed and the moving bed is dedusted by the cyclone separation plate, and then passed into the subsequent flue gas purification device through the induced draft fan.
所述的烟气温度在150-450℃。The temperature of the flue gas is 150-450°C.
所述的烟气在流化床床体的气流速度在4-10m/s,文丘里加速管处烟气流速在15-25m/s。The flow velocity of the flue gas in the fluidized bed is 4-10m/s, and the flow velocity of the flue gas at the venturi accelerating tube is 15-25m/s.
本发明首先将粉末吸附剂喷入到烟道中,烟气携带粉末吸附剂从反应塔底部烟箱进入反应塔;流化态的吸附剂颗粒与烟气中SO3等气态污染物在反应塔流化段中发生化学反应;然后利用锥形支撑筛板上移动的颗粒吸附剂层继续对通过筛板的烟气中残留的SO3等气态污染物进一步进行吸附同时起到过滤床作用;最终经过移动床吸附过滤后的烟气从顶部排出,可通过旋流分离装置去除细小粉尘后进入后续净化环节。本发明首先利用了粉末吸附剂在流化状态下对SO3等气态污染物进行初步吸附,再利用颗粒吸附剂在移动状态下对SO3等气态污染物进行深度吸附。移动床吸附剂除了可以吸附烟气中的SO3等气态污染物,还可以将被烟气携带的粉末吸附剂拦截下来,继续对烟气SO3等气态污染物进行吸附。同时,颗粒吸附剂还可以通过导流管(10)流出吸附塔,并通过吸附剂输送装置(13)输送至移动床顶部进行循环吸附。通过本发明可显著提高吸附剂的利用效率和SO3等气态污染物的去除效率,同时兼具除尘的作用,可以有效去除烟气中SO3等气态污染物。In the present invention, the powder adsorbent is first sprayed into the flue, and the flue gas carries the powder adsorbent from the smoke box at the bottom of the reaction tower into the reaction tower; fluidized adsorbent particles and gaseous pollutants such as SO3 in the flue gas flow in the reaction tower. A chemical reaction takes place in the gasification section; then the particle adsorbent layer moving on the conical support sieve plate continues to further adsorb the residual SO 3 and other gaseous pollutants in the flue gas passing through the sieve plate while acting as a filter bed; The flue gas after adsorption and filtration of the moving bed is discharged from the top, and the fine dust can be removed by the cyclone separation device before entering the subsequent purification process. The present invention firstly utilizes the powder adsorbent for preliminary adsorption of SO3 and other gaseous pollutants in a fluidized state, and then utilizes the granular adsorbent for deep adsorption of SO3 and other gaseous pollutants in a mobile state. In addition to adsorbing gaseous pollutants such as SO 3 in the flue gas, the moving bed adsorbent can also intercept the powder adsorbent carried by the flue gas and continue to adsorb gaseous pollutants such as SO 3 in the flue gas. At the same time, the particulate adsorbent can also flow out of the adsorption tower through the guide pipe (10), and be transported to the top of the moving bed through the adsorbent conveying device (13) for circulating adsorption. The invention can significantly improve the utilization efficiency of the adsorbent and the removal efficiency of gaseous pollutants such as SO 3 , and has the function of dust removal at the same time, and can effectively remove gaseous pollutants such as SO 3 in the flue gas.
与现有技术相比,本发明具有以下一些优点:Compared with the prior art, the present invention has the following advantages:
1、本发明将流化床与移动床进行了有效的结合,既利用流化床中的粉末吸附剂对气态污染物进行高效吸附,又利用移动床中的颗粒吸附剂对气态污染物进行深度脱除,提高了气态污染物的去除效率;采用利用流化床吸附单元需要使用粉末吸附剂才能实现其流化状态,且其比表面积大,吸附速度快,吸附效率高,所以将流化吸附单元安排在下部尽可能多地吸附污染物;而颗粒吸附剂安排在上部既可以其过滤除尘作用将粉末吸附剂捕集回收,又能利用自身的特点进一步吸附烟气中的污染物,实现深度脱除;两种吸附剂都可以进行回收和循环使用,提高了吸附剂的使用效率。1. The present invention effectively combines the fluidized bed and the moving bed, which not only utilizes the powder adsorbent in the fluidized bed to efficiently adsorb the gaseous pollutants, but also utilizes the particulate adsorbent in the moving bed to deeply adsorb the gaseous pollutants. The removal of gaseous pollutants improves the removal efficiency of gaseous pollutants; the use of fluidized bed adsorption unit requires the use of powder adsorbents to achieve its fluidized state, and its specific surface area is large, the adsorption speed is fast, and the adsorption efficiency is high, so the fluidized adsorption The unit is arranged in the lower part to adsorb pollutants as much as possible; while the granular adsorbent is arranged in the upper part, it can not only capture and recycle the powder adsorbent by its filtering and dust removal effect, but also use its own characteristics to further adsorb the pollutants in the flue gas to achieve deep Removal; both adsorbents can be recovered and recycled, which improves the use efficiency of the adsorbents.
2、本发明的粉末吸附剂被烟气携带进入移动床中,被移动床中的颗粒吸附剂拦截,并随着移动床中的颗粒吸附剂一起继续对气态污染物进行吸附,提高了粉末吸附剂的利用效率,同时也起到了初步除尘的作用;2. The powder adsorbent of the present invention is carried into the moving bed by the flue gas, intercepted by the particulate adsorbent in the moving bed, and continues to adsorb gaseous pollutants together with the particulate adsorbent in the moving bed, improving the powder adsorption. It can improve the utilization efficiency of the agent, and also play the role of preliminary dust removal;
3、本发明使用的颗粒吸附剂经过导流管引出吸附塔,并通过颗粒吸附剂输送装置重新投入到吸附塔顶部,可以循环对烟气污染物进行吸附,提高了颗粒吸附剂的利用效率。3. The particulate adsorbent used in the present invention is drawn out of the adsorption tower through the guide pipe, and is re-inputted to the top of the adsorption tower through the particulate adsorbent conveying device, which can adsorb the flue gas pollutants cyclically and improve the utilization efficiency of the particulate adsorbent.
4、本发明适用于燃煤、工业锅炉、金属冶炼、水泥生产、石油化工、垃圾焚烧等多种工业烟气的气态污染物干式捕集净化处理需求。4. The present invention is suitable for dry capture and purification of gaseous pollutants in various industrial flue gases such as coal burning, industrial boilers, metal smelting, cement production, petrochemical industry, and waste incineration.
附图说明Description of drawings
图1为本发明流化床与移动床耦合的复合吸附反应装置的结构示意图。FIG. 1 is a schematic structural diagram of a composite adsorption reaction device in which a fluidized bed and a moving bed are coupled according to the present invention.
具体实施方式Detailed ways
下面结合具体附图和实施例对本发明进行详细说明。以下实施例将有助于本领域的技术人员进一步理解本发明,但不以任何形式限制本发明。应当指出的是,对本领域的普通技术人员来说,在不脱离本发明构思的前提下,还可以做出若干变形和改进。这些都属于本发明的保护范围。The present invention will be described in detail below with reference to the specific drawings and embodiments. The following examples will help those skilled in the art to further understand the present invention, but do not limit the present invention in any form. It should be noted that, for those skilled in the art, several modifications and improvements can be made without departing from the concept of the present invention. These all belong to the protection scope of the present invention.
如图1所示,一种流化床与移动床耦合的复合吸附反应装置,包括吸附装置主体1以及位于吸附装置主体1底部的进气烟箱14,所述的吸附装置主体1内设有流化床和移动床,所述的流化床包括文丘里加速管11和流化床床体,该文丘里加速管11位于进气烟箱14与流化床床体之间,并连通粉末吸附剂文丘里喷射装置12,所述的移动床包括锥形支撑筛板和颗粒吸附剂移动床,所述的颗粒吸附剂移动床安装在锥形支撑筛板上,所述的锥形支撑筛板通过导流管10连接颗粒吸附剂输送装置13。所述的锥形支撑筛板包括上锥板6和下锥板9,上锥板6和下锥板9的开口部对接,所述的颗粒吸附剂输送装置13连接上锥板6的锥底,下锥板9的锥底连接导流管10,颗粒吸附剂输送装置13将颗粒吸附剂输送至上锥板6。所述的颗粒吸附剂移动床包括上下平行设置的多层床体,各层床体固定在锥形支撑筛板上,并在各床体上设有限高环,颗粒吸附剂自上而下沿着锥形支撑筛板向下移动,落在颗粒吸附剂移动床的厚度在限高环的作用下保持在20-50mm。As shown in FIG. 1, a composite adsorption reaction device with a fluidized bed coupled with a moving bed includes an adsorption device main body 1 and an
其中,锥形支撑筛板与水平方向的倾斜角为30-60度,筛孔的大小为2-3mm,开孔率为20-60%。下锥板9通过直径为100mm的导流管10引出吸附塔,导流管与水平方向的夹角为60-80度,颗粒吸附剂为直径为5-8mm的吸附剂,以便于颗粒吸附剂的移动。所用的粉末吸附剂和颗粒吸附剂为氢氧化钠、氧化钠、碳酸钠、碳酸氢钠、氢氧化镁、氧化镁、碳酸镁、氢氧化钙、氧化钙、碳酸钙等碱性吸附剂的一种或多种组合。所述的粉末吸附剂的粒径为100-325目(直径0.150-0.045mm),颗粒吸附剂为直径为5-8mm左右,所述的烟气温度在150-450℃。所述的烟气在流化床床体的气流速度在4-10m/s,文丘里加速管处烟气流速在15-25m/s。The inclination angle between the conical support sieve plate and the horizontal direction is 30-60 degrees, the size of the sieve holes is 2-3 mm, and the opening rate is 20-60%. The lower
实施例1Example 1
本发明利用实验室的一种流化床与移动床耦合的复合吸附反应装置进行实验研究。由旋转炉窑煅烧硫化铅矿粉提供模拟的有色金属冶炼烟气,其烟气量为100Nm3/h。在旋转炉窑出口烟气经过冷却装置之后通入上述的流化床与移动床耦合的复合吸附反应装置,最后烟气经引风机通入到后续烟气深度进化设备。在旋转炉窑下游的冷却装置出口处的烟气温度保持在200℃,SO3浓度为1000mg/Nm3,粉尘浓度为1g/Nm3,烟气在流化段的气流速度为5m/s,在移动床层的过滤速度为1m/min。颗粒吸附剂在移动床的移动速度为5mm/s,粉末吸附剂在烟气中的浓度为100-300mg/m3。The present invention utilizes a compound adsorption reaction device in the laboratory which is coupled with a fluidized bed and a moving bed to conduct experimental research. The simulated non-ferrous metal smelting flue gas is provided by calcining lead sulfide ore powder in a rotary kiln, and the flue gas volume is 100Nm 3 /h. After the flue gas at the outlet of the rotary kiln passes through the cooling device, it is passed into the above-mentioned composite adsorption reaction device coupled with the fluidized bed and the moving bed, and finally the flue gas is passed through the induced draft fan to the subsequent flue gas deep evolution equipment. The temperature of the flue gas at the outlet of the cooling device downstream of the rotary kiln is kept at 200°C, the concentration of SO 3 is 1000mg/Nm 3 , the concentration of dust is 1g/Nm 3 , and the airflow velocity of the flue gas in the fluidization section is 5m/s, The filtration speed in the moving bed was 1 m/min. The moving speed of the particulate adsorbent in the moving bed is 5 mm/s, and the concentration of the powder adsorbent in the flue gas is 100-300 mg/m 3 .
实施例2Example 2
利用与实施例1相同的流化床与移动床耦合的复合吸附反应装置进行实验,烟气中的SO3浓度为1000mg/Nm3,向管道中喷入一定量的粉末吸附剂(碳酸氢钠),粉末吸附剂在烟气中的浓度为100mg/m3。颗粒吸附剂选用活性氧化铝小球(直径为3mm),颗粒吸附剂在移动床中的移动速度为5mm/s。烟气在流化段的速度为5m/s,在移动床的过滤速度为1m/min经过本发明的流化床与移动床耦合的复合吸附反应装置后,烟气粉尘浓度为0.05g/Nm3,SO3浓度为200mg/Nm3,SO3去除效率约为80%。The experiment was carried out using the same compound adsorption reaction device coupled with the fluidized bed and the moving bed as in Example 1. The concentration of SO 3 in the flue gas was 1000 mg/Nm 3 , and a certain amount of powder adsorbent (sodium bicarbonate) was sprayed into the pipeline. ), the concentration of the powder adsorbent in the flue gas is 100 mg/m 3 . Activated alumina pellets (3 mm in diameter) were selected as the particulate adsorbent, and the moving speed of the particulate adsorbent in the moving bed was 5 mm/s. The velocity of the flue gas in the fluidization section is 5m/s, and the filtration velocity of the moving bed is 1m/min. After passing through the composite adsorption reaction device of the present invention coupled with the fluidized bed and the moving bed, the dust concentration of the flue gas is 0.05g/Nm 3 , the SO 3 concentration is 200 mg/Nm 3 , and the SO 3 removal efficiency is about 80%.
实施例3Example 3
利用与实施例1相同的流化床与移动床耦合的复合吸附反应装置进行实验,烟气中的SO3浓度为1000mg/Nm3,向管道中喷入一定量的粉末吸附剂(碳酸氢钠),粉末吸附剂在烟气中的浓度为200mg/m3。颗粒吸附剂选用活性氧化铝小球(直径为3mm),颗粒吸附剂在移动床中的移动速度为5mm/s。烟气在流化段的速度为5m/s,在移动床的过滤速度为1m/min经过本发明的流化床与移动床耦合的复合吸附反应装置后,烟气粉尘浓度为0.05g/Nm3,SO3浓度为80mg/Nm3,SO3去除效率约为92%。The experiment was carried out using the same compound adsorption reaction device coupled with the fluidized bed and the moving bed as in Example 1. The concentration of SO 3 in the flue gas was 1000 mg/Nm 3 , and a certain amount of powder adsorbent (sodium bicarbonate) was sprayed into the pipeline. ), the concentration of the powder adsorbent in the flue gas is 200 mg/m 3 . Activated alumina pellets (3 mm in diameter) were selected as the particulate adsorbent, and the moving speed of the particulate adsorbent in the moving bed was 5 mm/s. The velocity of the flue gas in the fluidization section is 5m/s, and the filtration velocity of the moving bed is 1m/min. After passing through the composite adsorption reaction device of the present invention coupled with the fluidized bed and the moving bed, the dust concentration of the flue gas is 0.05g/Nm 3 , the SO 3 concentration is 80 mg/Nm 3 , and the SO 3 removal efficiency is about 92%.
Claims (10)
Priority Applications (1)
| Application Number | Priority Date | Filing Date | Title |
|---|---|---|---|
| CN202010524589.0A CN111729504A (en) | 2020-06-10 | 2020-06-10 | A composite adsorption reaction device coupled with a fluidized bed and a moving bed and its application |
Applications Claiming Priority (1)
| Application Number | Priority Date | Filing Date | Title |
|---|---|---|---|
| CN202010524589.0A CN111729504A (en) | 2020-06-10 | 2020-06-10 | A composite adsorption reaction device coupled with a fluidized bed and a moving bed and its application |
Publications (1)
| Publication Number | Publication Date |
|---|---|
| CN111729504A true CN111729504A (en) | 2020-10-02 |
Family
ID=72648806
Family Applications (1)
| Application Number | Title | Priority Date | Filing Date |
|---|---|---|---|
| CN202010524589.0A Pending CN111729504A (en) | 2020-06-10 | 2020-06-10 | A composite adsorption reaction device coupled with a fluidized bed and a moving bed and its application |
Country Status (1)
| Country | Link |
|---|---|
| CN (1) | CN111729504A (en) |
Cited By (4)
| Publication number | Priority date | Publication date | Assignee | Title |
|---|---|---|---|---|
| CN112933911A (en) * | 2021-03-08 | 2021-06-11 | 上海交通大学 | Moving bed desulfurization system based on flue gas semidry desulfurization and application thereof |
| CN112933848A (en) * | 2021-02-26 | 2021-06-11 | 常春振 | A glance coal clarification plant for highway engineering construction usefulness |
| CN115957605A (en) * | 2021-10-09 | 2023-04-14 | 北京科技大学 | A flue gas deacidification tower |
| CN120094352A (en) * | 2025-05-09 | 2025-06-06 | 山东瑞龙环保科技有限公司 | An integrated defluorination and dust removal device for electrolytic aluminum flue gas treatment |
Citations (7)
| Publication number | Priority date | Publication date | Assignee | Title |
|---|---|---|---|---|
| US20030175194A1 (en) * | 2000-08-01 | 2003-09-18 | Enviroscrub Technologies Corporation | System and process for removal of pollutants from a gas stream |
| CN1546218A (en) * | 2003-12-05 | 2004-11-17 | 清华大学 | Fast Fluidized Bed Reactor for Particle-Gas Countercurrent Contact |
| CN1820819A (en) * | 2006-01-20 | 2006-08-23 | 史鱼海 | Coupling multistage device with active carbon purifying waste gas |
| CN101310831A (en) * | 2007-05-21 | 2008-11-26 | 威海市正大环保设备有限公司 | Carbon roasting smoke dust dry purification method and device |
| CN103596664A (en) * | 2011-12-22 | 2014-02-19 | Posco公司 | Apparatus for reducing carbon dioxide by using molten slag |
| CN108499315A (en) * | 2018-04-02 | 2018-09-07 | 中电环保股份有限公司 | Integrated apparatus and method for removing non-ferrous metal metallurgy relieving haperacidity sulfureous in flue gas oxide and heavy metal |
| CN111085092A (en) * | 2020-02-12 | 2020-05-01 | 福建龙净脱硫脱硝工程有限公司 | Desulfurization and dust removal device and desulfurization and dust removal method for gas boiler |
-
2020
- 2020-06-10 CN CN202010524589.0A patent/CN111729504A/en active Pending
Patent Citations (7)
| Publication number | Priority date | Publication date | Assignee | Title |
|---|---|---|---|---|
| US20030175194A1 (en) * | 2000-08-01 | 2003-09-18 | Enviroscrub Technologies Corporation | System and process for removal of pollutants from a gas stream |
| CN1546218A (en) * | 2003-12-05 | 2004-11-17 | 清华大学 | Fast Fluidized Bed Reactor for Particle-Gas Countercurrent Contact |
| CN1820819A (en) * | 2006-01-20 | 2006-08-23 | 史鱼海 | Coupling multistage device with active carbon purifying waste gas |
| CN101310831A (en) * | 2007-05-21 | 2008-11-26 | 威海市正大环保设备有限公司 | Carbon roasting smoke dust dry purification method and device |
| CN103596664A (en) * | 2011-12-22 | 2014-02-19 | Posco公司 | Apparatus for reducing carbon dioxide by using molten slag |
| CN108499315A (en) * | 2018-04-02 | 2018-09-07 | 中电环保股份有限公司 | Integrated apparatus and method for removing non-ferrous metal metallurgy relieving haperacidity sulfureous in flue gas oxide and heavy metal |
| CN111085092A (en) * | 2020-02-12 | 2020-05-01 | 福建龙净脱硫脱硝工程有限公司 | Desulfurization and dust removal device and desulfurization and dust removal method for gas boiler |
Cited By (4)
| Publication number | Priority date | Publication date | Assignee | Title |
|---|---|---|---|---|
| CN112933848A (en) * | 2021-02-26 | 2021-06-11 | 常春振 | A glance coal clarification plant for highway engineering construction usefulness |
| CN112933911A (en) * | 2021-03-08 | 2021-06-11 | 上海交通大学 | Moving bed desulfurization system based on flue gas semidry desulfurization and application thereof |
| CN115957605A (en) * | 2021-10-09 | 2023-04-14 | 北京科技大学 | A flue gas deacidification tower |
| CN120094352A (en) * | 2025-05-09 | 2025-06-06 | 山东瑞龙环保科技有限公司 | An integrated defluorination and dust removal device for electrolytic aluminum flue gas treatment |
Similar Documents
| Publication | Publication Date | Title |
|---|---|---|
| CN111729504A (en) | A composite adsorption reaction device coupled with a fluidized bed and a moving bed and its application | |
| WO2018000857A1 (en) | Flue gas desulfurization and denitrification method and device | |
| CN108636098A (en) | A kind of the minimum discharge purifier and its method of burning city domestic garbage flue gas | |
| CN102380308A (en) | Sintering flue gas desulfurization and purification method and equipment | |
| CN111773915B (en) | Flue gas dry desulfurization process | |
| CN107551756A (en) | Prevent the flue gas desulfurization and denitration method and device of corrosion | |
| CN112933911B (en) | A moving bed desulfurization system based on flue gas semi-dry desulfurization and its application | |
| CN104740983A (en) | Method and device for performing combined removal on boiler flue gas particulates and heavy metals | |
| CN108837677A (en) | A kind for the treatment of process and its device of sintering flue gas minimum discharge | |
| CN104437069A (en) | Desulfurization and dust-removal device and desulfurization and dust-removal method of membrane separation circulating fluidized bed | |
| CN102716635A (en) | Method and system for simultaneously removing heavy metals and fine particle matters in smoke | |
| CN204469531U (en) | Membrane separation circulating fluid bed desulfation dust-extraction device | |
| CN112675698B (en) | A separate chamber turbulent bed desulfurization, denitrification and dust removal device and its process | |
| CN112275139A (en) | Exhaust gas treatment method and apparatus | |
| WO2005030641A1 (en) | Highly activated coke powder and process for producing the same | |
| CN1137759C (en) | Method and device for comprehensive purification of waste incineration tail gas | |
| CN104353325A (en) | Device and method for removing mercury from boiler flue gas of power station | |
| CN206240259U (en) | A kind of flue gas desulfurization and denitrification device | |
| CN206240258U (en) | Prevent the flue gas desulfurization and denitrification device of corrosion | |
| CN102716622B (en) | Integrated bag-type dust removal and fluidized adsorption device | |
| CN104154764B (en) | A kind of method for Electric purification stove flue gas two English and dust granules and purifier thereof | |
| CN202173882U (en) | Device for removing sulfur dioxide and dioxin in sintering flue gas | |
| CN210495771U (en) | A comprehensive utilization of activated carbon desulfurization and denitrification system | |
| CN204543944U (en) | A kind ofly combine the device removed with heavy metal for boiler smoke particle | |
| CN102512901B (en) | Composite dust-removing and collaborative desulfurization and denitration device capable of wetting flue gas |
Legal Events
| Date | Code | Title | Description |
|---|---|---|---|
| PB01 | Publication | ||
| PB01 | Publication | ||
| SE01 | Entry into force of request for substantive examination | ||
| SE01 | Entry into force of request for substantive examination | ||
| RJ01 | Rejection of invention patent application after publication |
Application publication date: 20201002 |
|
| RJ01 | Rejection of invention patent application after publication |
