CN111570272A - A sand screening device for land development and use in industrial agglomeration areas - Google Patents
A sand screening device for land development and use in industrial agglomeration areas Download PDFInfo
- Publication number
- CN111570272A CN111570272A CN202010495362.8A CN202010495362A CN111570272A CN 111570272 A CN111570272 A CN 111570272A CN 202010495362 A CN202010495362 A CN 202010495362A CN 111570272 A CN111570272 A CN 111570272A
- Authority
- CN
- China
- Prior art keywords
- plate
- welded
- box body
- screening device
- sand
- Prior art date
- Legal status (The legal status is an assumption and is not a legal conclusion. Google has not performed a legal analysis and makes no representation as to the accuracy of the status listed.)
- Pending
Links
Images
Classifications
-
- B—PERFORMING OPERATIONS; TRANSPORTING
- B07—SEPARATING SOLIDS FROM SOLIDS; SORTING
- B07B—SEPARATING SOLIDS FROM SOLIDS BY SIEVING, SCREENING, SIFTING OR BY USING GAS CURRENTS; SEPARATING BY OTHER DRY METHODS APPLICABLE TO BULK MATERIAL, e.g. LOOSE ARTICLES FIT TO BE HANDLED LIKE BULK MATERIAL
- B07B1/00—Sieving, screening, sifting, or sorting solid materials using networks, gratings, grids, or the like
- B07B1/28—Moving screens not otherwise provided for, e.g. swinging, reciprocating, rocking, tilting or wobbling screens
-
- B—PERFORMING OPERATIONS; TRANSPORTING
- B07—SEPARATING SOLIDS FROM SOLIDS; SORTING
- B07B—SEPARATING SOLIDS FROM SOLIDS BY SIEVING, SCREENING, SIFTING OR BY USING GAS CURRENTS; SEPARATING BY OTHER DRY METHODS APPLICABLE TO BULK MATERIAL, e.g. LOOSE ARTICLES FIT TO BE HANDLED LIKE BULK MATERIAL
- B07B1/00—Sieving, screening, sifting, or sorting solid materials using networks, gratings, grids, or the like
- B07B1/42—Drive mechanisms, regulating or controlling devices, or balancing devices, specially adapted for screens
-
- B—PERFORMING OPERATIONS; TRANSPORTING
- B07—SEPARATING SOLIDS FROM SOLIDS; SORTING
- B07B—SEPARATING SOLIDS FROM SOLIDS BY SIEVING, SCREENING, SIFTING OR BY USING GAS CURRENTS; SEPARATING BY OTHER DRY METHODS APPLICABLE TO BULK MATERIAL, e.g. LOOSE ARTICLES FIT TO BE HANDLED LIKE BULK MATERIAL
- B07B1/00—Sieving, screening, sifting, or sorting solid materials using networks, gratings, grids, or the like
- B07B1/46—Constructional details of screens in general; Cleaning or heating of screens
Landscapes
- Combined Means For Separation Of Solids (AREA)
Abstract
本发明属于工业集聚土木工程设备领域,尤其是一种用于工业集聚区的土地开发使用的筛沙装置,针对现有的筛沙装置效率较低,并且不便于将筛板下方的沙子清理出来的问题,现提出如下方案,其包括顶部和底部均设置开口的处理箱,所述处理箱的两侧均开设有滑孔,滑孔内滑动安装有滑板,两个滑板相互靠近的一侧固定连接有同一个盒体,盒体的顶部和底部均设置开口,盒体的两侧均焊接有两个第一弹簧,位于同一水平轴线上的两个第一弹簧相互远离的一端分别焊接于处理箱的两侧内壁上,盒体上开设有转孔,转孔内转动安装有转轴。本发明有效的提高筛选的效率,并且方便将筛板下方的沙子清理出来,操作简单。
The invention belongs to the field of industrial agglomeration civil engineering equipment, in particular to a sand screening device used for land development and use in industrial agglomeration areas. The existing sand screening device has low efficiency and is inconvenient to clean out the sand under the screen plate. Now, the following solution is proposed, which includes a processing box with openings at the top and bottom, sliding holes are opened on both sides of the processing box, sliding plates are slidably installed in the sliding holes, and the sides of the two sliding plates close to each other are fixed. Connected to the same box body, the top and bottom of the box body are provided with openings, two first springs are welded on both sides of the box body, and the ends of the two first springs located on the same horizontal axis that are far away from each other are respectively welded to the processing unit. On the inner walls of both sides of the box, the box body is provided with a rotating hole, and a rotating shaft is rotatably installed in the rotating hole. The invention can effectively improve the screening efficiency, and it is convenient to clean out the sand under the screen plate, and the operation is simple.
Description
技术领域technical field
本发明涉及工业集聚土木工程设备技术领域,尤其涉及一种用于工业集聚区的土地开发使用的筛沙装置。The invention relates to the technical field of industrial agglomeration civil engineering equipment, in particular to a sand screening device used for land development and use in industrial agglomeration areas.
背景技术Background technique
工业集聚区生产中:土木工程是建造各类工程设施的科学技术的统称,在土木工程实施的过程中,经常需要使用到沙子、水泥等常见的建筑材料,材料的质量直接影响建筑的质量。In the production of industrial agglomeration areas: Civil engineering is a general term for the science and technology of building various engineering facilities. During the implementation of civil engineering, common building materials such as sand and cement are often used. The quality of the materials directly affects the quality of the building.
目前的筛沙装置效率较低,并且不便于将筛板下方的沙子清理出来。The current sand screening device has low efficiency, and it is inconvenient to clean out the sand under the screen plate.
发明内容SUMMARY OF THE INVENTION
本发明的目的是为了解决现有技术中存在筛沙装置效率较低,并且不便于将筛板下方的沙子清理出来的缺点,而提出的一种用于工业集聚区的土地开发使用的筛沙装置。The purpose of the present invention is to solve the shortcomings of the prior art that the sand screening device has low efficiency and is inconvenient to remove the sand under the screen plate, and proposes a sand screen for land development in industrial agglomeration areas. device.
为了实现上述目的,本发明采用了如下技术方案:In order to achieve the above object, the present invention adopts the following technical solutions:
一种用于工业集聚区的土地开发使用的筛沙装置,包括顶部和底部均设置开口的处理箱,所述处理箱的两侧均开设有滑孔,滑孔内滑动安装有滑板,两个滑板相互靠近的一侧固定连接有同一个盒体,盒体的顶部和底部均设置开口,盒体的两侧均焊接有两个第一弹簧,位于同一水平轴线上的两个第一弹簧相互远离的一端分别焊接于处理箱的两侧内壁上,盒体上开设有转孔,转孔内转动安装有转轴,转轴的外侧固定套设有两个转板,两个转板的一侧固定连接有同一个密封板,密封板的顶部开设有安装孔,安装孔内固定连接有筛板,盒体的一侧开设有牵引槽,牵引槽内滑动安装有牵引板,牵引板的一侧焊接有拉板,拉板的一侧焊接有限定板,盒体的一侧开设有限定槽,限定板与限定槽相卡装,拉板的一侧焊接有两个第二弹簧,第二弹簧与盒体的一端相焊接,处理箱的一侧固定连接有安装板,安装板的顶部固定连接有驱动电机,驱动电机的输出轴上焊接有驱动轴,处理箱的一侧焊接有侧板,侧板的顶部开设有第一孔,第一孔内固定连接有第一轴承,驱动轴固定安装于第一轴承的内圈,驱动轴的外侧固定套设有凸轮,凸轮与一个滑板相接触,驱动轴的底端焊接有第一锥形齿轮,处理箱的底部两侧均焊接有支撑板,支撑板上开设有第二孔,第二孔内固定连接有第二轴承,两个第二轴承的内圈固定连接有同一个横轴,横轴的外侧焊接有多个推沙板,横轴的一端焊接有第二锥形齿轮,第一锥形齿轮与第二锥形齿轮相啮合,第一锥形齿轮与第二锥形齿轮的传动比为10:1。A sand screening device used for land development and use in industrial agglomeration areas, including a treatment box with openings at the top and bottom, sliding holes are opened on both sides of the treatment box, and sliding plates are slidably installed in the sliding holes. One side of the slide plate close to each other is fixedly connected with the same box body, the top and bottom of the box body are provided with openings, two first springs are welded on both sides of the box body, and the two first springs located on the same horizontal axis are mutually The far away ends are welded to the inner walls of the processing box on both sides respectively. The box body is provided with a rotating hole, and a rotating shaft is rotatably installed in the rotating hole. The outer fixed sleeve of the rotating shaft is provided with two rotating plates, and one side of the two rotating plates is fixed The same sealing plate is connected, the top of the sealing plate is provided with a mounting hole, a sieve plate is fixedly connected in the mounting hole, a traction groove is opened on one side of the box body, a traction plate is slidably installed in the traction groove, and one side of the traction plate is welded There is a pull plate, one side of the pull plate is welded with a limiting plate, one side of the box body is provided with a limiting groove, the limiting plate and the limiting groove are clamped, and two second springs are welded on one side of the pull plate, and the second spring is connected with the second spring. One end of the box body is welded, one side of the processing box is fixedly connected with a mounting plate, the top of the mounting plate is fixedly connected with a driving motor, the output shaft of the driving motor is welded with a driving shaft, one side of the processing box is welded with a side plate, and a side plate is welded on one side of the processing box. The top of the plate is provided with a first hole, the first hole is fixedly connected with a first bearing, the drive shaft is fixedly installed on the inner ring of the first bearing, the outer side of the drive shaft is fixedly sleeved with a cam, and the cam is in contact with a sliding plate to drive The bottom end of the shaft is welded with a first bevel gear, the bottom of the processing box is welded with support plates on both sides, the support plate is provided with a second hole, the second hole is fixedly connected with a second bearing, and the two second bearings are The inner ring is fixedly connected with the same horizontal shaft, the outer side of the horizontal shaft is welded with a plurality of sand pushing plates, one end of the horizontal shaft is welded with a second bevel gear, the first bevel gear is meshed with the second bevel gear, the first bevel gear is The gear ratio of the bevel gear to the second bevel gear is 10:1.
优选的,所述处理箱的顶部两侧均焊接有竖板,两个竖板相互靠近的一侧顶部均焊接有横板,两个横板相互靠近的一侧固定连接有同一个进料斗,便于进料。Preferably, vertical plates are welded on both sides of the top of the processing box, a horizontal plate is welded on the top of one side of the two vertical plates that are close to each other, and the same feeding hopper is fixedly connected to one side of the two horizontal plates that are close to each other. , easy to feed.
优选的,所述安装板的顶部开设有通孔,驱动轴的底端贯穿通孔。Preferably, the top of the mounting plate is provided with a through hole, and the bottom end of the drive shaft passes through the through hole.
优选的,所述拉板的一侧焊接有第一把手。Preferably, a first handle is welded on one side of the pull plate.
优选的,所述密封板的底部焊接有第二把手。Preferably, a second handle is welded to the bottom of the sealing plate.
优选的,所述密封板与盒体的底部开口密封接触,对盒体的底部开口进行密封。Preferably, the sealing plate is in sealing contact with the bottom opening of the box body to seal the bottom opening of the box body.
优选的,所述推沙板的数量为两个,将筛板下方的沙子清理出来。Preferably, the number of the sand pushing plates is two, and the sand under the sieve plate is cleaned out.
优选的,所述盒体位于两个转板之间。Preferably, the box body is located between the two turning plates.
本发明中,所述一种用于工业集聚区的土地开发使用的筛沙装置,当需要进行筛沙处理时,将沙子通过进料斗加入到盒体内,然后启动驱动电机,驱动轴带动凸轮进行转动,凸轮挤压一个滑板带动滑板进行移动,滑板带动盒体进行移动,盒体分别对两侧的第一弹簧进行挤压和拉伸,在凸轮持续的转动下,能够使得盒体在横向来回进行移动,实现对沙子进行筛选;In the present invention, for the sand screening device used for land development in industrial agglomeration areas, when sand screening needs to be performed, sand is added into the box through a feeding hopper, and then the drive motor is started, and the drive shaft drives the cam To rotate, the cam squeezes a sliding plate to drive the sliding plate to move, the sliding plate drives the box body to move, and the box body squeezes and stretches the first springs on both sides respectively. Move back and forth to screen the sand;
驱动轴带动第一锥形齿轮进行转动,第二锥形齿轮带动横轴进行转动,横轴带动推沙板进行转动,推沙板对沙子进行推动,将筛选下的沙子推出来,筛选完成后,拉动第一把手,拉板带动牵引板进行移动,拉板对第二弹簧进行拉伸,拉板带动限定板进行移动,使得限定板移出限定槽,然后拉动第二把手,密封板带动筛板进行转动,密封板带动转板进行转动,转板带动转轴进行转动,将过滤后的杂物取出。The drive shaft drives the first bevel gear to rotate, the second bevel gear drives the horizontal shaft to rotate, the horizontal shaft drives the sand pusher to rotate, the sand pusher pushes the sand, and pushes out the filtered sand. , Pull the first handle, the pull plate drives the traction plate to move, the pull plate stretches the second spring, the pull plate drives the limiting plate to move, so that the limiting plate moves out of the limiting groove, and then pulls the second handle, the sealing plate drives the sieve plate to move Rotation, the sealing plate drives the rotating plate to rotate, the rotating plate drives the rotating shaft to rotate, and the filtered sundries are taken out.
本发明有效的提高筛选的效率,并且方便将筛板下方的沙子清理出来,操作简单。The present invention effectively improves the screening efficiency, facilitates cleaning out the sand under the screen plate, and is simple to operate.
附图说明Description of drawings
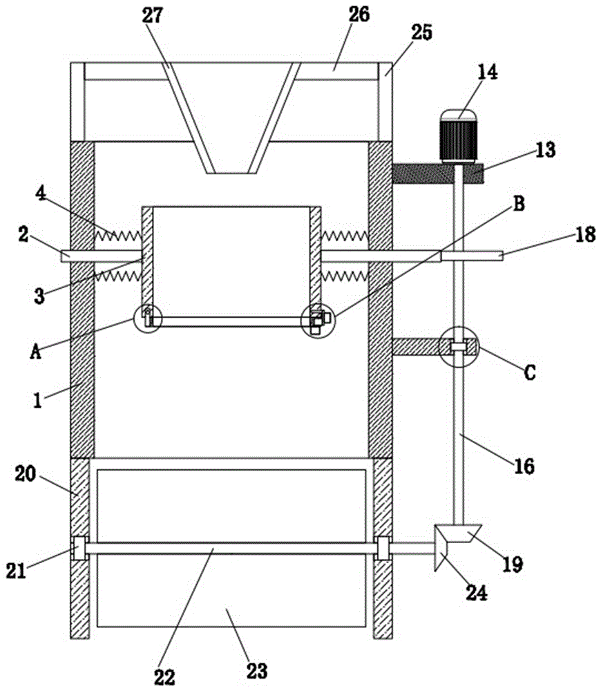
图1为本发明提出的一种用于工业集聚区的土地开发使用的筛沙装置的结构示意图;1 is a schematic structural diagram of a sand screening device proposed by the present invention for land development and use in industrial agglomeration areas;
图2为本发明提出的一种用于工业集聚区的土地开发使用的筛沙装置的A部分的结构示意图;2 is a schematic structural diagram of part A of a sand screening device for land development and use in industrial agglomeration areas proposed by the present invention;
图3为本发明提出的一种用于工业集聚区的土地开发使用的筛沙装置的B部分的结构示意图;3 is a schematic structural diagram of part B of a sand screening device for land development and use in industrial agglomeration areas proposed by the present invention;
图4为本发明提出的一种用于工业集聚区的土地开发使用的筛沙装置的C部分的结构示意图;4 is a schematic structural diagram of part C of a sand screening device for land development and use in industrial agglomeration areas proposed by the present invention;
图5为本发明提出的一种用于工业集聚区的土地开发使用的筛沙装置的转轴与转板连接部分的侧视结构示意图。FIG. 5 is a schematic side view of the structure of the connecting part of the rotating shaft and the rotating plate of a sand screening device for land development and use in an industrial agglomeration area proposed by the present invention.
图中:1、处理箱;2、滑板;3、盒体;4、第一弹簧;5、转轴;6、转板;7、密封板;8、筛板;9、牵引板;10、拉板;11、限定板;12、第二弹簧;13、安装板;14、驱动电机;15、侧板;16、驱动轴;17、第一轴承;18、凸轮;19、第一锥形齿轮;20、支撑板;21、第二轴承;22、横轴;23、推沙板;24、第二锥形齿轮;25、竖板;26、横板;27、进料斗。In the figure: 1, processing box; 2, slide plate; 3, box body; 4, first spring; 5, rotating shaft; 6, rotating plate; 7, sealing plate; 8, screen plate; 9, traction plate; 10, pull plate; 11, limiting plate; 12, second spring; 13, mounting plate; 14, drive motor; 15, side plate; 16, drive shaft; 17, first bearing; 18, cam; 19,
具体实施方式Detailed ways
下面将结合本发明实施例中的附图,对本发明实施例中的技术方案进行清楚、完整地描述,显然,所描述的实施例仅仅是本发明一部分实施例,而不是全部的实施例。The technical solutions in the embodiments of the present invention will be clearly and completely described below with reference to the accompanying drawings in the embodiments of the present invention. Obviously, the described embodiments are only a part of the embodiments of the present invention, but not all of the embodiments.
参照图1-5,一种用于工业集聚区的土地开发使用的筛沙装置,包括顶部和底部均设置开口的处理箱1,处理箱1的两侧均开设有滑孔,滑孔内滑动安装有滑板2,两个滑板2相互靠近的一侧固定连接有同一个盒体3,盒体3的顶部和底部均设置开口,盒体3的两侧均焊接有两个第一弹簧4,位于同一水平轴线上的两个第一弹簧4相互远离的一端分别焊接于处理箱1的两侧内壁上,盒体3上开设有转孔,转孔内转动安装有转轴5,转轴5的外侧固定套设有两个转板6,两个转板6的一侧固定连接有同一个密封板7,密封板7的顶部开设有安装孔,安装孔内固定连接有筛板8,盒体3的一侧开设有牵引槽,牵引槽内滑动安装有牵引板9,牵引板9的一侧焊接有拉板10,拉板10的一侧焊接有限定板11,盒体3的一侧开设有限定槽,限定板11与限定槽相卡装,拉板10的一侧焊接有两个第二弹簧12,第二弹簧12与盒体3的一端相焊接,处理箱1的一侧固定连接有安装板13,安装板13的顶部固定连接有驱动电机14,驱动电机14的输出轴上焊接有驱动轴16,处理箱1的一侧焊接有侧板15,侧板15的顶部开设有第一孔,第一孔内固定连接有第一轴承17,驱动轴16固定安装于第一轴承17的内圈,驱动轴16的外侧固定套设有凸轮18,凸轮18与一个滑板2相接触,驱动轴16的底端焊接有第一锥形齿轮19,处理箱1的底部两侧均焊接有支撑板20,支撑板20上开设有第二孔,第二孔内固定连接有第二轴承21,两个第二轴承21的内圈固定连接有同一个横轴22,横轴22的外侧焊接有多个推沙板23,横轴22的一端焊接有第二锥形齿轮24,第一锥形齿轮19与第二锥形齿轮24相啮合,第一锥形齿轮19与第二锥形齿轮24的传动比为10:1。Referring to Figures 1-5, a sand screening device used for land development and use in industrial agglomeration areas includes a
本发明中,处理箱1的顶部两侧均焊接有竖板25,两个竖板25相互靠近的一侧顶部均焊接有横板26,两个横板26相互靠近的一侧固定连接有同一个进料斗27,便于进料。In the present invention, the
本发明中,安装板13的顶部开设有通孔,驱动轴16的底端贯穿通孔。In the present invention, the top of the
本发明中,拉板10的一侧焊接有第一把手。In the present invention, a first handle is welded on one side of the
本发明中,密封板7的底部焊接有第二把手。In the present invention, the bottom of the
本发明中,密封板7与盒体3的底部开口密封接触,对盒体3的底部开口进行密封。In the present invention, the
本发明中,推沙板23的数量为两个,将筛板8下方的沙子清理出来。In the present invention, the number of
本发明中,盒体3位于两个转板6之间。In the present invention, the
本发明中,当需要进行筛沙处理时,将沙子通过进料斗27加入到盒体3内,然后启动驱动电机14,驱动电机14通过控制开关进行控制,驱动电机14通过市电进行供电,驱动电机14的输出轴带动驱动轴16进行转动,驱动轴16带动凸轮18进行转动,凸轮18挤压一个滑板2带动滑板2进行移动,滑板2带动盒体3进行移动,盒体3分别对两侧的第一弹簧4进行挤压和拉伸,在凸轮18持续的转动下,能够使得盒体3在横向来回进行移动,实现对沙子进行筛选,驱动轴16带动第一锥形齿轮19进行转动,第一锥形齿轮19带动第二锥形齿轮24进行转动,第二锥形齿轮24带动横轴22进行转动,横轴22带动推沙板23进行转动,推沙板23对沙子进行推动,将筛选下的沙子推出来,筛选完成后,拉动第一把手,第一把手带动拉板10进行移动,拉板10带动牵引板9进行移动,拉板10对第二弹簧12进行拉伸,拉板10带动限定板11进行移动,使得限定板11移出限定槽,然后拉动第二把手,第二把手带动密封板7进行转动,密封板7带动筛板8进行转动,密封板7带动转板6进行转动,转板6带动转轴5进行转动,将过滤后的杂物取出。In the present invention, when sand screening needs to be performed, the sand is added into the
以上显示和描述了本发明的基本原理和主要特征和本发明的优点,对于本领域技术人员而言,显然本发明不限于上述示范性实施例的细节,而且在不背离本发明的精神或基本特征的情况下,能够以其他的具体形式实现本发明。因此,无论从哪一点来看,均应将实施例看作是示范性的,而且是非限制性的,本发明的范围由所附权利要求而不是上述说明限定,因此旨在将落在权利要求的等同要件的含义和范围内的所有变化囊括在本发明内。不应将权利要求中的任何附图标记视为限制所涉及的权利要求。While the basic principles and main features and advantages of the present invention have been shown and described above, it will be apparent to those skilled in the art that the present invention is not limited to the details of the above-described exemplary embodiments, but without departing from the spirit or essential aspects of the present invention. In the case of the characteristic features, the present invention can be implemented in other specific forms. Therefore, the embodiments are to be regarded in all respects as illustrative and not restrictive, and the scope of the invention is to be defined by the appended claims rather than the foregoing description, which are therefore intended to fall within the scope of the claims. All changes within the meaning and scope of the equivalents of , are included in the present invention. Any reference signs in the claims shall not be construed as limiting the involved claim.
此外,应当理解,虽然本说明书按照实施方式加以描述,但并非每个实施方式仅包含一个独立的技术方案,说明书的这种叙述方式仅仅是为清楚起见,本领域技术人员应当将说明书作为一个整体,各实施例中的技术方案也可以经适当组合,形成本领域技术人员可以理解的其他实施方式。In addition, it should be understood that although this specification is described in terms of embodiments, not each embodiment only includes an independent technical solution, and this description in the specification is only for the sake of clarity, and those skilled in the art should take the specification as a whole , the technical solutions in each embodiment can also be appropriately combined to form other implementations that can be understood by those skilled in the art.
Claims (8)
Priority Applications (1)
| Application Number | Priority Date | Filing Date | Title |
|---|---|---|---|
| CN202010495362.8A CN111570272A (en) | 2020-06-03 | 2020-06-03 | A sand screening device for land development and use in industrial agglomeration areas |
Applications Claiming Priority (1)
| Application Number | Priority Date | Filing Date | Title |
|---|---|---|---|
| CN202010495362.8A CN111570272A (en) | 2020-06-03 | 2020-06-03 | A sand screening device for land development and use in industrial agglomeration areas |
Publications (1)
| Publication Number | Publication Date |
|---|---|
| CN111570272A true CN111570272A (en) | 2020-08-25 |
Family
ID=72122224
Family Applications (1)
| Application Number | Title | Priority Date | Filing Date |
|---|---|---|---|
| CN202010495362.8A Pending CN111570272A (en) | 2020-06-03 | 2020-06-03 | A sand screening device for land development and use in industrial agglomeration areas |
Country Status (1)
| Country | Link |
|---|---|
| CN (1) | CN111570272A (en) |
Cited By (1)
| Publication number | Priority date | Publication date | Assignee | Title |
|---|---|---|---|---|
| CN112642693A (en) * | 2020-09-21 | 2021-04-13 | 魏火娣 | But multistage screening's gravel and sand sieving mechanism for building |
Citations (7)
| Publication number | Priority date | Publication date | Assignee | Title |
|---|---|---|---|---|
| US20050274654A1 (en) * | 2004-04-15 | 2005-12-15 | Sukovaty Louis G | Method and apparatus for sifting soil |
| CN205496001U (en) * | 2016-03-21 | 2016-08-24 | 张金辉 | Mechatronic two -stage screening sieve device |
| CN208004302U (en) * | 2018-01-22 | 2018-10-26 | 蓝山县金山川粉末冶金有限公司 | A kind of rocking type Sand screen |
| CN208245134U (en) * | 2018-02-05 | 2018-12-18 | 贵州天刺力食品科技有限责任公司 | A kind of Single Roxburgh Rose Fruit sieving-washing machine |
| CN110152984A (en) * | 2019-05-14 | 2019-08-23 | 张伟华 | A kind of agricultural rapeseed screening installation |
| CN210333301U (en) * | 2019-05-27 | 2020-04-17 | 云南锦云建设工程有限公司 | Sand screening machine for constructional engineering |
| CN210497209U (en) * | 2019-09-16 | 2020-05-12 | 王彬 | Sand leakage device for construction of building roads and bridges |
-
2020
- 2020-06-03 CN CN202010495362.8A patent/CN111570272A/en active Pending
Patent Citations (7)
| Publication number | Priority date | Publication date | Assignee | Title |
|---|---|---|---|---|
| US20050274654A1 (en) * | 2004-04-15 | 2005-12-15 | Sukovaty Louis G | Method and apparatus for sifting soil |
| CN205496001U (en) * | 2016-03-21 | 2016-08-24 | 张金辉 | Mechatronic two -stage screening sieve device |
| CN208004302U (en) * | 2018-01-22 | 2018-10-26 | 蓝山县金山川粉末冶金有限公司 | A kind of rocking type Sand screen |
| CN208245134U (en) * | 2018-02-05 | 2018-12-18 | 贵州天刺力食品科技有限责任公司 | A kind of Single Roxburgh Rose Fruit sieving-washing machine |
| CN110152984A (en) * | 2019-05-14 | 2019-08-23 | 张伟华 | A kind of agricultural rapeseed screening installation |
| CN210333301U (en) * | 2019-05-27 | 2020-04-17 | 云南锦云建设工程有限公司 | Sand screening machine for constructional engineering |
| CN210497209U (en) * | 2019-09-16 | 2020-05-12 | 王彬 | Sand leakage device for construction of building roads and bridges |
Cited By (2)
| Publication number | Priority date | Publication date | Assignee | Title |
|---|---|---|---|---|
| CN112642693A (en) * | 2020-09-21 | 2021-04-13 | 魏火娣 | But multistage screening's gravel and sand sieving mechanism for building |
| CN112642693B (en) * | 2020-09-21 | 2022-09-30 | 魏火娣 | But multistage screening's gravel and sand sieving mechanism for building |
Similar Documents
| Publication | Publication Date | Title |
|---|---|---|
| CN211801117U (en) | Screening plant is used in soil restoration with broken mechanism | |
| CN108854907B (en) | Polyurethane elastomer prepolymer synthesizer | |
| CN118324256B (en) | High-efficiency electrolysis device for wastewater treatment | |
| CN113182164A (en) | Good and bad rice screening installation | |
| CN111570272A (en) | A sand screening device for land development and use in industrial agglomeration areas | |
| CN210057695U (en) | Vibrating screen with environment-friendly dust removal device | |
| CN107485912A (en) | A kind of environment-friendly type cleaning apparatus for self for sewage water filtration | |
| CN112974226A (en) | Graphite screening machine with dust absorption function | |
| CN205518534U (en) | Can clear up cylinder device of mesh automatically | |
| CN110292992B (en) | A slag remover for collecting magnetic slag | |
| CN204582702U (en) | A kind of rotation net cage filter | |
| CN210751616U (en) | Primary filtering device for industrial wastewater treatment | |
| CN209810646U (en) | Pharmacy department is with traditional chinese medicine screening cleaning device | |
| CN209498513U (en) | A kind of algae processing cleaning device with screening function | |
| CN218691562U (en) | High-efficient classified screening device of walnut | |
| CN212188079U (en) | An anti-clogging rural sewage treatment device | |
| CN215208842U (en) | An anti-clogging sewage treatment equipment | |
| CN211635449U (en) | Microporous filter | |
| CN108160467A (en) | A kind of packaged type shakes screening machine | |
| CN223367172U (en) | A device for recovering metal from construction waste | |
| CN223547802U (en) | A disk self-cleaning magnetic water treatment device | |
| CN208130702U (en) | A kind of feed-processing plant's cleaner | |
| CN209423086U (en) | A kind of chemical industry is convenient to clean the filter device of filter residue | |
| CN211887390U (en) | Waste treatment equipment for building site | |
| CN220309819U (en) | Separator is used in active agent production |
Legal Events
| Date | Code | Title | Description |
|---|---|---|---|
| PB01 | Publication | ||
| PB01 | Publication | ||
| SE01 | Entry into force of request for substantive examination | ||
| SE01 | Entry into force of request for substantive examination | ||
| RJ01 | Rejection of invention patent application after publication |
Application publication date: 20200825 |
|
| RJ01 | Rejection of invention patent application after publication |
