CN111517434B - Water works charge device - Google Patents

Water works charge device Download PDF

Info

Publication number
CN111517434B
CN111517434B CN202010375775.2A CN202010375775A CN111517434B CN 111517434 B CN111517434 B CN 111517434B CN 202010375775 A CN202010375775 A CN 202010375775A CN 111517434 B CN111517434 B CN 111517434B
Authority
CN
China
Prior art keywords
top cover
sprocket
container box
bevel gear
fixedly installed
Prior art date
Legal status (The legal status is an assumption and is not a legal conclusion. Google has not performed a legal analysis and makes no representation as to the accuracy of the status listed.)
Active
Application number
CN202010375775.2A
Other languages
Chinese (zh)
Other versions
CN111517434A (en
Inventor
南宇峰
Current Assignee (The listed assignees may be inaccurate. Google has not performed a legal analysis and makes no representation or warranty as to the accuracy of the list.)
Ningxiang Water Group Co ltd
Original Assignee
Changsha China Water Group Co ltd
Priority date (The priority date is an assumption and is not a legal conclusion. Google has not performed a legal analysis and makes no representation as to the accuracy of the date listed.)
Filing date
Publication date
Application filed by Changsha China Water Group Co ltd filed Critical Changsha China Water Group Co ltd
Priority to CN202010375775.2A priority Critical patent/CN111517434B/en
Publication of CN111517434A publication Critical patent/CN111517434A/en
Application granted granted Critical
Publication of CN111517434B publication Critical patent/CN111517434B/en
Active legal-status Critical Current
Anticipated expiration legal-status Critical

Links

Images

Classifications

    • CCHEMISTRY; METALLURGY
    • C02TREATMENT OF WATER, WASTE WATER, SEWAGE, OR SLUDGE
    • C02FTREATMENT OF WATER, WASTE WATER, SEWAGE, OR SLUDGE
    • C02F1/00Treatment of water, waste water, or sewage
    • C02F1/52Treatment of water, waste water, or sewage by flocculation or precipitation of suspended impurities
    • C02F1/5281Installations for water purification using chemical agents

Landscapes

  • Chemical & Material Sciences (AREA)
  • Chemical Kinetics & Catalysis (AREA)
  • General Chemical & Material Sciences (AREA)
  • Life Sciences & Earth Sciences (AREA)
  • Hydrology & Water Resources (AREA)
  • Engineering & Computer Science (AREA)
  • Environmental & Geological Engineering (AREA)
  • Water Supply & Treatment (AREA)
  • Organic Chemistry (AREA)
  • Filtration Of Liquid (AREA)

Abstract

本发明涉及一种自来水处理装置,更具体的说是一种自来水厂加药装置,包括顶盖、侧盖、容器箱、箱体支架和阀门,容器箱固定安装在箱体支架上,容器箱的下端出口处设有阀门,顶盖与容器箱螺纹连接,侧盖与顶盖螺纹连接,所述的过滤组件安装在容器箱内,水流调整组件通过紧固螺钉固定安装在顶盖上设置的通孔上,搅拌清扫机构的个数又两个,分别安装在水流调整组件的两端,搅拌清扫机构与过滤组件接触连接,本装置设置有过滤盘,同时还具有对过滤盘清扫的功能,保证过滤盘的畅通性,装置还能够时药水保持内部循环流动的状态,通过过滤网,有效的将絮凝物拦截,便于集中处理。

Figure 202010375775

The invention relates to a tap water treatment device, in particular to a water plant dosing device, comprising a top cover, a side cover, a container box, a box body support and a valve. The container box is fixedly installed on the box body support, and the container box There is a valve at the outlet of the lower end, the top cover is screwed with the container box, the side cover is screwed with the top cover, the filter component is installed in the container box, and the water flow adjustment component is fixedly installed on the top cover by tightening screws. On the through hole, there are two more stirring and cleaning mechanisms, which are respectively installed on both ends of the water flow adjustment component. The stirring and cleaning mechanism is in contact with the filter component. The device is provided with a filter disc, and also has the function of cleaning the filter disc. To ensure the smoothness of the filter disc, the device can also maintain the internal circulating flow of the liquid medicine, and the floc can be effectively intercepted through the filter screen, which is convenient for centralized treatment.

Figure 202010375775

Description

Water works charge device
Technical Field
The invention relates to a tap water treatment device, in particular to a dosing device for a tap water plant.
Background
Running water needs to add medicine and handles before using, just needs running water charge device, and charge device among the prior art though can satisfy the medicine demand of adding, nevertheless because liquid medicine can take place flocculation reaction in the device, leads to the device to block up, and in the flocculation thing got into the pipeline, still probably caused the running water pipeline discharge capacity to reduce, the flocculation thing was too much, still needs frequent cleaning device, influences the life of device.
Disclosure of Invention
The technical problem mainly solved by the invention is to provide a water works dosing device, which is provided with a filter disc, and also has the function of cleaning the filter disc, so that the smoothness of the filter disc is ensured, the device can keep the liquid medicine in an internal circulating flowing state, and flocculate is effectively intercepted through a filter screen, so that the centralized treatment is facilitated.
The purpose of the invention is realized by the following technical scheme:
the utility model provides a water works charge device, includes top cap, side cap, container case, box support and valve, container case fixed mounting is on the box support, and the lower extreme exit of container case is equipped with the valve, top cap and container case threaded connection, side cap and top cap threaded connection, filtering component install in the container case, rivers adjusting part passes through fastening screw fixed mounting on the through-hole that sets up on the top cap, the stirring cleans the number of mechanism two again, installs respectively at the both ends of rivers adjusting part, the stirring cleans the mechanism and is connected with the filtering component contact.
In order to solve the problems of filtering impurities and flocculates and intercepting flocculates for convenient treatment, the invention adopts the technical scheme that:
as a further optimization of the technical scheme, the filtering assembly of the water works dosing device comprises a filtering disc, an annular filtering tank and four L-shaped hooks, wherein the filtering disc is fixedly arranged in the container box, the number of the L-shaped hooks is uniform, the L-shaped hooks are fixedly arranged on the annular filtering tank, and the L-shaped hooks are slidably arranged on grooves formed in the container box.
In order to solve the problem of changing the flow direction of the liquid medicine, the technical scheme is as follows:
as a further optimization of the technical scheme, the water flow adjusting assembly of the water works dosing device comprises a driving motor, a connecting rod, upward threaded fan blades and a mounting square piece, wherein one end of the connecting rod is fixedly mounted at the output end of the driving motor, the other end of the connecting rod is fixedly mounted with the mounting square piece, the connecting rod is provided with the upward threaded fan blades, and the driving motor is fixedly mounted on a through hole formed in the top cover through a fastening screw.
In order to solve the problem of cleaning the filter disc, the technical scheme is as follows:
as a further optimization of the technical scheme, the stirring and cleaning mechanism of the dosing device of the water works comprises a top cover, a square shell, cleaning bristles, a moving wheel, a first bevel gear, a second bevel gear, a first chain wheel, a first double chain wheel, a second chain wheel, L-shaped scraping feet and a second chain wheel, wherein the top cover is fixedly arranged on the square shell, a plurality of cleaning bristles are uniformly arranged on the square shell, the moving wheel is fixedly connected with the first bevel gear, the first bevel gear is rotatably arranged on a through hole arranged on the square shell, the first bevel gear is meshed with the second bevel gear, the second bevel gear is fixedly connected with the first chain wheel, the first chain wheel is rotatably arranged on a groove arranged on the top cover, the first chain is meshed with the first chain wheel, the first chain is meshed with the double chain wheel, the double chain wheel is meshed with the second chain wheel, the second chain is meshed with the second chain wheel, two rotary installations of sprocket are on the recess that sets up on the overhead guard, and the number that the foot was scraped to L shape has two, and fixed mounting is on the foot is scraped to L shape respectively, removes the wheel rotary installation on the recess that sets up on the installation square-shaped piece, and square shell fixed mounting is on the installation square-shaped piece, removes the wheel and is connected with the contact of filtration disc, cleans the brush hair and is connected with the contact of filtration disc.
The water works dosing device of the invention has the beneficial effects that:
1. the start drives the motor, drives through the connecting rod that the screw thread flabellum is rotatory upwards, and the screw thread flabellum that makes progress is turned over by the centre with the liquid medicine in the container case and is gushed to the edge to drive the flocculation thing and flow, the flocculation thing is at the in-process that rolls through the annular filter tank, is intercepted by the annular filter tank, and when the capacity of annular filter tank was saturated, take out and concentrate the processing, solved the inconvenient problem of cleaing away of flocculation thing in the liquid, saved manpower and the time of clearing up the flocculation thing in a large number down.
2. Filter the disc and be responsible for intercepting impurity and flocculation thing, the stirring is cleaned the mechanism and is followed the screw thread flabellum synchronous revolution that makes progress, rotatory in-process is cleaned the brush hair and is cleaned the filter disc, guarantee to filter the unobstructed of disc, it rotates at rotatory in-process to remove the wheel simultaneously, it rotates to drive bevel gear synchronous revolution, finally realize that two drive L shapes of chain are scraped the foot and are removed, the in-process that the foot was removed is scraped in L shape, stir and clean the brush hair, prevent to clean adhesion flocculation thing on the brush hair, the brush hair of cleaning of shake also can stir surrounding flocculation thing, the flocculation thing of the bottom of being convenient for is followed and is flowed together of liquid medicine, through removing the wheel alright realization L shape and scrape the rotation of foot, structural design is ingenious, need not to increase extra power supply, energy is saved, the cost is reduced.
Drawings
The invention is described in further detail below with reference to the accompanying drawings and specific embodiments.
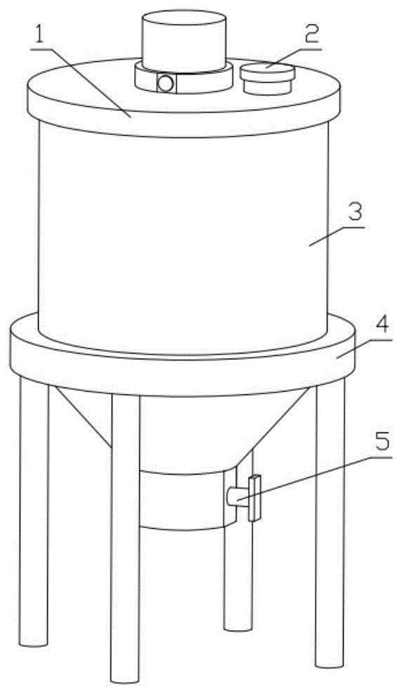
Fig. 1 is a schematic perspective view of a chemical adding device for a water works according to the present invention.
FIG. 2 is a schematic view of the internal three-dimensional structure of the chemical adding device of the tap water plant.
FIG. 3 is a schematic diagram illustrating a flow direction of a chemical solution of a chemical adding device of a water plant according to the present invention.
Fig. 4 is a schematic perspective view of a container box 3 and a box body bracket 4 of the chemical adding device of a water works.
Fig. 5 is a schematic perspective view of a filter assembly 6 of a dosing device of a water plant according to the present invention.
Fig. 6 is a schematic perspective view of a water flow adjusting assembly 7 of a chemical adding device of a water works according to the present invention.
Fig. 7 is a schematic perspective view of a stirring and cleaning mechanism 8 of a dosing device of a waterworks according to the present invention.
Fig. 8 is a schematic structural view of a stirring and cleaning mechanism 8 of a dosing device of a water plant according to the present invention.
Fig. 9 is a schematic partial perspective view of the stirring and cleaning mechanism 8 of the chemical adding device of the water works according to the present invention.
Fig. 10 is a schematic structural view of a mounting square member 7-4 and a moving wheel 8-4 of a tap water plant drug adding device of the invention.
FIG. 11 is a schematic perspective view of a square housing 8-2 of a dosing device of a waterworks according to the present invention.
In the figure: a top cover 1; a side cover 2; a container box 3; a box body bracket 4; a valve 5; a filter assembly 6; a filter disc 6-1; an annular filter tank 6-2; 6-3 of an L-shaped hook; a water flow adjusting assembly 7; driving a motor 7-1; a connecting rod 7-2; upwards screwing fan blades 7-3; mounting a square part 7-4; a stirring and cleaning mechanism 8; a top cover 8-1; 8-2 of a square shell; cleaning the bristles 8-3; 8-4 of a moving wheel; 8-5 parts of a first bevel gear; 8-6 parts of a second bevel gear; 8-7 parts of a first chain wheel; 8-8 parts of a first chain; 8-9 of double chain wheels; 8-10 parts of a second chain; 8-11 parts of an L-shaped scraping foot; and the second chain wheels 8-12.
Detailed Description
The present invention will be described in further detail with reference to the accompanying drawings.
The first embodiment is as follows:
the present embodiment is described below with reference to fig. 1 to 11, and a dosing device for a waterworks includes a top cover 1, a side cover 2, a container box 3, a box support 4, and a valve 5, wherein the container box 3 is fixedly mounted on the box support 4, the valve 5 is disposed at an outlet of a lower end of the container box 3, the top cover 1 is in threaded connection with the container box 3, the side cover 2 is in threaded connection with the top cover 1, the filter assembly 6 is mounted in the container box 3, a water flow adjusting assembly 7 is fixedly mounted on a through hole formed in the top cover 1 through a fastening screw, two stirring and cleaning mechanisms 8 are respectively mounted at two ends of the water flow adjusting assembly 7, and the stirring and cleaning mechanisms 8 are in contact connection with the filter assembly 6.
The second embodiment is as follows:
the embodiment is described below with reference to fig. 1 to 11, and the embodiment further describes the first embodiment, wherein the filter assembly 6 includes a filter disc 6-1, an annular filter tank 6-2, and L-shaped hooks 6-3, the filter disc 6-1 is fixedly installed in the container box 3, the number of the L-shaped hooks 6-3 is four, the filter disc is uniformly and fixedly installed on the annular filter tank 6-2, and the L-shaped hooks 6-3 are slidably installed on grooves formed in the container box 3.
The third concrete implementation mode:
the embodiment is described below with reference to fig. 1-11, and the embodiment further describes the first embodiment, wherein the water flow adjusting assembly 7 includes a driving motor 7-1, a connecting rod 7-2, an upward threaded fan blade 7-3, and a mounting square member 7-4, one end of the connecting rod 7-2 is fixedly mounted at the output end of the driving motor 7-1, the other end of the connecting rod 7-2 is fixedly mounted with the mounting square member 7-4, the connecting rod 7-2 is provided with the upward threaded fan blade 7-3, the driving motor 7-1 is fixedly mounted on a through hole formed in the top cover 1 through a fastening screw, the upward threaded fan blade 7-3 changes the flow direction of the liquid medicine, and is matched with the annular filtering tank 6-2 to effectively collect flocculates in a centralized manner, and drives the flocculates to move through the liquid flow, forming circulation to realize the purpose of continuously cleaning flocculate.
The fourth concrete implementation mode:
the second or third embodiment is further described with reference to fig. 1-11, wherein the stirring and sweeping mechanism 8 comprises a top cover 8-1, a square housing 8-2, sweeping bristles 8-3, a moving wheel 8-4, a bevel gear I8-5, a bevel gear II 8-6, a sprocket I8-7, a chain I8-8, a double sprocket 8-9, a chain II 8-10, an L-shaped scraping foot 8-11, and a sprocket II 8-12, the top cover 8-1 is fixedly mounted on the square housing 8-2, a plurality of sweeping bristles 8-3 are uniformly mounted on the square housing 8-2, the moving wheel 8-4 is fixedly connected with the bevel gear I8-5, the bevel gear I8-5 is rotatably mounted on a through hole arranged on the square housing 8-2, a first bevel gear 8-5 is meshed with a second bevel gear 8-6, the second bevel gear 8-6 is fixedly connected with a first chain wheel 8-7, the first chain wheel 8-7 is rotatably arranged on a groove arranged on a top cover 8-1, a double chain wheel 8-9 is rotatably arranged on a groove arranged on the top cover 8-1, the first chain wheel 8-8 is meshed with the first chain wheel 8-7, the first chain wheel 8-8 is meshed with the double chain wheel 8-9, the double chain wheel 8-9 is meshed with a second chain wheel 8-10, the second chain wheel 8-10 is meshed with a second chain wheel 8-12, the second chain wheel 8-12 is rotatably arranged on a groove arranged on the top cover 8-1, two L-shaped scraping feet 8-11 are respectively and fixedly arranged on the L-shaped scraping feet 8-11, a movable wheel 8-4 is rotatably arranged on a groove arranged on an installation square part 7-4, the square shell 8-2 is fixedly arranged on the mounting square part 7-4, the moving wheel 8-4 is in contact connection with the filtering disc 6-1, the cleaning bristles 8-3 are in contact connection with the filtering disc 6-1, the moving wheel 8-4 rotates on the filtering disc 6-1 while the stirring and cleaning mechanism 8 rotates, thereby driving the bevel gear I8-5 and the subsequent parts to run, fully utilizing the power provided by the driving motor 7-1, saving energy sources, the manufacturing cost of the device is also reduced, the cleaning brush hair 8-3 is stirred in the rotating process of the L-shaped scraping foot 8-11, the cleaning of the cleaning brush hair 8-3 is ensured, simultaneously, the stirred cleaning brush 8-3 can also push the peripheral flocculate to move, and simultaneously, the purpose of cleaning the filtering disc 6-1 is started.
The invention relates to a water works dosing device, which has the working principle that:
the liquid medicine can be injected into the container box 3 by opening the side cover 2, the driving motor 7-1 is started, the driving motor 7-1 drives the connecting rod 7-2, the upward threaded fan blade 7-3 and the mounting square part 7-4 to rotate, the upward threaded fan blade 7-3 turns over the middle liquid medicine to the edge of the container box 3 in the rotating process, as shown in figure 3, the turned-over liquid medicine drives flocculates in the liquid medicine to pass through the annular filtering groove 6-2, the flocculates are intercepted and gathered in the annular filtering groove 6-2 through the annular filtering groove 6-2, and the liquid medicine is filtered and discharged through the filtering disc 6-1.
The mounting square part 7-4 drives the stirring and cleaning mechanisms 8 at two sides to rotate when rotating, so as to realize the purpose of cleaning the surfaces of the filter discs 6-1 by the cleaning bristles 8-3, in the cleaning process, in order to prevent flocs adhered to the cleaning bristles 8-3 from influencing the cleaning effect, in the rotating process of the stirring and cleaning mechanism 8, the moving wheel 8-4 rotates and drives the bevel gear I8-5 to rotate, the bevel gear I8-5 drives the bevel gear II 8-6 to rotate, the bevel gear II 8-6 drives the double chain wheels 8-9 to rotate through the chain wheel I8-7 and the chain wheel I8-8, the double chain wheels 8-9 are matched with the chain wheel II 8-12 to realize the rotation of the chain wheel II 8-10, the chain wheel II 8-10 drives the L-shaped scraping foot 8-11 to synchronously rotate, and the L-shaped scraping foot 8-11 stirs the cleaning bristles 8-3 in the rotating process, the purpose of preventing the cleaning brush hair 8-3 from adhering flocculate is achieved.
The device needs to be cleaned periodically once, the screw for fixing the driving motor 7-1 is detached, the top cover 1 can be detached independently at the moment, any annular filter tank 6-2 is taken out along the sliding groove on the container box 3 for treatment, and the annular filter tank 6-2 is put back to the original position through the L-shaped hook 6-3.
And finally, the discharge of the liquid medicine is realized by controlling the valve 5.
It is to be understood that the above description is not intended to limit the present invention, and the present invention is not limited to the above examples, and that various changes, modifications, additions and substitutions which are within the spirit and scope of the present invention and which may be made by those skilled in the art are also within the scope of the present invention.

Claims (1)

1.一种自来水厂加药装置,包括顶盖(1)、侧盖(2)、容器箱(3)、箱体支架(4)和阀门(5),容器箱(3)固定安装在箱体支架(4)上,容器箱(3)的下端出口处设有阀门(5),顶盖(1)与容器箱(3)螺纹连接,侧盖(2)与顶盖(1)螺纹连接,其特征在于:过滤组件(6)安装在容器箱(3)内,水流调整组件(7)通过紧固螺钉固定安装在顶盖(1)上设置的通孔上,搅拌清扫机构(8)的个数有 两个,分别安装在水流调整组件(7)的两端,搅拌清扫机构(8)与过滤组件(6)接触连接;1. A water plant dosing device, comprising a top cover (1), a side cover (2), a container box (3), a box body support (4) and a valve (5), the container box (3) is fixedly installed in the box On the body bracket (4), a valve (5) is provided at the outlet of the lower end of the container box (3), the top cover (1) is threadedly connected to the container box (3), and the side cover (2) is threadedly connected to the top cover (1) , characterized in that: the filter assembly (6) is installed in the container box (3), the water flow adjustment assembly (7) is fixedly installed on the through hole provided on the top cover (1) by tightening screws, and the stirring and cleaning mechanism (8) There are two in number, which are respectively installed on both ends of the water flow adjustment assembly (7), and the stirring and cleaning mechanism (8) is in contact with the filter assembly (6); 所述的过滤组件(6)包括过滤圆盘(6-1)、环形过滤槽(6-2)、L形挂钩(6-3),过滤圆盘(6-1)固定安装在容器箱(3)内,L形挂钩(6-3)的个数有 四个,均匀的固定安装在环形过滤槽(6-2)上,L形挂钩(6-3)滑动安装在容器箱(3)上设置的凹槽上;The filter assembly (6) includes a filter disc (6-1), an annular filter groove (6-2), an L-shaped hook (6-3), and the filter disc (6-1) is fixedly installed on the container box (6-1). 3) Inside, there are four L-shaped hooks (6-3), which are evenly and fixedly installed on the annular filter groove (6-2), and the L-shaped hooks (6-3) are slidably installed on the container box (3) on the groove set on the upper; 所述的水流调整组件(7)包括带动电机(7-1)、连接杆(7-2)、向上螺纹扇叶(7-3)、安装方形件(7-4),连接杆(7-2)的一端固定安装在带动电机(7-1)的输出端,连接杆(7-2)的另一端固定安装有安装方形件(7-4),连接杆(7-2)上设置有向上螺纹扇叶(7-3),带动电机(7-1)通过紧固螺钉固定安装在顶盖(1)上设置的通孔上;The water flow adjustment assembly (7) includes a driving motor (7-1), a connecting rod (7-2), an upwardly threaded fan blade (7-3), a mounting square piece (7-4), and a connecting rod (7-2). 2) One end is fixedly installed on the output end of the driving motor (7-1), the other end of the connecting rod (7-2) is fixedly installed with a mounting square piece (7-4), and the connecting rod (7-2) is provided with a The fan blade (7-3) is threaded upward to drive the motor (7-1) to be fixedly installed on the through hole provided on the top cover (1) by fastening screws; 所述的搅拌清扫机构(8)包括顶盖(8-1)、方形壳(8-2)、清扫刷毛(8-3)、移动轮(8-4)、锥齿轮一(8-5)、锥齿轮二(8-6)、链轮一(8-7)、链条一(8-8)、双链轮(8-9)、链条二(8-10)、L形刮脚(8-11)、链轮二(8-12),顶盖(8-1)固定安装在方形壳(8-2)上,清扫刷毛(8-3)有多个,均匀的安装在方形壳(8-2)上,移动轮(8-4)与锥齿轮一(8-5)固定连接,锥齿轮一(8-5)旋转安装在方形壳(8-2)上设置的通孔上,锥齿轮一(8-5)与锥齿轮二(8-6)相啮合,锥齿轮二(8-6)与链轮一(8-7)固定连接,链轮一(8-7)旋转安装在顶盖(8-1)上设置的凹槽上,双链轮(8-9)旋转安装在顶盖(8-1)上设置的凹槽上,链条一(8-8)与链轮一(8-7)相啮合,链条一(8-8)与双链轮(8-9)相啮合,双链轮(8-9)与链条二(8-10)相啮合,链条二(8-10)与链轮二(8-12)相啮合,链轮二(8-12)旋转安装在顶盖(8-1)上设置的凹槽上,L形刮脚(8-11)的个数有两个,分别固定安装在L形刮脚(8-11)上,移动轮(8-4)旋转安装在安装方形件(7-4)上设置的凹槽上,方形壳(8-2)固定安装在安装方形件(7-4)上,移动轮(8-4)与过滤圆盘(6-1)接触连接,清扫刷毛(8-3)与过滤圆盘(6-1)接触连接。The stirring and cleaning mechanism (8) includes a top cover (8-1), a square shell (8-2), cleaning bristles (8-3), a moving wheel (8-4), and a bevel gear (8-5) , bevel gear two (8-6), sprocket one (8-7), chain one (8-8), double sprocket (8-9), chain two (8-10), L-shaped scraper (8 -11), the second sprocket (8-12), the top cover (8-1) is fixedly installed on the square shell (8-2), and there are multiple cleaning bristles (8-3), which are evenly installed on the square shell ( 8-2), the moving wheel (8-4) is fixedly connected with the bevel gear 1 (8-5), and the bevel gear 1 (8-5) is rotatably installed on the through hole provided on the square shell (8-2), Bevel gear 1 (8-5) meshes with bevel gear 2 (8-6), bevel gear 2 (8-6) is fixedly connected with sprocket 1 (8-7), and sprocket 1 (8-7) is rotated and installed On the groove set on the top cover (8-1), the double sprocket (8-9) is rotatably installed on the groove set on the top cover (8-1), the chain one (8-8) and the sprocket One (8-7) meshes, the first chain (8-8) meshes with the double sprocket (8-9), the double sprocket (8-9) meshes with the second chain (8-10), and the second chain (8-10) meshes. 8-10) engages with the second sprocket (8-12), the second sprocket (8-12) is rotatably installed on the groove set on the top cover (8-1), and the L-shaped scraper (8-11) There are two pieces, which are respectively fixed on the L-shaped scraping feet (8-11), the moving wheel (8-4) is rotatably installed on the groove set on the installation square piece (7-4), and the square shell ( 8-2) It is fixedly installed on the installation square piece (7-4), the moving wheel (8-4) is in contact with the filter disc (6-1), and the cleaning bristles (8-3) are connected with the filter disc (6-1). 1) Contact connection.
CN202010375775.2A 2020-05-07 2020-05-07 Water works charge device Active CN111517434B (en)

Priority Applications (1)

Application Number Priority Date Filing Date Title
CN202010375775.2A CN111517434B (en) 2020-05-07 2020-05-07 Water works charge device

Applications Claiming Priority (1)

Application Number Priority Date Filing Date Title
CN202010375775.2A CN111517434B (en) 2020-05-07 2020-05-07 Water works charge device

Publications (2)

Publication Number Publication Date
CN111517434A CN111517434A (en) 2020-08-11
CN111517434B true CN111517434B (en) 2022-03-29

Family

ID=71912924

Family Applications (1)

Application Number Title Priority Date Filing Date
CN202010375775.2A Active CN111517434B (en) 2020-05-07 2020-05-07 Water works charge device

Country Status (1)

Country Link
CN (1) CN111517434B (en)

Families Citing this family (2)

* Cited by examiner, † Cited by third party
Publication number Priority date Publication date Assignee Title
CN112960803B (en) * 2021-02-22 2023-05-12 重庆渝隆环保有限公司 Sewage treatment device for municipal engineering
WO2022077843A1 (en) * 2021-02-28 2022-04-21 苏州喜全软件科技有限公司 Medical sewage treatment device

Family Cites Families (6)

* Cited by examiner, † Cited by third party
Publication number Priority date Publication date Assignee Title
CN101486038A (en) * 2006-12-22 2009-07-22 高峰 Fully-automatic controlled device for cleaning conveying belt
CN205575746U (en) * 2016-05-04 2016-09-14 吉安市智博电气自动化有限公司 Compound control's water works charge device
CN205761305U (en) * 2016-07-05 2016-12-07 黄善余 A kind of Semen Tritici aestivi cleaning equipment
CN206875602U (en) * 2017-05-30 2018-01-12 北京耀邦环保技术开发有限公司 A kind of fresh air removes haze machine
CN109665600A (en) * 2017-10-13 2019-04-23 天津市嘉腾环保设备股份有限公司 A kind of medicine-feeding type sewage disposal device with agitating device
CN110613997A (en) * 2019-10-14 2019-12-27 山东保蓝环保工程有限公司 Flue gas that straw class feed production line gas vent was used takes off white equipment

Also Published As

Publication number Publication date
CN111517434A (en) 2020-08-11

Similar Documents

Publication Publication Date Title
CN111517434B (en) Water works charge device
CN104941283A (en) Backwashing water filter
CN115650389A (en) A sewage treatment device
CN219290816U (en) Solid-liquid separation device for sewage treatment tank
CN116573801A (en) Modularized assembled integrated sewage treatment system
CN111589785A (en) An environmentally friendly seed cleaning device
CN215387859U (en) Sand and stone filtering device of irrigation system
CN210915635U (en) A sewage treatment device used in water environment treatment
CN211585574U (en) Novel sewage treatment grid machine
CN219481795U (en) A filter that automatically removes impurities
CN222358012U (en) A sewage treatment sedimentation tank
CN219988181U (en) Waste plastic cleaning equipment with water circulation structure
CN211676531U (en) Long-acting water purifier
TWM553217U (en) Free extra power self-cleaning filter
CN210620432U (en) Cement plant sewage discharge treatment device
CN114405123B (en) Efficient and energy-saving domestic sewage pretreatment equipment
CN220142831U (en) Mud discharging device for sewage treatment
CN222293744U (en) A water resource saving device
CN222324456U (en) Circulating water treatment device with self-cleaning function
CN222377588U (en) Anti-clogging water heating pipe
CN222738656U (en) Fully automatic low pressure washing drum circulation filtration system
CN220565385U (en) Drainage device with filter assembly
CN222567027U (en) Wastewater treatment device with anti-clogging structure
CN217516724U (en) Municipal sewage is with sewage purification unit's dry wet separating mechanism
CN222082544U (en) A circulating purification device for treating printing plate processing water

Legal Events

Date Code Title Description
PB01 Publication
PB01 Publication
SE01 Entry into force of request for substantive examination
SE01 Entry into force of request for substantive examination
TA01 Transfer of patent application right

Effective date of registration: 20220310

Address after: 410600 Building 1, zhengruan village, baimaqiao Township, Ningxiang County, Changsha City, Hunan Province

Applicant after: Changsha (China water) Group Co.,Ltd.

Address before: 150300 group 3, Fifth Committee, Shengli Street, Acheng District, Harbin City, Heilongjiang Province

Applicant before: Nan Yufeng

TA01 Transfer of patent application right
GR01 Patent grant
GR01 Patent grant
CP03 Change of name, title or address

Address after: 410600 Building 1, zhengruan village, baimaqiao Township, Ningxiang County, Changsha City, Hunan Province

Patentee after: Ningxiang Water Group Co.,Ltd.

Country or region after: China

Address before: 410600 Building 1, zhengruan village, baimaqiao Township, Ningxiang County, Changsha City, Hunan Province

Patentee before: Changsha (China water) Group Co.,Ltd.

Country or region before: China

CP03 Change of name, title or address