CN111466635A - Motion-preventing mask - Google Patents
Motion-preventing mask Download PDFInfo
- Publication number
- CN111466635A CN111466635A CN202010309961.6A CN202010309961A CN111466635A CN 111466635 A CN111466635 A CN 111466635A CN 202010309961 A CN202010309961 A CN 202010309961A CN 111466635 A CN111466635 A CN 111466635A
- Authority
- CN
- China
- Prior art keywords
- purse
- pouch
- mask
- motion
- citrus
- Prior art date
- Legal status (The legal status is an assumption and is not a legal conclusion. Google has not performed a legal analysis and makes no representation as to the accuracy of the status listed.)
- Granted
Links
- 201000003152 motion sickness Diseases 0.000 claims abstract description 61
- 235000011389 fruit/vegetable juice Nutrition 0.000 claims abstract description 36
- 239000000463 material Substances 0.000 claims abstract description 6
- 238000003825 pressing Methods 0.000 claims description 54
- MHAJPDPJQMAIIY-UHFFFAOYSA-N Hydrogen peroxide Chemical compound OO MHAJPDPJQMAIIY-UHFFFAOYSA-N 0.000 claims description 9
- 229920000742 Cotton Polymers 0.000 claims description 7
- 239000004744 fabric Substances 0.000 claims description 7
- 238000002791 soaking Methods 0.000 claims description 2
- 125000001475 halogen functional group Chemical group 0.000 claims 4
- 241000190409 Citrus nobilis Species 0.000 claims 2
- 210000000056 organ Anatomy 0.000 claims 2
- 230000002265 prevention Effects 0.000 claims 1
- 241000207199 Citrus Species 0.000 abstract description 70
- 235000020971 citrus fruits Nutrition 0.000 abstract description 69
- 235000013882 gravy Nutrition 0.000 abstract description 36
- 208000024891 symptom Diseases 0.000 abstract description 17
- 206010025482 malaise Diseases 0.000 abstract description 10
- 239000007788 liquid Substances 0.000 description 42
- 241001672694 Citrus reticulata Species 0.000 description 35
- 239000003814 drug Substances 0.000 description 26
- 238000005507 spraying Methods 0.000 description 25
- 230000007246 mechanism Effects 0.000 description 23
- 238000010586 diagram Methods 0.000 description 21
- 239000004033 plastic Substances 0.000 description 17
- XLYOFNOQVPJJNP-UHFFFAOYSA-N water Substances O XLYOFNOQVPJJNP-UHFFFAOYSA-N 0.000 description 16
- 238000010438 heat treatment Methods 0.000 description 12
- 238000002360 preparation method Methods 0.000 description 12
- 230000000694 effects Effects 0.000 description 10
- 235000013372 meat Nutrition 0.000 description 8
- 239000007921 spray Substances 0.000 description 8
- 238000003860 storage Methods 0.000 description 8
- 230000009286 beneficial effect Effects 0.000 description 7
- 229940079593 drug Drugs 0.000 description 7
- 238000007789 sealing Methods 0.000 description 7
- 238000007598 dipping method Methods 0.000 description 5
- 238000001035 drying Methods 0.000 description 5
- 238000000034 method Methods 0.000 description 5
- 238000009958 sewing Methods 0.000 description 5
- 238000009423 ventilation Methods 0.000 description 5
- 208000002173 dizziness Diseases 0.000 description 4
- 238000004519 manufacturing process Methods 0.000 description 4
- 210000001519 tissue Anatomy 0.000 description 4
- 235000009508 confectionery Nutrition 0.000 description 3
- 238000007599 discharging Methods 0.000 description 3
- 238000005516 engineering process Methods 0.000 description 3
- 239000004615 ingredient Substances 0.000 description 3
- 238000012986 modification Methods 0.000 description 3
- 230000004048 modification Effects 0.000 description 3
- 238000011084 recovery Methods 0.000 description 3
- 230000029058 respiratory gaseous exchange Effects 0.000 description 3
- 210000000952 spleen Anatomy 0.000 description 3
- 230000001954 sterilising effect Effects 0.000 description 3
- 238000004659 sterilization and disinfection Methods 0.000 description 3
- 210000002784 stomach Anatomy 0.000 description 3
- 210000001779 taste bud Anatomy 0.000 description 3
- 230000008673 vomiting Effects 0.000 description 3
- CIWBSHSKHKDKBQ-JLAZNSOCSA-N Ascorbic acid Chemical compound OC[C@H](O)[C@H]1OC(=O)C(O)=C1O CIWBSHSKHKDKBQ-JLAZNSOCSA-N 0.000 description 2
- 206010011224 Cough Diseases 0.000 description 2
- 208000020401 Depressive disease Diseases 0.000 description 2
- 208000005577 Gastroenteritis Diseases 0.000 description 2
- 206010028735 Nasal congestion Diseases 0.000 description 2
- 230000009471 action Effects 0.000 description 2
- 230000000844 anti-bacterial effect Effects 0.000 description 2
- 230000001580 bacterial effect Effects 0.000 description 2
- 235000019658 bitter taste Nutrition 0.000 description 2
- 230000007547 defect Effects 0.000 description 2
- 239000007789 gas Substances 0.000 description 2
- 230000008595 infiltration Effects 0.000 description 2
- 238000001764 infiltration Methods 0.000 description 2
- 238000009434 installation Methods 0.000 description 2
- 201000003102 mental depression Diseases 0.000 description 2
- 239000000203 mixture Substances 0.000 description 2
- 229930014626 natural product Natural products 0.000 description 2
- 210000005036 nerve Anatomy 0.000 description 2
- 238000004806 packaging method and process Methods 0.000 description 2
- 235000019633 pungent taste Nutrition 0.000 description 2
- 239000000126 substance Substances 0.000 description 2
- 235000019605 sweet taste sensations Nutrition 0.000 description 2
- 235000019640 taste Nutrition 0.000 description 2
- 206010000060 Abdominal distension Diseases 0.000 description 1
- 206010006326 Breath odour Diseases 0.000 description 1
- 240000004307 Citrus medica Species 0.000 description 1
- 206010009866 Cold sweat Diseases 0.000 description 1
- ZZZCUOFIHGPKAK-UHFFFAOYSA-N D-erythro-ascorbic acid Natural products OCC1OC(=O)C(O)=C1O ZZZCUOFIHGPKAK-UHFFFAOYSA-N 0.000 description 1
- 206010053155 Epigastric discomfort Diseases 0.000 description 1
- 229930091371 Fructose Natural products 0.000 description 1
- RFSUNEUAIZKAJO-ARQDHWQXSA-N Fructose Chemical compound OC[C@H]1O[C@](O)(CO)[C@@H](O)[C@@H]1O RFSUNEUAIZKAJO-ARQDHWQXSA-N 0.000 description 1
- 239000005715 Fructose Substances 0.000 description 1
- 206010062717 Increased upper airway secretion Diseases 0.000 description 1
- 206010028813 Nausea Diseases 0.000 description 1
- 241000220317 Rosa Species 0.000 description 1
- 206010039424 Salivary hypersecretion Diseases 0.000 description 1
- 241000700605 Viruses Species 0.000 description 1
- 229930003268 Vitamin C Natural products 0.000 description 1
- 206010047700 Vomiting Diseases 0.000 description 1
- 239000002253 acid Substances 0.000 description 1
- 230000002411 adverse Effects 0.000 description 1
- 230000036528 appetite Effects 0.000 description 1
- 235000019789 appetite Nutrition 0.000 description 1
- 125000003118 aryl group Chemical group 0.000 description 1
- 230000005540 biological transmission Effects 0.000 description 1
- 208000024330 bloating Diseases 0.000 description 1
- 230000003111 delayed effect Effects 0.000 description 1
- 230000001079 digestive effect Effects 0.000 description 1
- 201000010099 disease Diseases 0.000 description 1
- 208000037265 diseases, disorders, signs and symptoms Diseases 0.000 description 1
- 201000006549 dyspepsia Diseases 0.000 description 1
- 235000013399 edible fruits Nutrition 0.000 description 1
- 238000005485 electric heating Methods 0.000 description 1
- 235000013305 food Nutrition 0.000 description 1
- 230000027119 gastric acid secretion Effects 0.000 description 1
- 230000005484 gravity Effects 0.000 description 1
- 239000012535 impurity Substances 0.000 description 1
- 238000011068 loading method Methods 0.000 description 1
- 238000002156 mixing Methods 0.000 description 1
- 238000000465 moulding Methods 0.000 description 1
- 230000008693 nausea Effects 0.000 description 1
- 238000012856 packing Methods 0.000 description 1
- 208000026435 phlegm Diseases 0.000 description 1
- 239000011148 porous material Substances 0.000 description 1
- 230000008569 process Effects 0.000 description 1
- 230000001105 regulatory effect Effects 0.000 description 1
- 238000003756 stirring Methods 0.000 description 1
- 238000005728 strengthening Methods 0.000 description 1
- 210000003273 vestibular nerve Anatomy 0.000 description 1
- 235000019154 vitamin C Nutrition 0.000 description 1
- 239000011718 vitamin C Substances 0.000 description 1
- 239000000341 volatile oil Substances 0.000 description 1
Images
Classifications
-
- A—HUMAN NECESSITIES
- A41—WEARING APPAREL
- A41D—OUTERWEAR; PROTECTIVE GARMENTS; ACCESSORIES
- A41D13/00—Professional, industrial or sporting protective garments, e.g. surgeons' gowns or garments protecting against blows or punches
- A41D13/05—Professional, industrial or sporting protective garments, e.g. surgeons' gowns or garments protecting against blows or punches protecting only a particular body part
- A41D13/11—Protective face masks, e.g. for surgical use, or for use in foul atmospheres
- A41D13/1192—Protective face masks, e.g. for surgical use, or for use in foul atmospheres with antimicrobial agent
Landscapes
- Health & Medical Sciences (AREA)
- General Health & Medical Sciences (AREA)
- Physical Education & Sports Medicine (AREA)
- Engineering & Computer Science (AREA)
- Textile Engineering (AREA)
- Respiratory Apparatuses And Protective Means (AREA)
- Medicines Containing Plant Substances (AREA)
Abstract
本发明公开了一种防晕动口罩,包括口罩(5),所述口罩(5)的内壁缝制有第一荷包(51)和第二荷包(52);第一荷包(51)位于第二荷包(52)的上方;其中,第一荷包(51)与用户的鼻孔位置相对应,第二荷包(52)与用户的口部位置相对应;第一荷包(51)、第二荷包(52)的顶部均开口;第一荷包(51)盛装有浸过广柑皮汁的药巾,第二荷包(52)盛装有浸过广柑肉汁的药巾;第一荷包(51)、第二荷包(52)均由透气材料制成。本发明提供了一种防晕动口罩,缓解晕动人士的晕车症状。
The invention discloses an anti-sickness mask, comprising a mask (5), wherein a first purse (51) and a second purse (52) are sewn on the inner wall of the mask (5); the first purse (51) is located on the first purse (51) Above the two purses (52); wherein, the first purse (51) corresponds to the user's nostril position, and the second purse (52) corresponds to the user's mouth position; the first purse (51), the second purse ( 52) are all open at the top; the first purse (51) is filled with a towel soaked in citrus peel juice, and the second purse (52) is filled with a towel soaked in citrus gravy; Both purses (52) are made of breathable materials. The invention provides an anti-motion sickness mask, which relieves the motion sickness symptoms of motion sick people.
Description
技术领域technical field
本发明涉及卫生用品领域,特别是涉及一种防晕动口罩。The invention relates to the field of sanitary products, in particular to an anti-sickness mask.
背景技术Background technique
晕动病是汽车、轮船或飞机运动时所产生的颠簸、摇摆或旋转等任何形式的加速运动,刺激人体的前庭神经而发生的疾病。患者初时感觉上腹不适,继有恶心、面色苍白、出冷汗,旋即有眩晕、精神抑郁、唾液分泌增多和呕吐现象,影响人们的工作和生活。Motion sickness is a disease that occurs when any form of accelerated motion, such as bumps, swaying, or rotation, occurs when a car, ship, or plane moves, which stimulates the vestibular nerve of the human body. The patient initially felt epigastric discomfort, followed by nausea, pale complexion, cold sweats, and then dizziness, mental depression, increased salivation and vomiting, which affected people's work and life.
广柑又称之为橘子,能够清新口气去除口臭;Guanggan, also known as orange, can refresh the breath and remove bad breath;
广柑肉富含维生素c和一些天然芳香类物质、果酸、果糖、香精油,这些物质可以促进胃酸分泌,而且能调理脾胃,提高肠胃的消化功能,能有效缓解消化不良,也能减少脾胃不和或食少腹胀等不良症状发生;Cang orange meat is rich in vitamin C and some natural aromatic substances, fruit acid, fructose, essential oils, these substances can promote gastric acid secretion, and can regulate the spleen and stomach, improve the digestive function of the stomach, can effectively relieve indigestion, can also reduce the spleen and stomach The occurrence of adverse symptoms such as disharmony or lack of food and bloating;
广柑皮、广柑肉还具有理气化痰、健脾等功能;能通气提神、能够有效治疗晕车,现已经被大家广泛使用,疗效确切。The peel and flesh of citrus can also have the functions of regulating qi, dispelling phlegm, and strengthening the spleen.
橘子皮味辛、苦,性温。广柑肉香甜、能够刺激人的味蕾;促进食欲,提高人的神经兴奋,能有效缓解晕车症状。Tangerine peel is pungent, bitter and warm in nature. Cang orange meat is sweet and can stimulate people's taste buds; promote appetite, improve people's nerve excitement, and can effectively relieve motion sickness symptoms.
现有技术的缺陷是,缺少一种防晕动口罩,用于制取防晕车口罩,缓解晕动人士的晕车症状。The defect of the prior art is that there is a lack of an anti-motion sickness mask, which is used to prepare an anti-motion sickness mask to relieve the symptoms of motion sickness of people with motion sickness.
发明内容SUMMARY OF THE INVENTION
有鉴于现有技术的至少一个缺陷,本发明的目的是提供一种防晕动口罩,用于缓解晕动人士的晕车症状。In view of at least one defect of the prior art, the object of the present invention is to provide an anti-motion sickness mask for relieving motion sickness symptoms of motion sick persons.
为了达到上述目的,本发明采用如下技术方案:包括口罩,其关键在于,所述口罩的内壁缝制有第一荷包和第二荷包;第一荷包位于第二荷包的上方;其中,第一荷包与用户的鼻孔位置相对应,第二荷包与用户的口部位置相对应;In order to achieve the above object, the present invention adopts the following technical scheme: including a mouth mask, the key point is that the inner wall of the mouth mask is sewn with a first purse and a second purse; the first purse is located above the second purse; wherein, the first purse Corresponding to the position of the user's nostrils, the second purse corresponds to the position of the user's mouth;
第一荷包、第二荷包的顶部均开口;The tops of the first purse and the second purse are both open;
第一荷包盛装有浸过广柑皮汁的药巾,第二荷包盛装有浸过广柑肉汁的药巾;The first purse contains the medicinal towel soaked in the citrus peel juice, and the second purse contains the medicinal towel soaked in the citrus gravy;
第一荷包、第二荷包均由透气材料制成,不影响用户的呼吸。Both the first purse and the second purse are made of breathable materials, which do not affect the user's breathing.
荷包又称为口袋,结构与衣服口袋相同。Purse, also known as pocket, has the same structure as a clothes pocket.
广柑皮汁味辛、苦,治疗晕车效果好;其中有益的药物成分经鼻孔吸入后,能有效缓解晕车的症状。The citrus peel juice is pungent and bitter, and has a good effect on the treatment of motion sickness; the beneficial medicinal components in it can effectively relieve the symptoms of motion sickness after being inhaled through the nostrils.
晕车人士往往还有时并发感冒;感冒容易引起鼻塞、咳嗽、肠胃炎,加深晕车的症状,感冒之后晕得更厉害,因此,不得不用口呼吸;People with motion sickness often have colds sometimes; colds can easily cause nasal congestion, cough, gastroenteritis, aggravate the symptoms of motion sickness, and become more dizzy after a cold.
广柑肉汁除了有治疗晕车的效果外口味香、甜;In addition to the effect of treating motion sickness, Guanggan gravy tastes fragrant and sweet;
用口吸入广柑肉汁的气味后,能有效缓解晕车的症状;广柑肉汁的香、甜口味也容易刺激口中的味蕾,不像广柑皮汁那样味辛、苦;减小晕车人士想呕吐的症状。After inhaling the smell of guanggan gravy, it can effectively relieve the symptoms of motion sickness; the fragrant and sweet taste of guanggan gravy can also easily stimulate the taste buds in the mouth, unlike the pungent and bitter taste of guanggan peel juice; reduce motion sickness people want to vomit symptoms.
所述浸过广柑皮汁的药巾和浸过广柑肉汁的药巾均密封包装于塑料袋中,使用时,需将包装药巾的塑料袋撕开扔掉,保留药巾。The medicated towel soaked in citrus peel juice and the medicated towel soaked with citron gravy are sealed and packaged in plastic bags. When using, the plastic bag for packing the medicated towel should be torn and thrown away, and the medicated towel should be kept.
用户登车之前戴上所述的防晕动口罩能有效缓解晕车症状。Wearing the anti-motion sickness mask before boarding the car can effectively relieve the symptoms of motion sickness.
所述口罩的外壁缝制有第三荷包;第三荷包的顶部开口,第三荷包由透气材料制成;第三荷包盛装浸有过氧化氢溶液的湿巾;该湿巾由透气绵布浸泡过氧化氢溶液制成。The outer wall of the mask is sewn with a third purse; the top of the third purse is open, and the third purse is made of a breathable material; the third purse holds a wet tissue soaked with hydrogen peroxide solution; the wet tissue is soaked with a breathable cotton cloth Made of hydrogen peroxide solution.
过氧化氢溶液具有杀菌作用,防止晕车人士呼出带有细菌气体在车船内传播。第三荷包由透气材料制成,不影响用户的呼吸。The hydrogen peroxide solution has a bactericidal effect and prevents people with motion sickness from exhaling bacterial gas that spreads in cars and boats. The third purse is made of breathable material, which does not affect the user's breathing.
所述湿巾密封包装于塑料袋中,使用时,需将包装湿巾的塑料袋撕开扔掉,保留湿巾。The wet wipes are sealed and packaged in a plastic bag. When using, the plastic bag for packaging the wet wipes should be torn and thrown away, and the wet wipes should be kept.
所述第一荷包、第二荷包、第三荷包均由透气绵布制成并设置有透气孔。The first purse, the second purse and the third purse are all made of breathable cotton cloth and are provided with ventilation holes.
上述结构可增加第一荷包、第二荷包、第三荷包的透气效果。The above structure can increase the ventilation effect of the first purse, the second purse and the third purse.
显著效果:本发明提供了一种防晕动口罩,用于缓解晕动人士的晕车症状。Significant effect: the present invention provides an anti-motion sickness mask for relieving motion sickness symptoms of motion sickness persons.
附图说明Description of drawings
图1为生产线的模块结构图;Fig. 1 is the module structure diagram of the production line;
图2为药液制取设备的结构图;Fig. 2 is the structure diagram of medicinal liquid preparation equipment;
图3为图2的左视图;Fig. 3 is the left side view of Fig. 2;
图4为药液制取设备的一种使用状态图;Fig. 4 is a kind of use state diagram of medicinal liquid preparation equipment;
图5为滚筒的结构图;Fig. 5 is the structure diagram of the drum;
图6为滚筒的外形图;Fig. 6 is the outline drawing of the roller;
图7为浸润法药巾制取设备的结构图;Fig. 7 is the structure diagram of the equipment for preparing the infiltration method medicinal towel;
图8为夹持机构的结构图;Figure 8 is a structural diagram of a clamping mechanism;
图9为图8的俯视图;Fig. 9 is the top view of Fig. 8;
图10为夹持机构的一种使用状态图;Figure 10 is a state diagram of a use state of the clamping mechanism;
图11为第一PLC控制器的电路图;11 is a circuit diagram of a first PLC controller;
图12为第一烘箱的电路图;Figure 12 is a circuit diagram of the first oven;
图13为喷涂法药巾制取设备的结构图;Fig. 13 is the structure diagram of the equipment for the preparation of medical towel by spraying method;
图14为位置线框的示意图;Figure 14 is a schematic diagram of a position wireframe;
图15为本发明的第一种结构示意图;Fig. 15 is the first structure schematic diagram of the present invention;
图16为图15的后视图;Fig. 16 is the rear view of Fig. 15;
图17为按压人中装置的结构图;Figure 17 is a structural diagram of a device for pressing the human body;
图18为图17的俯视图;Fig. 18 is the top view of Fig. 17;
图19为按摩装置的结构图;Figure 19 is a structural diagram of a massage device;
图20为报警电路的电路结构图。FIG. 20 is a circuit configuration diagram of an alarm circuit.
图21为本发明的第二种结构示意图。FIG. 21 is a schematic diagram of the second structure of the present invention.
具体实施方式Detailed ways
下面结合附图和具体实施例对本发明作进一步详细说明。The present invention will be further described in detail below with reference to the accompanying drawings and specific embodiments.
如图1-图21所示,一种防晕动口罩生产线,包括药液制取设备1、药巾制取设备以及装配设备,药液制取设备1用于压榨广柑皮或广柑肉获取广柑皮汁或广柑肉汁;广柑皮汁或广柑肉汁和水配制成防晕动口罩的药液;As shown in Figures 1-21, an anti-sickness mask production line includes medicinal
还包括药巾制取设备;药巾制取设备用于将纱布25吸附所述的药液,然后进行烘制,得到药巾;It also includes a medicine towel preparation device; the medicine towel preparation device is used to absorb the medicinal liquid on the
装配设备用于将药巾固定在口罩5上制成防晕动口罩。The assembly equipment is used to fix the medical towel on the
通过上述的结构设置,通过药液制取设备1压榨广柑皮获取广柑皮汁;通过压榨广柑肉获取广柑肉汁;再将广柑皮汁或广柑肉汁和水配制成防晕动口罩的药液;通过药巾制取设备将纱布25浸入药液或喷上药液,然后进行烘制;烘制过程可将纱布25完全烘干或烘掉一部分水分,烘掉一部分水分相当于制成含有广柑皮汁或广柑肉汁的湿巾,并通过高温进行杀菌,制成药巾;Through the above-mentioned structural settings, the medicinal
然后通过装配设备将药巾固定在口罩5上制成防晕动口罩。Then, the medical towel is fixed on the
晕动人士在登车或登船之前戴上防晕动口罩,可有效缓解晕车症状。People with motion sickness should wear an anti-motion sickness mask before boarding a car or boat, which can effectively relieve the symptoms of motion sickness.
水优选为纯净水和广柑皮汁或广柑肉汁加入第一药物池21或第二药物池31搅拌混合。The water is preferably pure water and mandarin peel juice or mandarin gravy added to the
所述药巾制取设备或者是浸润法药巾制取设备2或者是喷涂法药巾制取设备3。The said device for preparing medical towel is either the
浸润法药巾制取设备2将纱布25浸入药液中,然后再取出进行烘制得到药巾;喷涂法药巾制取设备3汲取药液喷洒在纱布25上,然后再进行烘制得到药巾。The dipping method medicated
如图2所示,所述药液制取设备1包括储液池11、储液池11的两侧固设有支架12,储液池11的上方设置有网状的滚筒13,所述滚筒13的两端转动安装在支架12上,在支架12上还安装有第一驱动机构14,第一驱动机构14驱动滚筒13转动;As shown in FIG. 2 , the medicinal
所述滚筒13的两端开口,在滚筒13中沿着滚筒13的轴线方向并行穿设有两个压榨轮辊17,压榨轮辊17的两端转动安装在支架12上,在支架12上还安装有第二驱动机构15,第二驱动机构15驱动两个压榨轮辊17转动;Both ends of the
所述支架12上还转动安装有槽形的料斗16,料斗16的两端开口,料斗16的内端从滚筒13的一侧开口伸入滚筒13内,料斗16的外端伸出滚筒13外;当料斗16的外端高于内端时,料斗16用于进料;当料斗16的外端低于内端时,料斗16用于出料;A slot-shaped
所述滚筒13的内壁设置有至少一个铲斗131;The inner wall of the
所述料斗16用于向滚筒13内加入广柑皮或广柑肉和向滚筒13外卸出广柑皮或广柑肉压榨后的残渣;广柑皮或广柑肉经两个压榨轮辊17压榨出广柑皮汁或广柑肉汁,广柑皮汁或广柑肉汁从滚筒13的底部渗出进入储液池11内;The
所述铲斗131在滚筒13的带动下绕着滚筒13的轴心旋转,铲斗131带动滚筒13底部的广柑皮或广柑肉进入压榨轮辊17的上方并抛向压榨轮辊17;两个压榨轮辊17反复压榨广柑皮或广柑肉获取广柑皮汁或广柑肉汁;The
广柑皮汁或广柑肉汁和水按比例混合即为防晕动口罩的药液。The mixture of citrus peel juice or citrus gravy and water in proportion is the medicinal solution for the anti-sickness mask.
上述的药液制取设备压榨速度快,压榨效率高,能够实现反复压榨,充分获取广柑皮或广柑肉中有益的药物成分。The above-mentioned medicinal liquid preparation equipment has fast pressing speed and high pressing efficiency, can realize repeated pressing, and fully obtain beneficial medicinal components in the peel or flesh of citrus citrus.
当然,也可以采用现有技术中成熟的榨汁机进行压榨,现有的榨汁机通常压榨一次,含水分较多,药物成分较少,没有反复压榨的效果好。Of course, a mature juicer in the prior art can also be used for pressing. The existing juicer usually squeezes once, which has more water content and less medicinal components, and does not have a good effect of repeated pressing.
广柑皮汁或广柑肉汁和水按比例混合即为防晕动口罩的药液。The mixture of citrus peel juice or citrus gravy and water in proportion is the medicinal solution for the anti-sickness mask.
通过上述的结构设置,通过料斗16向滚筒13内加入广柑皮或广柑肉,压榨完后通过料斗16向滚筒13外卸出广柑皮或广柑肉压榨后的残渣;通过两个压榨轮辊17压榨广柑皮或广柑肉获取广柑皮汁或广柑肉汁;通过铲斗131带动滚筒13底部的广柑皮或广柑肉进入压榨轮辊17的上方并抛向压榨轮辊17,实现反复压榨,充分获取广柑皮或广柑肉中有益的药物成分,用于制作防晕动口罩。Through the above structure, the citrus peel or citrus flesh is added into the
所述两个压榨轮辊17位于滚筒13的内腔下部,其圆周相互抵接或者具有少量的间隙;料斗16的内端位于两个压榨轮辊17的上方。The two press wheel rolls 17 are located at the lower part of the inner cavity of the
通过上述的结构设置,两个压榨轮辊17的圆周相互抵接;对掉在两个压榨轮辊17之间的广柑皮或广柑肉进行挤压,以获取广柑皮汁或广柑肉汁,料斗16的内端位于两个压榨轮辊17的抵接线或间隙的上方,从料斗16加入的广柑皮或广柑肉掉入两个压榨轮辊17之间,压榨出广柑皮汁或广柑肉汁。Through the above-mentioned structural arrangement, the circumferences of the two
所述支架12为包括两块安装板121,两块安装板121分别固连在储液池11的两侧;The
两块安装板121的内壁设置有与滚筒13的两端配合的圆形的安装槽122,滚筒13的两端插入安装槽122内并在安装槽122内转动;The inner walls of the two mounting
其中一块安装板121开设有料斗16插入的过孔123;One of the mounting
所述第一驱动机构14包括安装在支架12上的第一电机141,第一电机141经皮带机构142或链轮机构驱动滚筒13转动。The
通过上述的结构设置;第一电机141经皮带机构142或链轮机构驱动滚筒13转动;滚筒13带动铲斗131绕着滚筒13的轴心旋转,铲斗131带动滚筒13底部的广柑皮或广柑肉进入压榨轮辊17的上方并抛向压榨轮辊17;广柑皮或广柑肉经两个压榨轮辊17压榨后又掉入滚筒13底部,铲斗131又带动广柑皮或广柑肉上升,反复压榨;充分获取广柑皮或广柑肉中的有益药物成分。Through the above structure arrangement; the
第一电机141连接有第一电机控制电路,第一电机控制电路属于成熟的技术,图略。The
所述第二驱动机构15包括安装在支架12上的第二电机151,第二电机151经齿轮机构152驱动两个压榨轮辊17转动。The
第二电机151经齿轮机构152驱动两个压榨轮辊17转动;反复压榨广柑皮或广柑肉。The
第二电机151连接有第二电机控制电路,第二电机控制电路属于成熟的技术,图略。The
如图2所示,左边的压榨轮辊17顺时针转动,右边的压榨轮辊17逆时针转动,将抛在其上的广柑皮或广柑肉卷入两个压榨轮辊17之间,反复压榨出有益的药物成分。As shown in FIG. 2 , the
所述滚筒13包括刚性的骨架132,所述骨架132的两端转动设置在安装槽122内;骨架132的内壁或外壁设置有第一滤网133。The
通过上述的结构设置,骨架132起支撑作用,能够增加滚筒13的刚度,防止变形,将滚筒13转动支撑在支架12的安装槽122上,第一滤网133过滤广柑皮或广柑肉;使广柑皮汁或广柑肉汁从滚筒13的底部渗出。Through the above-mentioned structural arrangement, the
所述铲斗131为“L”形,铲斗131与骨架132的固连。The
上述结构的铲斗131方便加工和制造。铲斗131与骨架132的固连,由骨架132带动旋转。The
如图2所示,滚筒13顺时针方向转动;铲斗131与滚筒13的旋转方向相适应。其一端固定在滚筒13上,另一端朝向滚筒13的旋转方向。As shown in FIG. 2 , the
所述储液池11的侧壁上部设置有溢流孔111,溢流孔111设置有第二滤网112,溢流孔111连接有输送管113。The upper part of the side wall of the
储液池11中的广柑皮汁或广柑肉汁经溢流孔111流出,从输送管113输入到药巾制取设备中。第二滤网112起到再次过滤的作用。The mandarin peel juice or mandarin gravy in the
优选的,输送管113设置有闸阀。Preferably, the conveying
如图3所示,所述料斗16的中部搁置在过孔123的底部,料斗16的外端连接有液压缸18,液压缸18的底端与支架12固连,液压缸18的活塞杆连接料斗16驱动料斗16在支架12上转动,当料斗16的外端高于内端时,料斗16用于进料;当料斗16的外端低于内端时,料斗16用于卸料。As shown in FIG. 3 , the middle of the
当需要往滚筒13中加入广柑皮或广柑肉时,液压缸18的活塞杆连接料斗16驱动料斗16在支架12上转动,使料斗16的外端高于内端;当需要将滚筒13中广柑皮或广柑肉压榨后的残渣卸出时,液压缸18的活塞杆连接料斗16驱动料斗16在支架12上转动,使料斗16的外端低于内端。When it is necessary to add citrus peel or citrus meat into the
料斗16可以绕着料斗16与过孔123底部的接触线转动,液压缸18为手动液压缸。The
其中过孔123的尺寸大于料斗16,使料斗16可以在支架12上转动。The size of the via
所述液压缸18通过滑座181与支架12固连;液压缸18的底端滑动设置在滑座181上,液压缸18在滑座181上滑动可靠近或远离滚筒13,从而调节料斗16的内端插入滚筒13的深度,液压缸18通过锁紧螺钉182锁定在滑座181上。The
通过上述的结构设置,当料斗16向滚筒13内加入广柑皮或广柑肉时,使液压缸18后退,使料斗16的内端靠近压榨轮辊17的中部;然后通过锁紧螺钉182锁定在滑座181上。Through the above structure, when the
当料斗16向滚筒13外卸出广柑皮或广柑肉的残渣时,使液压缸18前进,使料斗16的内端靠近压榨轮辊17远离过孔123的一端;然后通过锁紧螺钉182锁定在滑座181上;方便卸料。When the
滑座181上设置有一排调节孔,使液压缸18的底端对准相应的调节孔,然后通过锁紧螺钉182将液压缸18的底端锁定在对应的调节孔上,从而可以调节料斗16的内端插入滚筒13的深度。The sliding
所述浸润法药巾制取设备2,包括第一药物池21、第一烘箱22、第一输送链23,所述第一药物池21内装有防晕车药液,所述防晕车药液的组分包括水、广柑皮汁或广柑肉汁;The infiltration method medical
第一药物池21的左侧设置所述第一烘箱22;The
所述第一输送链23呈三角形,包括呈三角形布置的第一滚筒231、第二滚筒232以及第三滚筒233,其中第一滚筒231转动设置于第一烘箱22内,第二滚筒232转动设置于第一药物池21的右侧并与第一滚筒231等高;第二滚筒232转动设置于机架上,机架图略;The
第三滚筒233转动设置于第一药物池21内,第三滚筒233低于第一滚筒231与第二滚筒232;The
第一滚筒231、第二滚筒232以及第三滚筒233上缠绕有第一橡胶输送带234,第一橡胶输送带234上设置有N个夹持机构24;夹持机构24用于夹持纱布25;N为大于1的整数;N的数目根据第一橡胶输送带234的长度确定。The
所述第一烘箱22设置有第一进口221和第一出口222,第一橡胶输送带234经第一进口221进入第一烘箱22内,绕过第一滚筒231后经第一出口222伸出第一烘箱22;The
第二滚筒232连接有第一步进电机26,第一步进电机26带动第一橡胶输送带234作步进运动,第一橡胶输送带234带动纱布25进入第一药物池21浸泡防晕车药液后,再进入第一烘箱22内烘制,得到药巾。The
第一烘箱22将纱布25烘干或者烘掉纱布25上多余的水分,并通过第一烘箱22内的热气进行高温杀菌。The
第一步进电机26连接有第一步进电机控制电路,第一步进电机26在第一步进电机控制电路的控制下作步进运动,第一步进电机26带动第一橡胶输送带234作步进运动。The
第一步进电机控制电路包括第一PLC控制器,第一PLC控制器经电机驱动模块连接第一步进电机26,第一PLC控制器还可以连接电脑进行控制,第一步进电机控制电路也可以采用单片机连接步进电机驱动模块的电路方式。The first step motor control circuit includes a first PLC controller, the first PLC controller is connected to the
其中,在第一滚筒231、第二滚筒232之间的第一输送链23上设置有上料工位和下料工位,在上料工位,可以通过人工将纱布25安置在夹持机构24上,由第一橡胶输送带234带动逐步下降,进入第一药物池21中,浸泡防晕车药液,然后,又由第一橡胶输送带234带动逐步上升,经第一进口221进入第一烘箱22内烘制,然后经第一出口222从第一烘箱22内出来,到达下料工位;Among them, the
在下料工位,人工将纱布25从夹持机构24上取下,用塑料袋密封打包。At the unloading station, the
第一进口221和第一出口222与夹持机构24相适配,在方便夹持机构24进出时,又尽量减少第一烘箱22的热量损失。The
其所述第一药物池21内装有防晕车药液,所述防晕车药液的组分包括水、广柑皮汁或广柑肉汁;广柑皮汁或广柑肉汁均为纯天然制品,在治疗晕车的同时,不会产生任何副作用。The
所述第一烘箱22设置有第一电热丝224、第一风机225以及第一温控器223,第一温控器223控制第一电热丝224、第一风机225通断电;其中第一烘箱22内温度为120度。The
在第一烘箱22内设置有第一电热丝224,给第一烘箱22加热,将纱布25烘干或烘掉纱布25上多余的水分并通过高温热气杀菌,第一风机225包括电机和扇叶,电机设置于第一烘箱22的顶部,其主轴经第一烘箱22的顶部的过孔深入第一烘箱22内与扇叶连接,促进第一烘箱22内空气流通,第一温控器223设置有温度传感器,检测第一烘箱22的温度,并根据第一烘箱22的温度开关第一电热丝224和第一风机225;大于120度时,关闭第一电热丝224、第一风机225,反之,则打开第一电热丝224、第一风机225;将第一烘箱22内温度设置为120度,在烘掉纱布25水分的同时,又能起到高温杀菌作用。A
所述夹持机构24包括橡胶块241、拉索242、安装板243、压紧架244,橡胶块241固设在第一橡胶输送带234上,安装板243上设置有盛装纱布25的圆弧通槽2431,安装板243的前端通过拉索242连接橡胶块241,安装板243的后端铰接有压紧架244,压紧架244呈矩形,压紧架244的后端为铰轴2441,铰轴2441穿设在安装板243的后端的铰孔内,铰轴2441套有卷簧2442,卷簧2442的一端与铰轴2441相连,卷簧2442的另一端与安装板243相连,压紧架244的前端为压杆2443,压杆2443的两端与铰轴2441的两端通过连杆2444相连,压杆2443在卷簧2442的回复力作用下压紧位于圆弧通槽2431内的纱布25。The
通过上述的结构设置,用手搬开压紧架244前端的压杆2443,将纱布25放入圆弧通槽2431内,再放开压杆2443,压杆2443在卷簧2442的回复力作用下压紧位于圆弧通槽2431内的纱布25。Through the above-mentioned structural arrangement, the
当夹持机构24经过第二滚筒232之后,夹持机构24由第一橡胶输送带234带动逐步下降,安装板243以及纱布25在重力作用下垂,通过拉索242、橡胶块241吊装在第一橡胶输送带234下方,进入第一药物池21;After the
其中,第三滚筒233设置于第一药物池21内防晕车药液的水位线上方,安装板243以及纱布25在第一橡胶输送带234的带动下能够进入防晕车药液的水位线下方,既能让纱布25浸泡防晕车药液,又能避免第三滚筒233、第一橡胶输送带234浸入防晕车药液内。Wherein, the
所述防晕车药液的组分包括水、广柑皮汁或广柑肉汁;水、广柑皮汁或广柑肉汁的配比为3:2。The components of the anti-motion sickness liquid include water, mandarin peel juice or mandarin gravy; the ratio of water, mandarin peel juice or mandarin gravy is 3:2.
通过上述的配比设置,使防晕车药液的浓度适中,使浸泡后的纱布25所散发的药味适中,而又不至于影响呼吸,广柑肉汁除了有治疗晕车的效果外口味香、甜,广柑皮汁味辛、苦,治疗晕车效果好。Through the above-mentioned ratio setting, the concentration of the anti-motion sickness liquid is moderate, so that the medicinal smell emitted by the soaked
还包括塑封机4,塑封机4用于将药巾封装于塑料袋中。It also includes a
通过上述的结构设置,可延长药巾的保质期。Through the above-mentioned structural arrangement, the shelf life of the medicated towel can be extended.
喷涂法药巾制取设备3,包括第二药物池31、第二烘箱32、第二输送链33、喷涂箱34、喷涂装置35,所述第二药物池31装有防晕车药液,所述防晕车药液的组分包括水、广柑皮汁或广柑肉汁;The
所述第二输送链33包括第四滚筒331、第五滚筒332;第四滚筒331、第五滚筒332转动设置在机架上,第四滚筒331、第五滚筒332上缠绕有第二橡胶输送带333,第二橡胶输送带333上放置有纱布25;第五滚筒332连接有第二步进电机36,第二步进电机36带动第二橡胶输送带333作步进运动;The
喷涂箱34设置有第三进口341和第三出口342;The
所述第二烘箱32设置有第二进口321和第二出口322,The
喷涂装置35包括汲取泵351,汲取泵351的入水口连接有吸管352,吸管352深入第二药物池31,汲取泵351的出水口连接有喷管353,喷管353伸入喷涂箱34内并连接有花洒喷头354;The spraying
放置有纱布25的第二橡胶输送带333经第三进口341进入喷涂箱34内,喷涂装置35汲取第二药物池31内的防晕车药液喷洒在纱布25上,经第三出口342伸出喷涂箱34,再经第二进口321进入第二烘箱32内烘制,经第二出口322伸出第二烘箱32;纱布25经喷洒防晕车药液和烘制后得到药巾。The second
第五滚筒332连接有第二步进电机36,第二步进电机36带动第二橡胶输送带333作步进运动,第二橡胶输送带333带动纱布25进入喷涂箱34内喷洒防晕车药液后,再进入第二烘箱32内烘干或烘掉多余的水分,并通过第二烘箱32内的热气进行高温杀菌。The
喷涂箱34的第三进口341和第三出口342、第二烘箱32的第二进口321和第二出口322与放置有纱布25的第二橡胶输送带333相适配,在方便纱布25进出时,又尽量减少第二烘箱32的热量损失。The
其中所述第二药物池31内装有防晕车药液,所述防晕车药液的组分包括水、广柑皮汁或广柑肉汁;广柑皮汁或广柑肉汁均为纯天然制品,在治疗晕车的同时,不会产生任何副作用。The
喷涂箱34、第二烘箱32均固定设置在机架上;机架图略;The
喷涂箱34的右方设置所述第二烘箱32;The
第四滚筒331位于喷涂箱34的左侧,第五滚筒332位于第二烘箱32的右侧;第四滚筒331、第五滚筒332等高;The
第二橡胶输送带333缠绕在第四滚筒331、第五滚筒332上,形成一个椭圆孔形状的第二橡胶输送带333;第二橡胶输送带333的上输送带部分经第三进口341进入喷涂箱34内,经第三出口342伸出喷涂箱34,再经第二进口321进入第二烘箱32内烘制,经第二出口322伸出第二烘箱32;再绕过第五滚筒332;第二橡胶输送带333的下输送带部分位于喷涂箱34和第二烘箱32之外。The second
其中,位于喷涂箱34左侧的上输送带部分为上料工位,位于第二烘箱32右侧的上输送带部分为下料工位。在上料工位,人工将纱布25放在上输送带部分,在下料工位,人工将纱布25从上输送带部分上取下,用塑料袋密封打包。Wherein, the upper conveyor belt part located on the left side of the
喷涂箱34的顶部设置有喷管353伸入的过孔。The top of the
第二步进电机36连接有第二步进电机控制电路,第二步进电机36在第二步进电机控制电路的控制下作步进运动,第二步进电机36带动第二橡胶输送带333作步进运动。The
第二步进电机控制电路设置有第二PLC控制器,第二PLC控制器经步进电机驱动模块驱动第二步进电机36作步进运动。第二PLC控制器与第一PLC控制器电路图相同。The second stepper motor control circuit is provided with a second PLC controller, and the second PLC controller drives the
优选的,喷管353设置有电磁闸阀,图略;电磁闸阀与第二PLC控制器相连,第二PLC控制器控制纱布25进入喷涂箱34内,再控制电磁闸阀打开,喷洒防晕车药液。Preferably, the
所述第二烘箱32设置有第二电热丝324、第二风机325以及第二温控器323,第二温控器323控制第二电热丝324、第二风机325通断电;其中第二烘箱32内温度为120度。The
在第二烘箱32内设置有第二电热丝324,给第二烘箱32加热,将纱布25烘干或烘掉纱布25上多余的水分并通过高温热气杀菌,第二风机325促进第二烘箱32内空气流通,第二温控器323根据第二烘箱32的温度控制第二电热丝324和第二风机325通断电。A
第二风机325包括电机和扇叶,电机设置于第二烘箱32的顶部,其主轴经第二烘箱32的顶部的过孔深入第二烘箱32内与扇叶连接,促进第二烘箱32内空气流通,第二温控器323设置有温度传感器,检测第二烘箱32的温度,并根据第二烘箱32的温度控制第二电热丝324和第二风机325通断电;大于120度时,关闭第二电热丝324、第二风机325的电源,反之,则打开第二电热丝324、第二风机325的电源;将第二烘箱32内温度设置为120度,在烘掉纱布25多余的水分同时,又能起到高温杀菌作用。The
第二烘箱32的电路图与第一烘箱22的电路图相同;The circuit diagram of the
所述第二橡胶输送带333为齿形皮带,所述第四滚筒331、第五滚筒332均为齿形滚筒;The second
第五滚筒332的下方设置有药巾储箱37。A medicine
将第二橡胶输送带333设置为齿形皮带,所述第四滚筒331、第五滚筒332设置为齿形滚筒;能够保证准确的传动比,使放置在第二橡胶输送带333上的纱布25能够准确的到达花洒喷头354的位置,喷洒防晕车药液;The second
纱布25从喷涂箱34左侧的第二橡胶输送带333进入喷涂箱34,经过第二烘箱32后,再经过第五滚筒332的位置,并从第五滚筒332的外侧掉下,进入药巾储箱37。The
所述第二橡胶输送带333上印制有放置纱布25的位置线框251。The second
通过人工将纱布25放入位置线框251内,使放置在第二橡胶输送带333上的纱布25能够准确的到达花洒喷头354的位置,喷洒防晕车药液。By manually placing the
所述吸管352的上端连接汲取泵351,其下端连接有锥形汲筒355,锥形汲筒355的小端与吸管352的下端相连,锥形汲筒355的大端设置有第三滤网356。The upper end of the
第三滤网356用于过滤广柑皮汁或广柑肉汁中的杂质,防止堵塞花洒喷头354;锥形汲筒355的大端设置第三滤网356,过滤面大,不容易堵塞,减少更换次数。The
所述喷涂箱34的底部连接有回收管343,回收管343一端与喷涂箱34相连,另一端接入第二药物池31内。A
从花洒喷头354中喷出的多余的药液经回收管343流回第二药物池31内。The excess medicinal liquid sprayed from the
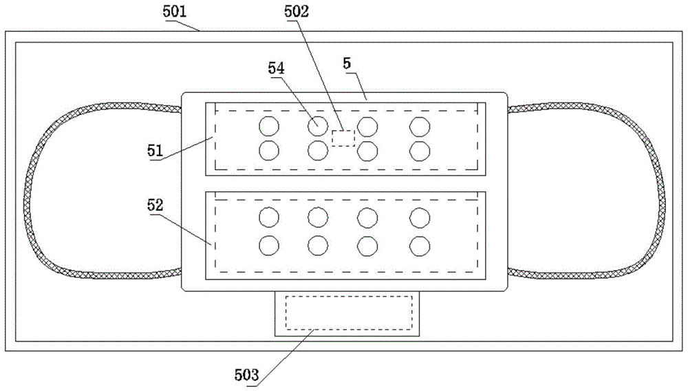
所述装配设备包括缝纫机;缝纫机用于在口罩5的内壁缝制第一荷包51和第二荷包52;缝纫机还用于在口罩5的外壁缝制第三荷包53;The assembling equipment includes a sewing machine; the sewing machine is used to sew the
第一荷包51、第二荷包52、第三荷包53均由透气绵布制成并设置有透气孔54;The
第一荷包51位于第二荷包52的上方,第一荷包51盛装浸过广柑皮汁的药巾,第二荷包52盛装浸过广柑肉汁的药巾;The
第三荷包53用于盛装浸有过氧化氢溶液的湿巾。The
一种防晕动口罩;采用上述的生产线制成,包括口罩5,口罩5的内壁缝制有第一荷包51和第二荷包52;口罩5的外壁缝制有第三荷包53;An anti-sickness mask; made from the above-mentioned production line, comprising a
第一荷包51、第二荷包52、第三荷包53的顶部均开口;The tops of the
将浸过广柑皮汁的药巾烘制后,通过塑封机4封装于塑料袋中。放入第一荷包51中;将浸过广柑肉汁的药巾烘制后,通过塑封机4封装于塑料袋中。放入第二荷包52中。After baking the towel soaked in the citrus peel juice, it is sealed in a plastic bag by a
荷包也称为口袋,与衣服口袋结构相同。Pouches, also known as pockets, have the same structure as clothing pockets.
第一荷包51、第二荷包52、第三荷包53均由透气绵布制成并设置有透气孔54;The
第一荷包51位于第二荷包52的上方,第一荷包51盛装浸过广柑皮汁的药巾,第二荷包52盛装浸过广柑肉汁的药巾;The
第三荷包53盛装有浸有过氧化氢溶液的湿巾;该湿巾也由透气绵布制成;The
将浸有过氧化氢溶液的湿巾通过塑封机4封装于塑料袋中。放入第三荷包53中。药巾、湿巾均可加工多个气孔,以改善通气条件。The wet wipes soaked with the hydrogen peroxide solution are packaged in a plastic bag through a
其中,第一荷包51与用户的鼻孔位置相对应,第二荷包52与用户的口部位置相对应;Wherein, the
广柑皮汁味辛、苦,治疗晕车效果好;其中有益的药物成分经鼻孔吸入后,能有效缓解晕车的症状。The citrus peel juice is pungent and bitter, and has a good effect on the treatment of motion sickness; the beneficial medicinal components in it can effectively relieve the symptoms of motion sickness after being inhaled through the nostrils.
晕车人士往往还有时并发感冒;感冒容易引起鼻塞、咳嗽、肠胃炎,加深晕车的症状,感冒之后晕得更厉害,因此,不得不用口呼吸;People with motion sickness often have colds sometimes; colds can easily cause nasal congestion, cough, gastroenteritis, aggravate the symptoms of motion sickness, and become more dizzy after a cold.
广柑肉汁除了有治疗晕车的效果外口味香、甜;In addition to the effect of treating motion sickness, Guanggan gravy tastes fragrant and sweet;
用口吸入广柑肉汁的气味后,能有效缓解晕车的症状;广柑肉汁的香、甜口味也容易刺激口中的味蕾,不像广柑皮汁那样味辛、苦;减小晕车人士想呕吐的症状。After inhaling the smell of guanggan gravy, it can effectively relieve the symptoms of motion sickness; the fragrant and sweet taste of guanggan gravy can also easily stimulate the taste buds in the mouth, unlike the pungent and bitter taste of guanggan peel juice; reduce motion sickness people want to vomit symptoms.
过氧化氢溶液具有杀菌作用,防止晕车人士呼出带有细菌气体在车船内传播。The hydrogen peroxide solution has a bactericidal effect and prevents people with motion sickness from exhaling bacterial gas that spreads in cars and boats.
使用时,需将包装药巾和湿巾的塑料袋撕开,扔掉塑料袋,保留药巾和湿巾。When using, tear open the plastic bag that packs the wipes and wipes, throw away the plastic bag, and keep the wipes and wipes.
所述口罩5的外壁还设置有按压人中装置6,所述按压人中装置6包括压板61,所述压板61的内侧设置有按压头62,所述按压头62的内端呈圆弧形,按压头62的外端与压板61固连,压板61的两侧分别连接有第一伸缩带63和第二伸缩带64;还包括两根绑带66,两根绑带66竖直设置在压板61的两侧,将按压人中装置6缚在口罩5的外壁上;The outer wall of the
其中绑带66的上下两端均缝制在口罩5的外壁上,绑带66与口罩5的外壁之间形成第一伸缩带63和第二伸缩带64穿过的绑扎过孔661,第一伸缩带63和第二伸缩带64的自由端分别经压板61两侧的绑扎过孔661伸出之后通过魔术贴组件65相连。The upper and lower ends of the
绑带66通过缝纫机缝制在第三荷包53的外壁上。The
人在发生晕车的时候,通常会有眩晕、精神抑郁等现象,挤压人中会使人清醒,通过上述的缝纫机可以将按压人中装置6绑缚在第三荷包53的外壁,第一伸缩带63和第二伸缩带64分别穿过绑扎过孔661绕过脑后,通过魔术贴组件65连接起来,围成一圈,套在头上,第一伸缩带63和第二伸缩带64收缩,使按压头62挤压人中,使人保持清醒。When people experience motion sickness, there are usually dizziness, mental depression and other phenomena, squeezing the human body will make people awake, through the above-mentioned sewing machine, the pressing device 6 can be bound to the outer wall of the
压板61的上端高于鼻尖,不影响鼻孔进气和出气。The upper end of the
所述绑带66由弹性伸缩带制成,魔术贴组件65的宽度大于绑扎过孔661。The
绑带66也是弹性伸缩带制成,其形成的绑扎过孔661可以发生弹性伸缩,拉伸绑带66使其绑扎过孔661的尺寸变大,魔术贴组件65穿过绑扎过孔661后放松绑带66,绑带66收缩,绑扎过孔661尺寸变小,挡住魔术贴组件65,按压人中装置6不会从口罩5上发生脱落。The
所述口罩5上还设置有按摩装置,所述按摩装置包括固设于魔术贴组件65的其中一个魔术贴外壁的电池盒67,电池盒67内设置有电池671,电池盒67内还固设有电机672,电池671经开关674为电机672供电,电机672的主轴穿过电池盒67外壁开设的通孔后,再穿过魔术贴组件65开设的主轴过孔651连接有按摩头673。The
通过上述结构设置,向电池盒67内放入电池671,用户戴好按压人中装置6,按下开关674,电机672带动按摩头673旋转,按摩头673按摩人后脑勺的神经根,使人精神清醒,呼吸顺畅。减轻晕车症状。Through the above structure, put the
其中电机672为微型减速电机。The
如图20-图21所示,所述口罩5设置于真空密封袋501中,所述口罩5中一体成型有设置有CO2传感器502以及报警电路503,所述CO2传感器502设置于口罩5内靠近鼻孔的位置,所述报警电路503包括气压开关、钮扣电池、比较电路、断电延时继电器以及蜂鸣器,钮扣电池经气压开关为CO2传感器502、比较电路、断电延时继电器供电,CO2传感器502输出电压信号给比较电路,比较电路控制断电延时继电器的线圈通断电,钮扣电池经气压开关后再经断电延时继电器的常闭开关为蜂鸣器供电。As shown in Figures 20-21, the
通过上述的结构设置,将口罩5设置于真空密封袋501中,有利于延长保质期,当拆开真空密封袋501后,气压开关接触到大气压闭合,钮扣电池经气压开关后再经断电延时继电器的常闭开关为蜂鸣器供电,蜂鸣器鸣叫;当用户戴上口罩5后,呼出的CO2浓度高,CO2传感器502输出电压信号高,大于比较电路的电压阈值,比较电路输出电压信号,断电延时继电器的线圈通电,断电延时继电器的常闭开关瞬时断开,蜂鸣器停止鸣叫,当用户未配戴或未正确配戴口中时,CO2传感器502输出电压信号低,小于比较电路的电压阈值,比较电路不输出电压信号,断电延时继电器的线圈断电,断电延时继电器的常闭开关延时闭合,蜂鸣器鸣叫,主要用于疫情期间,提醒一些未配戴或未正确配戴的人员,减小病毒传播。采用一体成型和气压开关防止用户将报警装置随意关闭。Through the above structural arrangement, the
最后,需要注意的是:以上列举的仅是本发明的具体实施例子,当然本领域的技术人员可以对本发明进行改动和变型,倘若这些修改和变型属于本发明权利要求及其等同技术的范围之内,均应认为是本发明的保护范围。Finally, it should be noted that: the above enumeration is only the specific embodiment of the present invention, of course those skilled in the art can make changes and modifications to the present invention, if these modifications and modifications belong to the scope of the claims of the present invention and its equivalent technology within the scope of protection of the present invention.
Claims (6)
Priority Applications (1)
| Application Number | Priority Date | Filing Date | Title |
|---|---|---|---|
| CN202010309961.6A CN111466635B (en) | 2020-04-20 | 2020-04-20 | Anti-sickness mask |
Applications Claiming Priority (1)
| Application Number | Priority Date | Filing Date | Title |
|---|---|---|---|
| CN202010309961.6A CN111466635B (en) | 2020-04-20 | 2020-04-20 | Anti-sickness mask |
Publications (2)
| Publication Number | Publication Date |
|---|---|
| CN111466635A true CN111466635A (en) | 2020-07-31 |
| CN111466635B CN111466635B (en) | 2022-09-13 |
Family
ID=71754164
Family Applications (1)
| Application Number | Title | Priority Date | Filing Date |
|---|---|---|---|
| CN202010309961.6A Expired - Fee Related CN111466635B (en) | 2020-04-20 | 2020-04-20 | Anti-sickness mask |
Country Status (1)
| Country | Link |
|---|---|
| CN (1) | CN111466635B (en) |
Citations (12)
| Publication number | Priority date | Publication date | Assignee | Title |
|---|---|---|---|---|
| CN2211834Y (en) * | 1994-12-12 | 1995-11-08 | 戴智勇 | Gauze mask for carsickness |
| CN2346439Y (en) * | 1997-09-29 | 1999-11-03 | 常世宏 | Disposable Chinese medicinal mask |
| CN2621736Y (en) * | 2003-04-26 | 2004-06-30 | 王海金 | Mask |
| CN200942750Y (en) * | 2006-07-25 | 2007-09-05 | 中国重型汽车集团有限公司 | Safety band alarm device |
| CN201853325U (en) * | 2010-12-01 | 2011-06-01 | 东北农业大学 | Combustible gas detector |
| CN105944201A (en) * | 2016-05-31 | 2016-09-21 | 成都德善能科技有限公司 | A medical intelligent ventilator |
| CN206043525U (en) * | 2016-07-11 | 2017-03-29 | 张翼 | A kind of mask with detection function |
| CN106767996A (en) * | 2016-12-15 | 2017-05-31 | 北京小米移动软件有限公司 | Mouth mask wears detection method, device and mouth mask |
| US20180061272A1 (en) * | 2016-08-25 | 2018-03-01 | Postech Academy-Industry Foundation | Smart nasometer |
| CN207084208U (en) * | 2017-02-24 | 2018-03-13 | 吴会领 | Mouth mask with slash pocket |
| CN108606375A (en) * | 2016-12-09 | 2018-10-02 | 天津喜马拉雅健康科技有限公司 | A kind of fragrant citrus essential oil anti-dust mask and preparation method thereof |
| CN109380785A (en) * | 2018-09-11 | 2019-02-26 | 成都惠英融创科技有限公司 | A kind of anti-haze and the mask and preparation method thereof with herbal drug interlayer |
-
2020
- 2020-04-20 CN CN202010309961.6A patent/CN111466635B/en not_active Expired - Fee Related
Patent Citations (12)
| Publication number | Priority date | Publication date | Assignee | Title |
|---|---|---|---|---|
| CN2211834Y (en) * | 1994-12-12 | 1995-11-08 | 戴智勇 | Gauze mask for carsickness |
| CN2346439Y (en) * | 1997-09-29 | 1999-11-03 | 常世宏 | Disposable Chinese medicinal mask |
| CN2621736Y (en) * | 2003-04-26 | 2004-06-30 | 王海金 | Mask |
| CN200942750Y (en) * | 2006-07-25 | 2007-09-05 | 中国重型汽车集团有限公司 | Safety band alarm device |
| CN201853325U (en) * | 2010-12-01 | 2011-06-01 | 东北农业大学 | Combustible gas detector |
| CN105944201A (en) * | 2016-05-31 | 2016-09-21 | 成都德善能科技有限公司 | A medical intelligent ventilator |
| CN206043525U (en) * | 2016-07-11 | 2017-03-29 | 张翼 | A kind of mask with detection function |
| US20180061272A1 (en) * | 2016-08-25 | 2018-03-01 | Postech Academy-Industry Foundation | Smart nasometer |
| CN108606375A (en) * | 2016-12-09 | 2018-10-02 | 天津喜马拉雅健康科技有限公司 | A kind of fragrant citrus essential oil anti-dust mask and preparation method thereof |
| CN106767996A (en) * | 2016-12-15 | 2017-05-31 | 北京小米移动软件有限公司 | Mouth mask wears detection method, device and mouth mask |
| CN207084208U (en) * | 2017-02-24 | 2018-03-13 | 吴会领 | Mouth mask with slash pocket |
| CN109380785A (en) * | 2018-09-11 | 2019-02-26 | 成都惠英融创科技有限公司 | A kind of anti-haze and the mask and preparation method thereof with herbal drug interlayer |
Non-Patent Citations (1)
| Title |
|---|
| 米虹静: "《中医养生保健一本通》", 31 March 2013, 贵州科技出版社 * |
Also Published As
| Publication number | Publication date |
|---|---|
| CN111466635B (en) | 2022-09-13 |
Similar Documents
| Publication | Publication Date | Title |
|---|---|---|
| CN102223865B (en) | Gas mist mask device | |
| US10813813B2 (en) | Localized topical hyperbaric therapeutic instrument | |
| KR100584926B1 (en) | In-body supply device of human useful substances using sauna space | |
| CN107812288B (en) | Odor rehabilitation training device for respiratory diseases and matched traditional Chinese medicine bag | |
| CN111358083B (en) | Spraying method medicine towel preparation equipment for motion-preventing mask | |
| CN111466635B (en) | Anti-sickness mask | |
| CN104771284A (en) | Postpartum sweating cabin | |
| CN111493404A (en) | Motion-preventing mask production line | |
| CN111497303A (en) | Liquid medicine preparation equipment for anti-sickness masks | |
| CN209519107U (en) | A kind of TCM Ophthalmology physical therapy equipment | |
| CN111501239B (en) | Immersion method medical towel preparation equipment for anti-sickness masks | |
| CN217828554U (en) | Small-sized atomizer with function of extracting traditional Chinese medicine components | |
| CN211024016U (en) | Ophthalmology is clinical with eye hot compress device | |
| CN211658721U (en) | Anus intestines branch of academic or vocational study is with chair of fumigating of sitting | |
| CN106172998A (en) | A kind of efficiently Bag tea for sobering one for drinking wine and preparation method thereof | |
| CN107137549A (en) | One kind dehumidifying inducing diaphoresis sachet and preparation method thereof | |
| CN212816739U (en) | Ophthalmic medicine eye-shade that applies | |
| CN221905326U (en) | Practical traditional chinese medicine waistline | |
| CN219184868U (en) | Fumigation physiotherapy equipment | |
| CN219762542U (en) | Lumbar adjustable perineum operation postoperative pressurization trousers | |
| CN211751676U (en) | Smell-scent pain-relieving traditional Chinese medicine bag | |
| CN210056429U (en) | Postoperative recovery device | |
| CN109303686A (en) | A kind of herbal fumigation physiotherapy couch | |
| CN210494381U (en) | A kind of traditional Chinese medicine acupoint eye mask | |
| CN108888500A (en) | A method of it is stifling that polyphenol powde is carried out using polyphenol powde device for fumigation |
Legal Events
| Date | Code | Title | Description |
|---|---|---|---|
| PB01 | Publication | ||
| PB01 | Publication | ||
| SE01 | Entry into force of request for substantive examination | ||
| SE01 | Entry into force of request for substantive examination | ||
| CB02 | Change of applicant information | ||
| CB02 | Change of applicant information |
Address after: 400065 Chongqing No. 2 Normal University, Nan'an District, Chongqing "First class course" construction project of maker Entrepreneurship Applicant after: CHONGQING University OF EDUCATION Address before: 400065 collaborative innovation platform of Chongqing second normal university, Nan'an District, Chongqing Applicant before: CHONGQING University OF EDUCATION |
|
| GR01 | Patent grant | ||
| GR01 | Patent grant | ||
| CF01 | Termination of patent right due to non-payment of annual fee | ||
| CF01 | Termination of patent right due to non-payment of annual fee |
Granted publication date: 20220913 |
