CN111332413A - Fireproof return air silencer for ship cabin - Google Patents
Fireproof return air silencer for ship cabin Download PDFInfo
- Publication number
- CN111332413A CN111332413A CN202010244155.5A CN202010244155A CN111332413A CN 111332413 A CN111332413 A CN 111332413A CN 202010244155 A CN202010244155 A CN 202010244155A CN 111332413 A CN111332413 A CN 111332413A
- Authority
- CN
- China
- Prior art keywords
- return
- air
- return air
- fireproof
- cabin
- Prior art date
- Legal status (The legal status is an assumption and is not a legal conclusion. Google has not performed a legal analysis and makes no representation as to the accuracy of the status listed.)
- Pending
Links
Images
Classifications
-
- B—PERFORMING OPERATIONS; TRANSPORTING
- B63—SHIPS OR OTHER WATERBORNE VESSELS; RELATED EQUIPMENT
- B63B—SHIPS OR OTHER WATERBORNE VESSELS; EQUIPMENT FOR SHIPPING
- B63B29/00—Accommodation for crew or passengers not otherwise provided for
- B63B29/02—Cabins or other living spaces; Construction or arrangement thereof
-
- B—PERFORMING OPERATIONS; TRANSPORTING
- B32—LAYERED PRODUCTS
- B32B—LAYERED PRODUCTS, i.e. PRODUCTS BUILT-UP OF STRATA OF FLAT OR NON-FLAT, e.g. CELLULAR OR HONEYCOMB, FORM
- B32B15/00—Layered products comprising a layer of metal
- B32B15/04—Layered products comprising a layer of metal comprising metal as the main or only constituent of a layer, which is next to another layer of the same or of a different material
-
- B—PERFORMING OPERATIONS; TRANSPORTING
- B32—LAYERED PRODUCTS
- B32B—LAYERED PRODUCTS, i.e. PRODUCTS BUILT-UP OF STRATA OF FLAT OR NON-FLAT, e.g. CELLULAR OR HONEYCOMB, FORM
- B32B15/00—Layered products comprising a layer of metal
- B32B15/14—Layered products comprising a layer of metal next to a fibrous or filamentary layer
-
- B—PERFORMING OPERATIONS; TRANSPORTING
- B32—LAYERED PRODUCTS
- B32B—LAYERED PRODUCTS, i.e. PRODUCTS BUILT-UP OF STRATA OF FLAT OR NON-FLAT, e.g. CELLULAR OR HONEYCOMB, FORM
- B32B15/00—Layered products comprising a layer of metal
- B32B15/20—Layered products comprising a layer of metal comprising aluminium or copper
-
- B—PERFORMING OPERATIONS; TRANSPORTING
- B32—LAYERED PRODUCTS
- B32B—LAYERED PRODUCTS, i.e. PRODUCTS BUILT-UP OF STRATA OF FLAT OR NON-FLAT, e.g. CELLULAR OR HONEYCOMB, FORM
- B32B33/00—Layered products characterised by particular properties or particular surface features, e.g. particular surface coatings; Layered products designed for particular purposes not covered by another single class
-
- B—PERFORMING OPERATIONS; TRANSPORTING
- B32—LAYERED PRODUCTS
- B32B—LAYERED PRODUCTS, i.e. PRODUCTS BUILT-UP OF STRATA OF FLAT OR NON-FLAT, e.g. CELLULAR OR HONEYCOMB, FORM
- B32B5/00—Layered products characterised by the non- homogeneity or physical structure, i.e. comprising a fibrous, filamentary, particulate or foam layer; Layered products characterised by having a layer differing constitutionally or physically in different parts
- B32B5/02—Layered products characterised by the non- homogeneity or physical structure, i.e. comprising a fibrous, filamentary, particulate or foam layer; Layered products characterised by having a layer differing constitutionally or physically in different parts characterised by structural features of a fibrous or filamentary layer
-
- B—PERFORMING OPERATIONS; TRANSPORTING
- B32—LAYERED PRODUCTS
- B32B—LAYERED PRODUCTS, i.e. PRODUCTS BUILT-UP OF STRATA OF FLAT OR NON-FLAT, e.g. CELLULAR OR HONEYCOMB, FORM
- B32B9/00—Layered products comprising a layer of a particular substance not covered by groups B32B11/00 - B32B29/00
- B32B9/04—Layered products comprising a layer of a particular substance not covered by groups B32B11/00 - B32B29/00 comprising such particular substance as the main or only constituent of a layer, which is next to another layer of the same or of a different material
- B32B9/041—Layered products comprising a layer of a particular substance not covered by groups B32B11/00 - B32B29/00 comprising such particular substance as the main or only constituent of a layer, which is next to another layer of the same or of a different material of metal
-
- G—PHYSICS
- G10—MUSICAL INSTRUMENTS; ACOUSTICS
- G10K—SOUND-PRODUCING DEVICES; METHODS OR DEVICES FOR PROTECTING AGAINST, OR FOR DAMPING, NOISE OR OTHER ACOUSTIC WAVES IN GENERAL; ACOUSTICS NOT OTHERWISE PROVIDED FOR
- G10K11/00—Methods or devices for transmitting, conducting or directing sound in general; Methods or devices for protecting against, or for damping, noise or other acoustic waves in general
- G10K11/16—Methods or devices for protecting against, or for damping, noise or other acoustic waves in general
- G10K11/162—Selection of materials
-
- B—PERFORMING OPERATIONS; TRANSPORTING
- B32—LAYERED PRODUCTS
- B32B—LAYERED PRODUCTS, i.e. PRODUCTS BUILT-UP OF STRATA OF FLAT OR NON-FLAT, e.g. CELLULAR OR HONEYCOMB, FORM
- B32B2262/00—Composition or structural features of fibres which form a fibrous or filamentary layer or are present as additives
- B32B2262/10—Inorganic fibres
- B32B2262/108—Rockwool fibres
-
- B—PERFORMING OPERATIONS; TRANSPORTING
- B32—LAYERED PRODUCTS
- B32B—LAYERED PRODUCTS, i.e. PRODUCTS BUILT-UP OF STRATA OF FLAT OR NON-FLAT, e.g. CELLULAR OR HONEYCOMB, FORM
- B32B2307/00—Properties of the layers or laminate
- B32B2307/30—Properties of the layers or laminate having particular thermal properties
- B32B2307/304—Insulating
-
- B—PERFORMING OPERATIONS; TRANSPORTING
- B32—LAYERED PRODUCTS
- B32B—LAYERED PRODUCTS, i.e. PRODUCTS BUILT-UP OF STRATA OF FLAT OR NON-FLAT, e.g. CELLULAR OR HONEYCOMB, FORM
- B32B2307/00—Properties of the layers or laminate
- B32B2307/30—Properties of the layers or laminate having particular thermal properties
- B32B2307/306—Resistant to heat
- B32B2307/3065—Flame resistant or retardant, fire resistant or retardant
-
- B—PERFORMING OPERATIONS; TRANSPORTING
- B32—LAYERED PRODUCTS
- B32B—LAYERED PRODUCTS, i.e. PRODUCTS BUILT-UP OF STRATA OF FLAT OR NON-FLAT, e.g. CELLULAR OR HONEYCOMB, FORM
- B32B2605/00—Vehicles
- B32B2605/12—Ships
Landscapes
- Engineering & Computer Science (AREA)
- Chemical & Material Sciences (AREA)
- Combustion & Propulsion (AREA)
- Mechanical Engineering (AREA)
- Ocean & Marine Engineering (AREA)
- Physics & Mathematics (AREA)
- Acoustics & Sound (AREA)
- Multimedia (AREA)
- Ceramic Engineering (AREA)
- Soundproofing, Sound Blocking, And Sound Damping (AREA)
Abstract
本发明公开了一种船舶舱室防火回风消音装置,用于安装在船舶的舱室板(6)上。所述装置包括回风栅(1)和消音盒(2),分别从正面和背面安装在舱室板(6)的回风开口(61)处,消音盒(2)上设置有回风管连接接口(7),消音盒(2)内形成连通回风开口(61)和回风管连接接口(7)的回风腔室(8);其中,消音盒(2)采用多孔材料制成且外表面覆盖有防火保护材料,回风腔室(8)具有突变截面形状。本发明装置,采用多孔材料制作消音盒,且内部回风腔室具有突变截面,可减弱通过消音盒的声波的传播能量,达到消声的目的,有助于降低二次噪声,同时有效地保证船舶舱室板的耐火完整性。
The invention discloses a fire-proof return air noise reduction device for a ship cabin, which is used for being installed on a cabin board (6) of a ship. The device comprises a return air grille (1) and a muffler box (2), which are respectively installed at the air return opening (61) of the cabin panel (6) from the front and the back, and the muffler box (2) is provided with a return air pipe connection In the interface (7), a return air chamber (8) communicating with the return air opening (61) and the return air pipe connection interface (7) is formed in the muffler box (2); wherein the muffler box (2) is made of porous material and The outer surface is covered with fire protection material, and the return air chamber (8) has a sudden change in cross-sectional shape. The device of the present invention uses porous material to make the muffler box, and the internal air return chamber has a sudden change of section, which can reduce the propagation energy of sound waves passing through the muffler box, achieve the purpose of muffling, help reduce secondary noise, and effectively ensure Fire integrity of ship compartment panels.
Description
技术领域technical field
本发明涉及消音装置技术领域,具体涉及一种船舶舱室防火回风消音装置,特别适用于满足对船舶舱室板的隔音和防火需求。The invention relates to the technical field of sound-absorbing devices, in particular to a fire-resisting and air-returning sound-absorbing device for ship cabins, which is particularly suitable for meeting the requirements for sound insulation and fire prevention of ship cabin panels.
背景技术Background technique
根据国际海事组织(IMO)发布的规范,船舶舱室应采取一定的隔声消声措施以保护船上人员免受噪声的伤害。在船舶舱室中,回风系统在船舶航行中因船舶振动会产生二次噪声,是舱室的主要噪声源,所以有必要对回风系统做一定的消声处理,以减少噪声的影响。目前急需一种结构简单,安装方便,效果良好的消音装置。According to the specifications issued by the International Maritime Organization (IMO), certain sound insulation and noise reduction measures should be taken in ship cabins to protect shipboard personnel from noise. In the cabin of the ship, the return air system will generate secondary noise due to the vibration of the ship during the sailing of the ship, which is the main noise source of the cabin. Therefore, it is necessary to do certain noise reduction treatment on the return air system to reduce the impact of noise. At present, there is an urgent need for a muffler device with simple structure, convenient installation and good effect.
发明内容SUMMARY OF THE INVENTION
本发明的目的在于提供一种船舶舱室防火回风消音装置,用于针对现有技术规范标准的要求,在不改变船舶舱室的防火要求的前提下,提出一个结构简单,安装方便,效果良好的船舶舱室防火回风消音装置。The purpose of the present invention is to provide a fire-returning air-silencing device for ship cabins, which is used to meet the requirements of existing technical specifications and standards, without changing the fire-proof requirements of ship cabins, to propose a simple structure, convenient installation and good effect. Ship cabin fire-proof return air muffler device.
为实现上述发明目的,本发明采用的技术方案如下。In order to achieve the above purpose of the invention, the technical solutions adopted in the present invention are as follows.
一种船舶舱室防火回风消音装置,用于安装在船舶的舱室板上,所述舱室板上开设有回风开口,所述装置包括回风栅和消音盒,所述回风栅从正面安装在所述舱室板的回风开口处,所述消音盒从背面安装在所述舱室板的所述回风开口处,所述消音盒上设置有远离所述回风开口的回风管连接接口,所述消音盒内形成回风腔室,所述回风腔室的两端分别连通所述回风开口和所述回风管连接接口;其中,所述消音盒采用多孔材料制成,所述消音盒的外表面覆盖有防火保护材料,所述回风腔室具有突变截面形状。A fire-returning air-silencing device for a ship cabin is used to be installed on a cabin board of a ship, the cabin board is provided with a return air opening, the device comprises a return air grille and a muffler box, and the return air grille is installed from the front At the air return opening of the cabin panel, the muffler box is installed at the air return opening of the cabin panel from the back, and the muffler box is provided with a return air pipe connection interface away from the return air opening , a return air chamber is formed in the muffler box, and both ends of the return air chamber are respectively connected to the return air opening and the connection interface of the return air pipe; wherein, the muffler box is made of porous material, so the The outer surface of the muffler box is covered with fire protection material, and the air return chamber has a sudden cross-sectional shape.
一种可能的实现方式中,所述回风腔室包括相连通的第一回风腔室和第二回风腔室;所述第一回风腔室的截面形状为梯形,与所述回风开口相连通;所述第二回风腔室为直管状,与所述回风管连接接口相连通,所述回风管连接接口设在所述第二回风腔室的上方。In a possible implementation manner, the return air chamber includes a first return air chamber and a second return air chamber that are communicated with each other; the cross-sectional shape of the first return air chamber is a trapezoid, and the The air openings are communicated with each other; the second air return chamber is in the shape of a straight pipe and communicates with the connection interface of the air return pipe, and the connection interface of the air return pipe is arranged above the second air return chamber.
一种可能的实现方式中,所述消音盒是采用单层微孔薄钢板弯折而成的盒状结构,该盒状结构的连接所述舱室板的前端具有与所述回风开口匹配的开放入口。In a possible implementation manner, the muffler box is a box-shaped structure formed by bending a single-layer microporous thin steel plate, and the front end of the box-shaped structure connected to the cabin plate has a matching air return opening. Open entrance.
一种可能的实现方式中,该盒状结构包括垂直于所述舱室板的横向底板和两个竖向侧板(第一竖向侧板和第二竖向侧板),平行于所述舱室板的竖向后面板,以及多段式顶板,所述多段式顶板包括从前端至后端依次相连的倾斜顶板、竖向顶板和横向顶板。In a possible implementation manner, the box-like structure includes a transverse bottom plate perpendicular to the cabin plate and two vertical side plates (a first vertical side plate and a second vertical side plate), which are parallel to the cabin. The vertical rear panel of the panel, and the multi-segment top panel, the multi-segment top panel includes an inclined top panel, a vertical top panel and a horizontal top panel connected in sequence from the front end to the rear end.
一种可能的实现方式中,所述回风管连接接口设置在所述横向顶板上。In a possible implementation manner, the connection interface of the return air duct is provided on the lateral top plate.
一种可能的实现方式中,所述回风栅包括设有中央通孔的回风面板和设在回风面板的中央通孔处的通风百叶,所述回风面板通过多个固定螺钉安装在所述舱室板上,所述通风百叶遮挡住所述回风开口。In a possible implementation manner, the air return grille includes a return air panel provided with a central through hole and a ventilation louver disposed at the central through hole of the return air panel, and the air return panel is mounted on the air return panel through a plurality of fixing screws. On the cabin panel, the ventilation louver blocks the return air opening.
一种可能的实现方式中,所述通风百叶为斜锲形片状结构。In a possible implementation manner, the ventilation louver is an oblique wedge-shaped sheet-like structure.
一种可能的实现方式中,所述消音盒外表面覆盖的防火保护材料,包括位于内层的防火隔热材料和位于外层的表面包覆材料。In a possible implementation manner, the fire protection material covered on the outer surface of the muffler box includes a fire insulation material located in the inner layer and a surface coating material located in the outer layer.
一种可能的实现方式中,所述防火隔热材料为防火岩棉或吸音棉,所述表面包覆材料为不燃性铝箔。In a possible implementation manner, the fire-proof and heat-insulating material is fire-proof rock wool or sound-absorbing cotton, and the surface coating material is non-combustible aluminum foil.
本发明的船舶舱室防火回风消音装置,通过采用以上技术方案,与现有技术相比,取得了以下有益效果:本发明装置,利用声学原理,采用多孔材料制作消音盒,且消音盒内的回风腔室具有突变截面,可减弱通过消音盒的声波的传播能量,达到消声的目的,降低船舶舱室中产生的二次噪声,同时有效地保证船舶舱室板的耐火完整性。Compared with the prior art, by adopting the above technical solutions, the present invention has the following beneficial effects: the device of the present invention utilizes the principle of acoustics, adopts porous materials to make a sound-absorbing box, and the inside of the sound-absorbing box The return air chamber has a sudden change of section, which can reduce the propagation energy of the sound wave passing through the muffler box, achieve the purpose of muffling, reduce the secondary noise generated in the ship's cabin, and effectively ensure the fire-resistant integrity of the ship's cabin plate.
附图说明Description of drawings
为了更清楚地说明本发明实施例技术方案,下面将对实施例描述中所需要使用的附图作简单地介绍。In order to explain the technical solutions of the embodiments of the present invention more clearly, the following briefly introduces the accompanying drawings that are used in the description of the embodiments.
图1是本发明实施例提供的船舶舱室防火回风消音装置的主视图;Fig. 1 is a front view of a fireproof return air muffler device for a ship cabin provided by an embodiment of the present invention;
图2是本发明实施例提供的船舶舱室防火回风消音装置的横向剖视图;FIG. 2 is a transverse cross-sectional view of a fireproof return air muffler device for a ship cabin provided by an embodiment of the present invention;
图3是本发明实施例提供的船舶舱室防火回风消音装置的纵向剖视图;3 is a longitudinal cross-sectional view of a fireproof return air muffler device for a ship cabin provided by an embodiment of the present invention;
图4是本发明实施例提供的船舶舱室防火回风消音装置的消音盒的立体图;4 is a perspective view of a muffler box of a fireproof return air muffler device for a ship cabin provided by an embodiment of the present invention;
图5是本发明实施例提供的船舶舱室防火回风消音装置的回风栅的主视图;Fig. 5 is the front view of the air return grill of the fireproof air return muffler device for the ship cabin provided by the embodiment of the present invention;
图6是本发明实施例提供的船舶舱室防火回风消音装置的回风栅的侧视图;6 is a side view of a return air grille of a fireproof return air muffler device for a ship cabin provided by an embodiment of the present invention;
图7是本发明实施例提供的船舶舱室防火回风消音装置的工作原理图。FIG. 7 is a working principle diagram of the fireproof return air noise reduction device for a ship cabin provided by an embodiment of the present invention.
具体实施方式Detailed ways
为了使本技术领域的人员更好地理解本发明方案,下面将结合本发明实施例中的附图,对本发明实施例中的技术方案进行清楚、完整地描述,显然,所描述的实施例仅仅是本发明一部分的实施例,而不是全部的实施例。基于本发明中的实施例,本领域普通技术人员在没有做出创造性劳动前提下所获得的所有其他实施例,都应当属于本发明保护的范围。In order to make those skilled in the art better understand the solutions of the present invention, the technical solutions in the embodiments of the present invention will be clearly and completely described below with reference to the accompanying drawings in the embodiments of the present invention. Obviously, the described embodiments are only Embodiments are part of the present invention, but not all embodiments. Based on the embodiments of the present invention, all other embodiments obtained by persons of ordinary skill in the art without creative efforts shall fall within the protection scope of the present invention.
本发明的说明书和权利要求书及上述附图中的术语“第一”、“第二”、“第三”等是用于区别不同的对象,而不是用于描述特定顺序。此外,术语“包括”和“具有”以及它们任何变形,意图在于覆盖不排他的包含。例如包含了一系列步骤或单元的过程、方法、系统、产品或设备没有限定于已列出的步骤或单元,而是可选地还包括没有列出的步骤或单元,或可选地还包括对于这些过程、方法、产品或设备固有的其它步骤或单元。The terms "first", "second", "third" and the like in the description and claims of the present invention and the above drawings are used to distinguish different objects, rather than to describe a specific order. Furthermore, the terms "comprising" and "having" and any variations thereof are intended to cover non-exclusive inclusion. For example, a process, method, system, product or device comprising a series of steps or units is not limited to the listed steps or units, but optionally also includes unlisted steps or units, or optionally also includes For other steps or units inherent to these processes, methods, products or devices.
下面通过具体实施例,分别进行详细的说明。The following detailed descriptions are given respectively through specific embodiments.
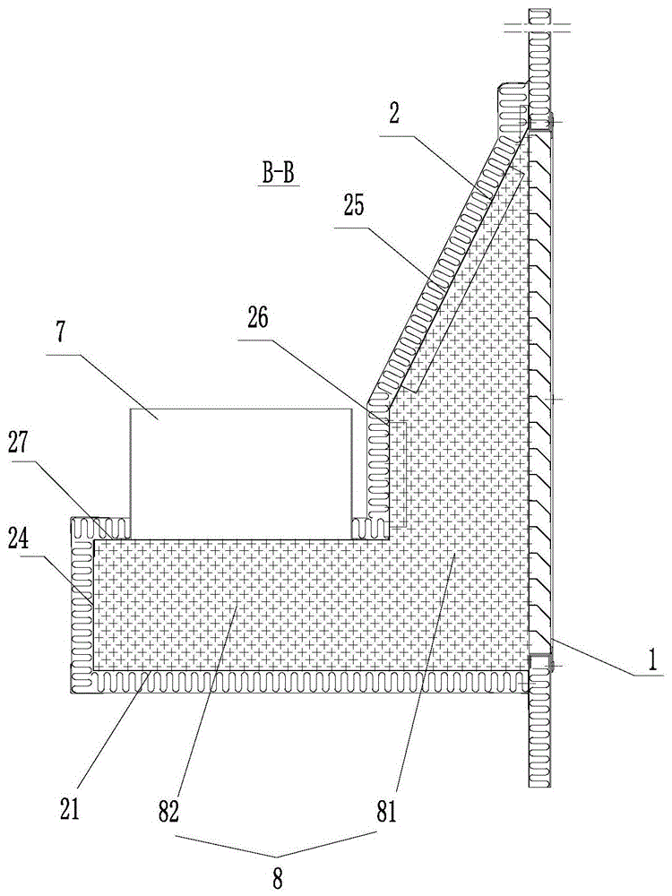
请参考图1至图4,本发明的一个实施例,提供一种船舶舱室防火回风消音装置。该装置用于安装在船舶的舱室板6上,该舱室板6起空间分隔作用,通常采用复合板材制作,可称为舱室分隔板或舱室复合板。所述舱室板6上开设有用于空调系统的回风开口61。本发明装置在该回风开口61处,用于避免或减弱回风系统在船舶航行中因船舶振动产生二次噪声。Please refer to FIG. 1 to FIG. 4 , an embodiment of the present invention provides a fireproof return air noise reduction device for a ship cabin. The device is used to be installed on the
本发明装置可包括回风栅1和消音盒2。其中,所述回风栅1从正面安装在所述舱室板6的回风开口61处,所述消音盒2从背面安装在所述舱室板6的所述回风开口61处。舱室内的空气、声波可通过回风栅1的缝隙通过回风开口61,进入消音盒2内部。The device of the present invention may include a
所述消音盒2上设置有远离所述回风开口61的回风管连接接口7,所述消音盒2内形成回风腔室8,所述回风腔室8的两端分别连通所述回风开口61和所述回风管连接接口7。回风腔室8作为传播管道,将进入消音盒2内部的声波、空气传播到回风管连接接口7处,进入回风管。The
其中,特别的是:所述消音盒2采用多孔材料制成,尤其是可采用多微孔材料制成;所述消音盒2的外表面覆盖有防火保护材料;所述回风腔室8具有突变截面形状。Among them, in particular: the
所述突变截面形状是指回风腔室8的截面形状是不均匀、非平滑的,可具有至少一个反射面,从而,可在声波传播过程中引起阻抗的改变,使传播中的声波不能直接通过而是产生声能的反射。同时,多孔材料制作的消音盒2,使得回风腔室8的腔壁为多孔结构实现吸音孔功能,一部分声能在多孔材料的孔隙中摩擦而转化成热能耗散掉,使通过消音盒2的声波减弱。从而,该消音盒2可有效实现消音功能,减少回风系统产生的二次噪声。The abrupt cross-sectional shape means that the cross-sectional shape of the
本发明中,所述回风腔室8可以有多个不同形状的腔室连通构成。例如,一些实施例中,所述回风腔室8可包括相连通的第一回风腔室81和第二回风腔室82;所述第一回风腔室81的截面形状为梯形,梯形下底面一端为开放入口,与所述回风开口61相连通;所述第二回风腔室82为直管状,具体可以是矩形管状,一端与第一回风腔室81的梯形上底面一端相连通,另一端与所述回风管连接接口7相连通。In the present invention, the
可选的,所述回风管连接接口7设在所述第二回风腔室82的上方,即,回风管连接接口7开口方向向上。而回风开口61是贯穿舱室板6的,其开口方向是水平的。这样,回风腔室8两端的回风管连接接口7和回风开口61的开口方向不同,避免声波直接通过,以确保传播的声波被多孔结构的腔壁吸收消耗一部分。Optionally, the return air
请参考图4,可选的,所述消音盒2可以是采用单层微孔薄钢板弯折而成的盒状结构,其中,单层微孔薄钢板的厚度可以在0.5mm~0.7mm之间,其上密布微孔,微孔直径可以在1mm~5mm之间,微孔可以是贯穿孔。该盒状结构的连接所述舱室板6的前端具有与所述回风开口61匹配的开放入口,实现与回风开口61的相通连接。Please refer to FIG. 4 , optionally, the
可选的,该盒状结构包括垂直于所述舱室板6的横向底板21和第一竖向侧板22及第二竖向侧板23,平行于所述舱室板6的竖向后面板24,以及多段式顶板;所述多段式顶板包括从前端至后端依次相连的倾斜顶板25、竖向顶板26和横向顶板27。其中,横向底板21、第一竖向侧板22、第二竖向侧板23以及竖向后面板24可以由一块板材弯折而成,多段式顶板可以由一块板材弯折而成,两块板材拼接成盒状结构。Optionally, the box-like structure includes a
可选的,所述回风管连接接口7设置在所述横向顶板27上。Optionally, the return air
请参考图5和图6,可选的,所述回风栅1包括设有中央通孔的回风面板11和设在回风面板11的中央通孔处的通风百叶12,所述回风面板11可通过多个固定螺钉5安装在舱室板6正面的回风开口61处,使所述通风百叶12遮挡住所述回风开口61。船舱舱室内的声波、空气可通过通风百叶12的缝隙进入消音盒2内形成的回风腔室8。可选的,所述通风百叶12为斜锲形片状结构,其截面大致呈“︹”形状。Please refer to FIG. 5 and FIG. 6 , optionally, the
可选的,所述消音盒2外表面覆盖的防火保护材料,可包括位于内层的防火隔热材料3和位于外层的表面包覆材料4。其中,所述防火隔热材料3可以为防火岩棉或吸音棉,所述表面包覆材料4可以为不燃性铝箔。Optionally, the fire protection material covered on the outer surface of the
请参考图7,是声波进入本发明装置的消音盒2内部后,在回风腔室8内部传播、反射的示意图,图中的箭头表示声波的传播或反射的方向。Please refer to FIG. 7 , which is a schematic diagram of the propagation and reflection of sound waves in the
如上,本发明公开了一种船舶舱室防火回风消音装置,该装置利用多孔吸声材料制成的消音盒来降低噪声,以吸声材料作为气流通道(即回风腔室)的内壁,并利用回风腔室截面形状的突变使通过消音盒的声波的传播能量减弱,来达到消声的目的,可有效降低船舶舱室中的二次噪声的产生,同时兼顾船舶舱室的防火性能要求。As above, the present invention discloses a fireproof return air noise reduction device for a ship cabin, which uses a sound-absorbing box made of porous sound-absorbing material to reduce noise, uses the sound-absorbing material as the inner wall of the airflow channel (ie, the return air chamber), and The sudden change of the cross-sectional shape of the return air chamber can weaken the propagating energy of the sound wave passing through the muffler box to achieve the purpose of noise reduction, which can effectively reduce the generation of secondary noise in the ship's cabin, while taking into account the fire performance requirements of the ship's cabin.
具体来说,本发明装置的消音盒采用多孔材料制作,当声波进入装置时,一部分声能在多孔材料的孔隙中摩擦而转化成热能耗散掉,使通过装置的声波减弱。同时本发明装置设置具有突变截面的回风腔室,该回风腔室可选取不同截面形状的腔室组合而成,例如,可以是前端为梯形截面形状的第一回风腔室,后端为直管状的第二回风腔室,第一回风腔室具有突变截面,第二回风腔室可作为共振腔,且回风腔室壁上分布很多孔作为吸音孔。本发明利用通过回风腔室截面突变处或旁接共振腔等在声传播过程中引起阻抗的改变而产生声能的反射的声学原理,让声波在多孔材料或吸声结构中传播,因作为传播管道的回风腔室截面突变后产生反射和摩擦将声能转化为热能而散发掉,使沿回风腔室传播的噪声随距离而衰减,从而达到消声目的,减少二次噪声对人的干扰。Specifically, the muffler box of the device of the present invention is made of porous material. When the sound wave enters the device, a part of the sound energy is rubbed in the pores of the porous material and converted into heat energy and dissipated, so that the sound wave passing through the device is weakened. At the same time, the device of the present invention is provided with a return air chamber with abrupt cross-section. The return air chamber can be composed of chambers with different cross-sectional shapes. It is a straight tubular second air return chamber, the first air return chamber has a sudden change of section, the second air return chamber can be used as a resonance chamber, and many holes are distributed on the wall of the return air chamber as sound absorption holes. The invention utilizes the acoustic principle of the reflection of sound energy caused by the change of impedance in the process of sound propagation through the sudden change of the section of the return air chamber or the bypass resonant cavity, etc., so that the sound wave propagates in the porous material or the sound absorbing structure. After the cross section of the return air chamber of the propagation duct changes abruptly, reflection and friction are generated, and the sound energy is converted into heat energy and dissipated, so that the noise propagating along the return air chamber attenuates with the distance, so as to achieve the purpose of noise reduction and reduce the secondary noise to people. interference.
在上述实施例中,对各个实施例的描述都各有侧重,某个实施例中没有详细描述的部分,可以参见其它实施例的相关描述。In the above-mentioned embodiments, the description of each embodiment has its own emphasis. For parts that are not described in detail in a certain embodiment, reference may be made to related descriptions of other embodiments.
上述实施例仅用以说明本发明的技术方案,而非对其限制;本领域的普通技术人员应当理解:其依然可以对上述各实施例所记载的技术方案进行修改,或者对其中部分技术特征进行等同替换;而这些修改或者替换,并不使相应技术方案的本质脱离本发明各实施例技术方案的精神和范围。The above embodiments are only used to illustrate the technical solutions of the present invention, but not to limit them; those of ordinary skill in the art should understand that they can still modify the technical solutions recorded in the above embodiments, or modify some of the technical features. Equivalent replacements are made; and these modifications or replacements do not make the essence of the corresponding technical solutions deviate from the spirit and scope of the technical solutions of the embodiments of the present invention.
Claims (9)
Priority Applications (1)
| Application Number | Priority Date | Filing Date | Title |
|---|---|---|---|
| CN202010244155.5A CN111332413A (en) | 2020-03-31 | 2020-03-31 | Fireproof return air silencer for ship cabin |
Applications Claiming Priority (1)
| Application Number | Priority Date | Filing Date | Title |
|---|---|---|---|
| CN202010244155.5A CN111332413A (en) | 2020-03-31 | 2020-03-31 | Fireproof return air silencer for ship cabin |
Publications (1)
| Publication Number | Publication Date |
|---|---|
| CN111332413A true CN111332413A (en) | 2020-06-26 |
Family
ID=71178695
Family Applications (1)
| Application Number | Title | Priority Date | Filing Date |
|---|---|---|---|
| CN202010244155.5A Pending CN111332413A (en) | 2020-03-31 | 2020-03-31 | Fireproof return air silencer for ship cabin |
Country Status (1)
| Country | Link |
|---|---|
| CN (1) | CN111332413A (en) |
Cited By (2)
| Publication number | Priority date | Publication date | Assignee | Title |
|---|---|---|---|---|
| CN111959740A (en) * | 2020-08-20 | 2020-11-20 | 广船国际有限公司 | Ship cabin sanitary unit and ship |
| CN116080818A (en) * | 2023-03-22 | 2023-05-09 | 江南造船(集团)有限责任公司 | A screen, screen wall and device for sound insulation and air return |
Citations (7)
| Publication number | Priority date | Publication date | Assignee | Title |
|---|---|---|---|---|
| CN205293054U (en) * | 2016-01-18 | 2016-06-08 | 丹华海洋工程装备(上海)有限公司 | Air supply damping whistle box of marine air conditioner |
| CN107399419A (en) * | 2016-05-19 | 2017-11-28 | 中集海洋工程研究院有限公司 | Ocean engineering accommodation and its noise elimination ventilation unit |
| CN108757583A (en) * | 2018-06-06 | 2018-11-06 | 上海外高桥造船有限公司 | Noise-decreasing device and noise abatement wind turbine cabin with the noise-decreasing device |
| CN208253861U (en) * | 2018-05-28 | 2018-12-18 | 广州舜领教育咨询有限公司 | Sound-insulation noise-reduction ventilator |
| CN109367753A (en) * | 2018-07-30 | 2019-02-22 | 沪东中华造船(集团)有限公司 | A kind of sound-absorbing air duct of ship loading cabin |
| CN110254683A (en) * | 2019-06-24 | 2019-09-20 | 金苡炫 | A kind of noise elimination ventilation device of ocean engineering accommodation |
| CN212047798U (en) * | 2020-03-31 | 2020-12-01 | 华南建材(深圳)有限公司 | Fireproof return air silencer for ship cabin |
-
2020
- 2020-03-31 CN CN202010244155.5A patent/CN111332413A/en active Pending
Patent Citations (7)
| Publication number | Priority date | Publication date | Assignee | Title |
|---|---|---|---|---|
| CN205293054U (en) * | 2016-01-18 | 2016-06-08 | 丹华海洋工程装备(上海)有限公司 | Air supply damping whistle box of marine air conditioner |
| CN107399419A (en) * | 2016-05-19 | 2017-11-28 | 中集海洋工程研究院有限公司 | Ocean engineering accommodation and its noise elimination ventilation unit |
| CN208253861U (en) * | 2018-05-28 | 2018-12-18 | 广州舜领教育咨询有限公司 | Sound-insulation noise-reduction ventilator |
| CN108757583A (en) * | 2018-06-06 | 2018-11-06 | 上海外高桥造船有限公司 | Noise-decreasing device and noise abatement wind turbine cabin with the noise-decreasing device |
| CN109367753A (en) * | 2018-07-30 | 2019-02-22 | 沪东中华造船(集团)有限公司 | A kind of sound-absorbing air duct of ship loading cabin |
| CN110254683A (en) * | 2019-06-24 | 2019-09-20 | 金苡炫 | A kind of noise elimination ventilation device of ocean engineering accommodation |
| CN212047798U (en) * | 2020-03-31 | 2020-12-01 | 华南建材(深圳)有限公司 | Fireproof return air silencer for ship cabin |
Cited By (2)
| Publication number | Priority date | Publication date | Assignee | Title |
|---|---|---|---|---|
| CN111959740A (en) * | 2020-08-20 | 2020-11-20 | 广船国际有限公司 | Ship cabin sanitary unit and ship |
| CN116080818A (en) * | 2023-03-22 | 2023-05-09 | 江南造船(集团)有限责任公司 | A screen, screen wall and device for sound insulation and air return |
Similar Documents
| Publication | Publication Date | Title |
|---|---|---|
| CN101675226B (en) | Acoustic panels with variable acoustic characteristics | |
| JPH11159347A (en) | Gas turbine exhaust flue | |
| CN111332413A (en) | Fireproof return air silencer for ship cabin | |
| CN112623168A (en) | Large-scale underwater platform noise reduction covering layer with space bending composite decoupling mechanism | |
| CN212047798U (en) | Fireproof return air silencer for ship cabin | |
| CN212643888U (en) | Impedance composite silencer | |
| JP3580810B1 (en) | Sound absorbing device for very low frequency sound | |
| CN211144922U (en) | Assembled sound-insulation noise-reduction device for fan | |
| CN202117739U (en) | Resistant/retardant combined type exhaust muffler | |
| CN112049774B (en) | Compressor noise reduction device and method | |
| CN210532659U (en) | Static pressure box | |
| CN210531248U (en) | A fan muffler | |
| CN214897605U (en) | Resonance structure and silencer composed of same | |
| TWM569825U (en) | Box-silencer structure | |
| CN112360628B (en) | Mute generator set | |
| CN210940778U (en) | Layered composite light acoustic material for isolating equipment noise | |
| JP2001074302A (en) | Silencer for air-conditioning duct | |
| CN217157699U (en) | Circular silencer | |
| JP4864470B2 (en) | Duct parts | |
| CN217105620U (en) | A wall sound insulation device | |
| CN223329725U (en) | Diffraction preventing device and sound barrier | |
| CN217517849U (en) | Sound-insulation plane explosion-proof plate | |
| CN217690487U (en) | A high-efficient muffler for reducing low smoke duct noise | |
| CN223433744U (en) | Diffraction preventing device and sound barrier | |
| CN216007428U (en) | Partition wall with sound insulation effect |
Legal Events
| Date | Code | Title | Description |
|---|---|---|---|
| PB01 | Publication | ||
| PB01 | Publication | ||
| SE01 | Entry into force of request for substantive examination | ||
| SE01 | Entry into force of request for substantive examination | ||
| WD01 | Invention patent application deemed withdrawn after publication |
Application publication date: 20200626 |
|
| WD01 | Invention patent application deemed withdrawn after publication |
