CN111238197A - Combined drying machine - Google Patents
Combined drying machine Download PDFInfo
- Publication number
- CN111238197A CN111238197A CN202010200122.0A CN202010200122A CN111238197A CN 111238197 A CN111238197 A CN 111238197A CN 202010200122 A CN202010200122 A CN 202010200122A CN 111238197 A CN111238197 A CN 111238197A
- Authority
- CN
- China
- Prior art keywords
- groups
- rotating
- heat pump
- boxes
- pump unit
- Prior art date
- Legal status (The legal status is an assumption and is not a legal conclusion. Google has not performed a legal analysis and makes no representation as to the accuracy of the status listed.)
- Pending
Links
Images
Classifications
-
- F—MECHANICAL ENGINEERING; LIGHTING; HEATING; WEAPONS; BLASTING
- F26—DRYING
- F26B—DRYING SOLID MATERIALS OR OBJECTS BY REMOVING LIQUID THEREFROM
- F26B11/00—Machines or apparatus for drying solid materials or objects with movement which is non-progressive
- F26B11/18—Machines or apparatus for drying solid materials or objects with movement which is non-progressive on or in moving dishes, trays, pans, or other mainly-open receptacles
-
- A—HUMAN NECESSITIES
- A23—FOODS OR FOODSTUFFS; TREATMENT THEREOF, NOT COVERED BY OTHER CLASSES
- A23F—COFFEE; TEA; THEIR SUBSTITUTES; MANUFACTURE, PREPARATION, OR INFUSION THEREOF
- A23F3/00—Tea; Tea substitutes; Preparations thereof
- A23F3/06—Treating tea before extraction; Preparations produced thereby
-
- F—MECHANICAL ENGINEERING; LIGHTING; HEATING; WEAPONS; BLASTING
- F26—DRYING
- F26B—DRYING SOLID MATERIALS OR OBJECTS BY REMOVING LIQUID THEREFROM
- F26B21/00—Arrangements or duct systems, e.g. in combination with pallet boxes, for supplying and controlling air or gases for drying solid materials or objects
- F26B21/001—Drying-air generating units, e.g. movable, independent of drying enclosure
- F26B21/002—Drying-air generating units, e.g. movable, independent of drying enclosure heating the drying air indirectly, i.e. using a heat exchanger
-
- F26B21/33—
-
- F—MECHANICAL ENGINEERING; LIGHTING; HEATING; WEAPONS; BLASTING
- F26—DRYING
- F26B—DRYING SOLID MATERIALS OR OBJECTS BY REMOVING LIQUID THEREFROM
- F26B25/00—Details of general application not covered by group F26B21/00 or F26B23/00
-
- F—MECHANICAL ENGINEERING; LIGHTING; HEATING; WEAPONS; BLASTING
- F26—DRYING
- F26B—DRYING SOLID MATERIALS OR OBJECTS BY REMOVING LIQUID THEREFROM
- F26B2200/00—Drying processes and machines for solid materials characterised by the specific requirements of the drying good
- F26B2200/20—Teas, i.e. drying, conditioning, withering of tea leaves
Landscapes
- Engineering & Computer Science (AREA)
- Mechanical Engineering (AREA)
- General Engineering & Computer Science (AREA)
- Life Sciences & Earth Sciences (AREA)
- Chemical & Material Sciences (AREA)
- Food Science & Technology (AREA)
- Polymers & Plastics (AREA)
- Drying Of Solid Materials (AREA)
Abstract
本发明公开一种组合烘干机,包括热泵机组和烘厢,烘厢设有进风口和回风口,进风口与热泵机组的出风口连通,烘厢为组合式箱体,烘厢内设有两个以上的旋转架用于置放待烘干对象。本发明组合烘干机可根据使用需求,组装成两组旋转架烘干机、或四组旋转架烘干机、或六组旋转架烘干机,具有结构合理、除湿烘干、组装灵活等优点。
The invention discloses a combined dryer, which includes a heat pump unit and a drying chamber. The drying chamber is provided with an air inlet and an air return outlet, and the air inlet is communicated with the air outlet of the heat pump unit. The drying chamber is a combined box body. More than two rotating racks are used to place objects to be dried. The combined dryer of the present invention can be assembled into two groups of rotary rack dryers, or four groups of rotary rack dryers, or six groups of rotary rack dryers according to use requirements, and has the advantages of reasonable structure, dehumidification drying, flexible assembly, etc. advantage.
Description
技术领域technical field
本发明公开一种组合烘干机,按国际专利分类表(IPC)划分属于烘干设备技术领域。The invention discloses a combined dryer, which belongs to the technical field of drying equipment according to the International Patent Classification (IPC).
背景技术Background technique
中国文献CN109506425A公开一种农产品烘干装置,其包括烘干室以及热泵机构,热泵机构包括压缩机、冷凝器、蒸发器以及热泵控制器,所述烘干室的进风口连通有进风管道,所述冷凝器设于烘干室内的进风口处,还包括干燥机构,干燥机构包括内循环管道和外循环管道,对外界的进入进风管道内的空气进行冷凝干燥,该文献中的烘干室,是固定式的空间容量,不能扩展或组合以适应不同需求。Chinese document CN109506425A discloses a drying device for agricultural products, which includes a drying chamber and a heat pump mechanism. The heat pump mechanism includes a compressor, a condenser, an evaporator and a heat pump controller. An air inlet of the drying chamber is connected with an air inlet pipe. The condenser is arranged at the air inlet in the drying chamber, and also includes a drying mechanism. The drying mechanism includes an inner circulation pipe and an outer circulation pipe, and condenses and dries the air entering the air inlet pipe from the outside. Room is a fixed volume of space that cannot be expanded or combined to suit different needs.
茶叶在制备过程中需要萎凋烘干,现有的茶叶烘干设备效率低,茶叶托架为固定结构,茶叶受热不均匀。The tea leaves need to be withered and dried during the preparation process, and the existing tea drying equipment has low efficiency. The tea holder is a fixed structure, and the tea leaves are heated unevenly.
发明内容SUMMARY OF THE INVENTION
针对现有技术的不足,本发明提供一种组合烘干机,可以扩展烘厢增加其内的旋转架,具有结构合理、除湿烘干、组装灵活。In view of the deficiencies of the prior art, the present invention provides a combined dryer, which can expand the drying chamber and add a rotating frame therein, and has the advantages of reasonable structure, dehumidification and drying, and flexible assembly.
为达到上述目的,本发明是通过以下技术方案实现的:To achieve the above object, the present invention is achieved through the following technical solutions:
一种组合烘干机,包括热泵机组和烘厢,烘厢设有进风口和回风口,进风口与热泵机组的出风口连通,烘厢为组合式箱体,烘厢内设有两个以上的旋转架用于置放待烘干对象。A combined dryer includes a heat pump unit and a drying chamber, the drying chamber is provided with an air inlet and a return air outlet, the air inlet is communicated with the air outlet of the heat pump unit, the drying chamber is a combined box body, and more than two are arranged in the drying chamber The rotating rack is used to place the objects to be dried.
进一步,旋转架设有旋转轴与烘厢顶面的驱动电机相连,旋转架底部通过支撑轴装配有安装座。Further, the rotating frame is provided with a rotating shaft which is connected with the driving motor on the top surface of the oven, and the bottom of the rotating frame is equipped with a mounting seat through the supporting shaft.
进一步,热泵机组和烘厢为独立单元,热泵机组和烘厢对接形成烘干机整体,热泵机组为空气源热泵机构,包括相连的热泵压缩机热交换机,热交换机外侧设有风扇。Further, the heat pump unit and the drying chamber are independent units, and the heat pump unit and the drying chamber are connected to form the whole dryer.
进一步,热泵机组的出风口与烘厢进风口之间设有电加热装置进行加热除湿。Further, an electric heating device is provided between the air outlet of the heat pump unit and the air inlet of the oven for heating and dehumidification.
进一步,电加热装置为电炉丝以加热除去通过气流中的水分。Further, the electric heating device is an electric furnace wire to heat and remove the moisture in the passing air flow.
进一步,热泵机组和烘厢底部均安装滚轮,烘厢内的旋转架为多层,每层放置一配合的钢筛。Further, rollers are installed at the bottom of the heat pump unit and the drying chamber, and the rotating frame in the drying chamber is multi-layered, and a matching steel screen is placed on each layer.
进一步,烘厢为两组旋转架箱体,两组旋转架箱体内设有两组旋转架,两组旋转架箱体包括与热泵机组对接的背面、两侧面和双开门面,背面设有进风口和回风口。Further, the drying box is composed of two sets of rotating rack boxes, and two sets of rotating racks are arranged in the two sets of rotating rack boxes. The two sets of rotating rack boxes include the back, two sides and double door surfaces that are docked with the heat pump unit, and the back is provided with an inlet. Air outlet and return air outlet.
进一步,烘厢为四组旋转架箱体,四组旋转架箱体内设有四组旋转架,四组旋转架呈口字形布局,四组旋转架箱体包括与热泵机组对接的背面、与背面相对的外面及两侧的双开门面,背面设有进风口和回风口,邻近背面的两组旋转架之间设有隔热层板形成进风回风通道。Further, the drying box is composed of four groups of rotating rack boxes, and four groups of rotating racks are arranged in the four groups of rotating rack boxes, and the four groups of rotating racks are arranged in a mouth shape. On the opposite side of the back and the double doors on both sides, the back is provided with an air inlet and an air return, and between the two sets of revolving racks adjacent to the back are provided with insulating layers to form an air inlet and return passage.
进一步,烘厢为六组旋转架箱体,六组旋转架箱体内设有六组旋转架,六组旋转架箱体包括与热泵机组对接的背面、与背面相对的外双开门面及两侧的双开门面,背面设有进风口和回风口,背面中间位置设有隔热层板并向外双开门面延伸。Further, the drying box is composed of six groups of rotating rack boxes, and six groups of rotating racks are arranged in the six groups of rotating rack boxes. The six groups of rotating rack boxes include the back side connected to the heat pump unit, the outer double door surface opposite to the back side and the two sides. There are air inlets and return air outlets on the back, and an insulating layer is arranged in the middle of the back and extends outward from the double door.
烘厢为两组旋转架箱体或四组旋转架箱体或六组旋转架箱体,两组旋转架箱体或四组旋转架箱体或六组旋转架箱体均包括一双开门面,该双开门面对着箱体内的两组旋转架。The oven is composed of two groups of revolving rack boxes or four groups of revolving rack boxes or six groups of revolving rack boxes. Two groups of revolving rack boxes or four groups of revolving rack boxes or six groups of revolving rack boxes all include a double door surface. The double door faces two sets of rotating racks in the box.
本发明一种组合烘干机,可以对农作物、茶叶等进行烘干作业,具有如下有益效果:The combined dryer of the present invention can dry crops, tea leaves, etc., and has the following beneficial effects:
1、本发明烘干机的热泵机组可以配合不同的烘厢进行烘干作业,是组合式构造,具有可扩展功能,可组合成两组旋转架烘干机、或四组旋转架烘干机、或六组旋转架烘干机。1. The heat pump unit of the dryer of the present invention can cooperate with different drying chambers for drying operation. It is a combined structure and has an expandable function. It can be combined into two groups of rotary rack dryers or four groups of rotary rack dryers. , or six sets of rotary rack dryers.
2、本发明烘干机通过烘箱内旋转架的设置,使旋转架上的农作物或茶叶,达到均匀受热效果,尤其是茶叶烘干温度均衡性要求更高。2. The dryer of the present invention achieves a uniform heating effect for the crops or tea leaves on the rotating rack through the setting of the rotating frame in the oven, especially the requirement for the uniformity of the drying temperature of the tea leaves is higher.
3、本发明热泵机组加装电加热装置,实现进入烘厢内气流的除湿,提高烘厢内农作物或茶叶烘干的效果。3. The heat pump unit of the present invention is equipped with an electric heating device to realize the dehumidification of the airflow entering the drying chamber and improve the drying effect of crops or tea leaves in the drying chamber.
附图说明Description of drawings
图1是本发明实施例一侧面示意图。FIG. 1 is a schematic side view of an embodiment of the present invention.
图2是本发明实施例后视图。FIG. 2 is a rear view of an embodiment of the present invention.
图3是本发明实施例俯视图。FIG. 3 is a top view of an embodiment of the present invention.
图4是本发明四组旋转架烘干机示意图。4 is a schematic diagram of four groups of rotary rack dryers of the present invention.
图5是本发明六组旋转架烘干机示意图。5 is a schematic diagram of six groups of rotary rack dryers of the present invention.
具体实施方式Detailed ways
下面结合附图对本发明作进一步说明:The present invention will be further described below in conjunction with the accompanying drawings:
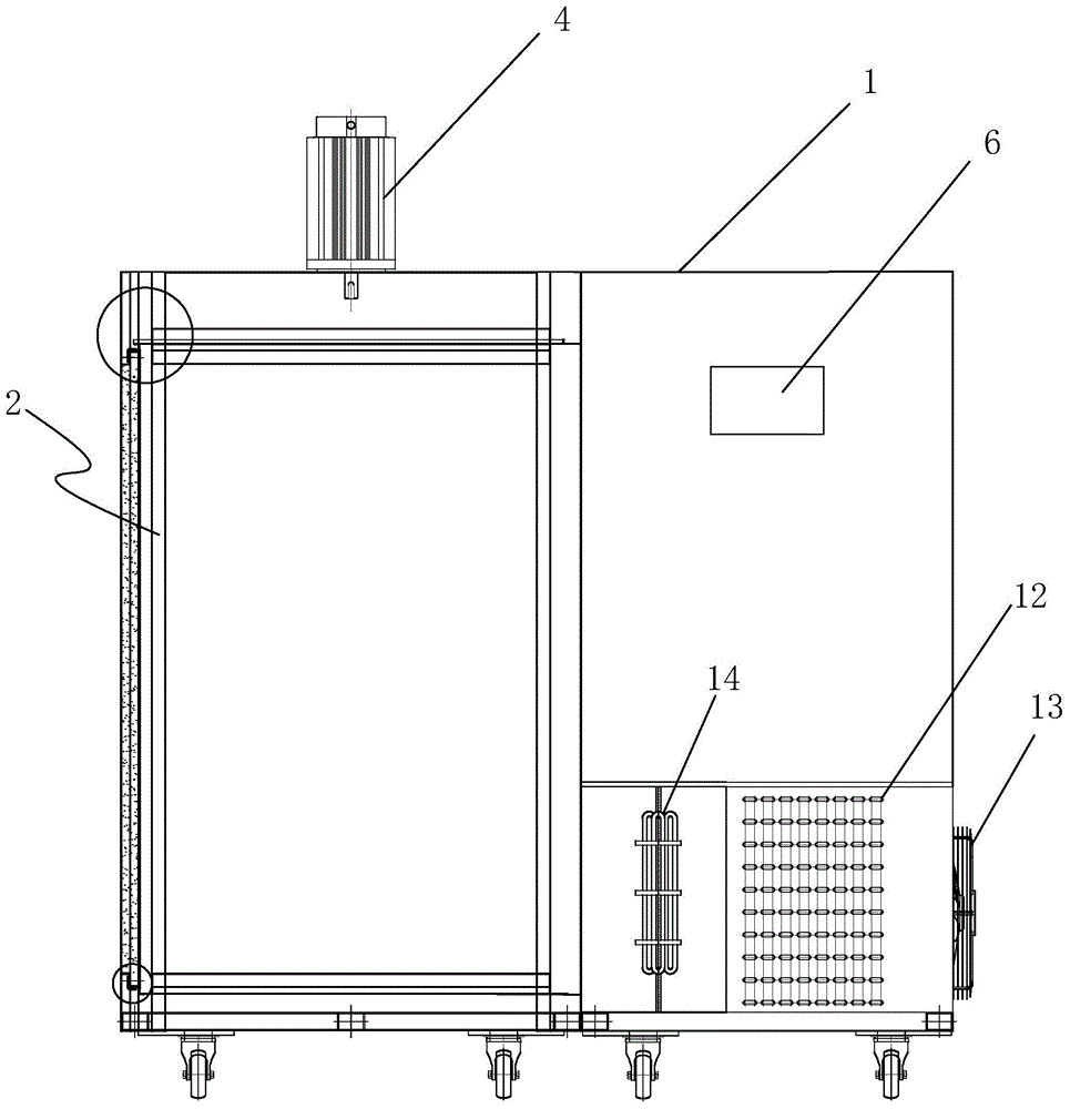
实施例:请参阅图1至图5,一种组合烘干机,包括热泵机组1和烘厢2,烘厢2设有进风口和回风口,进风口与热泵机组1的出风口连通,烘厢2为组合式箱体,烘厢2内设有两个以上的旋转架3用于置放待烘干对象。旋转架3设有旋转轴与烘厢顶面的驱动电机4相连,驱动电机为旋转架旋转电机,旋转架底部通过支撑轴装配有安装座。热泵机组和烘厢底部均安装滚轮,烘厢内的旋转架3为多层,每层放置一配合的钢筛。如图1、图3、图4、图5所示,本发明热泵机组1和烘厢2为独立单元,热泵机组1和烘厢2对接形成烘干机整体,热泵机组1为空气源热泵机构,包括相连的热泵压缩机11和热交换机12,热交换机12外侧设有风扇13。热泵机组1的出风口与烘厢2进风口之间设有电加热装置进行加热除湿。电加热装置为电炉丝14以加热除去通过气流中的水分。本发明的旋转架在对着开门侧在一定偏转角内往复转动,偏转角在0-180度,优选择在45-90度,目的是使旋转架的农作物或茶叶受热均匀。Example: Please refer to Figures 1 to 5, a combined dryer includes a
如图3、图4、图5,本发明中烘厢为两组旋转架箱体或四组旋转架箱体或六组旋转架箱体,两组旋转架箱体或四组旋转架箱体或六组旋转架箱体均包括一双开门面,该双开门面对着箱体内的两组旋转架。As shown in Figure 3, Figure 4, Figure 5, in the present invention, the oven is two groups of revolving rack boxes or four groups of revolving rack boxes or six groups of revolving rack boxes, two groups of revolving rack boxes or four groups of revolving rack boxes Or each of the six groups of revolving rack boxes includes a pair of door faces, and the double doors face the two groups of revolving racks in the box.
如图3所示,烘厢2为两组旋转架箱体,两组旋转架箱体与热泵机组1组合形成两组旋转架烘干机21,在两组旋转架箱体内设有两组旋转架3,箱体上配置两驱动电机,两组旋转架箱体包括与热泵机组对接的背面211、两侧面212和双开门面213,箱体各面设有泡沫隔热层5,背面211设有进风口和回风口。在两组旋转架烘干机中,两组旋转架与热泵机组呈平行布设,即两组旋转架箱体与热泵机组平行对接。As shown in FIG. 3 , the drying chamber 2 is composed of two sets of rotating rack boxes. The two sets of rotating rack boxes are combined with the
如图4所示,烘厢2为四组旋转架箱体,四组旋转架箱体与热泵机组1组合形成四组旋转架烘干机22,四组旋转架箱体内设有四组旋转架3,四组旋转架3呈口字形布局,四组旋转架箱体包括与热泵机组对接的背面221、与背面相对的外面222及两侧的双开门面223,背面设有进风口和回风口,邻近背面的两组旋转架之间设有隔热层板220形成进风回风通道。在四组旋转架烘干机中,其中的烘厢部分是由两组式烘厢(两组旋转架箱体)改造而成,是将两个两组旋转架箱体的主体垂直于热泵机组对接,周面及中间作相应改装。As shown in FIG. 4 , the drying chamber 2 is composed of four groups of rotating rack boxes, and the four groups of rotating rack boxes are combined with the
如图5所示,烘厢2为六组旋转架箱体,六组旋转架箱体与热泵机组1组合形成六组旋转架烘干机23,六组旋转架箱体内设有六组旋转架3,六组旋转架箱体包括与热泵机组对接的背面231、与背面相对的外双开门面232及两侧的双开门面233及固定面234,背面设有进风口和回风口,背面中间位置设有隔热层板230并向外双开门面延伸。在六组旋转架烘干机中,其中的烘厢部分是由四组式烘厢(四组旋转架箱体)最外面加装一两组式烘厢(两组旋转架箱体)组合,具体是是将两组旋转架箱体直接水平加装在四组旋转架箱体外面,邻结面及中间作相应改装。As shown in FIG. 5 , the drying chamber 2 is six groups of rotating rack boxes, and the six groups of rotating rack boxes are combined with the
本发明中烘厢可以是两组旋转架箱体或四组旋转架箱体或六组旋转架箱体,改装时可通过快速组合接口实现,如图2、图3中局部放大图实现快速组合。本发明烘干机,可以随着用户烘干量能的增加而从两组,扩展到四组或六组,组装灵活,而热泵机组功率以满足适用两组、四组或六组的烘厢要求。In the present invention, the oven can be two sets of revolving rack boxes, four groups of revolving rack boxes, or six groups of revolving rack boxes, which can be realized through a quick combination interface during modification, as shown in Figure 2 and Figure 3. . The dryer of the present invention can be expanded from two groups to four or six groups as the drying capacity of the user increases, and the assembly is flexible, and the power of the heat pump unit can meet the requirements of two groups, four groups or six groups of drying boxes. Require.
本发明使用时,电加热装置根据实际需要通过控制器6控制开启或关闭。热泵机组由控制器6启动工作,气流通过烘厢2的与热泵机组1对接面的进风口进入到烘厢内,旋转架3转动,气流对旋转架上多层农作物或茶叶进行烘干处理,气流通过回风口加流到热泵机组,实现循环。When the present invention is used, the electric heating device is controlled to be turned on or off by the controller 6 according to actual needs. The heat pump unit is started to work by the controller 6, and the air flow enters the drying chamber through the air inlet of the drying chamber 2 on the interface of the
本发明并不限于上述实施方式,采用与本发明上述实施例相同或近似的结构设计或在本发明的精髓和范围上做的替代、修改、等效方法以及方案,均在本发明的保护范围之内。The present invention is not limited to the above-mentioned embodiments, and the same or similar structural design as the above-mentioned embodiments of the present invention or substitutions, modifications, equivalent methods and solutions made in the spirit and scope of the present invention are all within the protection scope of the present invention. within.
Claims (10)
Priority Applications (1)
| Application Number | Priority Date | Filing Date | Title |
|---|---|---|---|
| CN202010200122.0A CN111238197A (en) | 2020-03-20 | 2020-03-20 | Combined drying machine |
Applications Claiming Priority (1)
| Application Number | Priority Date | Filing Date | Title |
|---|---|---|---|
| CN202010200122.0A CN111238197A (en) | 2020-03-20 | 2020-03-20 | Combined drying machine |
Publications (1)
| Publication Number | Publication Date |
|---|---|
| CN111238197A true CN111238197A (en) | 2020-06-05 |
Family
ID=70875629
Family Applications (1)
| Application Number | Title | Priority Date | Filing Date |
|---|---|---|---|
| CN202010200122.0A Pending CN111238197A (en) | 2020-03-20 | 2020-03-20 | Combined drying machine |
Country Status (1)
| Country | Link |
|---|---|
| CN (1) | CN111238197A (en) |
Citations (8)
| Publication number | Priority date | Publication date | Assignee | Title |
|---|---|---|---|---|
| CN201343883Y (en) * | 2008-11-17 | 2009-11-11 | 贵州省烟草科学研究所 | Combined type movable curing barn |
| CN104729261A (en) * | 2015-03-24 | 2015-06-24 | 河北省机电一体化中试基地 | Circulation type energy saving heat pump drying system for drying crops |
| CN205561461U (en) * | 2016-02-03 | 2016-09-07 | 昆明农沃新能源科技有限公司 | Combination heat source formula fruit vegetables drying -machine |
| KR20170054748A (en) * | 2015-11-10 | 2017-05-18 | 주식회사 청록공간 | Versatile vacuum devices |
| CN207066049U (en) * | 2017-06-30 | 2018-03-02 | 湖南中茶茶业有限公司 | A kind of novel energy-conserving tea drier |
| CN208108678U (en) * | 2018-04-20 | 2018-11-16 | 浙江正理生能科技有限公司 | Baking room |
| CN208487920U (en) * | 2018-06-13 | 2019-02-12 | 厦门本草真源生物医药科技有限公司 | A kind of medicinal material drying device |
| CN211854749U (en) * | 2020-03-20 | 2020-11-03 | 驰春机械(厦门)有限公司 | A combined dryer |
-
2020
- 2020-03-20 CN CN202010200122.0A patent/CN111238197A/en active Pending
Patent Citations (8)
| Publication number | Priority date | Publication date | Assignee | Title |
|---|---|---|---|---|
| CN201343883Y (en) * | 2008-11-17 | 2009-11-11 | 贵州省烟草科学研究所 | Combined type movable curing barn |
| CN104729261A (en) * | 2015-03-24 | 2015-06-24 | 河北省机电一体化中试基地 | Circulation type energy saving heat pump drying system for drying crops |
| KR20170054748A (en) * | 2015-11-10 | 2017-05-18 | 주식회사 청록공간 | Versatile vacuum devices |
| CN205561461U (en) * | 2016-02-03 | 2016-09-07 | 昆明农沃新能源科技有限公司 | Combination heat source formula fruit vegetables drying -machine |
| CN207066049U (en) * | 2017-06-30 | 2018-03-02 | 湖南中茶茶业有限公司 | A kind of novel energy-conserving tea drier |
| CN208108678U (en) * | 2018-04-20 | 2018-11-16 | 浙江正理生能科技有限公司 | Baking room |
| CN208487920U (en) * | 2018-06-13 | 2019-02-12 | 厦门本草真源生物医药科技有限公司 | A kind of medicinal material drying device |
| CN211854749U (en) * | 2020-03-20 | 2020-11-03 | 驰春机械(厦门)有限公司 | A combined dryer |
Similar Documents
| Publication | Publication Date | Title |
|---|---|---|
| CN113154831B (en) | Building materials PLASTIC LAMINATED production system based on it is energy-concerving and environment-protective | |
| CN109107351B (en) | Rotary wheel dehumidifying device and household drying and storing equipment | |
| CN205747757U (en) | Air-powered shelf-type material dehumidification and drying system | |
| CN211854749U (en) | A combined dryer | |
| CN217560238U (en) | Heat preservation and decoration integrated board drying device | |
| CN209478766U (en) | A kind of multiple field drying unit for CPP film production | |
| KR101953519B1 (en) | Drying device for agricultural and marine products | |
| KR200488048Y1 (en) | Drying device for agricultural and marine products | |
| CN111238197A (en) | Combined drying machine | |
| CN205448505U (en) | Two wind channel drying system | |
| CN113720114A (en) | Air source heat pump parallel air supply type dryer | |
| CN208779897U (en) | A kind of drying chamber with hot wind deflector | |
| CN208567319U (en) | A kind of compressor of air source heat pump drying machine | |
| CN218936563U (en) | New fan | |
| WO2024160206A1 (en) | Clothes drying cabinet | |
| CN215518053U (en) | Dust removal automatically cleaning clothing drying-machine | |
| CN210275663U (en) | Tunnel type food toasts case and uses firing equipment | |
| CN209639440U (en) | A kind of novel drying device in TPU film production line | |
| CN221764014U (en) | Low-energy-consumption hot blast drying box | |
| CN107677093A (en) | Dynamic Networks band heat pump fruit and vegetable drying machine | |
| CN223271580U (en) | A drying furnace for multi-angle drying | |
| CN219640542U (en) | Electrothermal blowing drying box | |
| CN222535415U (en) | Drying system of paper compounding machine | |
| CN213955815U (en) | Seed dehydration drying equipment for vegetable planting | |
| CN221648924U (en) | Drying box for food products |
Legal Events
| Date | Code | Title | Description |
|---|---|---|---|
| PB01 | Publication | ||
| PB01 | Publication | ||
| SE01 | Entry into force of request for substantive examination | ||
| SE01 | Entry into force of request for substantive examination | ||
| RJ01 | Rejection of invention patent application after publication | ||
| RJ01 | Rejection of invention patent application after publication |
Application publication date: 20200605 |
