CN111082581A - A sealing structure for the shell and the shell cover of an air conditioner motor - Google Patents

A sealing structure for the shell and the shell cover of an air conditioner motor Download PDF

Info

Publication number
CN111082581A
CN111082581A CN201911242434.1A CN201911242434A CN111082581A CN 111082581 A CN111082581 A CN 111082581A CN 201911242434 A CN201911242434 A CN 201911242434A CN 111082581 A CN111082581 A CN 111082581A
Authority
CN
China
Prior art keywords
casing
wall
cover
rubber pad
clamping
Prior art date
Legal status (The legal status is an assumption and is not a legal conclusion. Google has not performed a legal analysis and makes no representation as to the accuracy of the status listed.)
Granted
Application number
CN201911242434.1A
Other languages
Chinese (zh)
Other versions
CN111082581B (en
Inventor
郁映鑫
乔伟
林丹
Current Assignee (The listed assignees may be inaccurate. Google has not performed a legal analysis and makes no representation or warranty as to the accuracy of the list.)
Wenzhou Dongxin Electromechanical Co Ltd
Original Assignee
Wenzhou Dongxin Electromechanical Co Ltd
Priority date (The priority date is an assumption and is not a legal conclusion. Google has not performed a legal analysis and makes no representation as to the accuracy of the date listed.)
Filing date
Publication date
Application filed by Wenzhou Dongxin Electromechanical Co Ltd filed Critical Wenzhou Dongxin Electromechanical Co Ltd
Priority to CN201911242434.1A priority Critical patent/CN111082581B/en
Publication of CN111082581A publication Critical patent/CN111082581A/en
Application granted granted Critical
Publication of CN111082581B publication Critical patent/CN111082581B/en
Active legal-status Critical Current
Anticipated expiration legal-status Critical

Links

Images

Classifications

    • HELECTRICITY
    • H02GENERATION; CONVERSION OR DISTRIBUTION OF ELECTRIC POWER
    • H02KDYNAMO-ELECTRIC MACHINES
    • H02K5/00Casings; Enclosures; Supports
    • H02K5/04Casings or enclosures characterised by the shape, form or construction thereof

Landscapes

  • Engineering & Computer Science (AREA)
  • Power Engineering (AREA)
  • Motor Or Generator Frames (AREA)

Abstract

本发明公开一种空调电机的壳体与壳盖的密封结构,包括壳盖,所述壳盖的底部设有壳体,所述壳盖与壳体之间的缝隙中贴合有橡胶垫,所述橡胶垫的内壁均与壳盖与壳体的外壁相贴合,所述橡胶垫的顶部与底部均设有限位机构,所述限位机构包括T型胶块和T型槽,多个所述T型胶块两两加工于橡胶垫的顶部与底部,多个所述T型槽两两分别加工于壳体的顶部和壳盖的底部左右两侧,所述T型胶块的外壁与T型槽的内壁过盈配合。该空调电机的壳体与壳盖的密封结构通过橡胶垫、T型胶块和T型槽之间的配合,使得橡胶垫安装至壳盖和壳体之间后,使得第二卡杆将卡块进行卡接后,通过横杆与第二卡杆相接触,将第二卡杆进行限位,增强第二卡杆对卡块固定性。

Figure 201911242434

The invention discloses a sealing structure between a casing and a casing cover of an air-conditioning motor, comprising a casing cover, a casing is arranged at the bottom of the casing cover, and a rubber gasket is fitted in the gap between the casing cover and the casing, The inner wall of the rubber pad is in contact with the shell cover and the outer wall of the shell. The top and bottom of the rubber pad are provided with limit mechanisms. The limit mechanisms include T-shaped rubber blocks and T-shaped grooves. The T-shaped rubber blocks are processed on the top and bottom of the rubber pad in pairs, and the T-shaped grooves are processed on the left and right sides of the top of the shell and the bottom of the shell cover, respectively. The outer wall of the T-shaped rubber block is Interference fit with the inner wall of the T-slot. The sealing structure between the casing and the casing cover of the air conditioner motor is through the cooperation between the rubber gasket, the T-shaped rubber block and the T-shaped groove, so that after the rubber gasket is installed between the casing cover and the casing, the second clamping rod will clamp the After the block is clamped, the cross bar contacts the second clamp rod to limit the position of the second clamp rod, thereby enhancing the fixation of the second clamp rod to the clamp block.

Figure 201911242434

Description

Sealing structure of shell and shell cover of air conditioner motor
Technical Field
The invention relates to the technical field of air conditioner motors, in particular to a sealing structure of a shell and a shell cover of an air conditioner motor.
Background
Motor is the basisElectromagnetic inductionLaw enforcementElectric energyAn electromagnetic device for conversion or transmission features that the motor is indicated by letter M in its circuit, its main function is to generate drive torque as power source of electric appliance or various machines, and the electric generator is arranged in the circuitUse letter G to represent in the circuit, its main effect utilizes mechanical energy to turn into the electric energy, though current air conditioner motor seal structure can realize the casing to the air conditioner motor and the sealed between the cap, but there is current rubber circle and only install between the casing and the cap of air conditioner motor, the rubber pad uses the back for a long time, can begin to oxidize from the outside, cause the problem of rubber circle leakproofness variation, but there is current rubber circle to advance the long time sealed, cause the rubber circle oxidation, and the rubber pad all passes through bolt fixed connection, dismantle the problem that changes and waste time and energy.
Disclosure of Invention
The invention aims to provide a sealing structure between a shell and a shell cover of an air-conditioning motor, which aims to solve the problem that although the existing sealing structure for the air-conditioning motor can realize the sealing between the shell and the shell cover of the air-conditioning motor, the existing rubber ring is only arranged between the shell and the shell cover of the air-conditioning motor, and after the rubber ring is used for a long time, the rubber ring is oxidized from the outside, so that the sealing performance of the rubber ring is poor.
In order to achieve the purpose, the invention provides the following technical scheme: a sealing structure of a shell and a shell cover of an air conditioner motor comprises the shell cover, wherein the bottom of the shell cover is provided with the shell, a rubber pad is attached to a gap between the shell cover and the shell, the inner wall of the rubber pad is attached to the outer walls of the shell cover and the shell, and the top and the bottom of the rubber pad are provided with limiting mechanisms;
the limiting mechanism comprises a T-shaped rubber block and a T-shaped groove;
the rubber gasket comprises a rubber gasket, a plurality of T-shaped rubber blocks, a plurality of shell covers and a plurality of T-shaped grooves, wherein the T-shaped rubber blocks are processed at the top and the bottom of the rubber gasket in pairs, the T-shaped grooves are processed at the left side and the right side of the top of the shell and the bottom of the shell cover in pairs respectively, and the outer walls of the T-shaped rubber blocks are in interference fit with the.
Preferably, the left side and the right side of the rubber pad are provided with connecting mechanisms;
the connecting mechanism comprises a vertical block, an inner cavity and a groove;
the two vertical blocks are respectively attached to the left side and the right side of the rubber pad, inner cavities are formed in the tops and the bottoms of the two vertical blocks, and grooves are formed in the middle points of the inner sides of the two vertical blocks.
Preferably, a fixing mechanism is arranged inside the inner cavity;
the fixing mechanism comprises a clamping groove block, a first clamping rod, a first pin shaft, a first spring, a screw rod and a handle;
it is a plurality of the equal rigid coupling in inboard left and right sides of casing and cap of draw-in groove piece, the outer wall of draw-in groove piece runs through in the inboard of erecting the piece and extends to the inside of inner chamber, the top and the equal joint in bottom of draw-in groove piece have first kelly, two first kelly rotates through first round pin axle and links to each other in the inner wall rear end face of inner chamber, two the inboard joint of first kelly has first spring, the outside the inner wall screw thread of first kelly links to each other there is the screw rod, the inboard of screw rod is laminated with the outer wall of the inboard first kelly mutually, the outside screw thread of screw rod links to each other in the inner wall outside of inner chamber, the outside rigid coupling of screw rod has the handle.
Preferably, the surface of the handle is processed with grains.
Preferably, a second fixing mechanism is arranged inside the groove;
the second fixing mechanism comprises a clamping block, a second clamping rod and a second pin shaft;
the two fixture blocks are fixedly connected to the left side and the right side of the rubber pad respectively, the outer walls of the fixture blocks are in clearance fit with the inner walls of the grooves, second clamping rods are clamped at the tops and the bottoms of the fixture blocks, and the two second clamping rods are connected to the rear end faces of the inner walls of the grooves through second hinge pins in a rotating mode.
Preferably, locking mechanisms are arranged on the outer sides of the two vertical blocks;
the locking mechanism comprises a cross rod, a handle and a second spring;
two the horizontal pole runs through respectively in the outside of two perpendicular pieces and extends to the inside of recess, the outer wall laminating of horizontal pole is in the inboard of two second kellies, the outside rigid coupling of horizontal pole has the handle, the outer wall clearance fit of horizontal pole has the second spring, the outside joint of second spring is in the inboard of handle, the inboard joint of second spring is in the outside of perpendicular piece.
Compared with the prior art, the invention has the beneficial effects that: the invention has scientific and reasonable structure and safe and convenient use.
This air conditioner motor's casing and seal structure of cap pass through the rubber pad, cooperation between T type rubber piece and the T type groove, make the rubber pad install back between cap and the casing, when the rubber pad oxidizes, need begin the oxidation from the outside, the live time of rubber pad has been increased, avoided although current air conditioner motor seal structure can realize the casing to air conditioner motor and the sealed between the cap, nevertheless there is current rubber circle and only install between air conditioner motor's casing and cap, the rubber pad uses the back for a long time, can begin to oxidize from the outside, cause the rubber circle leakproofness variation.
This air conditioner motor's casing and seal structure of cap pass through the cooperation between riser, draw-in groove piece and the first kelly for cap and shell machine need not to be connected through the bolt, have avoided having had current rubber circle to advance the sealed of overlength time, cause the rubber circle oxidation, and the rubber pad all passes through bolt fixed connection, and it wastes time and energy to dismantle the change.
This air conditioner motor's casing passes through the cooperation between horizontal pole, second kelly and the fixture block with the seal structure of cap for the second kelly carries out the joint back with the fixture block, contacts through horizontal pole and second kelly, carries on spacingly with the second kelly, reinforcing second kelly to the fixture block fixity.
Drawings
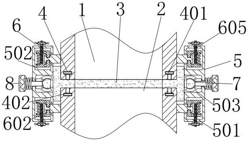
FIG. 1 is a schematic diagram of the connection relationship of the present invention;
FIG. 2 is a schematic view of the connection between the rubber pad, the T-shaped rubber block and the housing cover in FIG. 1;
FIG. 3 is a schematic view of the connection between the vertical block, the screw and the first clamping rod in FIG. 1;
fig. 4 is a schematic view showing the connection relationship of the rubber pad, the vertical block and the groove in fig. 1.
In the figure: 1. the shell cover, 2, the casing, 3, the rubber pad, 4, stop gear, 401, the gluey piece of T type, 402, T type groove, 5, coupling mechanism, 501, the riser, 502, the inner chamber, 503, the recess, 6, fixed establishment, 601, the draw-in groove piece, 602, first kelly, 603, first round pin axle, 604, first spring, 605, the screw rod, 606, the handle, 7, the second fixed establishment, 701, the fixture block, 702, the second kelly, 703, the second round pin axle, 8, the locking mechanism, 801, the horizontal pole, 802, the handle, 803, the second spring.
Detailed Description
The technical solutions in the embodiments of the present invention will be clearly and completely described below with reference to the drawings in the embodiments of the present invention, and it is obvious that the described embodiments are only a part of the embodiments of the present invention, and not all of the embodiments. All other embodiments, which can be derived by a person skilled in the art from the embodiments given herein without making any creative effort, shall fall within the protection scope of the present invention.
Referring to fig. 1-4, the present invention provides a technical solution: the utility model provides a casing of air conditioner motor and seal structure of cap, including cap 1, the bottom of cap 1 is equipped with casing 2, the laminating has rubber pad 3 in the gap between cap 1 and the casing 2, the inner wall of rubber pad 3 all laminates with the outer wall of cap 1 with casing 2 mutually, the top and the bottom of rubber pad 3 all are equipped with stop gear 4, stop gear 4 includes T type rubber block 401 and T type groove 402, two liang of processing in the top and the bottom of rubber pad 3 of a plurality of T type rubber blocks 401, the quantity of T type rubber block 401 is four, two liang of processing respectively in the top of casing 2 and the bottom left and right sides of cap 1 in a plurality of T type grooves 402, the outer wall of T type rubber block 401 and the inner wall interference fit of T type groove 402, make T type rubber block 401 fix rubber pad 3 in gap department between cap 1 and casing 2.
The left and right sides of rubber pad 3 is equipped with coupling mechanism 5, and coupling mechanism 5 includes riser 501, inner chamber 502 and recess 503, and two riser 501 laminate respectively in the left and right sides of rubber pad 3, and the top and the bottom of two riser 501 are processed there is inner chamber 502, and the inboard midpoint department of two riser 501 is processed recess 503.
The fixing mechanism 6 is arranged in the inner cavity 502, the fixing mechanism 6 comprises slot blocks 601, first clamping rods 602, first pin shafts 603, first springs 604, screw rods 605 and a handle 606, the inner sides of the slot blocks 601 are fixedly connected to the left side and the right side of the shell 1 and the shell cover 2, the number of the slot blocks 601 is four, the outer walls of the slot blocks 601 penetrate through the inner sides of the vertical blocks 501 and extend into the inner cavity 502, so that the slot blocks 601 can be inserted into the vertical blocks 501 and the inner cavity 502, the top and the bottom of the slot blocks 601 are respectively clamped with the first clamping rods 602, so that the shell 2 and the shell cover 1 can be fixedly connected with the first clamping rods 602 through the slot blocks 601, the two first clamping rods 602 are rotatably connected to the rear end face of the inner wall of the inner cavity 502 through the first pin shafts 603, the first springs 604 are clamped on the inner sides of the two first clamping rods 602, the elastic coefficient of the first springs 604 is 5500 \ 6000N 604M, and the first springs give a force to the two first clamping rods 602 to approach each other, the inner wall thread of the first clamping rod 602 in the outside is connected with a screw rod 605, the inner side of the screw rod 605 is attached to the outer wall of the first clamping rod 602 in the inside, the screw rod 605 drives the two first clamping rods 602 to rotate through rotation, and further the first clamping rod 602 clamps the clamping groove block 601, the outer side thread of the screw rod 605 is connected to the outer side of the inner wall of the inner cavity 502, the outer side of the screw rod 605 is fixedly connected with a handle 606, the handle 606 is used for driving the screw rod 605 to rotate, the surface of the handle 606 is provided with grains, and the grains are used for increasing the friction between the handle and the hand.
The inside of recess 503 is equipped with second fixed establishment 7, second fixed establishment 7 includes fixture block 701, second kelly 702 and second round pin axle 703, two fixture blocks 701 rigid coupling respectively in the left and right sides of rubber pad 3, the outer wall of fixture block 701 and the inner wall clearance fit of recess 503, make fixture block 701 can insert the inner wall of recess 503, the top and the bottom of fixture block 701 all are connected with second kelly 702 in the joint, make the joint of rubber pad 3 accessible fixture block 701 and second kelly 702 fix on riser 501, two second kellies 702 all link to each other in the inner wall rear end face of recess 503 through second round pin axle 703 rotation.
The locking mechanisms 8 are arranged on the outer sides of the two vertical blocks 501, each locking mechanism 8 comprises a cross rod 801, a handle 802 and a second spring 803, the two cross rods 801 respectively penetrate through the outer sides of the two vertical blocks 501 and extend to the inner sides of the grooves 503, the outer walls of the cross rods 801 are attached to the inner sides of the two second clamping rods 702, so that the cross rods 801 can limit the second clamping rods 702, the clamping blocks 701 can be fixed by the second clamping rods 702, the handles 802 are fixedly connected to the outer sides of the cross rods 801, so that the cross rods 801 can be driven by the handles 802 to move left and right on the outer sides of the vertical blocks 501, the outer walls of the cross rods 801 are in clearance fit with the second springs 803, the elastic coefficients of the second springs 803 are 4500 + 0N 550m, the outer sides of the second springs 803 are clamped to the inner sides of the handles 802, the inner sides of the second springs 803 are clamped to the outer sides of the vertical blocks 501, and the second.
When the sealing structure of the housing and the housing cover of the air-conditioning motor is used, when the rubber pad 3 is used for a long time and the oxidation is seriously damaged, a user rotates the handle 606 to enable the handle 606 to drive the screw rod 605 to rotate, the screw rod 605 is not jointed with the outer wall of the second clamping rod 602 at the inner side when rotating, after jointing is cancelled, the two second clamping rods 602 rotate through the elastic deformation of the first spring 604, the clamping and fixing with the clamping groove block 601 are cancelled during the rotating process, after cancelling, the housing 2 is not fixedly connected with the housing cover 1, after cancelling, the user pulls the housing cover 1 to enable the T-shaped rubber block 401 to move out of the T-shaped groove 402, after cancelling, the user pulls the handle 802 to enable the handle 802 to drive the cross rod 801 to cancel jointing with the two second clamping rods 702, and then make horizontal pole 801 cancellation spacing to second kelly 702, cancel spacing back, the user separates two riser blocks 501 and rubber pad 3 for the rubber pad 3 dismantles and accomplishes, and then makes new rubber pad 3 change.
In the description of the present invention, it is to be understood that the terms "coaxial", "bottom", "one end", "top", "middle", "other end", "upper", "one side", "top", "inner", "front", "center", "both ends", and the like, indicate orientations or positional relationships based on those shown in the drawings, and are only for convenience of description and simplicity of description, and do not indicate or imply that the referenced device or element must have a particular orientation, be constructed and operated in a particular orientation, and thus, are not to be construed as limiting the present invention.
In the present invention, unless otherwise expressly specified or limited, the terms "mounted," "disposed," "connected," "secured," "screwed" and the like are to be construed broadly, e.g., as meaning fixedly connected, detachably connected, or integrally formed; can be mechanically or electrically connected; the terms may be directly connected or indirectly connected through an intermediate, and may be communication between two elements or interaction relationship between two elements, unless otherwise specifically limited, and the specific meaning of the terms in the present invention will be understood by those skilled in the art according to specific situations.
Although embodiments of the present invention have been shown and described, it will be appreciated by those skilled in the art that changes, modifications, substitutions and alterations can be made in these embodiments without departing from the principles and spirit of the invention, the scope of which is defined in the appended claims and their equivalents.

Claims (6)

1.一种空调电机的壳体与壳盖的密封结构,包括壳盖(1),所述壳盖(1)的底部设有壳体(2),所述壳盖(1)与壳体(2)之间的缝隙中贴合有橡胶垫(3),所述橡胶垫(3)的内壁均与壳盖(1)与壳体(2)的外壁相贴合,其特征在于:所述橡胶垫(3)的顶部与底部均设有限位机构(4);1. A sealing structure between a casing and a casing cover of an air-conditioning motor, comprising a casing cover (1), a casing (2) is provided at the bottom of the casing cover (1), and the casing cover (1) is connected to the casing A rubber pad (3) is attached in the gap between (2), and the inner wall of the rubber pad (3) is attached to the outer wall of the shell cover (1) and the shell (2), and is characterized in that: The top and bottom of the rubber pad (3) are provided with a limit mechanism (4); 所述限位机构(4)包括T型胶块(401)和T型槽(402);The limiting mechanism (4) includes a T-shaped rubber block (401) and a T-shaped groove (402); 多个所述T型胶块(401)两两加工于橡胶垫(3)的顶部与底部,多个所述T型槽(402)两两分别加工于壳体(2)的顶部和壳盖(1)的底部左右两侧,所述T型胶块(401)的外壁与T型槽(402)的内壁过盈配合。A plurality of the T-shaped rubber blocks (401) are processed on the top and bottom of the rubber pad (3) two by two, and a plurality of the T-shaped grooves (402) are processed on the top and the cover of the casing (2) two by two, respectively. On the left and right sides of the bottom of (1), the outer wall of the T-shaped rubber block (401) is in interference fit with the inner wall of the T-shaped groove (402). 2.根据权利要求1所述的一种空调电机的壳体与壳盖的密封结构,其特征在于:所述橡胶垫(3)的左右两侧设有连接机构(5);2 . The sealing structure between the housing and the housing cover of an air-conditioning motor according to claim 1 , wherein: connecting mechanisms ( 5 ) are provided on the left and right sides of the rubber pad ( 3 ); 3 . 所述连接机构(5)包括竖块(501)、内腔(502)和凹槽(503);The connecting mechanism (5) includes a vertical block (501), an inner cavity (502) and a groove (503); 两个所述竖块(501)分别贴合于橡胶垫(3)的左右两侧,两个所述竖块(501)的顶部与底部加工有内腔(502),两个所述竖块(501)的内侧中点处加工有凹槽(503)。The two vertical blocks (501) are respectively attached to the left and right sides of the rubber pad (3). The top and bottom of the two vertical blocks (501) are machined with inner cavities (502). A groove (503) is machined at the inner midpoint of (501). 3.根据权利要求2所述的一种空调电机的壳体与壳盖的密封结构,其特征在于:所述内腔(502)的内部设有固定机构(6);3. The sealing structure of the housing and the housing cover of an air-conditioning motor according to claim 2, characterized in that: a fixing mechanism (6) is provided inside the inner cavity (502); 所述固定机构(6)包括卡槽块(601)、第一卡杆(602)、第一销轴(603)、第一弹簧(604)、螺杆(605)和把手(606);The fixing mechanism (6) includes a slot block (601), a first clamping rod (602), a first pin (603), a first spring (604), a screw (605) and a handle (606); 多个所述卡槽块(601)的内侧均固接在壳体(1)和壳盖(2)的左右两侧,所述卡槽块(601)的外壁贯穿于竖块(501)的内侧并延伸至内腔(502)的内部,所述卡槽块(601)的顶部与底部均卡接有第一卡杆(602),两个所述第一卡杆(602)通过第一销轴(603)转动相连于内腔(502)的内壁后端面,两个所述第一卡杆(602)的内侧卡接有第一弹簧(604),外侧所述第一卡杆(602)的内壁螺纹相连有螺杆(605),所述螺杆(605)的内侧与内侧第一卡杆(602)的外壁相贴合,所述螺杆(605)的外侧螺纹相连于内腔(502)的内壁外侧,所述螺杆(605)的外侧固接有把手(606)。The inner sides of the plurality of card slot blocks (601) are fixedly connected to the left and right sides of the casing (1) and the casing cover (2), and the outer walls of the card slot blocks (601) penetrate through the vertical block (501). The inner side extends to the interior of the inner cavity (502), the top and bottom of the card slot block (601) are both clamped with first clamping rods (602), and the two first clamping rods (602) pass through the first clamping rod (602). The pin (603) is rotatably connected to the rear end surface of the inner wall of the inner cavity (502), the inner sides of the two first clamping rods (602) are clamped with first springs (604), and the outer first clamping rods (602) ) is threadedly connected with a screw (605), the inner side of the screw (605) fits with the outer wall of the inner first clamping rod (602), and the outer thread of the screw (605) is connected to the inner cavity (502) Outside the inner wall of the screw rod (605), a handle (606) is fixed on the outside of the screw rod (605). 4.根据权利要求2所述的一种空调电机的壳体与壳盖的密封结构,其特征在于:所述把手(606)的表面加工有纹路。4 . The sealing structure of the housing and the housing cover of an air-conditioning motor according to claim 2 , wherein the handle ( 606 ) has a surface processed with lines. 5 . 5.根据权利要求所述的一种空调电机的壳体与壳盖的密封结构,其特征在于:所述凹槽(503)的内部设有第二固定机构(7);5 . The sealing structure between the housing and the housing cover of an air-conditioning motor according to claim 5 , wherein a second fixing mechanism ( 7 ) is provided inside the groove ( 503 ); 6 . 所述第二固定机构(7)包括卡块(701)、第二卡杆(702)和第二销轴(703);The second fixing mechanism (7) includes a clamping block (701), a second clamping rod (702) and a second pin shaft (703); 两个所述卡块(701)分别固接于橡胶垫(3)的左右两侧,所述卡块(701)的外壁与凹槽(503)的内壁间隙配合,所述卡块(701)的顶部与底部均卡接有第二卡杆(702),两个第二卡杆(702)均通过第二销轴(703)转动相连于凹槽(503)的内壁后端面。The two clamping blocks (701) are respectively fixed to the left and right sides of the rubber pad (3). A second clamping rod (702) is clamped at the top and bottom of the groove, and the two second clamping rods (702) are connected to the rear end surface of the inner wall of the groove (503) through a second pin shaft (703). 6.根据权利要求3所述的一种空调电机的壳体与壳盖的密封结构,其特征在于:两个所述竖块(501)的外侧设有锁死机构(8);6 . The sealing structure between the housing and the housing cover of an air-conditioning motor according to claim 3 , wherein a locking mechanism ( 8 ) is provided on the outer sides of the two vertical blocks ( 501 ); 7 . 所述锁死机构(8)包括横杆(801)、手柄(802)和第二弹簧(803);The locking mechanism (8) includes a cross bar (801), a handle (802) and a second spring (803); 两个所述横杆(801)分别贯穿于两个竖块(501)的外侧并延伸至凹槽(503)的内部,所述横杆(801)的外壁贴合于两个第二卡杆(702)的内侧,所述横杆(801)的外侧固接有手柄(802),所述横杆(801)的外壁间隙配合有第二弹簧(803),所述第二弹簧(803)的外侧卡接于手柄(802)的内侧,所述第二弹簧(803)的内侧卡接于竖块(501)的外侧。The two transverse rods (801) respectively penetrate through the outer sides of the two vertical blocks (501) and extend to the interior of the groove (503), and the outer walls of the transverse rods (801) are attached to the two second clamping rods On the inner side of (702), a handle (802) is fixed on the outer side of the transverse rod (801), and the outer wall of the transverse rod (801) is clearance-fitted with a second spring (803), and the second spring (803) The outer side of the second spring (803) is clamped to the inner side of the handle (802), and the inner side of the second spring (803) is clamped to the outer side of the vertical block (501).
CN201911242434.1A 2019-12-06 2019-12-06 Sealing structure of housing and housing cover of air conditioner motor Active CN111082581B (en)

Priority Applications (1)

Application Number Priority Date Filing Date Title
CN201911242434.1A CN111082581B (en) 2019-12-06 2019-12-06 Sealing structure of housing and housing cover of air conditioner motor

Applications Claiming Priority (1)

Application Number Priority Date Filing Date Title
CN201911242434.1A CN111082581B (en) 2019-12-06 2019-12-06 Sealing structure of housing and housing cover of air conditioner motor

Publications (2)

Publication Number Publication Date
CN111082581A true CN111082581A (en) 2020-04-28
CN111082581B CN111082581B (en) 2025-04-15

Family

ID=70312961

Family Applications (1)

Application Number Title Priority Date Filing Date
CN201911242434.1A Active CN111082581B (en) 2019-12-06 2019-12-06 Sealing structure of housing and housing cover of air conditioner motor

Country Status (1)

Country Link
CN (1) CN111082581B (en)

Cited By (2)

* Cited by examiner, † Cited by third party
Publication number Priority date Publication date Assignee Title
CN113112978A (en) * 2021-04-10 2021-07-13 高勤俊 Resonance noise reduction unit of integrated cooker
CN113141080A (en) * 2021-04-14 2021-07-20 宁波奥克斯电气股份有限公司 Motor installation assembly and air conditioner

Citations (5)

* Cited by examiner, † Cited by third party
Publication number Priority date Publication date Assignee Title
CN206422680U (en) * 2016-12-19 2017-08-18 江西明伟电子有限公司 A kind of waterproof power supply being easily installed
CN207554794U (en) * 2017-11-27 2018-06-29 上海海帆船舶设备有限公司 A kind of sealing device of mechanical equipment
CN208538925U (en) * 2018-08-06 2019-02-22 东莞市朗泰通实业有限公司 A waterproof encapsulated battery case
CN208939707U (en) * 2018-10-30 2019-06-04 瑞安市方胜汽车部件有限公司 A kind of automobile treadle board motor
CN211151661U (en) * 2019-12-06 2020-07-31 温州东鑫机电科技股份有限公司 Sealing structure of shell and shell cover of air conditioner motor

Patent Citations (5)

* Cited by examiner, † Cited by third party
Publication number Priority date Publication date Assignee Title
CN206422680U (en) * 2016-12-19 2017-08-18 江西明伟电子有限公司 A kind of waterproof power supply being easily installed
CN207554794U (en) * 2017-11-27 2018-06-29 上海海帆船舶设备有限公司 A kind of sealing device of mechanical equipment
CN208538925U (en) * 2018-08-06 2019-02-22 东莞市朗泰通实业有限公司 A waterproof encapsulated battery case
CN208939707U (en) * 2018-10-30 2019-06-04 瑞安市方胜汽车部件有限公司 A kind of automobile treadle board motor
CN211151661U (en) * 2019-12-06 2020-07-31 温州东鑫机电科技股份有限公司 Sealing structure of shell and shell cover of air conditioner motor

Cited By (3)

* Cited by examiner, † Cited by third party
Publication number Priority date Publication date Assignee Title
CN113112978A (en) * 2021-04-10 2021-07-13 高勤俊 Resonance noise reduction unit of integrated cooker
CN113141080A (en) * 2021-04-14 2021-07-20 宁波奥克斯电气股份有限公司 Motor installation assembly and air conditioner
CN113141080B (en) * 2021-04-14 2022-03-22 宁波奥克斯电气股份有限公司 Motor installation assembly and air conditioner

Also Published As

Publication number Publication date
CN111082581B (en) 2025-04-15

Similar Documents

Publication Publication Date Title
CN111082581A (en) A sealing structure for the shell and the shell cover of an air conditioner motor
CN211151661U (en) Sealing structure of shell and shell cover of air conditioner motor
CN215186283U (en) Electric operating mechanism with installation lock
CN210209513U (en) Motor end cover machining device
CN210335662U (en) Motor processing closing device
CN215999491U (en) Shell slotting device for machining vibration motor
CN215236059U (en) Commutator rotor convenient for collecting scraps
CN213693337U (en) BLDC motor high-speed machine
CN214817598U (en) Polishing equipment for producing fasteners
CN215804796U (en) Electric control silicone oil fan clutch of contact type contact electromagnetic induction collector ring
CN213521431U (en) External rotor motor
CN217036956U (en) Auto-lock parking structure and motor and intelligent device
CN214248200U (en) Torque converter shell structure
CN216252567U (en) A motor control device for synchronously controlling multiple motors
CN201956802U (en) Connector for three-phase asynchronous motor and transmission of electrical automobile
CN213259360U (en) Multifunctional gear box maintenance device
CN222147266U (en) Permanent magnet synchronous motor easy to assemble
CN216162552U (en) Motor with braking function
CN210225212U (en) Fixing device for machining motor shell
CN219485491U (en) Rotary jig
CN215733816U (en) Energy-saving three-phase asynchronous motor
CN210628166U (en) Base and lock body connecting structure of motorcycle electric door lock
CN217362736U (en) High-voltage shielding motor sealing structure
CN112360680B (en) Double wind wheel direct-drive type wind generating set
CN219041536U (en) Permanent magnet motor of electric locomotive

Legal Events

Date Code Title Description
PB01 Publication
PB01 Publication
CB02 Change of applicant information
CB02 Change of applicant information

Address after: 325000 floor 1, office building, Beichang village, Haixi Town, Pingyang County, Wenzhou City, Zhejiang Province

Applicant after: Wenzhou Dongxin Electromechanical Technology Co.,Ltd.

Address before: 325000 floor 1, office building, Beichang village, Haixi Town, Pingyang County, Wenzhou City, Zhejiang Province

Applicant before: Wenzhou Dongxin electromechanical Co.,Ltd.

SE01 Entry into force of request for substantive examination
SE01 Entry into force of request for substantive examination
GR01 Patent grant
GR01 Patent grant