CN111065243A - smart drive - Google Patents

smart drive Download PDF

Info

Publication number
CN111065243A
CN111065243A CN201911356609.1A CN201911356609A CN111065243A CN 111065243 A CN111065243 A CN 111065243A CN 201911356609 A CN201911356609 A CN 201911356609A CN 111065243 A CN111065243 A CN 111065243A
Authority
CN
China
Prior art keywords
heat dissipation
pipe
driver
heat
intelligent
Prior art date
Legal status (The legal status is an assumption and is not a legal conclusion. Google has not performed a legal analysis and makes no representation as to the accuracy of the status listed.)
Granted
Application number
CN201911356609.1A
Other languages
Chinese (zh)
Other versions
CN111065243B (en
Inventor
唐慧
王万年
王天甜
唐洪珍
石兆蚌
孙会昌
刘启峰
Current Assignee (The listed assignees may be inaccurate. Google has not performed a legal analysis and makes no representation or warranty as to the accuracy of the list.)
Bengbu Keda Electrical Equipment Co ltd
Original Assignee
Bengbu Keda Electrical Equipment Co ltd
Priority date (The priority date is an assumption and is not a legal conclusion. Google has not performed a legal analysis and makes no representation as to the accuracy of the date listed.)
Filing date
Publication date
Application filed by Bengbu Keda Electrical Equipment Co ltd filed Critical Bengbu Keda Electrical Equipment Co ltd
Priority to CN201911356609.1A priority Critical patent/CN111065243B/en
Publication of CN111065243A publication Critical patent/CN111065243A/en
Application granted granted Critical
Publication of CN111065243B publication Critical patent/CN111065243B/en
Active legal-status Critical Current
Anticipated expiration legal-status Critical

Links

Images

Classifications

    • HELECTRICITY
    • H05ELECTRIC TECHNIQUES NOT OTHERWISE PROVIDED FOR
    • H05KPRINTED CIRCUITS; CASINGS OR CONSTRUCTIONAL DETAILS OF ELECTRIC APPARATUS; MANUFACTURE OF ASSEMBLAGES OF ELECTRICAL COMPONENTS
    • H05K7/00Constructional details common to different types of electric apparatus
    • H05K7/20Modifications to facilitate cooling, ventilating, or heating
    • H05K7/20009Modifications to facilitate cooling, ventilating, or heating using a gaseous coolant in electronic enclosures
    • H05K7/20136Forced ventilation, e.g. by fans
    • HELECTRICITY
    • H05ELECTRIC TECHNIQUES NOT OTHERWISE PROVIDED FOR
    • H05KPRINTED CIRCUITS; CASINGS OR CONSTRUCTIONAL DETAILS OF ELECTRIC APPARATUS; MANUFACTURE OF ASSEMBLAGES OF ELECTRICAL COMPONENTS
    • H05K7/00Constructional details common to different types of electric apparatus
    • H05K7/20Modifications to facilitate cooling, ventilating, or heating
    • H05K7/2029Modifications to facilitate cooling, ventilating, or heating using a liquid coolant with phase change in electronic enclosures
    • H05K7/20336Heat pipes, e.g. wicks or capillary pumps

Landscapes

  • Engineering & Computer Science (AREA)
  • Microelectronics & Electronic Packaging (AREA)
  • Physics & Mathematics (AREA)
  • Thermal Sciences (AREA)
  • Cooling Or The Like Of Semiconductors Or Solid State Devices (AREA)
  • Cooling Or The Like Of Electrical Apparatus (AREA)

Abstract

本发明公开了一种智能驱动器,属于智能驱动器技术领域,包括驱动器,所述驱动器的外部设置有内壳,所述内壳底部设置有第二散热管,所述第二散热管围设在驱动器的底部外侧,所述第二散热管的首尾连通形成循环管,所述第二散热管的两侧上端连通有第一散热管,本发明第一散热管与第二散热管进行吸热,第二散热管内部装有工作流体,工作流体液态遇热挥发成汽态,通过风扇进行吹风,使汽态工作流体向上运动到散热翅片处遇冷转化成液体再沿散热翅片下表面流进入第二散热管中,再吸热转化成汽态,周而复始,形成一个液汽循环带走热量,从而保证驱动器能够进行高效散热,散热快且效果良好。

Figure 201911356609

The invention discloses an intelligent driver, belonging to the technical field of intelligent drivers. On the outer side of the bottom of the second heat dissipation pipe, the head and tail of the second heat dissipation pipe are connected to form a circulation pipe, and the upper ends of the two sides of the second heat dissipation pipe are connected with the first heat dissipation pipe. There is a working fluid inside the second radiator pipe. The liquid working fluid volatilizes into a vapor state when heated, and is blown by a fan, so that the vapor working fluid moves upward to the cooling fins and is converted into liquid when it is cooled, and then flows into the lower surface of the cooling fins. In the second heat pipe, the heat is absorbed and converted into a vapor state, and the cycle is repeated to form a liquid-vapor circulation to take away the heat, so as to ensure that the driver can dissipate heat efficiently, with fast heat dissipation and good effect.

Figure 201911356609

Description

Intelligent driver
Technical Field
The invention belongs to the technical field of intelligent drivers, and particularly relates to an intelligent driver.
Background
The intelligent servo driver is also called as a programmable servo driver, is a full digital driver integrating a servo driving technology, a PLC technology and a motion control technology, can be programmed by a ladder diagram inside, completes the logic and data operation of the PLC, and realizes the synchronous control function of the multi-axis motor through a special motion control instruction. Intelligent servo driver belongs to some among the servo, mainly be applied to the high-end equipment, the core control part of intelligent machine, intelligent servo driver can wide application in textile machinery, fields such as wood working machine, current intelligent driver can produce a large amount of heats at the in-process of work, and current radiating mode is equipped with thermovent or radiator fan generally outside the shell, but the radiating effect is relatively poor, and this kind of mode leads to the easy stockpiling of intelligent driver to collect the dust, and intelligent driver is most more accurate, the dust can influence intelligent driver's life-span.
Disclosure of Invention
The invention provides an intelligent driver which has the characteristics of good heat dissipation effect and dust prevention.
In order to achieve the purpose, the invention provides the following technical scheme: the utility model provides an intelligent driver, includes the driver, the outside of driver is provided with the inner shell, the inner shell bottom is provided with the second cooling tube, the second cooling tube encloses the bottom outside of establishing at the driver, the head and the tail intercommunication of second cooling tube forms the circulating pipe, the both sides upper end intercommunication of second cooling tube has first cooling tube, the adjacent upper end outside of first cooling tube all is provided with radiating fin, a plurality of bracing pieces of bottom fixedly connected with of inner shell, the lower extreme of bracing piece is connected in the shell bottom, the inner shell forms the cavity with the outer shell, radiating fin runs through the inner shell and sets up in the cavity, the rigidity that corresponds with radiating fin on the outer wall of shell is provided with the fan.
Preferably, the upper end of first cooling tube is provided with the feed liquor pipe, the feed liquor pipe runs through the one end that extends to the shell and is provided with the closing cap.
Preferably, a protective cover is arranged outside the fan.
Preferably, the bottom of the shell is provided with a shock pad.
Preferably, a plurality of heat dissipation holes are formed in the surface of the shell at positions corresponding to the cavities.
Preferably, the lower surface of the heat dissipation fin faces the direction of the first heat dissipation pipe and is provided with an inclined surface.
Preferably, the first radiating pipe is tightly attached to the outer side of the driver.
Compared with the prior art, the invention has the beneficial effects that:
1. the first radiating pipe and the second radiating pipe absorb heat, the working fluid is filled in the second radiating pipe, the liquid state of the working fluid is volatilized into a vapor state when heated, the fan blows air, the vapor state working fluid moves upwards to the radiating fins and is converted into liquid when cooled, then the liquid flows into the second radiating pipe along the lower surfaces of the radiating fins, the heat absorption is converted into the vapor state again, and the process is repeated, so that a liquid-vapor circulation is formed to take away the heat, the driver can be ensured to radiate the heat efficiently, and the heat radiation is fast and has good effect.
2. The driver of the invention does not circulate with the outside air in the heat dissipation process, thereby preventing dust from entering the driver, ensuring that the driver is not influenced by the dust and prolonging the service life.
Drawings
Fig. 1 is a schematic structural diagram of an intelligent driver according to the present invention.
FIG. 2 is a front view of the present invention;
FIG. 3 is a diagram of an internal circuit of the present invention.
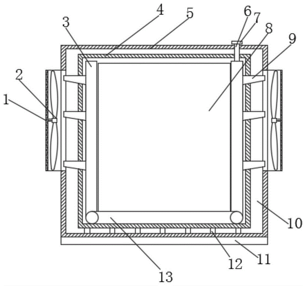
In the figure: 1. a protective cover; 2. a fan; 3. a first radiating pipe; 4. an inner shell; 5. a housing; 6. a liquid inlet pipe; 7. sealing the cover; 8. a driver; 9. a heat dissipating fin; 10. a cavity; 11. a shock pad; 12. a support bar; 13. a second heat dissipation pipe; 14. and (4) heat dissipation holes.
Detailed Description
The technical solutions in the embodiments of the present invention will be clearly and completely described below with reference to the drawings in the embodiments of the present invention, and it is obvious that the described embodiments are only a part of the embodiments of the present invention, and not all of the embodiments. All other embodiments, which can be derived by a person skilled in the art from the embodiments given herein without making any creative effort, shall fall within the protection scope of the present invention.
Referring to fig. 1-2, the present invention provides the following technical solutions: an intelligent driver comprises a driver 8, wherein an inner shell 4 is arranged outside the driver 8, a second radiating pipe 13 is arranged at the bottom of the inner shell 4, the second radiating pipe 13 is arranged at the outer side of the bottom of the driver 8 in a surrounding mode, the head and the tail of the second radiating pipe 13 are communicated to form a circulating pipe, working fluid is filled in the second radiating pipe 13, the upper ends of two sides of the second radiating pipe 13 are communicated with first radiating pipes 3, and the first radiating pipes 3 are tightly attached to the outer side of the driver 8 in order to improve the radiating effect; in order to supplement working fluid into the second radiating pipe 13 conveniently, the upper end of the first radiating pipe 3 is provided with a liquid inlet pipe 6, and one end of the liquid inlet pipe 6 extending to the shell 5 is provided with a sealing cover 7; the outer sides of the upper ends of the first radiating pipes 3 are provided with radiating fins 9, in order to facilitate the working fluid to move upwards in a vapor state to the radiating fins 9 and be converted into liquid when meeting cold and then flow downwards along the bottoms of the radiating fins 9, the lower surfaces of the radiating fins 9 are provided with inclined surfaces facing the first radiating pipes 3; the bottom of the inner shell 4 is fixedly connected with a plurality of support rods 12, the lower ends of the support rods 12 are connected to the bottom of the outer shell 5, and in order to prevent the shell from being damaged by pressure when the device is placed, the bottom of the outer shell 5 is provided with a shock pad 11; the inner shell 4 and the outer shell 5 form a cavity 10, the radiating fins 9 penetrate through the inner shell 4 and are arranged in the cavity 10, the fan 2 is fixedly arranged on the outer wall of the outer shell 5 at a position corresponding to the radiating fins 9, and the outer side of the fan 2 is provided with the protective cover 1 in order to block dust and prevent blades of the fan 2 from hurting people; in order to accelerate air circulation and improve heat dissipation speed, a plurality of heat dissipation holes 14 are formed in the surface of the shell 5 corresponding to the cavity 10;
the working principle and the using process of the invention are as follows: when the invention is used, the driver 8 generates heat when working, the first radiating pipe 3 and the second radiating pipe 13 absorb heat at the outer side of the driver 8, the second radiating pipe 13 is internally filled with working fluid, the liquid state of the working fluid is volatilized into a vapor state when being heated, the heat is taken away in the volatilization process, the vapor state working fluid moves upwards to the radiating fins 9, the fan 2 blows air, the vapor state working fluid moves upwards to the radiating fins 9 to be converted into liquid when being cooled and then flows downwards along the inner wall of the first radiating pipe 3 at the lower surface of the radiating fins 9 to enter the second radiating pipe 13, the heat absorption is converted into the vapor state again, the process is repeated, a liquid-vapor circulation is formed to take away the heat, thereby ensuring that the driver 8 can carry out high-efficiency heat dissipation, the heat dissipation is fast and the effect is good, and the driver 8 does not circulate with the outside air in the heat dissipation process, thereby ensuring that the dust cannot enter, the service life is prolonged.
As shown in fig. 3, a driving circuit is disposed inside the intelligent driver, and the debugging items and standards are as follows:
1. input voltage: 24Vdc
2. Drive current: 0 to 3A
3. And (4) fault alarm: without load
3. Aging at 70 deg.C for 6 hr
4. Shake vertically for 1 hour.
Although embodiments of the present invention have been shown and described, it will be appreciated by those skilled in the art that changes, modifications, substitutions and alterations can be made in these embodiments without departing from the principles and spirit of the invention, the scope of which is defined in the appended claims and their equivalents.

Claims (7)

1.一种智能驱动器,包括驱动器(8),其特征在于:所述驱动器(8)的外部设置有内壳(4),所述内壳(4)底部设置有第二散热管(13),所述第二散热管(13)围设在驱动器(8)的底部外侧,所述第二散热管(13)的首尾连通形成循环管,所述第二散热管(13)的两侧上端连通有第一散热管(3),所述第一散热管(3)邻近上端外侧均设置有散热翅片(9),所述内壳(4)的底部固定连接有多个支撑杆(12),所述支撑杆(12)的下端连接在外壳(5)底部,所述内壳(4)与外壳(5)形成腔体(10),所述散热翅片(9)贯穿内壳(4)并设置在腔体(10)内,所述外壳(5)的外壁上与散热翅片(9)对应的位置固定设置有风扇(2)。1. An intelligent driver, comprising a driver (8), characterized in that: an inner shell (4) is provided outside the driver (8), and a second cooling pipe (13) is provided at the bottom of the inner shell (4) , the second heat pipe (13) is surrounded on the outside of the bottom of the driver (8). A first heat dissipation pipe (3) is communicated with, the first heat dissipation pipe (3) is provided with heat dissipation fins (9) adjacent to the outer side of the upper end, and a plurality of support rods (12) are fixedly connected to the bottom of the inner shell (4). ), the lower end of the support rod (12) is connected to the bottom of the outer shell (5), the inner shell (4) and the outer shell (5) form a cavity (10), and the heat dissipation fins (9) penetrate through the inner shell ( 4) and arranged in the cavity (10), and a fan (2) is fixedly arranged on the outer wall of the casing (5) at a position corresponding to the heat dissipation fins (9). 2.根据权利要求1所述的智能驱动器,其特征在于:所述第一散热管(3)的上端设置有进液管(6),所述进液管(6)贯穿延伸至外壳(5)的一端设置有封盖(7)。2. The intelligent driver according to claim 1, characterized in that: the upper end of the first heat dissipation pipe (3) is provided with a liquid inlet pipe (6), and the liquid inlet pipe (6) extends through the casing (5). ) is provided with a cover (7). 3.根据权利要求1所述的智能驱动器,其特征在于:所述风扇(2)的外侧设置防护罩(1)。3. The intelligent driver according to claim 1, characterized in that: a protective cover (1) is provided on the outer side of the fan (2). 4.根据权利要求1所述的智能驱动器,其特征在于:所述外壳(5)的底部设置有减震垫(11)。4. The intelligent driver according to claim 1, characterized in that: a shock-absorbing pad (11) is provided at the bottom of the casing (5). 5.根据权利要求1所述的智能驱动器,其特征在于:所述外壳(5)的表面对应腔体(10)的位置设置有多个散热孔(14)。5. The intelligent driver according to claim 1, wherein a plurality of heat dissipation holes (14) are provided on the surface of the casing (5) corresponding to the position of the cavity (10). 6.根据权利要求1所述的智能驱动器,其特征在于:所述散热翅片(9)下表面朝向第一散热管(3)的方向设置为倾斜面。6. The intelligent driver according to claim 1, wherein the lower surface of the heat dissipation fin (9) is set as an inclined surface in the direction toward the first heat dissipation pipe (3). 7.根据权利要求1所述的智能驱动器,其特征在于:所述第一散热管(3)紧贴在驱动器(8)的外侧。7. The intelligent driver according to claim 1, characterized in that: the first heat dissipation pipe (3) is closely attached to the outer side of the driver (8).
CN201911356609.1A 2019-12-25 2019-12-25 Smart Drive Active CN111065243B (en)

Priority Applications (1)

Application Number Priority Date Filing Date Title
CN201911356609.1A CN111065243B (en) 2019-12-25 2019-12-25 Smart Drive

Applications Claiming Priority (1)

Application Number Priority Date Filing Date Title
CN201911356609.1A CN111065243B (en) 2019-12-25 2019-12-25 Smart Drive

Publications (2)

Publication Number Publication Date
CN111065243A true CN111065243A (en) 2020-04-24
CN111065243B CN111065243B (en) 2025-01-10

Family

ID=70303407

Family Applications (1)

Application Number Title Priority Date Filing Date
CN201911356609.1A Active CN111065243B (en) 2019-12-25 2019-12-25 Smart Drive

Country Status (1)

Country Link
CN (1) CN111065243B (en)

Cited By (3)

* Cited by examiner, † Cited by third party
Publication number Priority date Publication date Assignee Title
CN111649010A (en) * 2020-05-25 2020-09-11 安徽辉源机电有限公司 Novel high-lift submersible pump
CN112769050A (en) * 2020-12-27 2021-05-07 安徽万纳电力电器有限公司 High-efficient heat dissipation high-voltage board
CN113645803A (en) * 2021-07-12 2021-11-12 安徽省通信产业服务有限公司 Wireless data transmission wisdom electric power monitoring early warning controller

Citations (5)

* Cited by examiner, † Cited by third party
Publication number Priority date Publication date Assignee Title
JPH09307036A (en) * 1996-03-14 1997-11-28 Denso Corp Boiling cooler
CN101026135A (en) * 2006-02-21 2007-08-29 华硕电脑股份有限公司 Radiator with sloped fins
WO2016122568A1 (en) * 2015-01-30 2016-08-04 Hewlett-Packard Development Company, L.P. Stacked fin structure
CN208939081U (en) * 2018-11-28 2019-06-04 陕西正太能源科技有限公司 A kind of vanadium flow battery efficient radiating apparatus
CN211090445U (en) * 2019-12-25 2020-07-24 蚌埠市科达电器有限公司 Novel intelligent driver

Patent Citations (5)

* Cited by examiner, † Cited by third party
Publication number Priority date Publication date Assignee Title
JPH09307036A (en) * 1996-03-14 1997-11-28 Denso Corp Boiling cooler
CN101026135A (en) * 2006-02-21 2007-08-29 华硕电脑股份有限公司 Radiator with sloped fins
WO2016122568A1 (en) * 2015-01-30 2016-08-04 Hewlett-Packard Development Company, L.P. Stacked fin structure
CN208939081U (en) * 2018-11-28 2019-06-04 陕西正太能源科技有限公司 A kind of vanadium flow battery efficient radiating apparatus
CN211090445U (en) * 2019-12-25 2020-07-24 蚌埠市科达电器有限公司 Novel intelligent driver

Cited By (3)

* Cited by examiner, † Cited by third party
Publication number Priority date Publication date Assignee Title
CN111649010A (en) * 2020-05-25 2020-09-11 安徽辉源机电有限公司 Novel high-lift submersible pump
CN112769050A (en) * 2020-12-27 2021-05-07 安徽万纳电力电器有限公司 High-efficient heat dissipation high-voltage board
CN113645803A (en) * 2021-07-12 2021-11-12 安徽省通信产业服务有限公司 Wireless data transmission wisdom electric power monitoring early warning controller

Also Published As

Publication number Publication date
CN111065243B (en) 2025-01-10

Similar Documents

Publication Publication Date Title
CN111065243A (en) smart drive
CN207440720U (en) Computer hardware temperature control equipment
CN211090445U (en) Novel intelligent driver
CN112865396A (en) Energy-saving motor with efficient heat dissipation
CN209842537U (en) Cooling and circulating structure of computer host
CN207897301U (en) Heat radiation structure of electric tool brushless motor controller
CN210744538U (en) Novel transformer box
CN110355767B (en) Outdoor patrol robot with shock attenuation and heat dissipation function
CN213024239U (en) Dustproof computer mainframe shell
CN207301916U (en) A kind of water-cooled computer casing
CN208691089U (en) An oil-cooled servo motor
CN212202410U (en) Quick heat dissipation type compressor
CN105805707A (en) Heat dissipation system for closed wavelength conversion device and laser display system
CN210046389U (en) High-efficient numerical control machine tool
CN204118966U (en) A kind of combination cooling motor
CN118030722A (en) A DC reduction motor
CN213029067U (en) PLC controller heat radiation structure
CN212519807U (en) Good heat dissipation's machine controller
CN212210689U (en) Heat dissipation device for electromechanical equipment
KR100899074B1 (en) Control panel door device with fan cooler
CN210267861U (en) Heat abstractor for textile machinery
CN113644571A (en) A smart power distribution equipment with heat dissipation effect
CN221652404U (en) Circulating pump motor
CN215068103U (en) Computer heat abstractor
CN214672153U (en) Heat dissipation inductor

Legal Events

Date Code Title Description
PB01 Publication
PB01 Publication
SE01 Entry into force of request for substantive examination
SE01 Entry into force of request for substantive examination
GR01 Patent grant
GR01 Patent grant