CN111041791A - 一种智能衣服晾晒收叠装置 - Google Patents

一种智能衣服晾晒收叠装置 Download PDF

Info

Publication number
CN111041791A
CN111041791A CN201911300175.3A CN201911300175A CN111041791A CN 111041791 A CN111041791 A CN 111041791A CN 201911300175 A CN201911300175 A CN 201911300175A CN 111041791 A CN111041791 A CN 111041791A
Authority
CN
China
Prior art keywords
motor
plate
clothes
fixed
shaft
Prior art date
Legal status (The legal status is an assumption and is not a legal conclusion. Google has not performed a legal analysis and makes no representation as to the accuracy of the status listed.)
Granted
Application number
CN201911300175.3A
Other languages
English (en)
Other versions
CN111041791B (zh
Inventor
张彩丽
桓源
Current Assignee (The listed assignees may be inaccurate. Google has not performed a legal analysis and makes no representation or warranty as to the accuracy of the list.)
Shaanxi University of Science and Technology
Original Assignee
Shaanxi University of Science and Technology
Priority date (The priority date is an assumption and is not a legal conclusion. Google has not performed a legal analysis and makes no representation as to the accuracy of the date listed.)
Filing date
Publication date
Application filed by Shaanxi University of Science and Technology filed Critical Shaanxi University of Science and Technology
Priority to CN201911300175.3A priority Critical patent/CN111041791B/zh
Publication of CN111041791A publication Critical patent/CN111041791A/zh
Application granted granted Critical
Publication of CN111041791B publication Critical patent/CN111041791B/zh
Active legal-status Critical Current
Anticipated expiration legal-status Critical

Links

Images

Classifications

    • DTEXTILES; PAPER
    • D06TREATMENT OF TEXTILES OR THE LIKE; LAUNDERING; FLEXIBLE MATERIALS NOT OTHERWISE PROVIDED FOR
    • D06FLAUNDERING, DRYING, IRONING, PRESSING OR FOLDING TEXTILE ARTICLES
    • D06F57/00Supporting means, other than simple clothes-lines, for linen or garments to be dried or aired 
    • D06F57/12Supporting means, other than simple clothes-lines, for linen or garments to be dried or aired  specially adapted for attachment to walls, ceilings, stoves, or other structures or objects
    • D06F57/125Supporting means, other than simple clothes-lines, for linen or garments to be dried or aired  specially adapted for attachment to walls, ceilings, stoves, or other structures or objects for attachment to, or close to, the ceiling
    • DTEXTILES; PAPER
    • D06TREATMENT OF TEXTILES OR THE LIKE; LAUNDERING; FLEXIBLE MATERIALS NOT OTHERWISE PROVIDED FOR
    • D06FLAUNDERING, DRYING, IRONING, PRESSING OR FOLDING TEXTILE ARTICLES
    • D06F89/00Apparatus for folding textile articles with or without stapling
    • D06F89/02Apparatus for folding textile articles with or without stapling of textile articles to be worn, e.g. shirts

Landscapes

  • Engineering & Computer Science (AREA)
  • Textile Engineering (AREA)
  • Holders For Apparel And Elements Relating To Apparel (AREA)

Abstract

一种智能衣服晾晒收叠装置,在滑轮组和滑轨的配合下实现下降至合适位置后,一件衣服晾晒完成后通过环形滑轨与同步带配合实现晾衣架沿环形滑轨移动,将下一晾衣架移动到当前位置,继续下一件衣物的晾晒。当衣物晾晒完成需要收叠时,通过连接杆上电机带动齿轮使支撑杆旋转90度,到达定位块位置,电机转动,通过齿轮啮合带动凸轮转动,进而使滑杆移动,通过滑杆上的齿条与折板上的小齿轮啮合使得左折板,右折板和下折板依此翻转180度,完成衣物折叠,当衣物变多时,挡板会沿滑轨下移,在弹簧和棘爪的共同作用下使挡板适应不同厚度衣物的存放,当全部衣物收叠完成后,装置下降,将储衣箱中衣物拿走即可。具有操作方便、智能化程度高,结构简单的优点。

Description

一种智能衣服晾晒收叠装置
技术领域
本发明属于生活用品技术领域,具体涉及一种智能衣服晾晒收叠装置。
背景技术
随着人们生活质量的提高和物质生活的丰富,人们对居家的舒适度和智能化有了新的要求,目前,市场上关于衣物的智能收叠装置的技术还不能满足人们的日常需求,人们普遍使用的晾衣架不能实现自动晾衣和叠衣的功能,为解决上述问题应该设计出一种方便使用的可晾衣和叠衣的智能装置。
发明内容
为了克服上述现有技术的不足,本发明的目的是提供一种智能衣服晾晒收叠装置,具有操作方便、智能化程度高,结构简单可靠的优点。
为了实现上述目的,本发明采用的技术方案是:
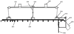
一种智能衣服晾晒收叠装置,包括上支架101,上支架101上设有安装板103,安装板103上设有安装孔,上支架101四角上均设有滑轮102,上支架101中部固定有提升电机105,上支架101上设有卷轮104,卷轮104通过轴承座与上支架101连接,卷轮104的轴与提升电机105轴固联;
上支架101中下部设有滑轨A106,滑轨A106下端安装有滑块A107,滑块A107与滑轨B208配合,滑轨B208顶端设有滑块B209,滑块B209与滑轨A106配合;滑轨208下端通过中部的安装板202固定有环形轨道201,环形导轨201两侧也设有安装板202,两侧的安装板202上设有固定扣206,固定扣206上连接有钢丝,钢丝绕过滑轮102后与卷轮104连接,两侧安装板202下部均固定电机座204,电机座204上设有电机205,电机205的轴上安装有同步轮203,两同步轮203上安装有同步带207;
环形轨道201上设有晾衣架301,晾衣架301上通过支撑板304固定有滚轮303,支撑板304上设有凹槽,凹槽中设有小凸台A,同步带207卡在支撑板304的凹槽之中,晾衣架301两侧设有板306,板306上设有小凸台B,晾衣架301一侧设有舵机305,舵机305轴上连接有轴307,轴307另一端通过轴承座与晾衣架301连接,轴307上刚性连接有压板302;
安装板202一侧刚性固定有连接杆401,连接杆401前端设有定齿轮402,连接杆401上铰接有支撑杆403,连接杆403顶端设有定位块408和定位块407,支撑杆403上设有电机座404,电机座404上安装有电机405,电机405轴上安装有齿轮406,支撑杆403另一端通过电机座409固定有电机410;
电机410轴上刚性连接有底板501;底板501上通过铰链连接有右折板502、下折板503、左折板504,右折板502、下折板503,左折板504上均设有圆孔用于减轻重量,底板501上部设有电机505,电机505轴上固定有双向螺杆511,双向螺杆511另一端通过轴承座与底板501连接,双向螺杆511上安装有螺母512,螺母512侧面安装有舵机513,舵机513轴上固定有压杆506,螺母512下部固定有滑块514,底板上固定有滑轨515,滑块514与滑轨515配合,底板501上设有电机516,电机516轴另一端通过轴承座与底板501连接,电机516轴上刚性连接有翻板510,底板501背部安装有盘状凸轮508,盘状凸轮508与底板501配合处设有轴承,盘状凸轮508外圈设有齿,底板501背部通过电机座507固定有电机509,电机509轴上设有齿轮,底板501上固定有滑块517,滑块517上设有滑杆516,左折板504上设置的小齿轮518,小齿轮518与右折板502、下折板503,左折板504刚性连接;
支撑杆403中部设有储衣箱601,储衣箱601底部设有滑轨603、杆604、棘齿条606,杆604上设有弹簧605,储衣箱601内部设有挡板602,挡板602下部设有滑块608,滑动轴承609、棘爪607,滑块608与滑轨603配合,滑动轴承609与杆604配合,弹簧605一端与储衣箱601连接,另一端与滑动轴承609接触,棘爪607与棘齿条606配合。
所述的滚轮303共计两个,可与环形支架201配合,沿环形滑轨201滑动。
所述的环形导轨201横截面为正六边形.。
所述的电机410轴与支撑杆403配合处设有轴承。
所述的滑杆516一端设有轴承辊子与盘状凸轮508的凸轮槽配合,另一端设有齿条与右折板502、下折板503,左折板504上设置的小齿轮518配合。
本发明的有益效果:
本发明集晾晒功能和叠衣功能于一体的智能衣服晾晒收叠装置,具有操作方便、智能化程度高,结构简单可靠的优点。
附图说明
图1 为本发明的结构示意图。
图2 为本发明的结构示意图。
图3 为本发明的结构示意图。
图4 为本发明的结构示意图。
图5 为本发明的局部结构示意图。
图6 为本发明的局部结构示意图。
图7 为衣架结构示意图。
图8 为上支架结构示意图。
图9 为上支架局部结构示意图。
图10 为滑轨配合结构示意图。
图11为本发明局部结构示意图。
图12为本发明局部结构示意图。
图13为本发明局部结构示意图。
图14为本发明局部结构示意图。
图15为本发明局部结构示意图。
图16为本发明局部结构示意图。
图17为本发明局部结构示意图。
图18为本发明局部结构示意图。
图19为本发明局部结构示意图。
图20为本发明局部结构示意图。
图21为本发明局部结构示意图。
图22为本发明局部结构示意图。
图23为本发明局部结构示意图。
图24为折板结构示意图。
图25为本发明局部结构示意图。
图26为本发明局部结构示意图。
图27为本发明局部结构示意图。
图28为本发明局部结构示意图。
具体实施方式
以下结合附图对本发明进一步叙述。
如图1至28所示,
一种智能衣服晾晒收叠装置,包括上支架101,在上支架101上设有安装板103,所述的安装板103上设有安装孔,便于装置的安装固定,在上支架101四角上均设有滑轮102,在上支架101中部固定有提升电机105,在上支架101上设有卷轮104,所述的卷轮104通过轴承座与上支架101连接,卷轮104的轴与提升电机105轴固联,在上支架中下部设有滑轨106,在滑轨106下端安装有滑块107,滑块107与滑轨208配合,滑轨208顶端设有滑块209,滑块209与滑轨106配合,所述的滑轨106、滑轨208、滑块209,滑块107数量为2个,两两配合,可相对滑动;在滑轨208下端通过中部的安装板202固定有环形轨道201,在环形导轨201两侧也设有安装板202,在两侧的安装板202上设有固定扣206,所述的固定扣206共计4个,两两安装在两侧的固定板202上,在固定扣206上连接有钢丝,钢丝绕过滑轮102后与卷轮104连接,通过卷轮104的转动带动钢丝,在滑轨208和滑轨106的配合下可使环形导轨201实现升降,所述的环形导轨201横截面为正六边形,在两侧安装板202下部均固定电机座204,电机座204上设有电机205,在电机205的轴上安装有同步轮203,两同步轮203上安装有同步带207;在环形轨道201上设有晾衣架301,在晾衣架301上通过支撑板304固定有滚轮303,滚轮303共计两个,可与环形支架201配合,沿环形滑轨201滑动,支撑板304上设有凹槽,凹槽中设有小凸台,所述的同步带207卡在支撑板304的凹槽之中,小凸台可定位,增加摩擦力,在晾衣架301两侧设有板306,板306上设有小凸台用于增加和衣服的摩擦力,防止滑落,在晾衣架301一侧设有舵机305,舵机305轴上连接有轴307,轴307另一端通过轴承座与晾衣架301连接,在轴307上刚性连接有压板302,压板302在舵机305的带动下可旋转,通过与板306配合可夹住衣服晾晒;在安装板202一侧刚性固定有连接杆401,在连接杆401前端设有定齿轮402,在连接杆401上铰接有支撑杆403,在连接杆403顶端设有定位块408和定位块407,在支撑杆403上设有电机座404,电机座404上安装有电机405,电机405轴上安装有齿轮406,电机405可带动齿轮406旋转,在与定齿轮402配合下可使支撑杆403绕连接杆401旋转,在支撑杆403另一端通过电机座409固定有电机410,电机410轴与支撑杆403配合处设有轴承,所述的电机410轴上刚性连接有底板501;在底板501上通过铰链连接有右折板502、下折板503,左折板504,所述的右折板502、下折板503,左折板504上均设有圆孔用于减轻重量,在底板501上部设有电机505,电机505轴上固定有双向螺杆511,双向螺杆511另一端通过轴承座与底板501连接,在双向螺杆511上安装有螺母512,在螺母512侧面安装有舵机513,在舵机513轴上固定有压杆506,在螺母512下部固定有滑块514,在底板上固定有滑轨515,所述的滑块514与滑轨515配合,在底板501上设有电机516,电机516轴另一端通过轴承座与底板501连接,在电机516轴上刚性连接有翻板510,在底板501背部安装有盘状凸轮508,盘状凸轮508与底板501配合处设有轴承,所述的盘状凸轮508外圈设有齿, 在底板501背部通过电机座507固定有电机509,电机509轴上设有齿轮,可与盘状凸轮508外圈的齿啮合,使电机509带动盘状凸轮508转动,在底板501上固定有滑块517,在滑块517上设有滑杆516,所述的滑杆516一端设有轴承辊子与盘状凸轮508的凸轮槽配合,另一端设有齿条与右折板502、下折板503,左折板504上设置的小齿轮518配合,所属的小齿轮518与右折板502、下折板503,左折板504刚性连接,当盘状凸轮508推动滑杆516运动时,通过滑杆516前端的齿条与小齿轮配合可依次推动右折板502、下折板503左折板504做翻折运动;在支撑杆403中部设有储衣箱601,在储衣箱601底部设有滑轨603,杆604,棘齿条606,在杆604上设有弹簧605,在储衣箱601内部设有挡板602,在挡板602下部设有滑块608,滑动轴承609,棘爪607,所述的滑块608与滑轨603配合,滑动轴承609与杆604配合,弹簧605一端与储衣箱601连接,另一端与滑动轴承609接触,棘爪607与棘齿条606配合。
本发明的工作原理:
整个装置通过顶端的安装板用螺栓固定在阳台的天花板上,当需要晾晒衣物时,整个装置在滑轮组和滑轨的配合下实现下降,下降至合适位置后,人们将衣物通过晾衣架上的压板将衣物固定在晾衣架上,一件衣服晾晒完成后通过环形滑轨与同步带配合实现晾衣架沿环形滑轨移动,将下一晾衣架移动到当前位置,继续下一件衣物的晾晒,在所有衣物完成晾晒后装置通过滑轮组上移。当衣物晾晒完成需要收叠时,通过连接杆上电机带动齿轮使支撑杆旋转90度,到达定位块位置,此时支撑杆竖直,底板在电机带动下竖起,压杆在舵机带动下与底板呈90度,此时同步轮转动带动晾衣架沿环形导轨移动到底板竖直处,衣物紧贴翻板,压杆在舵机带动下转动,将衣物固定在翻板处,此时晾衣架上的压板松开,底板在电机带动下转至水平,此时电机转动,带动螺杆转动,压杆随着螺母向两边移动,将衣物平展后压杆转动与底板呈90度,此时电机转动,通过齿轮啮合带动凸轮转动,进而使滑杆移动,通过滑杆上的齿条与折板上的小齿轮啮合使得左折板,右折板和下折板依此翻转180度,完成衣物折叠,此时压杆再次通过舵机驱动压住折叠完成衣物,电机带动翻板翻转使衣物放置在储衣箱内,此时挡板在弹簧作用下紧贴折叠完成衣物,防止衣物凌乱,翻板将衣物送至储衣箱后,电机带动螺杆转动,使压杆向两边移动,避开衣物后复位,继续下一衣物的折叠,当衣物慢慢变多时,挡板会沿滑轨下移,在弹簧和棘爪的共同作用下使挡板适应不同厚度衣物的存放,当全部衣物收叠完成后,装置下降,将储衣箱中衣物拿走即可。手动将棘爪脱离棘齿条,使挡板复位,支撑杆在电机带动下向上旋转90度复位,装置上升复位。

Claims (5)

1.一种智能衣服晾晒收叠装置,包括上支架(101),其特征在于,上支架(101)上设有安装板(103),安装板(103)上设有安装孔,上支架(101)四角上均设有滑轮(102),上支架(101)中部固定有提升电机(105),上支架(101)上设有卷轮(104),卷轮(104)通过轴承座与上支架(101)连接,卷轮(104)的轴与提升电机(105)轴固联;
上支架(101)中下部设有滑轨A(106),滑轨A(106)下端安装有滑块A(107),滑块A(107)与滑轨B(208)配合,滑轨B(208)顶端设有滑块B(209),滑块B(209)与滑轨A(106)配合;滑轨(208)下端通过中部的安装板(202)固定有环形轨道(201),环形导轨(201)两侧也设有安装板(202),两侧的安装板(202)上设有固定扣(206),固定扣(206)上连接有钢丝,钢丝绕过滑轮(102)后与卷轮(104)连接,两侧安装板(202)下部均固定电机座(204),电机座(204)上设有电机(205),电机(205)的轴上安装有同步轮(203),两同步轮(203)上安装有同步带(207);
环形轨道(201)上设有晾衣架(301),晾衣架(301)上通过支撑板(304)固定有滚轮(303),支撑板(304)上设有凹槽,凹槽中设有小凸台A,同步带(207)卡在支撑板(304)的凹槽之中,晾衣架(301)两侧设有板(306),板(306)上设有小凸台B,晾衣架(301)一侧设有舵机(305),舵机(305)轴上连接有轴(307),轴(307)另一端通过轴承座与晾衣架(301)连接,轴(307)上刚性连接有压板(302);
安装板(202)一侧刚性固定有连接杆(401),连接杆(401)前端设有定齿轮(402),连接杆(401)上铰接有支撑杆(403),连接杆(403)顶端设有定位块(408)和定位块(407),支撑杆(403)上设有电机座(404),电机座(404)上安装有电机(405),电机(405)轴上安装有齿轮(406),支撑杆(403)另一端通过电机座(409)固定有电机(410);
电机(410)轴上刚性连接有底板(501);底板(501)上通过铰链连接有右折板(502)、下折板(503)、左折板(504),右折板(502)、下折板(503),左折板(504)上均设有圆孔用于减轻重量,底板(501)上部设有电机(505),电机(505)轴上固定有双向螺杆(511),双向螺杆(511)另一端通过轴承座与底板(501)连接,双向螺杆(511)上安装有螺母(512),螺母(512)侧面安装有舵机(513),舵机(513)轴上固定有压杆(506),螺母(512)下部固定有滑块(514),底板上固定有滑轨(515),滑块(514)与滑轨(515)配合,底板(501)上设有电机(516),电机(516)轴另一端通过轴承座与底板(501)连接,电机(516)轴上刚性连接有翻板(510),底板(501)背部安装有盘状凸轮(508),盘状凸轮(508)与底板(501)配合处设有轴承,盘状凸轮(508)外圈设有齿,底板(501)背部通过电机座(507)固定有电机(509),电机(509)轴上设有齿轮,底板(501)上固定有滑块(517),滑块(517)上设有滑杆(516),左折板(504)上设置的小齿轮(518),小齿轮(518)与右折板(502)、下折板(503),左折板(504)刚性连接;
支撑杆(403)中部设有储衣箱(601),储衣箱(601)底部设有滑轨(603)、杆(604)、棘齿条(606),杆(604)上设有弹簧(605),储衣箱(601)内部设有挡板(602),挡板(602)下部设有滑块(608),滑动轴承(609)、棘爪(607),滑块(608)与滑轨(603)配合,滑动轴承(609)与杆(604)配合,弹簧(605)一端与储衣箱(601)连接,另一端与滑动轴承(609)接触,棘爪(607)与棘齿条(606)配合。
2.根据权利要求1所述的一种智能衣服晾晒收叠装置,其特征在于,所述的滚轮(303)共计两个,可与环形支架201配合,沿环形滑轨(201)滑动。
3.根据权利要求1所述的一种智能衣服晾晒收叠装置,其特征在于,所述的环形导轨(201)横截面为正六边形.。
4.根据权利要求1所述的一种智能衣服晾晒收叠装置,其特征在于,所述的电机(410)轴与支撑杆(403)配合处设有轴承。
5.根据权利要求1所述的一种智能衣服晾晒收叠装置,其特征在于,所述的滑杆(516)一端设有轴承辊子与盘状凸轮(508)的凸轮槽配合,另一端设有齿条与右折板(502)、下折板(503),左折板(504)上设置的小齿轮(518)配合。
CN201911300175.3A 2019-12-16 2019-12-16 一种智能衣服晾晒收叠装置 Active CN111041791B (zh)

Priority Applications (1)

Application Number Priority Date Filing Date Title
CN201911300175.3A CN111041791B (zh) 2019-12-16 2019-12-16 一种智能衣服晾晒收叠装置

Applications Claiming Priority (1)

Application Number Priority Date Filing Date Title
CN201911300175.3A CN111041791B (zh) 2019-12-16 2019-12-16 一种智能衣服晾晒收叠装置

Publications (2)

Publication Number Publication Date
CN111041791A true CN111041791A (zh) 2020-04-21
CN111041791B CN111041791B (zh) 2025-09-09

Family

ID=70236985

Family Applications (1)

Application Number Title Priority Date Filing Date
CN201911300175.3A Active CN111041791B (zh) 2019-12-16 2019-12-16 一种智能衣服晾晒收叠装置

Country Status (1)

Country Link
CN (1) CN111041791B (zh)

Cited By (5)

* Cited by examiner, † Cited by third party
Publication number Priority date Publication date Assignee Title
CN111616514A (zh) * 2020-06-24 2020-09-04 武汉华夏理工学院 自动整理衣柜
CN112176688A (zh) * 2020-09-16 2021-01-05 南昌大学 一种衣物管理系统
CN112227029A (zh) * 2020-09-18 2021-01-15 中国民航大学 基于空间凸轮-轮系复合机构的可伸缩旋转智能晾衣架
CN112359563A (zh) * 2020-11-05 2021-02-12 安徽科技学院 一种智能型晾衣架
CN113287929A (zh) * 2021-07-11 2021-08-24 温成浩 一种外科手术服脱去及存放装置

Citations (8)

* Cited by examiner, † Cited by third party
Publication number Priority date Publication date Assignee Title
CN102797141A (zh) * 2012-07-12 2012-11-28 广东工业大学 叠衣机
CN103835104A (zh) * 2013-12-31 2014-06-04 浙江欧美嘉五金有限公司 一种升降式晾衣架
CN106930073A (zh) * 2015-12-29 2017-07-07 慈溪市力胜模具钢有限公司 一种升降式晾衣架
CN107476013A (zh) * 2017-09-30 2017-12-15 深圳市喵星人科技有限公司 一种螺旋轨道晾衣装置
CN207760627U (zh) * 2018-01-12 2018-08-24 山东大学 一种全自动叠衣装置
CN109385874A (zh) * 2017-08-04 2019-02-26 南宁市黑晶信息技术有限公司 一种短袖t恤快速折叠装置
CN109944048A (zh) * 2019-04-23 2019-06-28 华东理工大学 一种衣物自动折叠收纳装置
CN212741901U (zh) * 2019-12-16 2021-03-19 陕西科技大学 一种智能晾衣架

Patent Citations (8)

* Cited by examiner, † Cited by third party
Publication number Priority date Publication date Assignee Title
CN102797141A (zh) * 2012-07-12 2012-11-28 广东工业大学 叠衣机
CN103835104A (zh) * 2013-12-31 2014-06-04 浙江欧美嘉五金有限公司 一种升降式晾衣架
CN106930073A (zh) * 2015-12-29 2017-07-07 慈溪市力胜模具钢有限公司 一种升降式晾衣架
CN109385874A (zh) * 2017-08-04 2019-02-26 南宁市黑晶信息技术有限公司 一种短袖t恤快速折叠装置
CN107476013A (zh) * 2017-09-30 2017-12-15 深圳市喵星人科技有限公司 一种螺旋轨道晾衣装置
CN207760627U (zh) * 2018-01-12 2018-08-24 山东大学 一种全自动叠衣装置
CN109944048A (zh) * 2019-04-23 2019-06-28 华东理工大学 一种衣物自动折叠收纳装置
CN212741901U (zh) * 2019-12-16 2021-03-19 陕西科技大学 一种智能晾衣架

Cited By (9)

* Cited by examiner, † Cited by third party
Publication number Priority date Publication date Assignee Title
CN111616514A (zh) * 2020-06-24 2020-09-04 武汉华夏理工学院 自动整理衣柜
CN111616514B (zh) * 2020-06-24 2025-03-07 武汉华夏理工学院 自动整理衣柜
CN112176688A (zh) * 2020-09-16 2021-01-05 南昌大学 一种衣物管理系统
CN112176688B (zh) * 2020-09-16 2023-10-03 南昌大学 一种衣物管理系统
CN112227029A (zh) * 2020-09-18 2021-01-15 中国民航大学 基于空间凸轮-轮系复合机构的可伸缩旋转智能晾衣架
CN112227029B (zh) * 2020-09-18 2022-08-12 中国民航大学 基于空间凸轮-轮系复合机构的可伸缩旋转智能晾衣架
CN112359563A (zh) * 2020-11-05 2021-02-12 安徽科技学院 一种智能型晾衣架
CN112359563B (zh) * 2020-11-05 2023-05-05 安徽科技学院 一种智能型晾衣架
CN113287929A (zh) * 2021-07-11 2021-08-24 温成浩 一种外科手术服脱去及存放装置

Also Published As

Publication number Publication date
CN111041791B (zh) 2025-09-09

Similar Documents

Publication Publication Date Title
CN111041791A (zh) 一种智能衣服晾晒收叠装置
CN203807823U (zh) 一种升降式晾衣架
CN107599931B (zh) 一种汽车用可上下移动的杯托
CN212741901U (zh) 一种智能晾衣架
CN208663383U (zh) 一种便于调节的轮毂用打磨装置
CN106930073A (zh) 一种升降式晾衣架
CN104609196B (zh) 一种自动上下靠模设备
JPH11506090A (ja) ロールからウエブを供給するためのアセンブリ
CN202552061U (zh) 一种蛋卷机
CN208378197U (zh) 一种电动十字吊架
CN112227029A (zh) 基于空间凸轮-轮系复合机构的可伸缩旋转智能晾衣架
CN208326818U (zh) 一种布匹退卷机
CN219688844U (zh) 一种瓦楞纸生产用接纸机
CN221275114U (zh) 一种机电安装调节式翻转装置
CN210557348U (zh) 一种可调式输送线
CN209940009U (zh) 一种地毯生产用绕辊装置
CN220950366U (zh) 一种无纺布卷绕机快速换辊装置
CN221446006U (zh) 家纺产品面料金属检测装置
CN222518931U (zh) 一种易于折叠收纳的喷涂挂具
CN210558298U (zh) 一种pp杯成型机的上卷换卷装置
CN223073374U (zh) 一种冷轧钢板收料机
CN221112228U (zh) 一种木板上胶机
CN220135667U (zh) 一种便携式家居空气净化器
CN223619011U (zh) 一种压缩卷包薄膜压合机构
CN215366438U (zh) 一种能够根据使用需求对晾衣区域进行调节的自动晾衣架

Legal Events

Date Code Title Description
PB01 Publication
PB01 Publication
SE01 Entry into force of request for substantive examination
SE01 Entry into force of request for substantive examination
GR01 Patent grant
GR01 Patent grant