CN110783617A - Lamination machine and cutting and stacking integrated machine - Google Patents
Lamination machine and cutting and stacking integrated machine Download PDFInfo
- Publication number
- CN110783617A CN110783617A CN201911096874.0A CN201911096874A CN110783617A CN 110783617 A CN110783617 A CN 110783617A CN 201911096874 A CN201911096874 A CN 201911096874A CN 110783617 A CN110783617 A CN 110783617A
- Authority
- CN
- China
- Prior art keywords
- pole piece
- lamination
- assembly
- transport
- conveying
- Prior art date
- Legal status (The legal status is an assumption and is not a legal conclusion. Google has not performed a legal analysis and makes no representation as to the accuracy of the status listed.)
- Granted
Links
Images
Classifications
-
- H—ELECTRICITY
- H01—ELECTRIC ELEMENTS
- H01M—PROCESSES OR MEANS, e.g. BATTERIES, FOR THE DIRECT CONVERSION OF CHEMICAL ENERGY INTO ELECTRICAL ENERGY
- H01M10/00—Secondary cells; Manufacture thereof
- H01M10/04—Construction or manufacture in general
- H01M10/0404—Machines for assembling batteries
-
- H—ELECTRICITY
- H01—ELECTRIC ELEMENTS
- H01M—PROCESSES OR MEANS, e.g. BATTERIES, FOR THE DIRECT CONVERSION OF CHEMICAL ENERGY INTO ELECTRICAL ENERGY
- H01M6/00—Primary cells; Manufacture thereof
- H01M6/005—Devices for making primary cells
-
- Y—GENERAL TAGGING OF NEW TECHNOLOGICAL DEVELOPMENTS; GENERAL TAGGING OF CROSS-SECTIONAL TECHNOLOGIES SPANNING OVER SEVERAL SECTIONS OF THE IPC; TECHNICAL SUBJECTS COVERED BY FORMER USPC CROSS-REFERENCE ART COLLECTIONS [XRACs] AND DIGESTS
- Y02—TECHNOLOGIES OR APPLICATIONS FOR MITIGATION OR ADAPTATION AGAINST CLIMATE CHANGE
- Y02P—CLIMATE CHANGE MITIGATION TECHNOLOGIES IN THE PRODUCTION OR PROCESSING OF GOODS
- Y02P70/00—Climate change mitigation technologies in the production process for final industrial or consumer products
- Y02P70/50—Manufacturing or production processes characterised by the final manufactured product
Landscapes
- Engineering & Computer Science (AREA)
- Manufacturing & Machinery (AREA)
- Chemical & Material Sciences (AREA)
- Chemical Kinetics & Catalysis (AREA)
- Electrochemistry (AREA)
- General Chemical & Material Sciences (AREA)
- Secondary Cells (AREA)
Abstract
本申请公开了一种叠片机和切叠一体机。该叠片机包括叠片装置,包括:第一运输机构和第二运输机构分别用于沿第一水平方向运输第一极片和第二极片,且沿垂直于第一水平方向的第二水平方向彼此间隔设置;第一叠片组件和第二叠片组件分别沿第二水平方向间隔设置;第一搬运组件和第二搬运组件设置于第一运输机构和第二运输机构的上方且沿第一水平方向彼此间隔;其中第一搬运组件用于搬运第一极片至第一叠片组件和第二叠片组件上,第二搬运组件用于搬运第二极片至第一叠片组件和第二叠片组件上,第一叠片组件和第二叠片组件均用于将第一极片、第二极片和隔膜叠片成电芯。通过上述方式,本申请提供的叠片机布局紧促、占地空间小且叠片效率高。
The present application discloses a lamination machine and an integrated cutting and stacking machine. The stacking machine includes a stacking device, including: a first transport mechanism and a second transport mechanism are respectively used for transporting the first pole piece and the second pole piece along a first horizontal direction, and along a second pole piece perpendicular to the first horizontal direction The horizontal direction is spaced apart from each other; the first lamination assembly and the second lamination assembly are spaced apart along the second horizontal direction, respectively; the first conveying assembly and the second conveying assembly are disposed above the first transport mechanism and the second transport mechanism and along the The first horizontal directions are spaced apart from each other; wherein the first handling assembly is used for handling the first pole piece to the first lamination assembly and the second lamination assembly, and the second handling assembly is used for handling the second pole piece to the first lamination assembly and the second lamination assembly, the first lamination assembly and the second lamination assembly are both used for laminating the first pole piece, the second pole piece and the diaphragm into a cell. In the above manner, the lamination machine provided by the present application has a compact layout, small footprint and high lamination efficiency.
Description
技术领域technical field
本申请涉及电池制造设备技术领域,特别是涉及一种叠片机和切叠一体机。The present application relates to the technical field of battery manufacturing equipment, and in particular, to a lamination machine and an integrated cutting and stacking machine.
背景技术Background technique
在电池生产设备技术领域中,叠片机用于将第一极片和第二极片叠片呈电芯。但现有叠片机的效率不高,其各部件布局不紧促,占地空间大。In the technical field of battery production equipment, a laminating machine is used for laminating the first pole piece and the second pole piece into a battery cell. However, the efficiency of the existing lamination machine is not high, the layout of its components is not tight, and it occupies a large space.
发明内容SUMMARY OF THE INVENTION
本申请主要提供一种叠片机和切叠一体机,以解决叠片机布局不紧促、占地空间大且效率不高的问题。The present application mainly provides a lamination machine and an integrated cutting and stacking machine, so as to solve the problems that the lamination machine is not compact in layout, occupies a large space and is inefficient.
为解决上述技术问题,本申请采用的一个技术方案是:提供一种叠片机。该叠片机包括叠片装置,叠片装置包括:第一运输机构和第二运输机构,其中第一运输机构和第二运输机构分别用于沿第一水平方向运输第一极片和第二极片,且沿垂直于第一水平方向的第二水平方向彼此间隔设置;第一叠片组件和第二叠片组件分别沿第二水平方向间隔设置;第一搬运组件和第二搬运组件设置于第一运输机构和第二运输机构的上方且沿第一水平方向彼此间隔;其中第一搬运组件用于从第一运输机构上搬运第一极片至第一叠片组件和第二叠片组件上,第二搬运组件用于从第二运输机构上搬运第二极片至第一叠片组件和第二叠片组件上,第一叠片组件和第二叠片组件均用于将第一极片、第二极片和隔膜叠片成电芯。In order to solve the above technical problems, a technical solution adopted in the present application is to provide a lamination machine. The stacking machine includes a stacking device, and the stacking device includes: a first transport mechanism and a second transport mechanism, wherein the first transport mechanism and the second transport mechanism are respectively used for transporting the first pole piece and the second pole piece along a first horizontal direction The pole pieces are arranged at intervals along the second horizontal direction perpendicular to the first horizontal direction; the first lamination assembly and the second lamination assembly are respectively arranged at intervals along the second horizontal direction; the first conveying assembly and the second conveying assembly are arranged above the first transport mechanism and the second transport mechanism and spaced apart from each other along the first horizontal direction; wherein the first transport assembly is used for transporting the first pole piece from the first transport mechanism to the first lamination assembly and the second lamination On the assembly, the second conveying assembly is used for conveying the second pole piece from the second transport mechanism to the first lamination assembly and the second lamination assembly, and both the first lamination assembly and the second lamination assembly are used to transport the first The first pole piece, the second pole piece and the diaphragm are laminated to form a battery core.
在一些实施方式中,所述叠片机包括至少一组所述叠片装置,所述叠片装置均沿所述第一水平方向设置,且相邻的所述第一运输机构的运输线彼此连通,相邻的所述第二运输机构的运输线彼此连通。In some embodiments, the lamination machine includes at least one group of the lamination devices, the lamination devices are all arranged along the first horizontal direction, and the transportation lines of the adjacent first transportation mechanisms are mutually In communication, the transport lines of the adjacent second transport mechanisms are communicated with each other.
在一些实施方式中,所述第一叠片组件位于所述第一运输机构远离所述第二运输机构的一侧,所述第二叠片组件位于所述第二运输机构远离所述第一运输机构的一侧;In some embodiments, the first lamination assembly is located on a side of the first transport mechanism away from the second transport mechanism, and the second lamination assembly is located at the second transport mechanism away from the first transport mechanism one side of the transport mechanism;
所述第一叠片组件包括第一极片定位机构、第三极片定位机构、第一叠片台和第一隔膜放卷组件,所述第二叠片组件包括第四极片定位机构、第二极片定位机构、第二叠片台和第二隔膜放卷组件;The first lamination assembly includes a first pole piece positioning mechanism, a third pole piece positioning mechanism, a first lamination stage and a first diaphragm unwinding assembly, and the second lamination assembly includes a fourth pole piece positioning mechanism, The second pole piece positioning mechanism, the second lamination stage and the second diaphragm unwinding assembly;
其中,所述第一极片定位机构和所述第二极片定位机构用于对所述第一极片进行定位纠偏,所述第三极片定位机构和所述第四极片定位机构用于对所述第二极片进行定位纠偏,所述第一隔膜放卷组件和所述第二隔膜放卷组件用于在所述第一极片和所述第二极片之间叠置所述隔膜,所述第一叠片台和所述第二叠片台用于将所述第一极片、所述第二极片和所述隔膜叠片成电芯。Wherein, the first pole piece positioning mechanism and the second pole piece positioning mechanism are used for positioning and correcting deviation of the first pole piece, and the third pole piece positioning mechanism and the fourth pole piece positioning mechanism are used for positioning and correcting deviation of the first pole piece. For positioning and rectifying the second pole piece, the first diaphragm unwinding assembly and the second diaphragm unwinding assembly are used for stacking all the pole pieces between the first pole piece and the second pole piece. The diaphragm, the first lamination stage and the second lamination stage are used for laminating the first pole piece, the second pole piece and the diaphragm into a cell.
在一些实施方式中,所述第一搬运组件将所述第一运输机构上的所述第一极片搬运到所述第一极片定位机构上,并将所述第一极片定位机构上经定位纠偏后的所述第一极片搬运到所述第一叠片台;In some embodiments, the first transport assembly transports the first pole piece on the first transport mechanism to the first pole piece positioning mechanism, and transports the first pole piece positioning mechanism to the first pole piece positioning mechanism The first pole piece after positioning and rectification is transported to the first lamination table;
所述第一搬运组件进一步将所述第一运输机构上的所述第一极片搬运到所述第二极片定位机构,将所述第二极片定位机构上经定位纠偏后的第一极片搬运所述第二叠片台。The first transport assembly further transports the first pole piece on the first transport mechanism to the second pole piece positioning mechanism, and the first pole piece after positioning and rectification on the second pole piece positioning mechanism. The pole pieces carry the second lamination station.
在一些实施方式中,所述第一搬运组件包括:In some embodiments, the first handling assembly includes:
第一拾取机构,用于将所述第一极片定位机构上的第一极片搬运至所述第一叠片台;a first pick-up mechanism for transporting the first pole piece on the first pole piece positioning mechanism to the first lamination stage;
第二拾取机构,用于将所述第一运输机构上的第一极片搬运至所述第一极片定位机构;a second pickup mechanism for transporting the first pole piece on the first transport mechanism to the first pole piece positioning mechanism;
第四拾取机构,用于将所述第一极片搬运至所述第二极片定位机构;a fourth pickup mechanism for transporting the first pole piece to the second pole piece positioning mechanism;
第五拾取机构,用于将所述第二极片定位机构上的第一极片搬运至所述第二叠片台。The fifth pick-up mechanism is used for conveying the first pole piece on the second pole piece positioning mechanism to the second lamination stage.
在一些实施方式中,所述第一拾取机构和所述第二拾取机构由第一驱动机构同步驱动,进而实现对相应的所述第一极片的同步取放;所述第四拾取机构和所述第五拾取机构由第三驱动机构同步驱动,进而实现对相应的所述第一极片的同步取放。In some embodiments, the first pick-up mechanism and the second pick-up mechanism are synchronously driven by a first drive mechanism, thereby realizing synchronous pick-and-place of the corresponding first pole pieces; the fourth pick-up mechanism and The fifth pickup mechanism is synchronously driven by the third drive mechanism, thereby realizing synchronous pickup and placement of the corresponding first pole pieces.
在一些实施方式中,所述叠片装置还包括第一极片缓存机构,所述第一极片缓存机构设置于所述第二运输机构的正上方且位于所述第一叠片组件与所述第二叠片组件之间;In some embodiments, the lamination device further includes a first pole piece buffer mechanism, the first pole piece buffer mechanism is disposed directly above the second transport mechanism and located between the first lamination assembly and the between the second lamination assemblies;
所述第一搬运组件还包括第三拾取机构,所述第三拾取机构由第二驱动机构单独驱动,且所述第三拾取机构用于将所述第一运输机构上的第一极片搬运至所述第一极片缓存机构,所述第四拾取机构用于将所述第一极片缓存机构上的第一极片搬运至所述第二极片定位机构。The first conveying assembly further includes a third pickup mechanism, the third pickup mechanism is independently driven by the second drive mechanism, and the third pickup mechanism is used for conveying the first pole piece on the first transport mechanism To the first pole piece buffer mechanism, the fourth pickup mechanism is used to transport the first pole piece on the first pole piece buffer mechanism to the second pole piece positioning mechanism.
在一些实施方式中,所述第二搬运组件将所述第二运输机构上的所述第二极片搬运到所述第三极片定位机构,再将所述第三极片定位机构上的第二极片搬运所述第一叠片台;In some embodiments, the second transport assembly transports the second pole piece on the second transport mechanism to the third pole piece positioning mechanism, and then transports the second pole piece on the third pole piece positioning mechanism The second pole piece transports the first lamination stage;
所述第二搬运组件进一步将所述第二运输机构上的所述第二极片搬运到所述第四极片定位机构上,并将所述第四极片定位机构上的所述第二极片搬运到所述第二叠片台。The second transport assembly further transports the second pole piece on the second transport mechanism to the fourth pole piece positioning mechanism, and transports the second pole piece on the fourth pole piece positioning mechanism The pole pieces are transported to the second lamination station.
在一些实施方式中,所述第二搬运组件包括:In some embodiments, the second handling assembly includes:
第六拾取机构,用于将所述第四极片定位机构上的第二极片搬运至所述第二叠片台;a sixth pick-up mechanism for transporting the second pole piece on the fourth pole piece positioning mechanism to the second lamination stage;
第七拾取机构,用于将所述第二运输机构上的第二极片搬运至所述第四极片定位机构;a seventh pickup mechanism for transporting the second pole piece on the second transport mechanism to the fourth pole piece positioning mechanism;
第九拾取机构,用于将所述第二极片搬运至所述第三极片定位机构;a ninth pickup mechanism for transporting the second pole piece to the third pole piece positioning mechanism;
第十拾取机构,用于将所述第三极片定位机构上的第二极片搬运至所述第一叠片台。The tenth pick-up mechanism is used for conveying the second pole piece on the third pole piece positioning mechanism to the first lamination stage.
在一些实施方式中,所述第六拾取机构和所述第七拾取机构由第四驱动机构同步驱动,进而实现对相应的所述第二极片的同步取放;所述第九拾取机构和所述第十拾取机构由第六驱动机构同步驱动,进而实现对相应的所述第二极片的同步取放。In some embodiments, the sixth pick-up mechanism and the seventh pick-up mechanism are synchronously driven by a fourth drive mechanism, so as to realize synchronous pick-and-place of the corresponding second pole pieces; the ninth pick-up mechanism and The tenth pick-up mechanism is synchronously driven by the sixth drive mechanism, thereby realizing synchronous pick-and-place of the corresponding second pole pieces.
在一些实施方式中,所述叠片装置还包括第二极片缓存机构,所述第二极片缓存机构设置于所述第一运输机构的正上方且位于所述第一叠片组件与所述第二叠片组件之间;In some embodiments, the lamination device further includes a second pole piece buffer mechanism, the second pole piece buffer mechanism is disposed directly above the first transport mechanism and located between the first lamination assembly and the between the second lamination assemblies;
所述第二搬运组件还包括第八拾取机构,所述第八拾取机构由第五驱动机构单独驱动,且所述第八拾取机构用于将所述第二运输机构上的第二极片搬运至所述第二极片缓存机构,所述第九拾取机构用于将所述第二极片缓存机构上的第二极片搬运至所述第三极片定位机构。The second conveying assembly further includes an eighth pickup mechanism, the eighth pickup mechanism is independently driven by the fifth drive mechanism, and the eighth pickup mechanism is used for conveying the second pole piece on the second transport mechanism To the second pole piece buffer mechanism, the ninth pick-up mechanism is used to transport the second pole piece on the second pole piece buffer mechanism to the third pole piece positioning mechanism.
在一些实施方式中,所述叠片机还包括后处理机构,所述第一叠片组件和所述第二叠片组件的一侧均设置有所述后处理机构,两个所述后处理机构沿所述第二水平方向间隔设置,所述后处理机构包括:In some embodiments, the lamination machine further includes a post-processing mechanism, and one side of the first lamination assembly and the second lamination assembly are both provided with the post-processing mechanism, and two of the post-processing mechanisms are provided. The mechanisms are arranged at intervals along the second horizontal direction, and the post-processing mechanism includes:
切刀组件,用于切断所述电芯上的所述隔膜;a cutter assembly for cutting the diaphragm on the battery core;
贴平胶组件,用于将被切断的所述隔膜粘接至所述电芯;a flattening glue assembly for bonding the cut diaphragm to the battery core;
抓取组件,用于从所述第一叠片组件或所述第二叠片组件上抓取所述电芯。a grabbing assembly for grabbing the battery cell from the first lamination assembly or the second lamination assembly.
在一些实施方式中,所述叠片机还包括后处理机构,所述第一叠片组件和所述第二叠片组件的一侧均设置有所述后处理机构,所述后处理机构包括:In some embodiments, the lamination machine further includes a post-processing mechanism, one side of the first lamination assembly and the second lamination assembly are provided with the post-processing mechanism, and the post-processing mechanism includes :
切刀组件,用于切断所述电芯上的所述隔膜;a cutter assembly for cutting the diaphragm on the battery core;
抓取组件,用于从所述第一叠片组件或所述第二叠片组件上抓取所述电芯;a grabbing assembly for grabbing the battery cell from the first lamination assembly or the second lamination assembly;
贴U形胶组件,所述抓取组件将隔膜被切断的所述电芯搬运至所述贴U形胶组件,所述贴U形胶组件用于将胶带粘接于所述电芯的周侧面和将所述隔膜粘接于所述电芯的周侧面。A U-shaped glue sticking component, the grabbing component transports the battery core with the cut diaphragm to the U-shaped glue sticking component, and the U-shaped glue sticking component is used for bonding the tape to the circumference of the battery core. side surface and the peripheral side surface of the separator to be bonded to the battery core.
在一些实施方式中,所述后处理机构还包括尾卷组件,所述抓取组件将所述电芯搬运至所述尾卷组件,所述尾卷组件用于将隔膜缠绕于所述电芯表面,所述抓取组件再将经尾卷后的所述电芯搬运至所述贴平胶组件或所述贴U形胶组件。In some embodiments, the post-processing mechanism further includes a tail winding assembly, and the grasping assembly transports the battery core to the tail winding assembly, and the tail winding assembly is used for winding the diaphragm on the battery core surface, and the grabbing component then transports the battery core after the tail roll to the flattening glue component or the U-shaped glue sticking component.
在一些实施方式中,所述叠片机还包括电芯下料机构,所述电芯下料机构包括:In some embodiments, the lamination machine further includes a cell blanking mechanism, and the cell blanking mechanism includes:
下料组件;blanking components;
转移组件,沿所述第二水平方向布置且跨设于两个所述抓取组件的上方,用于拾取所述抓取组件所抓取的所述电芯,并将所述电芯输送至所述下料组件。A transfer assembly, arranged along the second horizontal direction and straddling above the two grabbing assemblies, is used for picking up the battery cells captured by the grabbing assemblies and transporting the battery cells to the the blanking component.
在一些实施方式中,所述第一运输机构和所述第二运输机构均包括传送组件和负压系统,所述传送组件上设有多个吸附孔,所述负压系统与所述吸附孔连通,所述负压系统通过所述吸附孔吸附相应的极片,所述传送组件用于输送所述极片。In some embodiments, the first transport mechanism and the second transport mechanism include a conveying assembly and a negative pressure system, the conveying assembly is provided with a plurality of adsorption holes, the negative pressure system and the adsorption holes connected, the negative pressure system adsorbs the corresponding pole pieces through the adsorption holes, and the conveying assembly is used for conveying the pole pieces.
为解决上述技术问题,本申请采用的另一个技术方案是:提供一种切叠一体机。该切叠一体机包括切片机和如上述的叠片机,切片机设置于第一运输机构和第二运输机构沿第一水平方向的一端,切片机用于切制形成第一极片和第二极片,并将第一极片和第二极片分别按设定间距投放至第一运输机构和第二运输机构。In order to solve the above technical problems, another technical solution adopted in the present application is to provide an integrated cutting and stacking machine. The integrated cutting and stacking machine includes a slicing machine and the above-mentioned laminating machine, the slicing machine is arranged at one end of the first transport mechanism and the second transport mechanism along the first horizontal direction, and the slicing machine is used for cutting and forming the first pole piece and the first pole piece and the first pole piece. Diode pieces, and put the first pole piece and the second pole piece into the first transport mechanism and the second transport mechanism respectively according to the set spacing.
本申请的有益效果是:区别于现有技术的情况,本申请公开了一种叠片机和切叠一体机。本申请通过采用第一运输机构和第二运输机构分别运输第一极片和第二极片,可避免在输送过程中混淆第一极片和第二极片;并通过在第一运输机构和第二运输机构的运输线两侧分别设置有第一叠片组件和第二叠片组件,并在第一叠片组件和第二叠片组件沿第一水平方向的两侧分别设置第一搬运机构和第二搬运机构,且第一搬运机构持续从第一运输机构上搬运第一极片至第一叠片组件和第二叠片组件,第二搬运机构持续从第二运输机构上搬运第二极片至第一叠片组件和第二叠片组件,提升了叠片机的叠片效率,且各部件布局紧凑并充分利用第一运输机构和第二运输机构的上方空间,叠片机的整体占地空间小。The beneficial effects of the present application are: different from the situation in the prior art, the present application discloses a stacking machine and an integrated cutting and stacking machine. In the present application, by using the first transport mechanism and the second transport mechanism to transport the first pole piece and the second pole piece respectively, the confusion of the first pole piece and the second pole piece during the transport process can be avoided; A first lamination assembly and a second lamination assembly are respectively disposed on both sides of the conveying line of the second conveying mechanism, and a first conveyance assembly is respectively disposed on both sides of the first lamination assembly and the second lamination assembly along the first horizontal direction. mechanism and a second transport mechanism, and the first transport mechanism continues to transport the first pole piece from the first transport mechanism to the first lamination assembly and the second lamination assembly, and the second transport mechanism continues to transport the first pole piece from the second transport mechanism. From the diodes to the first and second lamination assemblies, the lamination efficiency of the lamination machine is improved, and the layout of each component is compact and the space above the first transport mechanism and the second transport mechanism is fully utilized. The overall footprint is small.
附图说明Description of drawings
为了更清楚地说明本申请实施例或现有技术中的技术方案,下面将对实施例或现有技术描述中所需要使用的附图作简单地介绍,显而易见地,下面描述中的附图仅仅是本申请的一些实施例,对于本领域普通技术人员来讲,在不付出创造性劳动的前提下,还可以根据这些附图获得其他的附图,其中:In order to more clearly illustrate the embodiments of the present application or the technical solutions in the prior art, the following briefly introduces the accompanying drawings required for the description of the embodiments or the prior art. Obviously, the drawings in the following description are only These are some embodiments of the present application. For those of ordinary skill in the art, other drawings can also be obtained from these drawings without creative work, wherein:
图1是本申请提供的叠片机一实施例的结构示意图;1 is a schematic structural diagram of an embodiment of a lamination machine provided by the present application;
图2是图1叠片机的标号示意图;Fig. 2 is the labeling schematic diagram of the lamination machine of Fig. 1;
图3是图1中第一叠片组件、第二叠片组件、第一搬运组件和第二搬运组件的结构示意图;FIG. 3 is a schematic structural diagram of the first lamination assembly, the second lamination assembly, the first conveying assembly and the second conveying assembly in FIG. 1;
图4是本申请提供的切叠一体机一实施例的结构示意图。FIG. 4 is a schematic structural diagram of an embodiment of the integrated cutting and stacking machine provided by the present application.
具体实施方式Detailed ways
下面将结合本申请实施例中的附图,对本申请实施例中的技术方案进行清楚、完整地描述,显然,所描述的实施例仅是本申请的一部分实施例,而不是全部的实施例。基于本申请中的实施例,本领域普通技术人员在没有做出创造性劳动前提下所获得的所有其他实施例,都属于本申请保护的范围。The technical solutions in the embodiments of the present application will be clearly and completely described below with reference to the drawings in the embodiments of the present application. Obviously, the described embodiments are only a part of the embodiments of the present application, but not all of the embodiments. Based on the embodiments in the present application, all other embodiments obtained by those of ordinary skill in the art without creative efforts shall fall within the protection scope of the present application.
本申请实施例中的术语“第一”、“第二”、“第三”仅用于描述目的,而不能理解为指示或暗示相对重要性或者隐含指明所指示的技术特征的数量。由此,限定有“第一”、“第二”、“第三”的特征可以明示或者隐含地包括至少一个该特征。本申请的描述中,“多个”的含义是至少两个,例如两个,三个等,除非另有明确具体的限定。此外,术语“包括”和“具有”以及它们任何变形,意图在于覆盖不排他的包含。例如包含了一系列步骤或单元的过程、方法、系统、产品或设备没有限定于已列出的步骤或单元,而是可选地还包括没有列出的步骤或单元,或可选地还包括对于这些过程、方法、产品或设备固有的其他步骤或单元。The terms "first", "second" and "third" in the embodiments of the present application are only used for description purposes, and cannot be understood as indicating or implying relative importance or implicitly indicating the number of indicated technical features. Thus, a feature defined as "first", "second", "third" may expressly or implicitly include at least one of that feature. In the description of the present application, "a plurality of" means at least two, such as two, three, etc., unless otherwise expressly and specifically defined. Furthermore, the terms "comprising" and "having" and any variations thereof are intended to cover non-exclusive inclusion. For example, a process, method, system, product or device comprising a series of steps or units is not limited to the listed steps or units, but optionally also includes unlisted steps or units, or optionally also includes For other steps or units inherent to these processes, methods, products or devices.
在本文中提及“实施例”意味着,结合实施例描述的特定特征、结构或特性可以包含在本申请的至少一个实施例中。在说明书中的各个位置出现该短语并不一定均是指相同的实施例,也不是与其他实施例互斥的独立的或备选的实施例。本领域技术人员显式地和隐式地理解的是,本文所描述的实施例可以与其他实施例相结合。Reference herein to an "embodiment" means that a particular feature, structure, or characteristic described in connection with the embodiment can be included in at least one embodiment of the present application. The appearance of the phrase in various places in the specification is not necessarily all referring to the same embodiment, nor is it a separate or alternative embodiment that is mutually exclusive with other embodiments. It is explicitly and implicitly understood by those skilled in the art that the embodiments described herein may be combined with other embodiments.
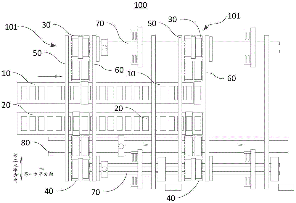
本申请提供一种叠片机100,参阅图1和图2,图1是本申请提供的叠片机一实施例的结构示意图,图2是图1叠片机的标号示意图。The present application provides a
该叠片机100包括叠片装置101,叠片装置101包括第一运输机构10、第二运输机构20、第一叠片组件30、第二叠片组件40、第一搬运组件50和第二搬运组件60。The stacking
其中,第一运输机构10和第二运输机构20分别用于沿第一水平方向运输第一极片和第二极片,且沿垂直于第一水平方向的第二水平方向彼此间隔设置。第一叠片组件30和第二叠片组件40分别沿第二水平方向间隔设置,且第一叠片组件30位于第一运输机构10远离第二运输机构20的一侧,第二叠片组件40位于第二运输机构20远离第一运输机构10的一侧。第一搬运组件50和第二搬运组件60设置于第一运输机构10和第二运输机构20的上方且沿第一水平方向彼此间隔,且第一搬运组件50与第二搬运组件60分别位于第一叠片组件30和第二叠片组件40的两对侧。Wherein, the
第一搬运组件50用于从第一运输机构10上搬运第一极片至第一叠片组件30和第二叠片组件40,第二搬运组件60用于从第二运输机构20上搬运第二极片至第一叠片组件30和第二叠片组件40上,第一叠片组件30和第二叠片组件40均用于将第一极片、第二极片和隔膜叠片成电芯。The
其中,第一极片是阳极片,第二极片是阴极片;或者第一极片是阴极片,第二极片是阳极片。Wherein, the first pole piece is an anode piece, and the second pole piece is a cathode piece; or the first pole piece is a cathode piece, and the second pole piece is an anode piece.
第一搬运组件50和第二搬运组件60同时协作搬运,并持续从第一运输机构10和第二运输机构20上搬运第一极片和第二极片至第一叠片组件30和第二叠片组件40,有利于提高叠片机100的叠片效率。The
在一种实施方式中,一组叠片装置101中,沿第一运输机构10和第二运输机构20的运输线上设置有至少一组“第一叠片组件30、第二叠片组件40、第一搬运组件50和第二搬运组件60”,多组“第一叠片组件30、第二叠片组件40、第一搬运组件50和第二搬运组件60”设置于第一运输机构10和第二运输机构20沿线,则进一步有利于提高叠片机100的叠片效率。In one embodiment, in a set of
在另一实施方式中,叠片机100包括至少一组叠片装置101,叠片装置101均沿第一水平方向的运输线设置,且相邻的第一运输机构10的运输线彼此连通,相邻的第二运输机构20的运输线彼此连通,即多组第一运输机构10沿运输线前后设置,前一个第一运输机构10可以将第一极片输送至后一个第一运输机构10上,第一运输机构10的输送速度自行调整,以使得其上输送的第一极片在被第一搬运组件50拾取时与第一叠片组件30和第二叠片组件40对齐,有利于提高拾取效率。In another embodiment, the
本实施例中,叠片机100包括两组叠片装置101,两组叠片装置101均沿第一水平方向的运输线设置,相邻的两个第一运输机构10运输第一极片,一部分第一极片被前一组叠片装置101所使用消耗,另一部分第一极片被后一组叠片装置101所使用消耗;相邻的两个第二运输机构10运输第二极片,同样一部分第二极片被前一组叠片装置101所使用消耗,另一部分第二极片被后一组叠片装置101所使用消耗。In this embodiment, the
本申请实施例通过采用第一搬运机构10和第二搬运机构20分别运输第一极片和第二极片,可避免在输送过程中混淆第一极片和第二极片;并通过在第一运输机构10和第二运输机构20的运输线两侧分别设置有第一叠片组件30和第二叠片组件40,并在第一叠片组件30和第二叠片组件40两侧分别设置第一搬运机构50和第二搬运机构60,且第一搬运机构50持续从第一运输机构10上搬运第一极片至第一叠片组件30和第二叠片组件40,第二搬运机构60持续从第二运输机构20上搬运第二极片至第一叠片组件30和第二叠片组件40,提升了叠片机100的叠片效率,且各部件布局紧凑,叠片机100的整体占地空间小。In the embodiment of the present application, by using the first conveying
本实施例中,第一运输机构10和第二运输机构20均包括传送组件和负压系统,传送组件上设有多个吸附孔,负压系统与吸附孔连通,负压系统通过吸附孔吸附相应的极片,传送组件用于输送极片,该极片可以是第一极片或第二极片。In this embodiment, the
具体地,传送组件包括吸附平台和传送带,传送带上设有多个吸附孔,且传送带沿吸附平台向第一水平方向传送,负压系统设置于吸附平台内部且与吸附平台连通,进而可将第一极片和第二极片持续吸附于传送带上。Specifically, the conveying assembly includes an adsorption platform and a conveyor belt. The conveyor belt is provided with a plurality of adsorption holes, and the conveyor belt is conveyed along the adsorption platform to the first horizontal direction. The negative pressure system is arranged inside the adsorption platform and communicated with the adsorption platform, so that the first A pole piece and a second pole piece are continuously adsorbed on the conveyor belt.
如图2所示,第一叠片组件30包括第一极片定位机构31、第三极片定位机构32、第一叠片台33、第一隔膜放卷组件34。As shown in FIG. 2 , the
第二叠片组件40包括第四极片定位机构41、第二极片定位机构42、第二叠片台43、第二隔膜放卷组件44。The
其中,第一极片定位机构31和第二极片定位机构42用于对第一极片进行定位纠偏以调整第一极片的位置,第三极片定位机构32和第四极片定位机构41用于对第二极片进行定位纠偏以调整第二极片的位置,第一隔膜放卷组件34和第二隔膜放卷组件44用于在第一极片和第二极片之间叠置隔膜,第一叠片台33和第二叠片台43用于将第一极片、第二极片和隔膜叠片成电芯。Among them, the first pole piece positioning mechanism 31 and the second pole piece positioning mechanism 42 are used to position and correct the first pole piece to adjust the position of the first pole piece, and the third pole piece positioning mechanism 32 and the fourth pole piece positioning mechanism 41 is used to position and correct the second pole piece to adjust the position of the second pole piece, and the first diaphragm unwinding assembly 34 and the second diaphragm unwinding assembly 44 are used for stacking between the first pole piece and the second pole piece The diaphragm is placed, and the first lamination stage 33 and the second lamination stage 43 are used for laminating the first pole piece, the second pole piece and the diaphragm into a cell.
其中,上述工艺中的定位纠偏和叠片可同步进行,有利于提高叠片机100的叠片效率。Wherein, the positioning correction and lamination in the above process can be performed simultaneously, which is beneficial to improve lamination efficiency of the
进一步,叠片装置101还包括第一极片缓存机构45和第二极片缓存机构35,第一极片缓存机构45设置于第二运输机构20的正上方且位于第一叠片组件30与第二叠片组件40之间,第二极片缓存机构35设置于第一运输机构10的正上方且位于第一叠片组件30与第二叠片组件40之间,进一步地节省了叠片机100的占地空间。Further, the
第一搬运组件30将第一运输机构10上的第一极片搬运到第一极片定位机构31上,并将第一极片定位机构31上经定位纠偏后的第一极片搬运到第一叠片台33台。其中,搬运第一极片至第一极片定位机构31和搬运第一极片至第一叠片台33的工序同步进行,进而可提高叠片机100中搬运第一极片的搬运效率,进而有利于提高叠片机100的工作效率。The
第一搬运组件30进一步将第一运输机构10上的第一极片搬运到第一极片缓存机构45、将第一极片缓存机构45上的第一极片搬运到第二极片定位机构42,将第二极片定位机构42上经定位纠偏后的第一极片搬运第二叠片台43。其中,搬运第一极片至第一极片缓存机构45、搬运第一极片至第二极片定位机构42和搬运第一极片至第二叠片台43的工序同步进行,进而可提高叠片机100中搬运第一极片的搬运效率,进而有利于提高叠片机100的工作效率。The
具体地,如图3所示,第一搬运组件50包括第一拾取机构51、第二拾取机构52、第三拾取机构53、第四拾取机构54和第五拾取机构55。Specifically, as shown in FIG. 3 , the
参阅图3和图4,第一拾取机构51用于将第一极片定位机构31上的第一极片搬运至第一叠片台33,第二拾取机构52用于将第一运输机构10上的第一极片搬运至第一极片定位机构31,第三拾取机构53用于将第一运输机构10上的第一极片搬运至第一极片缓存机构45,第四拾取机构54用于将第一极片缓存机构45上的第一极片搬运至第二极片定位机构42,第五拾取机构55用于将第二极片定位机构42上的第一极片搬运至第二叠片台43。Referring to FIGS. 3 and 4 , the
本实施例中,第一拾取机构51和第二拾取机构52由第一驱动机构同步驱动,进而实现对相应的第一极片的同步取放;第三拾取机构53由第二驱动机构单独驱动;第四拾取机构54和第五拾取机构55由第三驱动机构同步驱动,进而实现对相应的第一极片的同步取放。In this embodiment, the first pick-up
或者,第一拾取机构51、第二拾取机构52、第四拾取机构54和第五拾取机构55由同一驱动机构同步驱动,第三拾取机构53由另一驱动机构单独驱动。Alternatively, the
具体地,第二拾取机构52拾取第一运输机构10上的第一极片时,第一拾取机构51拾取第一极片定位机构31上的第一极片,第三拾取机构53将自第一运输机构10上拾取的第一极片释放至第一极片缓存机构45,第四拾取机构54将自第一极片缓存机构45上拾取的第一极片释放至第二极片定位机构42,第五拾取机构55将自第二极片定位机构42上拾取的第一极片释放至第二叠片台43。Specifically, when the second pick-up
之后,第二拾取机构52搬运并释放第一极片至第一极片定位机构31,第一拾取机构51搬运第一极片并释放至第一叠片台33,第三拾取机构53空载运动至第一运输机构10并拾取第一运输机构10上的第一极片,第四拾取机构54空载运动至第一极片缓存机构45并拾取其上的第一极片,第五拾取机构55空载运动至第二极片定位机构42并拾取其上的第一极片。After that, the
之后,第二拾取机构52空载返回至第一运输机构10并拾取其上的第一极片,第一拾取机构51空载返回至第一极片定位机构31并拾取其上的第一极片,第三拾取机构53搬运并释放第一极片至第一极片缓存机构45,第四拾取机构54搬运并释放第一极片至第二极片定位机构42,第五拾取机构55搬运并释放第一极片至第二叠片台43。After that, the second pick-up
上述为第一搬运组件50搬运第一极片至第一叠片组件30和第二叠片组件40上的一次循环过程,可见第一搬运组件50在一次搬运过程中可搬运第一极片分别运输至第一叠片组件30和第二叠片组件40,极大地有利于提高叠片机100的工作效率。The above is a cycle process of the
继续参图3和图4,第二搬运组件60将第二运输机构20上的第二极片搬运到第二极片缓存机构35、将第二极片缓存机构35上的第二极片搬运到第三极片定位机构32,将第三极片定位机构32上的第二极片搬运第一叠片台33。其中,搬运第二极片至第二极片缓存机构35、搬运第二极片至第三极片定位机构32和搬运第二极片至第一叠片台33的工序同步进行,进而可提高叠片机100的效率。Continuing to refer to FIGS. 3 and 4 , the
第二搬运组件60将第二运输机构20上的第二极片搬运到第四极片定位机构41上,并将第四极片定位机构41上的第二极片搬运到第二叠片台43。其中,搬运第二极片至第四极片定位机构41和搬运第二极片至第二叠片台43的工序同步进行,进而可提高叠片机100的效率。The
具体地,第二搬运组件60包括第六拾取机构61、第七拾取机构62、第八拾取机构63、第九拾取机构64和第十拾取机构65。Specifically, the
第六拾取机构61用于将第四极片定位机构上41的第二极片搬运至第二叠片台43,第七拾取机构62用于将第二运输机构20上的第二极片搬运至第四极片定位机构41,第八拾取机构63用于将第二运输机构20上的第二极片搬运至第二极片缓存机构35,第九拾取机构64用于将第二极片缓存机构35上的第二极片搬运至第三极片定位机构32,第十拾取机构65用于将第三极片定位机构32上的第二极片搬运至第一叠片台33。The sixth pick-up
本实施例中,第六拾取机构61和第七拾取机构62由第四驱动机构同步驱动,进而实现对相应的第二极片的同步取放;第八拾取机构63由第五驱动机构单独驱动;第九拾取机构64和第十拾取机构65由第六驱动机构同步驱动,进而实现对相应的第二极片的同步取放。In this embodiment, the sixth pick-up
或者,第六拾取机构61、第七拾取机构62、第九拾取机构64和第十拾取机构65由同一驱动机构同步驱动,第八拾取机构63由另一驱动机构单独驱动。Alternatively, the
具体地,第七拾取机构62拾取第二运输机构20上的第二极片时,第六拾取机构61拾取第四极片定位机构上41上的第二极片,第八拾取机构63将自第二运输机构20上拾取的第二极片释放至第二极片缓存机构35,第九拾取机构64将自第二极片缓存机构35上拾取的第二极片释放至第三极片定位机构32,第十拾取机构65将自第三极片定位机构32上拾取的第二极片释放至第一叠片台33。Specifically, when the seventh pick-up
之后,第七拾取机构62搬运并释放第二极片至第四极片定位机构41,第六拾取机构61搬运第二极片并释放至第二叠片台43,第八拾取机构63空载运动至第二运输机构20并拾取第二运输机构20上的第二极片,第九拾取机构64空载运动至第二极片缓存机构35并拾取其上的第二极片,第十拾取机构65空载运动至第三极片定位机构32并拾取其上的第二极片。After that, the
之后,第七拾取机构62空载返回至第二运输机构20并拾取其上的第二极片,第六拾取机构61空载返回至第四极片定位机构41并拾取其上的第二极片,第八拾取机构63搬运并释放第二极片至第二极片缓存机构35,第九拾取机构64搬运并释放第二极片至第三极片定位机构32,第十拾取机构65搬运并释放第二极片至第一叠片台33。After that, the seventh pick-up
上述为第二搬运组件60搬运第二极片至第一叠片组件30和第二叠片组件40上的一次循环过程,可见第二搬运组件60在一次搬运过程中可搬运第二极片分别运输至第一叠片组件30和第二叠片组件40,极大地有利于提高叠片机100的效率。The above is a cycle process of the
在第一运输机构10和第二运输机构20分别运输第一极片和第二极片的同时,第一搬运组件50和第二搬运组件60同时分别执行搬运第一极片和第二极片的动作,且在这个过程中还伴随有第一极片和第二极片的定位纠偏和叠片,整体而言,极大地提高了叠片机100的工作效率。While the
进一步地,如图2所示,叠片机100还包括后处理机构70,第一叠片组件30和第二叠片组件40的一侧均设置有后处理机构70,两个后处理机构70沿第二水平方向间隔设置,且后处理机构70还沿第一运输机构10和第二运输机构20的运输线设置。Further, as shown in FIG. 2 , the stacking
本实施例中,沿运输线布置的两个第一叠片组件30共用一组后处理机构70,两个第二叠片组件40共用另一组后处理机构70,后处理机构70用于处理第一叠片组件30或第二叠片组件40上的电芯并将电芯运输到下一工序。In this embodiment, the two
后处理机构70包括切刀组件75、贴平胶组件71和抓取组件72,切刀组件75用于切断电芯上的隔膜,贴平胶组件71用于将被切断的隔膜粘接至电芯上,以避免隔膜脱离电芯;抓取组件72用于从第一叠片组件30或第二叠片组件40上抓取电芯并搬运电芯至下一工序,即抓取组件72用于从第一叠片台33或第二叠片台43上抓取电芯。其中,抓取组件72可采用丝杠螺母组件驱动,以使得抓取组件72能够搬运电芯运动。The
后处理机构70还可包括贴U形胶组件74,抓取组件72将隔膜被切断的电芯搬运至贴U形胶组件74处,贴U形胶组件74用于将胶带粘接于电芯的周侧面和将隔膜粘接于电芯的周侧面,在电芯表面形成U形胶。The
后处理机构70还可包括尾卷组件73,抓取组件72将电芯搬运至尾卷组件73,尾卷组件73用于将隔膜缠绕于电芯表面。具体地,尾卷组件73带动电芯旋转,使得隔膜卷绕于电芯表面,抓取组件72将尾卷好的电芯再输送至贴平胶组件71和/或贴U形胶组件74,抓取组件72再将经贴平胶处理或/和贴U形胶处理后的电芯搬运至下一工序。The
后处理机构70的一次工作过程为:抓取组件72抓取电芯,并将隔膜牵引一段距离,切刀组件75切断第一隔膜放卷组件34或第二隔膜放卷组件44与电芯之间的隔膜,抓取组件72再将电芯运输至尾卷组件73,尾卷组件73带动电芯旋转以将隔膜卷绕于电芯表面进行尾卷,之后抓取组件72将尾卷好的电芯再输送至贴平胶组件71,以对隔膜进行贴平胶,之后抓取组件72再搬运电芯至下一工序;或者,电芯在尾卷后,抓取组件72将电芯搬运至贴U形胶组件74,电芯经贴U形胶后再被搬运至贴平胶组件71,之后抓取组件72再搬运电芯至下一工序;又或者,电芯在尾卷后,抓取组件72将电芯搬运至贴U形胶组件74,电芯经贴U形胶后,抓取组件72再搬运电芯至下一工序。A working process of the
进一步地,叠片机100还包括电芯下料机构80,电芯下料机构80包括下料组件81和转移组件82,下料组件81设置于抓取组件72与第一运输机构10或第二运输机构20之间,下料组件81用于将经后处理的电芯输送至下一工序;转移组件82沿第二水平方向布置且跨设于两个抓取组件72的上方,用于拾取沿第二水平方向间隔设置的两个抓取组件72所抓取的电芯,并将该电芯输送至下料组件81。Further, the stacking
进一步地,转移组件82还用于在第一叠片组件30所在一侧的后处理机构70和第二叠片组件40所在一侧的后处理机构70之间转运电芯,从而两后处理机构70可共用部分功能部件,例如该两后处理机构70共用同一贴U形胶组件74或尾卷组件73等。Further, the transfer assembly 82 is also used to transfer the cells between the
如图2所示,一侧的后处理机构70包括贴U形胶组件74,另一侧的后处理机构70不包括贴U形胶组件74,转移组件82从另一侧后处理机构70的抓取组件72上拾取电芯并转运至该贴U形胶组件74进行贴U形胶处理。As shown in FIG. 2 , the
转移组件82还可用于拾取抓取组件72所抓取的电芯并对电芯的位姿进行调整,之后将调整位姿后的电芯搬运至贴U形胶组件74。The transfer assembly 82 can also be used to pick up the battery cells grasped by the grasping component 72 and adjust the posture of the battery cells, and then transport the battery cells whose postures are adjusted to the U-shaped glue sticking component 74 .
进一步地,参阅图4,本申请还提供一种切叠一体机300,切叠一体机300包括切片机200和如上述的叠片机100,切片机200设置于第一运输机构10和第二运输机构20沿第一水平方向的一端,切片机200用于切制形成第一极片和第二极片,并将第一极片和第二极片分别按设定间距投放至第一运输机构10和第二运输机构20,以便于第一极片和第二极片与第一叠片组件30和第二叠片组件40均匀对位,进而降低拾取第一极片和第二极片的难度,叠片机100将第一极片和第二极片叠片成电芯并输送到下一工序。Further, referring to FIG. 4 , the present application also provides an integrated cutting and stacking
区别于现有技术的情况,本申请公开了一种叠片机和切叠一体机。本申请通过采用第一搬运机构和第二搬运机构分别运输第一极片和第二极片,可避免在输送过程中混淆第一极片和第二极片;并通过在第一运输机构和第二运输机构的运输线两侧分别设置有第一叠片组件和第二叠片组件,并在第一叠片组件和第二叠片组件沿第一水平方向的两侧分别设置第一搬运机构和第二搬运机构,且第一搬运机构持续从第一运输机构上搬运第一极片至第一叠片组件和第二叠片组件,第二搬运机构持续从第二运输机构上搬运第二极片至第一叠片组件和第二叠片组件,提升了叠片机100的叠片效率,且各部件布局紧凑并充分利用第一运输机构和第二运输机构的上方空间,叠片机的整体占地空间小。Different from the situation in the prior art, the present application discloses a lamination machine and an integrated cutting and stacking machine. In the present application, by using the first conveying mechanism and the second conveying mechanism to transport the first pole piece and the second pole piece respectively, the confusion of the first pole piece and the second pole piece during the conveying process can be avoided; A first lamination assembly and a second lamination assembly are respectively disposed on both sides of the conveying line of the second conveying mechanism, and a first conveyance assembly is respectively disposed on both sides of the first lamination assembly and the second lamination assembly along the first horizontal direction. mechanism and a second transport mechanism, and the first transport mechanism continues to transport the first pole piece from the first transport mechanism to the first lamination assembly and the second lamination assembly, and the second transport mechanism continues to transport the first pole piece from the second transport mechanism. The diode sheets are connected to the first lamination assembly and the second lamination assembly, which improves the lamination efficiency of the
以上所述仅为本申请的实施例,并非因此限制本申请的专利范围,凡是利用本申请说明书及附图内容所作的等效结构或等效流程变换,或直接或间接运用在其他相关的技术领域,均同理包括在本申请的专利保护范围内。The above are only the embodiments of the present application, and are not intended to limit the scope of the patent of the present application. Any equivalent structure or equivalent process transformation made by using the contents of the description and drawings of the present application, or directly or indirectly applied to other related technologies Fields are similarly included within the scope of patent protection of this application.
Claims (17)
Priority Applications (1)
| Application Number | Priority Date | Filing Date | Title |
|---|---|---|---|
| CN201911096874.0A CN110783617B (en) | 2019-11-11 | 2019-11-11 | Laminating machine and cutting and stacking machine |
Applications Claiming Priority (1)
| Application Number | Priority Date | Filing Date | Title |
|---|---|---|---|
| CN201911096874.0A CN110783617B (en) | 2019-11-11 | 2019-11-11 | Laminating machine and cutting and stacking machine |
Publications (2)
| Publication Number | Publication Date |
|---|---|
| CN110783617A true CN110783617A (en) | 2020-02-11 |
| CN110783617B CN110783617B (en) | 2025-07-04 |
Family
ID=69391674
Family Applications (1)
| Application Number | Title | Priority Date | Filing Date |
|---|---|---|---|
| CN201911096874.0A Active CN110783617B (en) | 2019-11-11 | 2019-11-11 | Laminating machine and cutting and stacking machine |
Country Status (1)
| Country | Link |
|---|---|
| CN (1) | CN110783617B (en) |
Cited By (1)
| Publication number | Priority date | Publication date | Assignee | Title |
|---|---|---|---|---|
| CN113113656A (en) * | 2021-04-12 | 2021-07-13 | 东莞市佳兴自动化设备科技有限公司 | Interactive feeding type power battery cutting and stacking all-in-one machine and battery cell cutting, stacking and forming method |
Citations (7)
| Publication number | Priority date | Publication date | Assignee | Title |
|---|---|---|---|---|
| WO2011085654A1 (en) * | 2010-01-18 | 2011-07-21 | 深圳市吉阳自动化科技有限公司 | Preparing method and preparation system for cell core of lithium ion battery |
| CN206915302U (en) * | 2017-03-13 | 2018-01-23 | 广东亿鑫丰智能装备股份有限公司 | A kind of pole piece charging equipment |
| CN208014839U (en) * | 2018-02-28 | 2018-10-26 | 深圳市格林晟科技有限公司 | A kind of Full-automatic lithium battery battery cuts folding integrated machine |
| CN109449503A (en) * | 2018-12-18 | 2019-03-08 | 深圳吉阳智能科技有限公司 | A kind of Z-type lamination device and battery core production system |
| CN109638359A (en) * | 2018-12-12 | 2019-04-16 | 广东新宇智能装备有限公司 | A kind of integrally formed technique of cross cutting lamination |
| CN110040513A (en) * | 2019-04-26 | 2019-07-23 | 东莞市佳的自动化设备科技有限公司 | Pole piece caches time positioning device and lithium battery pole slice laminating machine |
| CN211125858U (en) * | 2019-11-11 | 2020-07-28 | 无锡先导智能装备股份有限公司 | Lamination machine and cutting and stacking integrated machine |
-
2019
- 2019-11-11 CN CN201911096874.0A patent/CN110783617B/en active Active
Patent Citations (7)
| Publication number | Priority date | Publication date | Assignee | Title |
|---|---|---|---|---|
| WO2011085654A1 (en) * | 2010-01-18 | 2011-07-21 | 深圳市吉阳自动化科技有限公司 | Preparing method and preparation system for cell core of lithium ion battery |
| CN206915302U (en) * | 2017-03-13 | 2018-01-23 | 广东亿鑫丰智能装备股份有限公司 | A kind of pole piece charging equipment |
| CN208014839U (en) * | 2018-02-28 | 2018-10-26 | 深圳市格林晟科技有限公司 | A kind of Full-automatic lithium battery battery cuts folding integrated machine |
| CN109638359A (en) * | 2018-12-12 | 2019-04-16 | 广东新宇智能装备有限公司 | A kind of integrally formed technique of cross cutting lamination |
| CN109449503A (en) * | 2018-12-18 | 2019-03-08 | 深圳吉阳智能科技有限公司 | A kind of Z-type lamination device and battery core production system |
| CN110040513A (en) * | 2019-04-26 | 2019-07-23 | 东莞市佳的自动化设备科技有限公司 | Pole piece caches time positioning device and lithium battery pole slice laminating machine |
| CN211125858U (en) * | 2019-11-11 | 2020-07-28 | 无锡先导智能装备股份有限公司 | Lamination machine and cutting and stacking integrated machine |
Cited By (2)
| Publication number | Priority date | Publication date | Assignee | Title |
|---|---|---|---|---|
| CN113113656A (en) * | 2021-04-12 | 2021-07-13 | 东莞市佳兴自动化设备科技有限公司 | Interactive feeding type power battery cutting and stacking all-in-one machine and battery cell cutting, stacking and forming method |
| CN113113656B (en) * | 2021-04-12 | 2022-07-19 | 东莞市佳兴自动化设备科技有限公司 | Interactive feeding type power battery cutting and stacking all-in-one machine and battery cell cutting, stacking and forming method |
Also Published As
| Publication number | Publication date |
|---|---|
| CN110783617B (en) | 2025-07-04 |
Similar Documents
| Publication | Publication Date | Title |
|---|---|---|
| CN104241700B (en) | Laminated cell preparation device | |
| TWI572491B (en) | Laminated system | |
| CN110380132A (en) | Die cutting and laminating integrated equipment for lithium battery pole piece | |
| CN103700889B (en) | Laminating machine and laminating method thereof | |
| WO2022033022A1 (en) | Lithium battery cell multi-sheet lamination apparatus and lamination method | |
| CN210052801U (en) | Lamination equipment | |
| CN210467996U (en) | Laminated cell production system | |
| CN109014684B (en) | Conveyor belt, conveyor and stringer | |
| CN104321919A (en) | Lamination system | |
| CN103700888A (en) | Laminator and lamination method thereof | |
| CN115172640A (en) | Multi-station pole piece cutting and stacking equipment | |
| CN115295887A (en) | Battery core lamination process, battery core lamination device and battery core | |
| CN115020823A (en) | Battery core lamination device and battery core production line | |
| CN110783617A (en) | Lamination machine and cutting and stacking integrated machine | |
| CN211125858U (en) | Lamination machine and cutting and stacking integrated machine | |
| CN117276625A (en) | Multi-piece lamination all-in-one machine | |
| WO2019159542A1 (en) | Laminated electrode body manufacturing device | |
| CN209526176U (en) | A laminated cell forming system | |
| CN217371331U (en) | Battery series welding equipment | |
| CN209691771U (en) | A kind of laminating equipment | |
| CN217426821U (en) | Battery core lamination processing device and battery core production equipment | |
| CN210074074U (en) | Die cutting and laminating integrated equipment for lithium battery pole piece | |
| CN206747826U (en) | Middle plate line production line | |
| CN114770118A (en) | A kind of battery string welding equipment and welding method | |
| CN219350289U (en) | High-speed cutting and stacking integrated machine |
Legal Events
| Date | Code | Title | Description |
|---|---|---|---|
| PB01 | Publication | ||
| PB01 | Publication | ||
| SE01 | Entry into force of request for substantive examination | ||
| SE01 | Entry into force of request for substantive examination | ||
| GR01 | Patent grant | ||
| GR01 | Patent grant |
