CN110724552B - Method and system for catalytic cracking by adopting fast fluidized bed and turbulent fluidized bed - Google Patents

Method and system for catalytic cracking by adopting fast fluidized bed and turbulent fluidized bed Download PDF

Info

Publication number
CN110724552B
CN110724552B CN201810779818.6A CN201810779818A CN110724552B CN 110724552 B CN110724552 B CN 110724552B CN 201810779818 A CN201810779818 A CN 201810779818A CN 110724552 B CN110724552 B CN 110724552B
Authority
CN
China
Prior art keywords
fluidized bed
catalyst
oil
catalytic cracking
reaction
Prior art date
Legal status (The legal status is an assumption and is not a legal conclusion. Google has not performed a legal analysis and makes no representation as to the accuracy of the status listed.)
Active
Application number
CN201810779818.6A
Other languages
Chinese (zh)
Other versions
CN110724552A (en
Inventor
龚剑洪
张执刚
魏晓丽
常学良
Current Assignee (The listed assignees may be inaccurate. Google has not performed a legal analysis and makes no representation or warranty as to the accuracy of the list.)
Sinopec Research Institute of Petroleum Processing
China Petroleum and Chemical Corp
Original Assignee
Sinopec Research Institute of Petroleum Processing
China Petroleum and Chemical Corp
Priority date (The priority date is an assumption and is not a legal conclusion. Google has not performed a legal analysis and makes no representation as to the accuracy of the date listed.)
Filing date
Publication date
Application filed by Sinopec Research Institute of Petroleum Processing , China Petroleum and Chemical Corp filed Critical Sinopec Research Institute of Petroleum Processing
Priority to CN201810779818.6A priority Critical patent/CN110724552B/en
Publication of CN110724552A publication Critical patent/CN110724552A/en
Application granted granted Critical
Publication of CN110724552B publication Critical patent/CN110724552B/en
Active legal-status Critical Current
Anticipated expiration legal-status Critical

Links

Images

Classifications

    • CCHEMISTRY; METALLURGY
    • C10PETROLEUM, GAS OR COKE INDUSTRIES; TECHNICAL GASES CONTAINING CARBON MONOXIDE; FUELS; LUBRICANTS; PEAT
    • C10GCRACKING HYDROCARBON OILS; PRODUCTION OF LIQUID HYDROCARBON MIXTURES, e.g. BY DESTRUCTIVE HYDROGENATION, OLIGOMERISATION, POLYMERISATION; RECOVERY OF HYDROCARBON OILS FROM OIL-SHALE, OIL-SAND, OR GASES; REFINING MIXTURES MAINLY CONSISTING OF HYDROCARBONS; REFORMING OF NAPHTHA; MINERAL WAXES
    • C10G11/00Catalytic cracking, in the absence of hydrogen, of hydrocarbon oils
    • C10G11/14Catalytic cracking, in the absence of hydrogen, of hydrocarbon oils with preheated moving solid catalysts
    • C10G11/18Catalytic cracking, in the absence of hydrogen, of hydrocarbon oils with preheated moving solid catalysts according to the "fluidised-bed" technique

Landscapes

  • Chemical & Material Sciences (AREA)
  • Oil, Petroleum & Natural Gas (AREA)
  • Engineering & Computer Science (AREA)
  • Chemical Kinetics & Catalysis (AREA)
  • General Chemical & Material Sciences (AREA)
  • Organic Chemistry (AREA)
  • Production Of Liquid Hydrocarbon Mixture For Refining Petroleum (AREA)

Abstract

本发明涉及一种采用快速流化床和湍流流化床进行催化裂解的方法和系统,该方法包括:将预热的劣质重油从快速流化床的下部引入快速流化床中与催化裂解催化剂接触并由下至上进行第一催化裂解反应,得到第一反应产物和半待生催化剂;将所得第一反应产物和半待生催化剂引入湍流流化床的底部与补充的第二催化裂解催化剂接触并由下至上进行第二催化裂解反应,得到第二反应产物和待生催化剂;将所得第二反应产物进行分离,得到干气、液化气、裂解汽油、裂解柴油和裂解重油。本发明方法和系统进行催化裂解的干气和焦炭产率低,产品分布好。

Figure 201810779818

The invention relates to a method and system for catalytic cracking by adopting a fast fluidized bed and a turbulent fluidized bed. The method comprises: introducing preheated inferior heavy oil from the lower part of the fast fluidized bed into the fast fluidized bed and reacting with a catalytic cracking catalyst Contact and carry out the first catalytic cracking reaction from bottom to top to obtain the first reaction product and the semi-prepared catalyst; introduce the obtained first reaction product and semi-existing catalyst into the bottom of the turbulent fluidized bed and contact with the supplemented second catalytic cracking catalyst The second catalytic cracking reaction is carried out from bottom to top to obtain the second reaction product and the catalyst to be produced; the obtained second reaction product is separated to obtain dry gas, liquefied gas, pyrolysis gasoline, pyrolysis diesel oil and pyrolysis heavy oil. The method and system of the invention have low yields of dry gas and coke for catalytic cracking, and good product distribution.

Figure 201810779818

Description

Method and system for catalytic cracking by adopting fast fluidized bed and turbulent fluidized bed
Technical Field
The present invention relates to a method and system for catalytic cracking using a fast fluidized bed and a turbulent fluidized bed.
Background
The low-carbon olefin represented by ethylene and propylene is the most basic raw material in chemical industry, and natural gas or light petroleum fraction is mostly used as raw material at home and abroad, and the low-carbon olefin is produced by adopting a steam cracking process in an ethylene combined device. Benzene, toluene, and xylene (BTX) are important basic chemical raw materials, wherein para-xylene (PX) accounts for about 45% of the total BTX consumption. With the development of polyester and other industries in China, the demand of BTX is expected to continue to increase at a high speed. About 90% of ethylene, about 70% of propylene, 90% of butadiene, and 30% of aromatics are all from steam cracking by-products. Although steam cracking technology has been developed for decades, the technology has been completed continuouslyGood, but still has high energy consumption, high production cost and CO2The discharge amount is large, the product structure is not easy to adjust, and other technical limitations are imposed, if the petrochemical industry adopts the traditional route of preparing ethylene and propylene by steam cracking, the petrochemical industry faces a plurality of restrictive factors such as shortage of light raw oil, insufficient production capacity, high cost and the like, and in addition, along with the lightening of the steam cracking raw material, the reduction of the yield of propylene and light aromatic hydrocarbon is more an aggravated supply-demand contradiction. The catalytic cracking technology can be used as a beneficial supplement to the production process for producing the low-carbon olefin and the light aromatic hydrocarbon, and has obvious social and economic benefits for oil refining and chemical engineering integrated enterprises by adopting a catalytic technical route to produce chemical raw materials.
Chinese patent CN98101765.7 discloses a method for simultaneously preparing low-carbon olefin and high-aromatic gasoline from heavy oil, which is to make heavy petroleum hydrocarbon and steam undergo catalytic cracking reaction in a composite reactor composed of a lift pipe and a dense-phase fluidized bed, so as to increase the yield of low-carbon olefin, especially propylene, and simultaneously increase the aromatic content in gasoline to about 80 wt%.
Chinese patent CN01119807.9 discloses a method for increasing the yield of ethylene and propylene by catalytic conversion of heavy petroleum hydrocarbon, which is to make hydrocarbon oil raw material contact and react with a catalyst containing pentasil zeolite in a riser or fluidized bed reactor.
Chinese patent CN 200410068934.5 discloses a method for producing low-carbon olefins and aromatics by catalytic cracking in two reaction zones, wherein the two reaction zones adopt different weight hourly space velocities to achieve the purpose of producing low-carbon olefins such as propylene and ethylene from heavy raw materials to the maximum extent, wherein the yield of propylene exceeds 20 wt%, and simultaneously co-producing aromatics such as toluene and xylene.
US patents US2002003103 and US2002189973 employ a dual riser FCC unit for propylene production. Wherein gasoline (60-300 DEG F/15-150 ℃) generated by the cracking reaction is fed into a second riser for further reaction, and the catalyst is a mixture of USY molecular sieve and ZSM-5 molecular sieve.
U.S. Pat. Nos. 2002195373 and WO2017223310 use a downflow reactor operating at high temperature (1020-1200 ℃ F./550-650 ℃ C.), short contact time (<0.5 seconds) and large oil-to-oil ratio (15-25). The procatalyst (Y-type faujasite) has low hydrogen transfer activity and is formulated to maximize light olefin yield in conjunction with operating conditions. The high efficiency separator separates the product from the catalyst within 0.1 seconds, minimizing secondary reactions and coke formation. In addition, LCO is used to quench the separated gaseous product to about 930 DEG F/500 ℃ and prevent further cracking.
US patent nos. US6538169 and US2003121825 are also constructed of a reaction-regeneration system employing two reaction zones and a common regenerator. In the first reaction zone, the heavy feedstock is cracked to light olefins or intermediates that can be converted to light olefins using high temperature and high catalyst to oil ratios. The second reaction zone consists of a second riser where the operating conditions are more severe and more light components are produced from the gasoline product. The conversion of gasoline to light olefins is aided by the use of shape selective molecular sieves such as ZSM-5, suitable feedstocks include VGO, HVGO and hydrogenated gas oil.
Chinese patent CN 01130984.9 discloses a catalytic conversion method for preparing ethylene and propylene. A riser and a dense-phase fluidized bed reactor are connected in series, light raw materials are injected into the riser to react under higher severity, reaction products and carbon deposition catalyst enter a fluidized bed to continuously react under relatively mild conditions, and the method has higher yield of ethylene, propylene and butylene.
Chinese patent CN200910210330 discloses a catalytic cracking method, comprising the steps of contacting a heavy raw material with a catalyst in a first riser reactor comprising at least two reaction zones to perform a cracking reaction, and contacting a light raw material and cracked heavy oil with the catalyst in a second riser reactor and a fluidized bed reactor to perform the cracking reaction. The method is used for heavy oil catalytic cracking, the heavy oil conversion rate and the propylene yield are high, and the dry gas and coke yield is low.
The structural contradiction of the oil refining chemical industry in China is increasingly serious, on one hand, the excess capacity of the traditional petrochemical products and the contradiction between the supply and the demand of the finished oil are prominent, on the other hand, the shortage of resource products and high-end petrochemical products is prominent, and the transformation of oil refining to the chemical industry is great tendency. Catalytic cracking devices used as bridges for oil refining and chemical engineering face unprecedented pressure and challenge. At present, the proportion of atmospheric residue oil blended by a catalytic cracking device is getting larger and larger, and even the requirement of blending vacuum residue oil is raised, the most advanced catalytic cracking technology of the existing catalytic cracking technology which usually takes vacuum wax oil or paraffin-based atmospheric residue oil as a raw material adopts a reactor with double lifting pipes or lifting pipes connected in series with a dense-phase bed layer, and under the reaction condition of higher severity, the aim of producing more low-carbon olefin and/or light aromatic hydrocarbon is achieved, and the problem of high yield of dry gas and coke inevitably occurs when the reactor is used for processing slag-blended heavy oil. A decrease in coke yield can be achieved with a downflow reactor, but the reaction conversion is relatively low and requires a specialized catalyst. Along with the heavy-duty of raw materials, the requirements of blending residual oil in a catalytic cracking device are more and more, and in order to efficiently utilize inferior heavy oil resources and meet the increasing demands of chemical raw materials such as low-carbon olefins and aromatic hydrocarbons, it is necessary to develop a catalytic cracking method for converting the inferior heavy oil raw materials into high value-added products.
Disclosure of Invention
The invention aims to provide a method and a system for catalytic cracking by adopting a fast fluidized bed and a turbulent fluidized bed.
In order to achieve the above object, the present invention provides a method for catalytic cracking using a fast fluidized bed and a turbulent fluidized bed, the method comprising:
introducing preheated inferior heavy oil into the rapid fluidized bed from the lower part of the rapid fluidized bed to contact with a catalytic cracking catalyst and carrying out a first catalytic cracking reaction from bottom to top to obtain a first reaction product and a semi-spent catalyst; the catalyst in the fast fluidized bed is distributed in a full dense phase, and the distribution of the axial solid fraction epsilon in the fast fluidized bed meets the following requirements: epsilon is more than or equal to 0.1 and less than or equal to 0.2;
introducing the obtained first reaction product and the semi-spent catalyst into the bottom of a turbulent fluidized bed and carrying out a second catalytic cracking reaction from bottom to top to obtain a second reaction product and a spent catalyst;
separating the obtained second reaction product to obtain dry gas, liquefied gas, pyrolysis gasoline, pyrolysis diesel oil and pyrolysis heavy oil;
and (3) feeding the spent catalyst into a regenerator for coke burning regeneration, and returning at least part of the obtained regenerated catalyst serving as the catalytic cracking catalyst to the bottom of the fast fluidized bed.
Optionally, the properties of the inferior heavy oil meet one, two, three or four of the following criteria: the density at 20 ℃ is 900-3The carbon residue is 2-10 wt%, the total content of nickel and vanadium is 2-30ppm, and the characteristic factor K value is less than 12.1.
Optionally, the properties of the inferior heavy oil meet one, two, three or four of the following criteria: the density at 20 ℃ is 910-3The carbon residue is 3-8 wt%, the total content of nickel and vanadium is 5-20ppm, and the characteristic factor K value is less than 12.0.
Optionally, the inferior heavy oil is heavy petroleum hydrocarbon and/or other mineral oil;
the heavy petroleum hydrocarbon is one or more selected from vacuum residue, poor atmospheric residue, poor hydrogenated residue, coker gas oil, deasphalted oil, vacuum wax oil, high acid value crude oil and high metal crude oil, and the other mineral oil is one or more selected from coal liquefied oil, oil sand oil and shale oil.
Optionally, the catalytic cracking catalyst comprises, on a dry basis and based on the weight of the catalytic cracking catalyst on a dry basis, from 1 to 50 wt% zeolite, from 5 to 99 wt% inorganic oxide, and from 0 to 70 wt% clay;
the zeolites include medium pore zeolites which are ZSM series zeolites and/or ZRP zeolites and optionally large pore zeolites which are one or more selected from rare earth Y, rare earth hydrogen Y, ultrastable Y and high silica Y.
Optionally, the medium pore zeolite comprises from 0 to 50 wt% of the total weight of the zeolite on a dry basis.
Optionally, the medium pore zeolite comprises from 0 to 20 wt% of the total weight of the zeolite on a dry basis.
Optionally, the conditions of the first catalytic cracking reaction include: the reaction temperature is 510-650 ℃, the reaction time is 1-20 seconds, and the weight ratio of the catalyst to the oil is (3-50): 1, the weight ratio of water to oil is (0.03-0.8): 1, catalyst density of 120-3Gas linear speed of 0.8-2.5 m/s, reaction pressure of 130-450 kPa, and catalyst mass flow rate GsIs 15-150 kg/(meter)2Seconds);
the conditions of the second catalytic cracking reaction include: the reaction temperature is 500-600 ℃, and the weight hourly space velocity is 1-20 h-1The weight ratio of the agent oil is (1-60): 1, the weight ratio of water to oil is (0.03-0.8): 1, catalyst density of 300-450 kg/m3The gas linear speed is 0.4-0.8 m/s, and the reaction pressure is 130-450 kPa.
Optionally, the conditions of the first catalytic cracking reaction include: the reaction temperature is 550-620 ℃, the reaction time is 3-15 seconds, and the weight ratio of the catalyst to the oil is (10-30): 1, the weight ratio of water to oil is (0.05-0.5): 1, catalyst density of 150-3Gas linear velocity of 1-1.8 m/s, catalyst mass flow rate GsIs 20-130 kg/(meter)2Seconds);
the conditions of the second catalytic cracking reaction include: the reaction temperature is 520-580 ℃, the weight ratio of the catalyst to the oil is (10-40): 1, the weight ratio of water to oil is (0.05-0.5): 1, the gas linear speed is 0.6-0.9 m/s.
Optionally, the method further includes: introducing a C4 hydrocarbon fraction and/or a C5-C6 light gasoline fraction into the fast fluidized bed and/or turbulent fluidized bed.
Optionally, introducing a C4 hydrocarbon fraction and/or a C5-C6 light gasoline fraction before introducing the low grade heavy oil into the feed location of the fast fluidized bed; and/or
The C4 hydrocarbon fraction and/or the C5-C6 light gasoline fraction are introduced into the bottom of a turbulent fluidized bed.
Optionally, the method further includes: supplementing a catalyst into the turbulent fluidized bed to perform the second catalytic cracking reaction together with the first reaction product and the semi-spent catalyst; wherein the carbon content of the supplemented catalyst is 0-1.0 wt.%.
Optionally, the make-up catalyst comprises 0 to 50 wt% of the total circulating amount of the fast fluidized bed and turbulent fluidized bed catalyst.
Optionally, the make-up catalyst comprises 5 to 30 wt% of the total circulating amount of the fast fluidized bed and turbulent fluidized bed catalyst.
The invention also provides a catalytic cracking system, which comprises a fast fluidized bed, a turbulent fluidized bed, an oil agent separation device, a reaction product separation device and a regenerator;
said turbulent fluidized bed being in fluid communication with a fast fluidized bed and said fast fluidized bed being upstream of said turbulent fluidized bed in the direction of flow of the reaction materials;
the fast fluidized bed is provided with a catalyst inlet at the bottom and an inferior heavy oil inlet at the lower part, the turbulent fluidized bed is provided with an oil agent outlet at the top, the oil agent separation equipment is provided with an oil agent inlet, a catalyst outlet and a reaction product outlet, the reaction product separation equipment is provided with a reaction product inlet, a dry gas outlet, a liquefied gas outlet, a pyrolysis gasoline outlet, a pyrolysis diesel oil outlet and a pyrolysis heavy oil outlet, and the regenerator is provided with a catalyst inlet and a catalyst outlet;
the catalyst inlet of the fast fluidized bed is in fluid communication with the catalyst outlet of the regenerator, the oil agent outlet of the turbulent fluidized bed is in fluid communication with the oil agent inlet of the oil agent separation equipment, the reaction product outlet of the oil agent separation equipment is in fluid communication with the reaction product inlet of the reaction product separation equipment, and the catalyst outlet of the oil agent separation equipment is in fluid communication with the catalyst inlet of the regenerator.
Optionally, the turbulent fluidized bed and the fast fluidized bed are coaxially arranged up and down, and the turbulent fluidized bed is located above the fast fluidized bed.
Optionally, the ratio of the inner diameter of the fast fluidized bed to the inner diameter of the turbulent fluidized bed is (0.5-0.9): 1.
the invention adopts the fast fluidized bed to effectively improve the density of the reaction catalyst, thereby greatly improving the ratio of the instantaneous catalyst to the raw oil in the reactor, controlling the relatively long reaction time, leading the catalyst to be capable of fully reacting with the inferior heavy oil, not only improving the reaction conversion rate, but also improving the yield of the low-carbon olefin and the light aromatic hydrocarbon, simultaneously effectively reducing the generation of dry gas and coke, and improving the product distribution and the product quality.
The invention preferably adopts a turbulent fluidized bed with specific catalyst density to effectively control the density of the reaction catalyst, thereby greatly improving the ratio of the instantaneous catalyst in the reactor to the raw oil compared with a dilute phase conveying bed, controlling relatively longer reaction time, leading the catalyst to be capable of fully reacting with inferior heavy oil, improving the reaction conversion rate and the yield of low-carbon olefin and light aromatic hydrocarbon compared with the conventional dense phase fluidized bed (the density of the catalyst is more than 450 kg/m)3The density of the catalyst in the dense fluidized bed of DCC is generally greater than 500 kg/m3) Compared with the prior art, the method can effectively reduce the generation of dry gas and coke, and improve the product distribution and the product quality.
The invention can enable petrochemical enterprises to produce high-added-value chemical raw materials from cheap inferior heavy oil to the maximum extent, is beneficial to promoting the refining and chemical integration process of oil refining enterprises in China, not only solves the problem of petrochemical raw material shortage, but also improves the economic benefit and social benefit of petrochemical industry.
Additional features and advantages of the invention will be set forth in the detailed description which follows.
Drawings
The accompanying drawings, which are included to provide a further understanding of the invention and are incorporated in and constitute a part of this specification, illustrate embodiments of the invention and together with the description serve to explain the principles of the invention and not to limit the invention. In the drawings:
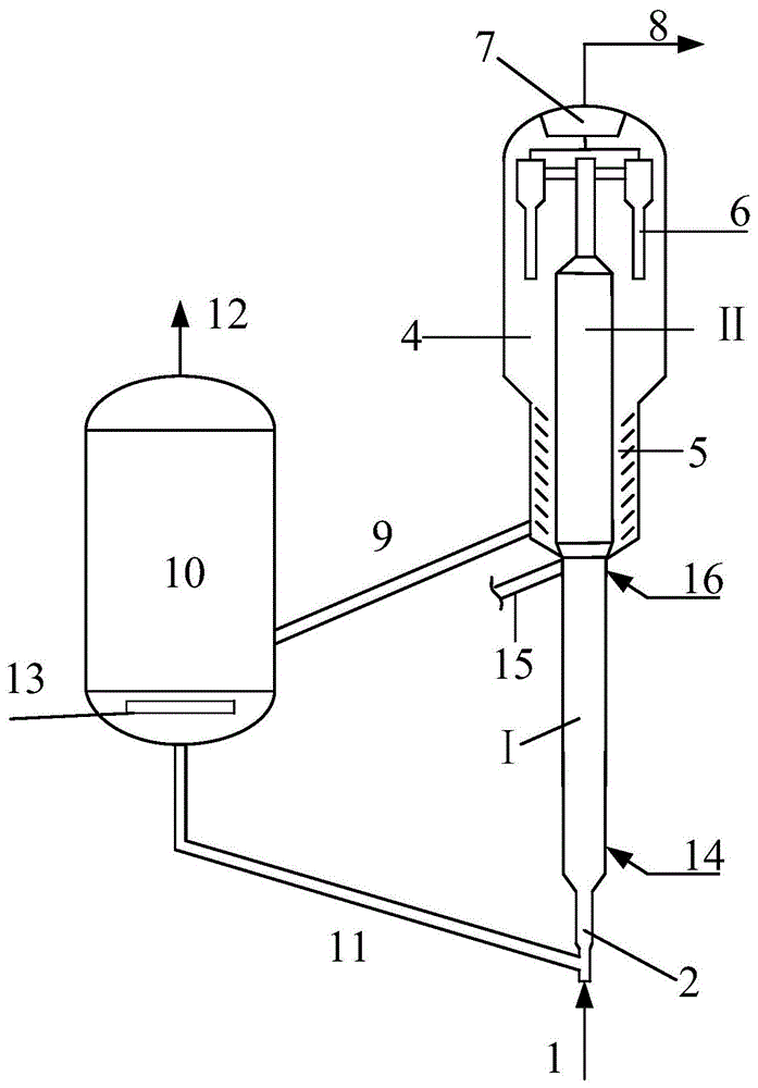
FIG. 1 includes a schematic flow diagram of one embodiment of the method of the present invention and also includes a schematic structural diagram of one embodiment of the system of the present invention.
Description of the reference numerals
I quick fluidized bed II turbulent fluidized bed
1 pipeline 2 pre-lift section
4 settler 5 stripping section 6 cyclone
7 gas collection chamber, 8 pipeline, 9 to-be-grown inclined tube
10 regenerator 11 regeneration inclined tube 12 pipeline
13 air distributor 14 line 15 make-up line
16 pipeline
Detailed Description
The following describes in detail specific embodiments of the present invention. It should be understood that the detailed description and specific examples, while indicating the present invention, are given by way of illustration and explanation only, not limitation.
In the invention:
(1) the axial solid fraction is the pressure difference between two points in the axial direction of the reactor measured by a pressure difference meter, the distance between two points in the axial direction divided by the density of the catalyst particles; the unit of the pressure difference is kilogram/meter2The distance between two axial points is measured in meters, and the density of catalyst particles is kg/m3And the two axial points are any two axial points of the reactor.
(2) The reaction time is equal to the volume of the reactor/the logarithmic mean volume flow of oil gas; volume unit of the reactor is meter3The unit of logarithmic mean volume flow of oil and gas is meter3A/second;
logarithmic mean volume flow rate of oil and gas (V)out-Vin)/ln(Vout/Vin),VoutAnd VinThe volume flow of oil gas at the outlet and the inlet of the reactor respectively;
the volume flow of oil gas at the outlet of the reactor is m/rho3The volume flow of oil gas at the inlet of the reactor is m/rho4(ii) a m is the feeding amount of raw oil and atomized steam in unit time, and the unit is kilogram/second; rho3The density of oil gas at the outlet of the reactor is measured in kg/m3;ρ4The density of the oil gas at the inlet of the reactor is measured in kg/m3
(3) The density of the catalyst in the reactor is the reaction time multiplied by the catalyst circulation volume divided by the volume of the reactor; the reaction time is in seconds, the catalyst circulation is in kilograms per second, and the reactor volume is in meters3
(4) And the linear gas velocity is the logarithmic mean volume flow of oil gas/sectional area of the reactor.
(5) Catalyst mass flow rate GsCatalyst circulation rate ÷ reactor cross-sectional area; the unit of the circulating amount of the catalyst is kilogram/second;
the catalyst circulation amount is divided by the coke generation speed (the carbon content of the spent catalyst-the carbon content of the regenerated catalyst), the unit of the coke generation speed is kilogram/second, and the carbon content of the spent catalyst and the carbon content of the regenerated catalyst are both weight contents;
coke formation rate ═ flue gas mass × (CO)2% + CO%) +/-Vm × M; vm is the molar volume of gas and takes the value of 22.4 multiplied by 10-3Rice and its production process3M is the molar mass of carbon and takes the value of 12 multiplied by 10-3Kilogram/mole;
flue gas amount (regeneration air amount × 79 vol%)/(1-CO)2%-CO%-O2%) of the amount of regenerated air in meters3Second, the unit of smoke is meter3Second, CO2%、CO%、O2% of CO in the flue gas2、CO、O2Volume percent of (c).
The invention provides a method for catalytic cracking by adopting a fast fluidized bed and a turbulent fluidized bed, which comprises the following steps:
introducing preheated inferior heavy oil into the rapid fluidized bed from the lower part of the rapid fluidized bed to contact with a catalytic cracking catalyst and carrying out a first catalytic cracking reaction from bottom to top to obtain a first reaction product and a semi-spent catalyst; the catalyst in the fast fluidized bed is distributed in a full dense phase, and the distribution of the axial solid fraction epsilon in the fast fluidized bed meets the following requirements: epsilon is more than or equal to 0.1 and less than or equal to 0.2;
introducing the obtained first reaction product and the semi-spent catalyst into the bottom of a turbulent fluidized bed and carrying out a second catalytic cracking reaction from bottom to top to obtain a second reaction product and a spent catalyst;
separating the obtained second reaction product to obtain dry gas, liquefied gas, pyrolysis gasoline, pyrolysis diesel oil and pyrolysis heavy oil;
and (3) feeding the spent catalyst into a regenerator for coke burning regeneration, and returning at least part of the obtained regenerated catalyst serving as the catalytic cracking catalyst to the bottom of the fast fluidized bed.
In the invention, the fast fluidized bed refers to a reactor in which a catalyst is in fast fluidization, the fast fluidization is bubble-free gas-solid contact fluidization, and the important characteristic is that solid particles tend to move in an agglomeration manner. The axial solid fraction epsilon distribution of all heights in the fast fluidized bed meets the following requirements: epsilon is more than or equal to 0.1 and less than or equal to 0.2, the catalyst in the rapid fluidized bed is distributed in a full-dense phase, the catalyst is prevented from being distributed in a dilute-down-dense mode, the actual agent-oil ratio above and below the rapid fluidized bed is kept consistent, the dry gas coke yield is reduced, and the target product yield is improved.
According to the invention, the catalyst is regulated to be in full-dense phase distribution by regulating the linear velocity of gas in the fast fluidized bed and arranging a gas distributor at the feeding position of the fast fluidized bed, wherein the gas distributor can be one or more of gas distributors which are common in industry, such as flat plates, arches, discs, rings and umbrella-shaped gas distributors, so that the raw oil atomized by atomized steam is contacted with the catalyst in a uniform concentration in the axial direction of the reactor to carry out catalytic cracking reaction, and the generation of catalyst-oil ratio coke and thermal reaction coke caused by overhigh or overlow concentration of the catalyst is reduced.
According to the invention, the inferior heavy oil can be introduced into the fast fluidized bed at one feeding position or can be introduced into the fast fluidized bed from two or more feeding positions according to the same or different proportions.
According to the present invention, the inferior heavy oil refers to heavy oil which is less suitable for catalytic cracking process than conventional heavy oil, and for example, the inferior heavy oil may satisfy one, two, three or four of the following properties: the density at 20 ℃ is 900-3Preferably 910-3Carbon residue of 2 to 10 wt.%, preferably 3 to 8 wt.%, a total nickel and vanadium content of 2 to 30ppm, preferably 5 to 20ppm, and a characteristic factor K value of less than 12.1, preferably less than 12.0. In particular, the low-grade heavy oil can be heavy petroleum hydrocarbons and/or other mineral oils; the heavy petroleum hydrocarbon may be selected from Vacuum Residuum (VR),One or more of low-grade Atmospheric Residue (AR), low-grade hydrogenated residue, coker gas oil, deasphalted oil, vacuum wax oil, high acid value crude oil and high metal crude oil, and the other mineral oil may be one or more selected from coal liquefied oil, oil sand oil and shale oil. The carbon residue in the inferior heavy oil is measured by adopting an ASTMD-189 Conradson carbon residue experimental method.
Catalytic cracking catalysts are well known to those skilled in the art in accordance with the present invention, and for the process of the present invention, the catalytic cracking catalyst preferably comprises from 1 to 50 wt% zeolite, from 5 to 99 wt% inorganic oxide, and from 0 to 70 wt% clay, on a dry basis and based on the weight of the catalytic cracking catalyst on a dry basis; the zeolite may comprise, as active components, a medium pore zeolite and optionally a large pore zeolite, the medium pore zeolite constituting from 0 to 50% by weight, preferably from 0 to 20% by weight, of the total weight of the zeolite, on a dry basis. The medium and large pore zeolites are defined as conventional in the art, i.e., the medium pore zeolite has an average pore size of 0.5 to 0.6nm and the large pore zeolite has an average pore size of 0.7 to 1.0 nm. The large-pore zeolite can be selected from one or more of Rare Earth Y (REY), Rare Earth Hydrogen Y (REHY), ultrastable Y obtained by different methods and high-silicon Y. The medium pore zeolite may be selected from zeolites having an MFI structure, such as ZSM-series zeolites and/or ZRP zeolites, which may also be modified with non-metallic elements such as phosphorus and/or transition metal elements such as iron, cobalt, nickel, as described more fully in connection with ZRP, see U.S. Pat. No. 5,232,675, the ZSM-series zeolites preferably being selected from one or more mixtures of ZSM-5, ZSM-11, ZSM-12, ZSM-23, ZSM-35, ZSM-38, ZSM-48 and other zeolites of similar structure, as described more fully in connection with ZSM-5, see U.S. Pat. No. 3,702,886. The inorganic oxide is preferably silicon dioxide (SiO) as a binder2) And/or aluminum oxide (Al)2O3). The clay acts as a matrix (i.e., carrier) and is preferably selected from kaolin and/or halloysite.
Catalytic cracking is well known to those skilled in the art according to the present invention, and for the catalytic cracking of turbulent fluidized beds and fast fluidized beds of the present application, the conditions of the first catalytic cracking reaction may include: the reaction temperature is 510 ℃ and 650 DEG CThe time is 1-20 seconds, the weight ratio of the agent to the oil is (3-50): 1, the weight ratio of water to oil is (0.03-0.8): 1, catalyst density of 120-3Gas linear speed of 0.8-2.5 m/s, reaction pressure of 130-450 kPa, and catalyst mass flow rate GsIs 15-150 kg/(meter)2Seconds); the conditions of the first catalytic cracking reaction preferably include: the reaction temperature is 550-620 ℃, the reaction time is 3-15 seconds, and the weight ratio of the catalyst to the oil is (10-30): 1, the weight ratio of water to oil is (0.05-0.5): 1, catalyst density of 150-3Gas linear velocity of 1-1.8 m/s, catalyst mass flow rate GsIs 20-130 kg/(meter)2Seconds); the conditions of the second catalytic cracking reaction include: the reaction temperature is 500-600 ℃, and the weight hourly space velocity is 1-20 h-1The weight ratio of the agent oil is (1-60): 1, the weight ratio of water to oil is (0.03-0.8): 1, catalyst density of 300-450 kg/m3Preferably 320-440 kg/m3Further preferably 320-400 kg/m3More preferably 330-3The gas linear speed is 0.4-0.8 m/s, and the reaction pressure is 130-450 kPa; the conditions of the second catalytic cracking reaction preferably include: the reaction temperature is 520 ℃ and 580 ℃, and the weight hourly space velocity is 1-10 h-1The weight ratio of the agent to the oil is (10-40): 1, the weight ratio of water to oil is (0.05-0.5): 1, the gas linear speed is 0.6-0.9 m/s.
The separation of the second reaction product from the spent catalyst according to the present invention is well known to those skilled in the art and may be performed, for example, in a settler using a cyclone separator, and the further separation of the second reaction product to obtain dry gas, liquefied gas, pyrolysis gasoline, pyrolysis diesel oil and pyrolysis heavy oil is also well known to those skilled in the art, and the dry gas and liquefied gas may be further separated to obtain the desired products such as ethylene, propylene, etc. by separation means conventional in the art.
According to the invention, the method also preferably comprises: introducing a C4 hydrocarbon fraction and/or a C5-C6 light gasoline fraction into the fast fluidized bed and/or turbulent fluidized bed. The C4 hydrocarbon fraction refers to low molecular weight hydrocarbons containing C4 fraction as main component and existing in gas form at normal temperature and pressure, including alkanes, alkenes and alkynes with 4 carbon atoms in the molecule, which may include gaseous hydrocarbon products (such as liquefied gas) produced by the present invention method and rich in C4 hydrocarbon fraction, and may also include gaseous hydrocarbons produced by other devices and rich in C4 fraction, wherein C4 hydrocarbon fraction produced by the present invention method is preferred. The C4 hydrocarbon fraction is preferably an olefin-rich C4 hydrocarbon fraction, and the content of C4 olefins may be greater than 50 wt%, preferably greater than 60 wt%, more preferably above 70 wt%. The C5-C6 light gasoline fraction can comprise pyrolysis gasoline produced by the method of the invention, and can also comprise gasoline fractions produced by other devices, such as at least one C5-C6 fraction selected from catalytic pyrolysis gasoline, catalytic cracking gasoline, straight run gasoline, coker gasoline, thermal cracking gasoline and hydrogenated gasoline. The present invention preferably introduces the C4 hydrocarbon fraction and/or the C5-C6 light gasoline fraction before introducing the low grade heavy oil into the feed location of the fast fluidized bed; and/or introducing the C4 hydrocarbon fraction and/or the C5-C6 light gasoline fraction into the bottom of a turbulent fluidized bed.
The coke-burning regeneration of the spent catalyst according to the present invention is well known to those skilled in the art and can be carried out in a regenerator, an oxygen-containing gas such as air can be introduced into the regenerator to contact the spent catalyst, and the flue gas from the coke-burning regeneration can be separated from the catalyst in the regenerator and then sent to a subsequent energy recovery system.
According to the invention, the method further comprises: supplementing a catalyst into the turbulent fluidized bed to perform the second catalytic cracking reaction together with the first reaction product and the semi-spent catalyst; wherein the carbon content of the supplemented catalyst is 0 to 1.0 wt%, and may be, for example, one or more selected from the group consisting of a regenerated catalyst, a spent catalyst and a semi-regenerated catalyst. The make-up catalyst may be present in an amount of from 0 to 50% by weight, preferably from 5 to 30% by weight, based on the total circulated amount of fast fluidized bed and turbulent fluidized bed catalyst. Since the catalytic cracking reaction is a volume expansion reaction, in order to maintain a substantially equivalent or increased density at the reactor inlet and at the reactor outlet, the supplemental spent catalyst in the turbulent fluidized bed can be adjusted or maintained over a wide range to ensure the time required for the cracking reaction. In addition, the catalytic cracking catalyst is supplemented in the turbulent fluidized bed, so that the density uniformity of the catalyst in the reactor can be maintained as much as possible, the density distribution of the catalyst is effectively adjusted, the cracking reaction is ensured to be fully and effectively carried out, and the selectivity of a target product is improved.
The invention also provides a catalytic cracking system, which comprises a fast fluidized bed, a turbulent fluidized bed, an oil agent separation device, a reaction product separation device and a regenerator;
said turbulent fluidized bed being in fluid communication with a fast fluidized bed and said fast fluidized bed being upstream of said turbulent fluidized bed in the direction of flow of the reaction materials;
the fast fluidized bed is provided with a catalyst inlet at the bottom and an inferior heavy oil inlet at the lower part, the turbulent fluidized bed is provided with an oil agent outlet at the top, the oil agent separation equipment is provided with an oil agent inlet, a catalyst outlet and a reaction product outlet, the reaction product separation equipment is provided with a reaction product inlet, a dry gas outlet, a liquefied gas outlet, a pyrolysis gasoline outlet, a pyrolysis diesel oil outlet and a pyrolysis heavy oil outlet, and the regenerator is provided with a catalyst inlet and a catalyst outlet;
the catalyst inlet of the fast fluidized bed is in fluid communication with the catalyst outlet of the regenerator, the oil agent outlet of the turbulent fluidized bed is in fluid communication with the oil agent inlet of the oil agent separation equipment, the reaction product outlet of the oil agent separation equipment is in fluid communication with the reaction product inlet of the reaction product separation equipment, and the catalyst outlet of the oil agent separation equipment is in fluid communication with the catalyst inlet of the regenerator.
According to the invention, the fast fluidized bed is located upstream of the turbulent fluidized bed, in the present invention both "upstream" and "downstream" of the reactor, i.e. at the bottom or lower part of the reactor, with respect to the direction of flow of the reaction mass. Preferably, the turbulent fluidized bed and the fast fluidized bed are coaxially arranged up and down, the turbulent fluidized bed can be positioned above the fast fluidized bed, and the ratio of the inner diameter of the fast fluidized bed to the inner diameter of the turbulent fluidized bed can be (0.5-0.9): 1.
according to the present invention, the oil separating device and the reaction product separating device are well known to those skilled in the art, for example, the oil separating device may include a cyclone, a settler, a stripper, and the like, and the reaction product separating device may be a fractionating tower, and the like.
The invention will be further illustrated by means of specific embodiments in the following description with reference to the drawings, but the invention is not limited thereto.
As shown in FIG. 1, a pre-lifting medium which can be dry gas, steam or a mixture thereof enters the bottom of the fast fluidized bed I from the bottom of a pre-lifting section 2 through a pipeline 1, a regenerated catalyst from a regeneration inclined tube 11 enters the bottom of the fast fluidized bed I, and moves upwards along a lifting pipe under the lifting action of the pre-lifting medium in an accelerating way, inferior heavy oil is injected into the lower part of the fast fluidized bed I through a pipeline 14, is mixed with the existing material flow in the fast fluidized bed I and carries out a first catalytic cracking reaction, the obtained first reaction product and a semi-spent catalyst move upwards in an accelerating way, enters a turbulent fluidized bed II, contacts with a supplemented catalytic cracking catalyst from a supplementing line 15 and carries out a second catalytic cracking reaction, the generated second reaction product and a deactivated spent catalyst enter a cyclone separator 6 in a settler 4 through an outlet section 3, and the spent catalyst and the second reaction product are separated, the second reaction product enters a gas collection chamber 7, and the catalyst fine powder returns to the settler 4 through a dipleg. Spent catalyst in the settler 4 flows to the stripping section 5. The reaction product stripped from the spent catalyst enters a gas collection chamber 7 after passing through a cyclone separator, and the reaction product in the gas collection chamber 7 enters a subsequent separation system through a large oil-gas pipeline 8. The stripped spent catalyst enters a regenerator 10 through a spent inclined tube 9, air is distributed by an air distributor 13 and then enters the regenerator 10, coke on the spent catalyst in a dense bed layer at the bottom of the regenerator 10 is burned off, the inactivated spent catalyst is regenerated, and flue gas enters a subsequent energy recovery system through a pipeline 12.
The following examples further illustrate the process but do not limit the invention.
The raw oils used in the examples and comparative examples were hydrogenated residues, and their properties are shown in Table 1. The catalyst used was a commercial catalytic cracking catalyst sold under the trade designation DMMC-2.
Comparative example 1
The raw oil is hydrogenated residual oil, DMMC-2 catalyst is adopted, and the test is carried out on a medium-sized device, and the reactor is a combined reactor with a riser and a fluidized bed connected in series. The preheated raw oil enters the lower part of a riser to carry out catalytic cracking reaction, the reaction oil, the water vapor and the spent catalyst enter a dense-phase fluidized bed reactor from the outlet of the riser to continue reacting, the material flow after the reaction enters a closed cyclone separator, the reaction product and the spent catalyst are quickly separated, and the reaction product is cut in a separation system according to the distillation range; the spent catalyst enters a stripping section under the action of gravity, reaction products adsorbed on the spent catalyst are stripped by steam, the stripped catalyst directly enters a regenerator without heat exchange and contacts with air for regeneration, and the regenerated catalyst returns to a riser for recycling; the operating conditions and the product distribution are shown in tables 2 and 4.
As can be seen from the results of table 4, the ethylene yield was about 3.7 wt%, the propylene yield was about 12.8 wt%, the light aromatic hydrocarbon yield was about 5.5 wt%, and the dry gas and coke yields were 12.9 wt% and 13.3 wt%, respectively.
Example 1
The test is carried out according to the flow of a figure 1, the raw oil is hydrogenated residual oil, DMMC-2 catalyst is adopted, the test is carried out on a medium-sized device, a reactor is divided into a fast fluidized bed and a turbulent fluidized bed, the preheated raw oil enters the lower part of the fast fluidized bed to contact with regenerated catalyst and carry out first catalytic cracking reaction, the catalyst in the fast fluidized bed is controlled to be in full-dense phase distribution by adjusting gas linear speed and arranging an umbrella-shaped gas distributor at a feeding position, axial solid fraction epsilon distribution in the fast fluidized bed is in the range of 0.1-0.2 from bottom to top, the first reaction product and the semi-spent catalyst obtained after the reaction enter the turbulent fluidized bed to be mixed with supplemented regenerated catalyst (carbon content is 0.05 weight percent) and then continue to carry out second catalytic cracking reaction, the supplemented catalyst accounts for 5 weight percent of the catalyst circulation amount of the fast fluidized bed and the turbulent fluidized bed, and the supplement position, the obtained second reaction product is quickly separated from the spent catalyst, and the second reaction product is cut in a separation system according to the distillation range; the spent catalyst enters a stripping section under the action of gravity, hydrocarbon products adsorbed on the spent catalyst are stripped by steam, and the stripped catalyst directly enters a regenerator without heat exchange and is in contact with air for regeneration; the regenerated catalyst returns to the fast fluidized bed for recycling; the operating conditions and the product distribution are listed in tables 3 and 4.
As can be seen from table 4, the ethylene yield was 5.2 wt%, the propylene yield was 19.4 wt%, the light aromatics yield was about 11.3 wt%, and the dry gas and coke yields were 10.9 wt% and 8.9 wt%, respectively.
Example 2
The test is carried out according to the flow of a figure 1, the raw oil is hydrogenated residual oil, DMMC-2 catalyst is adopted, the test is carried out on a medium-sized device, a reactor is divided into a fast fluidized bed and a turbulent fluidized bed, the preheated raw oil enters the lower part of the fast fluidized bed to contact with regenerated catalyst and carry out first catalytic cracking reaction, the catalyst in the fast fluidized bed is controlled to be in full-dense phase distribution by adjusting gas linear speed and arranging an umbrella-shaped gas distributor at a feeding position, axial solid fraction epsilon distribution in the fast fluidized bed is in the range of 0.1-0.2 from bottom to top, the first reaction product and the semi-spent catalyst obtained after the reaction enter the turbulent fluidized bed to be mixed with supplemented regenerated catalyst (carbon content is 0.05 weight percent) and then continue to carry out second catalytic cracking reaction, the supplemented catalyst accounts for 5 weight percent of the catalyst circulation amount of the fast fluidized bed and the turbulent fluidized bed, and the supplement position, the obtained second reaction product is quickly separated from the spent catalyst, and the second reaction product is cut in a separation system according to the distillation range; the spent catalyst enters a stripping section under the action of gravity, hydrocarbon products adsorbed on the spent catalyst are stripped by steam, and the stripped catalyst directly enters a regenerator without heat exchange and is in contact with air for regeneration; the regenerated catalyst returns to the fast fluidized bed for recycling; cutting the reaction product to obtain mixed C4 fraction, returning the mixed C4 fraction to the bottom of the fast fluidized bed for further reaction; the operating conditions and the product distribution are listed in tables 3 and 4.
As can be seen from table 4, the yield of ethylene was 5.8 wt%, the yield of propylene was 19.9 wt%, the yield of light aromatic hydrocarbons was about 11.4 wt%, and the yields of dry gas and coke were 11 wt% and 9 wt%, respectively.
Comparative example 2
Comparative example 2 is substantially the same as example 1 except that no gas distributor is provided, the axial solid fraction epsilon distribution in the fast fluidized bed is gradually increased from top to bottom from 0.1 → 0.2 → 0.3, the operating conditions are the same as example 1, and the product distribution is shown in Table 4.
The preferred embodiments of the present invention have been described in detail, however, the present invention is not limited to the specific details of the above embodiments, and various simple modifications may be made to the technical solution of the present invention within the technical idea of the present invention, and these simple modifications are within the protective scope of the present invention.
It should be noted that the various technical features described in the above embodiments can be combined in any suitable manner without contradiction, and the invention is not described in any way for the possible combinations in order to avoid unnecessary repetition.
In addition, any combination of the various embodiments of the present invention is also possible, and the same should be considered as the content of the present invention as long as it does not depart from the gist of the present invention. TABLE 1
Density (20 deg.C)/g.cm-3 0.9237
Refractive index/70 deg.C 1.4914
Basic nitrogen/microgram g-1 506
Carbon residue/weight% 3.11
Value of characteristic factor K 11.8
Distillation range/. degree.C
5% by volume 357
10% by volume 387
30% by volume 443
50% by volume 490
70% by volume 550
Metal content/microgram g-1
Fe 34.4
Ni 4.4
Ca 7.8
V 4.3
Na 2.0
TABLE 2
Comparative example 1
Riser conditions
Reactor outlet temperature,. deg.C 585
Reaction time in seconds 2
Water to oil weight ratio 0.25
Weight ratio of solvent to oil 10
Catalyst density in kg/m3 60
Linear velocity of gasMeter/second 12
Reaction pressure, kPa 210
Gs, kg/(meter)2Second) 300
Dense phase fluidized bed conditions
Bed temperature of low DEG C 565
Weight hourly space velocity, hours -1 4
Catalyst density in kg/m3 480
Linear velocity of gas, m/s 0.6
TABLE 3
Example 1 Example 2
Conditions of fast fluidized bed
Reactor outlet temperature,. deg.C 585 585
Reaction time in seconds 3 3
Water to oil weight ratio 0.25 0.25
Weight ratio of solvent to oil 20 20
Catalyst density in kg/m3 200 200
Linear velocity of gas, m/s 2 2.2
Reaction pressure, kPa 210 210
Gs, kg/(meter)2Second) 70 75
Turbulent fluidized bed conditions
Bed temperature of low DEG C 565 565
Weight hourly space velocity, hours -1 4 4
Catalyst density in kg/m3 350 350
Linear velocity of gas, m/s 0.6 0.6
TABLE 4
Product distribution, weight% Comparative example 1 Example 1 Example 2 Comparative example 2
Dry gas 12.9 10.9 11 11.7
Wherein ethylene 3.7 5.2 5.8 4.2
Liquefied gas 26.1 39.9 39.3 34.6
Wherein propylene is 12.8 19.4 19.9 16.5
Wherein the C4 component 10.5 12.7 7.9 11.3
Gasoline (gasoline) 22.9 24.7 25.1 23.8
Wherein BTX 5.5 11.3 11.4 8.7
Diesel oil 16.4 10.9 11 12.6
Heavy oil 8.4 4.7 4.6 5.8
Coke 13.3 8.9 9 11.5
Total up to 100.0 100.0 100.0 100.0

Claims (17)

1. A process for catalytic cracking using a fast fluidized bed and a turbulent fluidized bed, the process comprising:
introducing preheated inferior heavy oil into the rapid fluidized bed from the lower part of the rapid fluidized bed to contact with a catalytic cracking catalyst and carrying out a first catalytic cracking reaction from bottom to top to obtain a first reaction product and a semi-spent catalyst; the catalyst in the fast fluidized bed is distributed in a full dense phase, and the distribution of the axial solid fraction epsilon in the fast fluidized bed meets the following requirements: epsilon is more than or equal to 0.1 and less than or equal to 0.2;
introducing the obtained first reaction product and the semi-spent catalyst into the bottom of a turbulent fluidized bed and carrying out a second catalytic cracking reaction from bottom to top to obtain a second reaction product and a spent catalyst;
separating the obtained second reaction product to obtain dry gas, liquefied gas, pyrolysis gasoline, pyrolysis diesel oil and pyrolysis heavy oil;
and (3) feeding the spent catalyst into a regenerator for coke burning regeneration, and returning at least part of the obtained regenerated catalyst serving as the catalytic cracking catalyst to the bottom of the fast fluidized bed.
2. The method of claim 1 wherein the properties of the low quality heavy oil meet one, two, three or four of the following criteria: the density at 20 ℃ is 900-3The carbon residue is 2-10 wt%, the total content of nickel and vanadium is 2-30ppm, and the characteristic factor K value is less than 12.1.
3. The method of claim 1 wherein the properties of the low quality heavy oil meet one, two, three or four of the following criteria: the density at 20 ℃ is 910-3The carbon residue is 3-8 wt%, the total content of nickel and vanadium is 5-20ppm, and the characteristic factor K value is less than 12.0.
4. The method of claim 1 wherein the low quality heavy oil is heavy petroleum hydrocarbons and/or other mineral oils;
the heavy petroleum hydrocarbon is one or more selected from vacuum residue, poor atmospheric residue, poor hydrogenated residue, coker gas oil, deasphalted oil, vacuum wax oil, high acid value crude oil and high metal crude oil, and the other mineral oil is one or more selected from coal liquefied oil, oil sand oil and shale oil.
5. The process of claim 1 wherein the catalytic cracking catalyst comprises, on a dry basis and based on the weight of the catalytic cracking catalyst on a dry basis, from 1 to 50 wt% zeolite, from 5 to 99 wt% inorganic oxide, and from 0 to 70 wt% clay;
the zeolites include medium pore zeolites which are ZSM series zeolites and/or ZRP zeolites and optionally large pore zeolites which are one or more selected from rare earth Y, rare earth hydrogen Y, ultrastable Y and high silica Y.
6. A process as claimed in claim 5, wherein the medium pore size zeolite comprises from 0 to 50 wt% of the total weight of zeolite on a dry basis.
7. A process as claimed in claim 5, wherein the medium pore size zeolite comprises from 0 to 20 wt% of the total weight of zeolite on a dry basis.
8. The method of claim 1, wherein the conditions of the first catalytic cracking reaction comprise: the reaction temperature is 510-650 ℃, the reaction time is 1-20 seconds, and the weight ratio of the catalyst to the oil is (3-50): 1, the weight ratio of water to oil is (0.03-0.8): 1, catalyst density of 120-3The gas linear velocity is 0.8-2.5 m/s, the reaction pressure is 130-450 kPa, and the mass flow rate Gs of the catalyst is 15-150 kg/(m)2Seconds);
the conditions of the second catalytic cracking reaction include: the reaction temperature is 500-600 ℃, the weight hourly space velocity is 1-20 h-1, and the weight ratio of the catalyst to the oil is (1-60): 1, the weight ratio of water to oil is (0.03-0.8): 1, the catalyst density is 300-450 kg/m < 3 >, the gas linear speed is 0.4-0.8 m/s, and the reaction pressure is 130-450 kPa.
9. The method of claim 1, wherein the conditions of the first catalytic cracking reaction comprise: the reaction temperature is 550 ℃ and 620 ℃, andthe reaction time is 3-15 seconds, and the weight ratio of the solvent to the oil is (10-30): 1, the weight ratio of water to oil is (0.05-0.5): 1, catalyst density of 150-3The linear velocity of the gas is 1-1.8 m/s, and the mass flow rate Gs of the catalyst is 20-130 kg/(m)2Seconds);
the conditions of the second catalytic cracking reaction include: the reaction temperature is 520-580 ℃, the weight ratio of the catalyst to the oil is (10-40): 1, the weight ratio of water to oil is (0.05-0.5): 1, the gas linear speed is 0.6-0.9 m/s.
10. The method of claim 1, further comprising: introducing a C4 hydrocarbon fraction and/or a C5-C6 light gasoline fraction into the fast fluidized bed and/or turbulent fluidized bed.
11. The process according to claim 10, wherein the C4 hydrocarbon fraction and/or the C5-C6 light gasoline fraction are introduced before the introduction of the low-grade heavy oil into the feed position of the fast fluidized bed; and/or
The C4 hydrocarbon fraction and/or the C5-C6 light gasoline fraction are introduced into the bottom of a turbulent fluidized bed.
12. The method of claim 1, wherein the method further comprises: supplementing a catalyst into the turbulent fluidized bed to perform the second catalytic cracking reaction together with the first reaction product and the semi-spent catalyst; wherein the carbon content of the supplemented catalyst is 0-1.0 wt.%.
13. The process of claim 12, wherein the make-up catalyst comprises 0 to 50 wt% of the total circulating amount of fast fluidized bed and turbulent fluidized bed catalyst.
14. The process of claim 12 wherein the make-up catalyst comprises 5 to 30 wt% of the total circulating amount of fast fluidized bed and turbulent fluidized bed catalyst.
15. A catalytic cracking system comprises a fast fluidized bed, a turbulent fluidized bed, an oil agent separation device, a reaction product separation device and a regenerator;
said turbulent fluidized bed being in fluid communication with a fast fluidized bed and said fast fluidized bed being upstream of said turbulent fluidized bed in the direction of flow of the reaction materials;
the fast fluidized bed is provided with a catalyst inlet at the bottom and an inferior heavy oil inlet at the lower part, the turbulent fluidized bed is provided with an oil agent outlet at the top, the oil agent separation equipment is provided with an oil agent inlet, a catalyst outlet and a reaction product outlet, the reaction product separation equipment is provided with a reaction product inlet, a dry gas outlet, a liquefied gas outlet, a pyrolysis gasoline outlet, a pyrolysis diesel oil outlet and a pyrolysis heavy oil outlet, and the regenerator is provided with a catalyst inlet and a catalyst outlet;
the catalyst inlet of the fast fluidized bed is communicated with the catalyst outlet of the regenerator in a fluid mode, the oil agent outlet of the turbulent fluidized bed is communicated with the oil agent inlet of the oil agent separation device in a fluid mode, the reaction product outlet of the oil agent separation device is communicated with the reaction product inlet of the reaction product separation device in a fluid mode, and the catalyst outlet of the oil agent separation device is communicated with the catalyst inlet of the regenerator in a fluid mode;
the catalyst in the fast fluidized bed is distributed in a full dense phase, and the distribution of the axial solid fraction epsilon in the fast fluidized bed meets the following requirements: epsilon is more than or equal to 0.1 and less than or equal to 0.2; the turbulent fluidized bed catalyst replenishment position is at a height of 1/3; the catalyst is adjusted to be in full dense phase distribution by adjusting the linear velocity of gas in the fast fluidized bed and arranging a gas distributor at the feeding position of the fast fluidized bed.
16. The system of claim 15, wherein the turbulent fluidized bed is disposed coaxially above and below the fast fluidized bed and the turbulent fluidized bed is above the fast fluidized bed.
17. The system of claim 15, wherein the ratio of the inner diameter of the fast fluidized bed to the inner diameter of the turbulent fluidized bed is (0.5-0.9): 1.
CN201810779818.6A 2018-07-16 2018-07-16 Method and system for catalytic cracking by adopting fast fluidized bed and turbulent fluidized bed Active CN110724552B (en)

Priority Applications (1)

Application Number Priority Date Filing Date Title
CN201810779818.6A CN110724552B (en) 2018-07-16 2018-07-16 Method and system for catalytic cracking by adopting fast fluidized bed and turbulent fluidized bed

Applications Claiming Priority (1)

Application Number Priority Date Filing Date Title
CN201810779818.6A CN110724552B (en) 2018-07-16 2018-07-16 Method and system for catalytic cracking by adopting fast fluidized bed and turbulent fluidized bed

Publications (2)

Publication Number Publication Date
CN110724552A CN110724552A (en) 2020-01-24
CN110724552B true CN110724552B (en) 2021-05-14

Family

ID=69216906

Family Applications (1)

Application Number Title Priority Date Filing Date
CN201810779818.6A Active CN110724552B (en) 2018-07-16 2018-07-16 Method and system for catalytic cracking by adopting fast fluidized bed and turbulent fluidized bed

Country Status (1)

Country Link
CN (1) CN110724552B (en)

Citations (2)

* Cited by examiner, † Cited by third party
Publication number Priority date Publication date Assignee Title
CN1760342A (en) * 2005-10-12 2006-04-19 洛阳石化设备研究所 Catalytic cracking method and equipment for producing more propylene
CN101942340A (en) * 2009-07-09 2011-01-12 中国石油化工股份有限公司 Method for preparing light fuel oil and propylene from inferior raw material oil

Patent Citations (2)

* Cited by examiner, † Cited by third party
Publication number Priority date Publication date Assignee Title
CN1760342A (en) * 2005-10-12 2006-04-19 洛阳石化设备研究所 Catalytic cracking method and equipment for producing more propylene
CN101942340A (en) * 2009-07-09 2011-01-12 中国石油化工股份有限公司 Method for preparing light fuel oil and propylene from inferior raw material oil

Also Published As

Publication number Publication date
CN110724552A (en) 2020-01-24

Similar Documents

Publication Publication Date Title
CN110724550B (en) A kind of method and system for catalytic cracking using fast fluidized bed
CN110724560B (en) A catalytic cracking method and system for producing propylene and light aromatics
CN110724553B (en) A method and system for catalytic cracking using a dilute phase conveying bed and a fast fluidized bed
CN102453500A (en) Catalytic cracking method and equipment for hydrocarbon oil
CN110724561B (en) Catalytic cracking method and system for producing propylene and light aromatic hydrocarbon
CN112538383B (en) Reactor and system suitable for catalytic conversion of hydrocarbon oil
CN112536001B (en) A catalytic conversion reactor and system
CN110724558B (en) Catalytic cracking method and system for producing propylene and high-octane gasoline
CN112536003B (en) Catalytic conversion reactor and system suitable for preparing olefin and aromatic hydrocarbon
CN110724552B (en) Method and system for catalytic cracking by adopting fast fluidized bed and turbulent fluidized bed
CN110724554B (en) A method and system for catalytic cracking using a fast fluidized bed and a dilute phase conveying bed
CN110724551B (en) A method and system for catalytic cracking using a dilute-phase transported bed and a turbulent fluidized bed
CN110724559B (en) A catalytic cracking method and system for producing propylene and high-octane gasoline
CN119709255B (en) Methods and systems for direct catalytic cracking of crude oil to improve thermal balance
CN114763488B (en) A catalytic conversion method for preparing low-carbon olefins
CN110724562B (en) A catalytic cracking method and system for producing propylene and high-octane gasoline
RU2793541C2 (en) Method, reactor and system for catalytic cracking of liquid oil products
RU2797245C2 (en) Method, reactor and system for catalytic cracking of liquid oil products

Legal Events

Date Code Title Description
PB01 Publication
PB01 Publication
SE01 Entry into force of request for substantive examination
SE01 Entry into force of request for substantive examination
GR01 Patent grant
GR01 Patent grant