CN110707801A - Ring main unit intelligent dehumidifying device - Google Patents
Ring main unit intelligent dehumidifying device Download PDFInfo
- Publication number
- CN110707801A CN110707801A CN201911135281.0A CN201911135281A CN110707801A CN 110707801 A CN110707801 A CN 110707801A CN 201911135281 A CN201911135281 A CN 201911135281A CN 110707801 A CN110707801 A CN 110707801A
- Authority
- CN
- China
- Prior art keywords
- main unit
- ring main
- plate
- unit body
- solar panel
- Prior art date
- Legal status (The legal status is an assumption and is not a legal conclusion. Google has not performed a legal analysis and makes no representation as to the accuracy of the status listed.)
- Withdrawn
Links
- 238000007791 dehumidification Methods 0.000 claims abstract description 20
- 238000010248 power generation Methods 0.000 claims abstract description 10
- 238000009434 installation Methods 0.000 claims description 17
- 230000005611 electricity Effects 0.000 abstract description 2
- 238000010586 diagram Methods 0.000 description 2
- 238000000034 method Methods 0.000 description 2
- 230000009286 beneficial effect Effects 0.000 description 1
- 230000005540 biological transmission Effects 0.000 description 1
- 238000004891 communication Methods 0.000 description 1
- 230000007547 defect Effects 0.000 description 1
- 230000000694 effects Effects 0.000 description 1
- 239000002184 metal Substances 0.000 description 1
- 230000004048 modification Effects 0.000 description 1
- 238000012986 modification Methods 0.000 description 1
- 229910052755 nonmetal Inorganic materials 0.000 description 1
Images
Classifications
-
- H—ELECTRICITY
- H02—GENERATION; CONVERSION OR DISTRIBUTION OF ELECTRIC POWER
- H02J—CIRCUIT ARRANGEMENTS OR SYSTEMS FOR SUPPLYING OR DISTRIBUTING ELECTRIC POWER; SYSTEMS FOR STORING ELECTRIC ENERGY
- H02J7/00—Circuit arrangements for charging or depolarising batteries or for supplying loads from batteries
- H02J7/34—Parallel operation in networks using both storage and other DC sources, e.g. providing buffering
- H02J7/35—Parallel operation in networks using both storage and other DC sources, e.g. providing buffering with light sensitive cells
-
- G—PHYSICS
- G05—CONTROLLING; REGULATING
- G05D—SYSTEMS FOR CONTROLLING OR REGULATING NON-ELECTRIC VARIABLES
- G05D22/00—Control of humidity
- G05D22/02—Control of humidity characterised by the use of electric means
-
- H—ELECTRICITY
- H02—GENERATION; CONVERSION OR DISTRIBUTION OF ELECTRIC POWER
- H02B—BOARDS, SUBSTATIONS OR SWITCHING ARRANGEMENTS FOR THE SUPPLY OR DISTRIBUTION OF ELECTRIC POWER
- H02B1/00—Frameworks, boards, panels, desks, casings; Details of substations or switching arrangements
- H02B1/26—Casings; Parts thereof or accessories therefor
- H02B1/28—Casings; Parts thereof or accessories therefor dustproof, splashproof, drip-proof, waterproof or flameproof
-
- H—ELECTRICITY
- H02—GENERATION; CONVERSION OR DISTRIBUTION OF ELECTRIC POWER
- H02S—GENERATION OF ELECTRIC POWER BY CONVERSION OF INFRARED RADIATION, VISIBLE LIGHT OR ULTRAVIOLET LIGHT, e.g. USING PHOTOVOLTAIC [PV] MODULES
- H02S20/00—Supporting structures for PV modules
- H02S20/30—Supporting structures being movable or adjustable, e.g. for angle adjustment
-
- Y—GENERAL TAGGING OF NEW TECHNOLOGICAL DEVELOPMENTS; GENERAL TAGGING OF CROSS-SECTIONAL TECHNOLOGIES SPANNING OVER SEVERAL SECTIONS OF THE IPC; TECHNICAL SUBJECTS COVERED BY FORMER USPC CROSS-REFERENCE ART COLLECTIONS [XRACs] AND DIGESTS
- Y02—TECHNOLOGIES OR APPLICATIONS FOR MITIGATION OR ADAPTATION AGAINST CLIMATE CHANGE
- Y02E—REDUCTION OF GREENHOUSE GAS [GHG] EMISSIONS, RELATED TO ENERGY GENERATION, TRANSMISSION OR DISTRIBUTION
- Y02E10/00—Energy generation through renewable energy sources
- Y02E10/50—Photovoltaic [PV] energy
Landscapes
- Engineering & Computer Science (AREA)
- Power Engineering (AREA)
- Physics & Mathematics (AREA)
- General Physics & Mathematics (AREA)
- Automation & Control Theory (AREA)
- Air Conditioning Control Device (AREA)
Abstract
本发明公开了一种环网柜智能除湿装置,包括环网柜本体,环网柜本体的顶端固定设置有顶板,顶板顶端的中部活动设置有呈方形的活动板,活动板的顶端设置有呈直角斜面的固定台,固定台上设置有太阳能发电组件,环网柜本体两侧的顶部均设置有排风扇。本发明一种环网柜智能除湿装置,太阳能板工作通过充放电控制器对蓄电池进行充电,再通过逆变器把蓄电池输出的直流电转换成交流电,然后对排风扇、湿度传感器、单片机、光敏传感器和伺服电机进行供电,能够避免城市用电或工业用电出现断电,不能正常对环网柜进行除湿的可能,通过把活动板设置成与顶板转动连接,能够对太阳能板的角度进行调节,使太阳能板进行更高效的发电。
The invention discloses an intelligent dehumidification device for a ring network cabinet, comprising a ring network cabinet body, a top plate is fixedly arranged on the top of the ring network cabinet body, a square movable plate is movably arranged in the middle of the top of the top plate, and a square movable plate is arranged at the top of the movable plate. The fixed platform with right-angled slope is provided with solar power generation components, and the tops of both sides of the ring main unit body are provided with exhaust fans. The invention is an intelligent dehumidification device for a ring network cabinet. The solar panel works to charge the battery through a charge and discharge controller, and then converts the direct current output from the battery into alternating current through the inverter. Servo motor for power supply can avoid the possibility of power failure in urban or industrial electricity, and the possibility of dehumidification of the ring main unit cannot be carried out normally. Solar panels for more efficient power generation.
Description
技术领域technical field
本发明涉及一种除湿装置,具体为一种环网柜智能除湿装置。The invention relates to a dehumidification device, in particular to an intelligent dehumidification device for a ring network cabinet.
背景技术Background technique
环网柜是一组输配电气设备,装在金属或非金属绝缘柜体内或做成拼装间隔式环网供电单元的电气设备,其核心部分采用负荷开关和熔断器,具有结构简单、体积小、价格低、可提高供电参数和性能以及供电安全等优点,但是环网柜只有在运行环境温度、湿度适宜的情况下,设备才能正常持久运行。Ring network cabinet is a group of electrical equipment for transmission and distribution, which is installed in metal or non-metal insulating cabinets or made into assembled spaced ring network power supply units. The core part adopts load switch and fuse, which has simple structure and small volume , low price, can improve power supply parameters and performance and power supply security, etc., but the ring network cabinet can only operate normally and lastingly when the operating environment temperature and humidity are suitable.
目前现有的环网柜智能除湿装置,通常都是与工业用电或城市配电相连的,如果发生停电状况,则环网柜内的智能除湿装置则不能进行正常的运转,不能正常的对环网柜进行除湿操作。因此我们对此做出改进,提出一种环网柜智能除湿装置。At present, the existing intelligent dehumidification devices in the ring main unit are usually connected to industrial power or urban power distribution. If a power failure occurs, the intelligent dehumidification device in the ring main unit cannot operate normally, and cannot properly Ring main unit for dehumidification. Therefore, we have improved this and proposed an intelligent dehumidification device for the ring main unit.
发明内容SUMMARY OF THE INVENTION
为解决现有技术存在的缺陷,本发明提供一种环网柜智能除湿装置。In order to solve the defects existing in the prior art, the present invention provides an intelligent dehumidification device for a ring network cabinet.
本发明是以如下技术方案实现的:一种环网柜智能除湿装置,包括环网柜本体,所述环网柜本体的顶端固定设置有顶板,所述顶板顶端的中部活动设置有呈方形的活动板,所述活动板的顶端设置有呈直角斜面的固定台,所述固定台上设置有太阳能发电组件,所述环网柜本体两侧的顶部均设置有排风扇,所述排风扇的进风口处相连通设置有内部为中空的连接板,所述连接板的两端分别与环网柜本体内腔的两端固定连接,且所述连接板远离排风扇的一侧沿竖直方向等距设置有若干个呈倒八字形的吸嘴,所述环网柜本体内腔底端的中部设置有安装盒,所述安装盒的顶端设置有湿度传感器,所述安装盒内腔的顶端设置有单片机,所述环网柜本体内腔的顶端设置有伺服电机。The present invention is realized by the following technical solutions: an intelligent dehumidification device for a ring main unit, comprising a ring main unit body, a top plate is fixedly arranged at the top of the ring main unit body, and a square-shaped A movable plate, the top of the movable plate is provided with a fixed platform with a right-angled slope, and a solar power generation component is arranged on the fixed platform. The tops of the two sides of the ring main unit body are provided with exhaust fans, and the air inlets of the exhaust fans are installed. There is a hollow connecting plate connected to each other, and the two ends of the connecting plate are respectively fixedly connected with the two ends of the inner cavity of the ring main unit, and the side of the connecting plate far away from the exhaust fan is arranged equidistantly along the vertical direction. There are several suction nozzles in the shape of an inverted figure, an installation box is arranged in the middle of the bottom end of the inner cavity of the ring main unit body, a humidity sensor is arranged at the top of the installation box, and a single-chip microcomputer is arranged at the top of the inner cavity of the installation box. The top of the inner cavity of the ring main unit body is provided with a servo motor.
作为本发明的一种优选技术方案,所述太阳能发电组件包括太阳能板、充放电控制器、逆变器和蓄电池,所述太阳能板倾斜设置在固定台上,所述充放电控制器设置在安装盒内腔的底端,所述逆变器和蓄电池分别设置在安装盒顶端位于单片机的两侧。As a preferred technical solution of the present invention, the solar power generation assembly includes a solar panel, a charge-discharge controller, an inverter and a storage battery, the solar panel is obliquely arranged on the fixed platform, and the charge-discharge controller is arranged on the installation At the bottom end of the inner cavity of the box, the inverter and the battery are respectively arranged at the top of the installation box and located on both sides of the single chip microcomputer.
作为本发明的一种优选技术方案,所述太阳能板与充放电控制器电性连接,所述充放电控制器与蓄电池电性连接,所述蓄电池与逆变器电性连接。As a preferred technical solution of the present invention, the solar panel is electrically connected to a charge-discharge controller, the charge-discharge controller is electrically connected to a storage battery, and the storage battery is electrically connected to an inverter.
作为本发明的一种优选技术方案,所述太阳能板的两侧均通过连接块与固定台固定连接,所述太阳能板顶端的中部固定设置有固定块,所述固定块的正面设置有光敏传感器。As a preferred technical solution of the present invention, both sides of the solar panel are fixedly connected to the fixing table through connecting blocks, a fixing block is fixedly arranged in the middle of the top of the solar panel, and a photosensitive sensor is arranged on the front of the fixing block .
作为本发明的一种优选技术方案,所述活动板底端的中部设置有连接轴,所述连接轴通过轴承与顶板转动连接,所述伺服电机的输出端穿过环网柜本体与连接轴固定连接,且所述伺服电机通过两侧设有的固定板与环网柜本体固定连接。As a preferred technical solution of the present invention, the middle of the bottom end of the movable plate is provided with a connecting shaft, the connecting shaft is rotatably connected to the top plate through a bearing, and the output end of the servo motor is fixed to the connecting shaft through the main body of the ring main unit connection, and the servo motor is fixedly connected with the ring main unit body through the fixing plates provided on both sides.
作为本发明的一种优选技术方案,所述单片机与蓄电池电性连接,所述排风扇、湿度传感器、光敏传感器和伺服电机均与单片机电性连接。As a preferred technical solution of the present invention, the single-chip microcomputer is electrically connected to the battery, and the exhaust fan, the humidity sensor, the photosensitive sensor and the servo motor are all electrically connected to the single-chip microcomputer.
作为本发明的一种优选技术方案,所述环网柜本体的底端固定设置有底板,所述底板顶端的四个边角处均贯穿开设有安装孔。As a preferred technical solution of the present invention, the bottom end of the ring main unit body is fixedly provided with a bottom plate, and four corners of the top of the bottom plate are provided with mounting holes.
本发明的有益效果是:该种环网柜智能除湿装置,太阳能板工作通过充放电控制器对蓄电池进行充电,再通过逆变器把蓄电池输出的直流电转换成交流电,然后对排风扇、湿度传感器、单片机、光敏传感器和伺服电机进行供电,能够避免城市用电或工业用电出现断电,不能正常对环网柜进行除湿的可能,通过把活动板设置成与顶板转动连接,能够对太阳能板的角度进行调节,使太阳能板进行更高效的发电,通过在连接板上设有多个吸嘴,能够通过排风扇更全面的对环网柜内不同位置高度的湿气进行抽离。The beneficial effects of the present invention are: in the intelligent dehumidification device of the ring main unit, the solar panel works to charge the battery through the charge and discharge controller, and then converts the direct current output from the battery into alternating current through the inverter, and then the exhaust fan, humidity sensor, The single-chip microcomputer, photosensitive sensor and servo motor supply power, which can avoid the power outage of urban power or industrial power, and the possibility that the ring main unit cannot be dehumidified normally. The angle is adjusted to enable the solar panel to generate electricity more efficiently. By having multiple suction nozzles on the connecting plate, the moisture at different positions and heights in the ring main unit can be extracted more comprehensively through the exhaust fan.
附图说明Description of drawings
附图用来提供对本发明的进一步理解,并且构成说明书的一部分,与本发明的实施例一起用于解释本发明,并不构成对本发明的限制。在附图中:The accompanying drawings are used to provide a further understanding of the present invention, and constitute a part of the specification, and are used to explain the present invention together with the embodiments of the present invention, and do not constitute a limitation to the present invention. In the attached image:
图1是本发明结构示意图;Fig. 1 is the structural representation of the present invention;
图2是本发明内部结构示意图;Fig. 2 is the internal structure schematic diagram of the present invention;
图3是安装盒内部结构示意图。Figure 3 is a schematic diagram of the internal structure of the installation box.
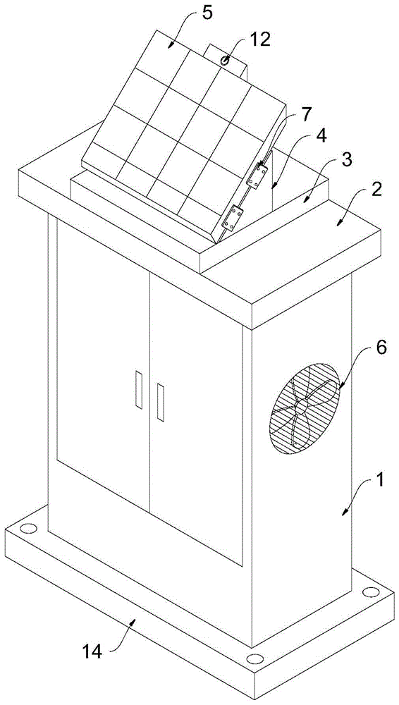
图中:1、环网柜本体;2、顶板;3、活动板;4、固定台;5、太阳能发电组件;501、太阳能板;502、充放电控制器;503、逆变器;504、蓄电池;6、排风扇;7、连接板;8、吸嘴;9、安装盒;10、湿度传感器;11、单片机;12、光敏传感器;13、伺服电机;14、底板。In the figure: 1. Ring main unit body; 2. Top plate; 3. Movable plate; 4. Fixed table; 5. Solar power generation assembly; 501, Solar panel; 502, Charge and discharge controller; Battery; 6. Exhaust fan; 7. Connection board; 8. Suction nozzle; 9. Installation box; 10. Humidity sensor; 11. Single chip; 12. Photosensitive sensor; 13. Servo motor; 14. Bottom plate.
具体实施方式Detailed ways
以下结合附图对本发明的优选实施例进行说明,应当理解,此处所描述的优选实施例仅用于说明和解释本发明,并不用于限定本发明。The preferred embodiments of the present invention will be described below with reference to the accompanying drawings. It should be understood that the preferred embodiments described herein are only used to illustrate and explain the present invention, but not to limit the present invention.
实施例:如图1-3所示,一种环网柜智能除湿装置,包括环网柜本体1,环网柜本体1的顶端固定设置有顶板2,顶板2顶端的中部活动设置有呈方形的活动板3,活动板3的顶端设置有呈直角斜面的固定台4,固定台4上设置有太阳能发电组件5,环网柜本体1两侧的顶部均设置有排风扇6,排风扇6的进风口处相连通设置有内部为中空的连接板7,连接板7的两端分别与环网柜本体1内腔的两端固定连接,且连接板7远离排风扇6的一侧沿竖直方向等距设置有若干个呈倒八字形的吸嘴8,环网柜本体1内腔底端的中部设置有安装盒9,安装盒9的顶端设置有湿度传感器10,安装盒9内腔的顶端设置有单片机11,环网柜本体1内腔的顶端设置有伺服电机13。Example: As shown in Figures 1-3, an intelligent dehumidification device for a ring network cabinet includes a ring
其中,太阳能发电组件5包括太阳能板501、充放电控制器502、逆变器503和蓄电池504,太阳能板501倾斜设置在固定台4上,充放电控制器502设置在安装盒9内腔的底端,逆变器503和蓄电池504分别设置在安装盒9顶端位于单片机11的两侧,太阳能板501与充放电控制器502电性连接,充放电控制器502与蓄电池504电性连接,蓄电池504与逆变器503电性连接,太阳能板501工作通过充放电控制器502对蓄电池504进行充电,通过逆变器503能够对蓄电池504输出的直流电转换成交流电。The solar
其中,太阳能板501的两侧均通过连接块与固定台4固定连接,太阳能板501顶端的中部固定设置有固定块,固定块的正面设置有光敏传感器12,通过设有的光敏传感器12,能够对太阳能板501朝向环境的光照强度进行感应。Wherein, both sides of the
其中,活动板3底端的中部设置有连接轴,连接轴通过轴承与顶板2转动连接,伺服电机13的输出端穿过环网柜本体1与连接轴固定连接,且伺服电机13通过两侧设有的固定板与环网柜本体1固定连接,伺服电机13工作能够带动活动板3进行转动,活动板3转动能够实现对太阳能板501的角度进行调节,使太阳能板501朝向光照强度较强的区域。The middle of the bottom end of the
其中,单片机11与蓄电池504电性连接,排风扇6、湿度传感器10、光敏传感器12和伺服电机13均与单片机11电性连接。The
其中,环网柜本体1的底端固定设置有底板14,底板14顶端的四个边角处均贯穿开设有安装孔,通过外部安装件与安装孔相配合,能够对环网柜本体1的位置进行固定。The bottom end of the ring
工作原理:太阳能板501工作通过充放电控制器502对蓄电池504进行充电,再通过逆变器503把蓄电池504输出的直流电转换成交流电,然后对排风扇6、湿度传感器10、单片机11、光敏传感器12和伺服电机13进行供电,湿度传感器10工作能够对环网柜本体1内的湿度进行检测并传递给单片机11,当环网柜本体1内湿度高于一定数值时,单片机11控制两个排风扇6工作,排风扇6工作并通过吸嘴8对环网柜本体1内的湿气进行抽离,保证环网柜本体1湿气不会过重,通过设有的光敏传感器12,能够对太阳能板501朝向的光照强度进行检测,并把信号传递给单片机11,当光敏传感器12检测的光照强度较弱时,单片机11控制伺服电机13转动一圈,伺服电机13转动带动活动板3进行转动,活动板3转动实现带动太阳能板501进行转动,在太阳能板501进行转动过程,光敏传感器12检测出多个不同方位的光照强度并传递给单片机11,单片机11对这些数据进行比对,然后再控制伺服电机13转动,把太阳能板501转动至光照强度较高的位置处,使太阳能板501有更好的发电效果,同时蓄电池504还可与外接电源连接,在长时间没有光照条件下可以通过外接电源对蓄电池504进行充电,太阳能板501优选为GHGN-D50WK型光伏板,充放电控制器502优选为CLP01-16型控制器,逆变器503优选为XSL-108000型逆变器,单片机11优选为STC12C5A60S2型单片机,伺服电机13优选为HBS57型电动机,湿度传感器10优选为tc-05b型传感器。Working principle: The
在本发明的描述中,需要说明的是,术语“竖直”、“上”、“下”、“水平”等指示的方位或位置关系为基于附图所示的方位或位置关系,仅是为了便于描述本发明和简化描述,而不是指示或暗示所指的装置或元件必须具有特定的方位、以特定的方位构造和操作,因此不能理解为对本发明的限制。在本发明的描述中,还需要说明的是,除非另有明确的规定和限定,术语“设置”、“安装”、“相连”、“连接”应做广义理解,例如,可以是固定连接,也可以是可拆卸连接,或一体地连接;可以是机械连接,也可以是电连接;可以是直接相连,也可以通过中间媒介间接相连,可以是两个元件内部的连通。对于本领域的普通技术人员而言,可以根据具体情况理解上述术语在本发明中的具体含义。In the description of the present invention, it should be noted that the orientations or positional relationships indicated by the terms "vertical", "upper", "lower", "horizontal", etc. are based on the orientations or positional relationships shown in the drawings, only In order to facilitate the description of the present invention and simplify the description, it is not indicated or implied that the indicated device or element must have a particular orientation, be constructed and operated in a particular orientation, and therefore should not be construed as limiting the present invention. In the description of the present invention, it should also be noted that, unless otherwise expressly specified and limited, the terms "arranged", "installed", "connected" and "connected" should be understood in a broad sense, for example, it may be a fixed connection, It can also be a detachable connection, or an integral connection; it can be a mechanical connection or an electrical connection; it can be a direct connection, or an indirect connection through an intermediate medium, or the internal communication between the two components. For those of ordinary skill in the art, the specific meanings of the above terms in the present invention can be understood according to specific situations.
最后应说明的是:以上所述仅为本发明的优选实施例而已,并不用于限制本发明,尽管参照前述实施例对本发明进行了详细的说明,对于本领域的技术人员来说,其依然可以对前述各实施例所记载的技术方案进行修改,或者对其中部分技术特征进行等同替换。凡在本发明的精神和原则之内,所作的任何修改、等同替换、改进等,均应包含在本发明的保护范围之内。Finally, it should be noted that the above descriptions are only preferred embodiments of the present invention, and are not intended to limit the present invention. Although the present invention has been described in detail with reference to the foregoing embodiments, for those skilled in the art, the The technical solutions described in the foregoing embodiments may be modified, or some technical features thereof may be equivalently replaced. Any modification, equivalent replacement, improvement, etc. made within the spirit and principle of the present invention shall be included within the protection scope of the present invention.
Claims (7)
Priority Applications (1)
| Application Number | Priority Date | Filing Date | Title |
|---|---|---|---|
| CN201911135281.0A CN110707801A (en) | 2019-11-19 | 2019-11-19 | Ring main unit intelligent dehumidifying device |
Applications Claiming Priority (1)
| Application Number | Priority Date | Filing Date | Title |
|---|---|---|---|
| CN201911135281.0A CN110707801A (en) | 2019-11-19 | 2019-11-19 | Ring main unit intelligent dehumidifying device |
Publications (1)
| Publication Number | Publication Date |
|---|---|
| CN110707801A true CN110707801A (en) | 2020-01-17 |
Family
ID=69207338
Family Applications (1)
| Application Number | Title | Priority Date | Filing Date |
|---|---|---|---|
| CN201911135281.0A Withdrawn CN110707801A (en) | 2019-11-19 | 2019-11-19 | Ring main unit intelligent dehumidifying device |
Country Status (1)
| Country | Link |
|---|---|
| CN (1) | CN110707801A (en) |
Cited By (2)
| Publication number | Priority date | Publication date | Assignee | Title |
|---|---|---|---|---|
| CN112003170A (en) * | 2020-09-03 | 2020-11-27 | 国家电网有限公司 | Fireproof monitoring device for transformer substation |
| CN112902316A (en) * | 2021-01-15 | 2021-06-04 | 佛山科学技术学院 | Indoor dehumidification water self-circulation device |
Citations (6)
| Publication number | Priority date | Publication date | Assignee | Title |
|---|---|---|---|---|
| CN203312660U (en) * | 2013-06-06 | 2013-11-27 | 安徽合电正泰电气成套设备有限公司 | Solar energy dehumidifying device used for ring network equipment |
| CN205792416U (en) * | 2016-06-29 | 2016-12-07 | 邓海 | A kind of high-efficiency solar TRT |
| CN207398587U (en) * | 2017-09-21 | 2018-05-22 | 国网宁夏电力公司吴忠供电公司 | A kind of looped network cabinet intelligent air draft dehydrating unit |
| CN207732277U (en) * | 2018-01-02 | 2018-08-14 | 国网内蒙古东部电力有限公司呼伦贝尔供电公司 | A kind of Multifunctional power distribution cabinet |
| CN108512044A (en) * | 2018-02-06 | 2018-09-07 | 国网江苏省电力有限公司宿迁供电分公司 | A kind of wind light mutual complementing power supply looped network cabinet dehumidification device |
| CN211701590U (en) * | 2019-11-19 | 2020-10-16 | 徐州瓦特电气科技有限公司 | Intelligent dehumidifying device of ring main unit |
-
2019
- 2019-11-19 CN CN201911135281.0A patent/CN110707801A/en not_active Withdrawn
Patent Citations (6)
| Publication number | Priority date | Publication date | Assignee | Title |
|---|---|---|---|---|
| CN203312660U (en) * | 2013-06-06 | 2013-11-27 | 安徽合电正泰电气成套设备有限公司 | Solar energy dehumidifying device used for ring network equipment |
| CN205792416U (en) * | 2016-06-29 | 2016-12-07 | 邓海 | A kind of high-efficiency solar TRT |
| CN207398587U (en) * | 2017-09-21 | 2018-05-22 | 国网宁夏电力公司吴忠供电公司 | A kind of looped network cabinet intelligent air draft dehydrating unit |
| CN207732277U (en) * | 2018-01-02 | 2018-08-14 | 国网内蒙古东部电力有限公司呼伦贝尔供电公司 | A kind of Multifunctional power distribution cabinet |
| CN108512044A (en) * | 2018-02-06 | 2018-09-07 | 国网江苏省电力有限公司宿迁供电分公司 | A kind of wind light mutual complementing power supply looped network cabinet dehumidification device |
| CN211701590U (en) * | 2019-11-19 | 2020-10-16 | 徐州瓦特电气科技有限公司 | Intelligent dehumidifying device of ring main unit |
Non-Patent Citations (1)
| Title |
|---|
| 王增豪: "《途殊道同——上海第二工业大学创新实践巡礼》", 31 August 2010, 同济大学出版社, pages: 41 - 42 * |
Cited By (2)
| Publication number | Priority date | Publication date | Assignee | Title |
|---|---|---|---|---|
| CN112003170A (en) * | 2020-09-03 | 2020-11-27 | 国家电网有限公司 | Fireproof monitoring device for transformer substation |
| CN112902316A (en) * | 2021-01-15 | 2021-06-04 | 佛山科学技术学院 | Indoor dehumidification water self-circulation device |
Similar Documents
| Publication | Publication Date | Title |
|---|---|---|
| CN204424750U (en) | A kind of low-voltage distribution cabinet of improvement | |
| CN211701590U (en) | Intelligent dehumidifying device of ring main unit | |
| CN110707801A (en) | Ring main unit intelligent dehumidifying device | |
| CN204741185U (en) | Improvement type block terminal with dustproof function | |
| CN112350180B (en) | Emergent automatic management device of electric power | |
| CN113937398B (en) | A novel energy storage inverter integrated energy storage battery and working method thereof | |
| CN107517547A (en) | The rack that a kind of open air uses | |
| CN210608090U (en) | Heat dissipation type high-low voltage power distribution cabinet | |
| CN210350585U (en) | Box-type substation | |
| CN204205327U (en) | A kind of alternating current low-voltage distribution cabinet | |
| CN214380733U (en) | Wind-solar complementary recyclable power supply type air conditioner auxiliary device | |
| CN108879388A (en) | A kind of solar switch cabinet and its application method | |
| CN214304166U (en) | Small wind power generation device | |
| CN210723740U (en) | Environment-friendly energy-saving low-voltage switch cabinet | |
| CN213212849U (en) | Practical integrated power supply | |
| CN204633182U (en) | The intelligent convergence control cabinet of a kind of intelligent substation with function of temperature control | |
| CN209844365U (en) | An energy-saving and heat-dissipating high and low voltage complete power distribution cabinet | |
| CN209749015U (en) | Outdoor electric cabinet | |
| CN211296199U (en) | Quick plug-in reactive power compensation device | |
| CN114122992A (en) | Radiating automatic control box of electronic automation control | |
| CN208839337U (en) | A PT cabinet dehumidification device | |
| CN207796852U (en) | A marble lamp with lifting function | |
| CN112787583A (en) | Solar photovoltaic two-dimensional braking tracking control system | |
| CN207691235U (en) | A kind of integrated photovoltaic power generator | |
| CN222860881U (en) | Energy-saving emergency system of energy-storage elevator |
Legal Events
| Date | Code | Title | Description |
|---|---|---|---|
| PB01 | Publication | ||
| PB01 | Publication | ||
| SE01 | Entry into force of request for substantive examination | ||
| SE01 | Entry into force of request for substantive examination | ||
| WW01 | Invention patent application withdrawn after publication |
Application publication date: 20200117 |
|
| WW01 | Invention patent application withdrawn after publication |
