CN110666027A - Multifunctional gate type hydraulic machine - Google Patents
Multifunctional gate type hydraulic machine Download PDFInfo
- Publication number
- CN110666027A CN110666027A CN201911081614.6A CN201911081614A CN110666027A CN 110666027 A CN110666027 A CN 110666027A CN 201911081614 A CN201911081614 A CN 201911081614A CN 110666027 A CN110666027 A CN 110666027A
- Authority
- CN
- China
- Prior art keywords
- base
- die
- type hydraulic
- heat dissipation
- solder wire
- Prior art date
- Legal status (The legal status is an assumption and is not a legal conclusion. Google has not performed a legal analysis and makes no representation as to the accuracy of the status listed.)
- Pending
Links
- 230000017525 heat dissipation Effects 0.000 claims description 18
- 239000000872 buffer Substances 0.000 claims description 9
- 230000006978 adaptation Effects 0.000 claims 1
- 229910000679 solder Inorganic materials 0.000 abstract 8
- ATJFFYVFTNAWJD-UHFFFAOYSA-N Tin Chemical compound [Sn] ATJFFYVFTNAWJD-UHFFFAOYSA-N 0.000 abstract 5
- 238000004804 winding Methods 0.000 abstract 3
- 230000003064 anti-oxidating effect Effects 0.000 abstract 2
- 230000007797 corrosion Effects 0.000 abstract 1
- 238000005260 corrosion Methods 0.000 abstract 1
- 238000004080 punching Methods 0.000 description 18
- 238000006073 displacement reaction Methods 0.000 description 5
- 238000000034 method Methods 0.000 description 5
- 230000000694 effects Effects 0.000 description 4
- 238000010586 diagram Methods 0.000 description 3
- 239000000463 material Substances 0.000 description 3
- 238000000465 moulding Methods 0.000 description 3
- 238000003825 pressing Methods 0.000 description 3
- 239000002994 raw material Substances 0.000 description 3
- 239000006173 Good's buffer Substances 0.000 description 2
- 229910000831 Steel Inorganic materials 0.000 description 2
- 239000007788 liquid Substances 0.000 description 2
- 239000007769 metal material Substances 0.000 description 2
- 238000012986 modification Methods 0.000 description 2
- 230000004048 modification Effects 0.000 description 2
- 239000010959 steel Substances 0.000 description 2
- 230000009286 beneficial effect Effects 0.000 description 1
- 238000001816 cooling Methods 0.000 description 1
- 238000013461 design Methods 0.000 description 1
- 238000005242 forging Methods 0.000 description 1
- 238000012856 packing Methods 0.000 description 1
- 238000006467 substitution reaction Methods 0.000 description 1
- 238000012546 transfer Methods 0.000 description 1
- 238000009423 ventilation Methods 0.000 description 1
- XLYOFNOQVPJJNP-UHFFFAOYSA-N water Substances O XLYOFNOQVPJJNP-UHFFFAOYSA-N 0.000 description 1
Images
Classifications
-
- B—PERFORMING OPERATIONS; TRANSPORTING
- B21—MECHANICAL METAL-WORKING WITHOUT ESSENTIALLY REMOVING MATERIAL; PUNCHING METAL
- B21D—WORKING OR PROCESSING OF SHEET METAL OR METAL TUBES, RODS OR PROFILES WITHOUT ESSENTIALLY REMOVING MATERIAL; PUNCHING METAL
- B21D28/00—Shaping by press-cutting; Perforating
- B21D28/02—Punching blanks or articles with or without obtaining scrap; Notching
- B21D28/04—Centering the work; Positioning the tools
-
- B—PERFORMING OPERATIONS; TRANSPORTING
- B21—MECHANICAL METAL-WORKING WITHOUT ESSENTIALLY REMOVING MATERIAL; PUNCHING METAL
- B21D—WORKING OR PROCESSING OF SHEET METAL OR METAL TUBES, RODS OR PROFILES WITHOUT ESSENTIALLY REMOVING MATERIAL; PUNCHING METAL
- B21D28/00—Shaping by press-cutting; Perforating
- B21D28/02—Punching blanks or articles with or without obtaining scrap; Notching
- B21D28/20—Applications of drives for reducing noise or wear
-
- B—PERFORMING OPERATIONS; TRANSPORTING
- B21—MECHANICAL METAL-WORKING WITHOUT ESSENTIALLY REMOVING MATERIAL; PUNCHING METAL
- B21D—WORKING OR PROCESSING OF SHEET METAL OR METAL TUBES, RODS OR PROFILES WITHOUT ESSENTIALLY REMOVING MATERIAL; PUNCHING METAL
- B21D37/00—Tools as parts of machines covered by this subclass
- B21D37/16—Heating or cooling
-
- B—PERFORMING OPERATIONS; TRANSPORTING
- B30—PRESSES
- B30B—PRESSES IN GENERAL
- B30B1/00—Presses, using a press ram, characterised by the features of the drive therefor, pressure being transmitted directly, or through simple thrust or tension members only, to the press ram or platen
- B30B1/32—Presses, using a press ram, characterised by the features of the drive therefor, pressure being transmitted directly, or through simple thrust or tension members only, to the press ram or platen by plungers under fluid pressure
-
- B—PERFORMING OPERATIONS; TRANSPORTING
- B30—PRESSES
- B30B—PRESSES IN GENERAL
- B30B15/00—Details of, or accessories for, presses; Auxiliary measures in connection with pressing
- B30B15/007—Means for maintaining the press table, the press platen or the press ram against tilting or deflection
-
- B—PERFORMING OPERATIONS; TRANSPORTING
- B30—PRESSES
- B30B—PRESSES IN GENERAL
- B30B15/00—Details of, or accessories for, presses; Auxiliary measures in connection with pressing
- B30B15/0076—Noise or vibration isolation means
-
- B—PERFORMING OPERATIONS; TRANSPORTING
- B30—PRESSES
- B30B—PRESSES IN GENERAL
- B30B15/00—Details of, or accessories for, presses; Auxiliary measures in connection with pressing
- B30B15/34—Heating or cooling presses or parts thereof
Landscapes
- Engineering & Computer Science (AREA)
- Mechanical Engineering (AREA)
- Physics & Mathematics (AREA)
- Fluid Mechanics (AREA)
- Press Drives And Press Lines (AREA)
Abstract
本发明公开了一种多功能门式液压机,包括绕线辊、圆盘、焊锡丝,所述圆盘固定在绕线辊的左右两侧,且所述圆盘的直径为100mm,所述焊锡丝缠绕在绕线辊上,所述焊锡丝外部设有焊锡丝外壳,所述焊锡丝的内部设有内芯,所述内芯的外表面设有防氧化层,所述防氧化层的外璧上设有第二锡层,所述第二锡层外部设有第一锡层,所述第一锡层和焊锡丝之间涂抹有耐腐蚀层,本发明通过在焊锡丝的外表面与焊锡丝外壳之间设有设有若干个凸型长条,能够增加锡丝本体的含量,同时在将焊锡丝内部设有若干个连接柱,通过将每个连接柱和内芯外表面固定连接,可以提高本焊锡丝的稳定性和抗压性。
The invention discloses a multifunctional gantry hydraulic press, comprising a winding roller, a disc and a solder wire. The disc is fixed on the left and right sides of the winding roller, and the diameter of the disc is 100mm. The wire is wound on the winding roller, the outer part of the solder wire is provided with a solder wire shell, the inner part of the solder wire is provided with an inner core, the outer surface of the inner core is provided with an anti-oxidation layer, and the outer surface of the anti-oxidation layer is provided. A second tin layer is arranged on the wall, a first tin layer is arranged outside the second tin layer, and a corrosion-resistant layer is smeared between the first tin layer and the solder wire. There are several convex strips between the solder wire shells, which can increase the content of the tin wire body. At the same time, there are several connection posts inside the solder wire, and each connection post is fixedly connected to the outer surface of the inner core. , can improve the stability and pressure resistance of the solder wire.
Description
技术领域technical field
本发明涉及一种液压机装置,特别涉及一种多功能门式液压机,属于机械设备技术领域。The invention relates to a hydraulic press device, in particular to a multifunctional gantry hydraulic press, which belongs to the technical field of mechanical equipment.
背景技术Background technique
门式液压机是一种以液体为工作介质,用来传递能量以实现各种工艺的机器。液压机除用于锻压成形外,也可用于矫正、压装、打包、压块和压板等。液压机包括水压机和油压机。以水基液体为工作介质的称为水压机,以油为工作介质的称为油压机。The gantry hydraulic press is a machine that uses liquid as the working medium to transfer energy to realize various processes. In addition to forging and forming, hydraulic presses can also be used for straightening, pressing, packing, pressing blocks and pressing plates. Hydraulic presses include hydraulic presses and hydraulic presses. The water-based liquid as the working medium is called a hydraulic press, and the oil as the working medium is called a hydraulic press.
现有的冲裁模具都会用到液压机工作,然而现在的液压机在冲压或冲裁时,无法解决冲裁模具因为下落时出现位移偏差,不具有精准定位功能,导致冲裁凸模定位不准而压坏模具的问题,且现在的冲裁模具原料成型过程中产生的热量无法及时排出,导致模具长时间受高温影响,从而影响模具的使用寿命,且冲裁过后,不能实现对产品进行快速卸料,给使用带来不便。The existing punching dies all use hydraulic presses. However, the current hydraulic press cannot solve the problem of the displacement deviation of the punching die when it falls, and does not have a precise positioning function, resulting in inaccurate positioning of the punching punch. The problem of crushing the mold, and the heat generated during the forming process of the current blanking mold raw materials cannot be discharged in time, resulting in the mold being affected by high temperature for a long time, thus affecting the service life of the mold, and the product cannot be quickly unloaded after blanking. material, which brings inconvenience to use.
发明内容SUMMARY OF THE INVENTION
本发明提供一种多功能门式液压机,用于解决背景技术中提出的问题。The present invention provides a multifunctional gantry hydraulic press for solving the problems raised in the background art.
为了解决上述技术问题,本发明提供了如下的技术方案:In order to solve the above-mentioned technical problems, the present invention provides the following technical solutions:
本发明一种多功能门式液压机,包括基座、移动轮、工作台、立柱和顶板,所述基座的底端两侧均安装有移动轮,所述基座上端两侧均固定安装有立柱,两个所述立柱的顶端固定安装有顶板,所述顶板的中部安装有液压缸,一个所述立柱的外壁上端安装有支撑座,所述支撑座上固定安装有液压机,所述液压机和液压缸之间固定连接有液压管路。The present invention is a multifunctional gantry hydraulic press, comprising a base, a moving wheel, a workbench, a column and a top plate, the moving wheels are installed on both sides of the bottom end of the base, and the two sides of the upper end of the base are fixedly installed with The top of the two uprights is fixedly installed with a top plate, the middle of the top plate is installed with a hydraulic cylinder, the upper end of the outer wall of one of the uprights is installed with a support seat, the support seat is fixedly installed with a hydraulic press, the hydraulic press and the A hydraulic pipeline is fixedly connected between the hydraulic cylinders.
作为本发明的一种优选技术方案,所述液压缸的一端连接有液压杆,且液压杆贯穿顶板的中部固定连接有升降板,所述升降板的两端均固定连接有滑块。As a preferred technical solution of the present invention, a hydraulic rod is connected to one end of the hydraulic cylinder, and a lifting plate is fixedly connected to the hydraulic rod through the middle of the top plate, and sliding blocks are fixedly connected to both ends of the lifting plate.
作为本发明的一种优选技术方案,两个所述立柱的内侧壁上均开设有滑槽,所述滑块滑动安装在滑槽内。As a preferred technical solution of the present invention, a chute is provided on the inner side walls of the two uprights, and the slider is slidably installed in the chute.
作为本发明的一种优选技术方案,所述升降板的底表面中部固定安装有缓冲弹簧,所述缓冲弹簧的底端固定安装有上模座,所述上模座的底端一体设有凸模。As a preferred technical solution of the present invention, a buffer spring is fixedly installed in the middle of the bottom surface of the lifting plate, an upper die seat is fixedly installed at the bottom end of the buffer spring, and the bottom end of the upper die seat is integrally provided with a convex mold.
作为本发明的一种优选技术方案,所述基座的上表面设有工作台,所述工作台的上表面设有下模座,所述下模座上开设有凹模,所述凸模和凹模相适配。As a preferred technical solution of the present invention, the upper surface of the base is provided with a worktable, the upper surface of the worktable is provided with a lower die base, the lower die base is provided with a concave die, and the convex die is provided on the upper surface of the base. Compatible with the die.
作为本发明的一种优选技术方案,所述上模座中部设有散热机构,所述散热机构包括散热腔和空气流通槽。As a preferred technical solution of the present invention, a heat dissipation mechanism is provided in the middle of the upper mold base, and the heat dissipation mechanism includes a heat dissipation cavity and an air circulation groove.
本发明所达到的有益效果是:The beneficial effects achieved by the present invention are:
1、本发明结构简单,操作方便,通过在顶板内壁两侧设有滑槽和滑块,使得升降板可以缓和的下降,同时通过在升降板和上模座之间连接有缓冲弹簧,使得上模座下压时,起到很好的缓冲,从而提高冲压效果和质量,通过在基座底端两侧增加了移动轮的设计,使机器移动跟搬运更加方便、快捷.1. The present invention has a simple structure and is easy to operate. By providing a chute and a slider on both sides of the inner wall of the top plate, the lifting plate can be lowered gently. When the die base is pressed down, it plays a very good buffer, thereby improving the punching effect and quality. By adding the design of moving wheels on both sides of the bottom end of the base, the movement and handling of the machine are more convenient and fast.
2、本发明通过在两个立柱的内侧壁上开设有滑槽,使得液压缸驱动上模座下移时,通过升降板两端的滑块可在滑槽内滑动,从而保证模具上的冲裁凸模可以准确的进入冲型腔中,避免冲裁模具在下落时出现位移偏差的情况,解决了以往的冲裁模具因为下落时出现位移偏差,导致冲裁凸模定位不准而压坏下模座的问题,同时通过滑槽和滑块的配合起到了为冲裁凸模精准定位的效果,提高了冲模的精确度。2. In the present invention, a chute is provided on the inner side walls of the two uprights, so that when the hydraulic cylinder drives the upper die base to move down, the sliders at both ends of the lifting plate can slide in the chute, thereby ensuring the punching on the die. The punch can accurately enter the punching cavity to avoid the displacement deviation of the punching die when it falls, and solve the problem of the displacement deviation of the previous punching die when it falls, resulting in inaccurate positioning of the punching punch and crushing the lower part. At the same time, through the cooperation of the chute and the slider, the effect of precise positioning of the punching die is achieved, and the accuracy of the punching die is improved.
3、本发明通过在上模座内设有散热机构,通过设置的散热腔和空气流通槽的配合使用,实现对物料的快速散热,增加成型速度,通过将凸模采用金属材料透气钢制成,使得原料在成型过程中产生的热量可以快速散去,提高了脱模速度,同时延长了模具的使用寿命,保证冲击强度的同时,提升了凸模与型腔之间的耐磨性能,延长了使用寿命。3. In the present invention, a heat dissipation mechanism is provided in the upper die base, and the heat dissipation cavity and the air circulation groove are used together to achieve rapid heat dissipation of the material and increase the forming speed. The punch is made of metal material breathable steel. , so that the heat generated by the raw materials during the molding process can be quickly dissipated, which increases the demolding speed, prolongs the service life of the mold, ensures the impact strength, and improves the wear resistance between the punch and the cavity. service life.
附图说明Description of drawings
附图用来提供对本发明的进一步理解,并且构成说明书的一部分,与本发明的实施例一起用于解释本发明,并不构成对本发明的限制。在附图中:The accompanying drawings are used to provide a further understanding of the present invention, and constitute a part of the specification, and are used to explain the present invention together with the embodiments of the present invention, and do not constitute a limitation to the present invention. In the attached image:
图1是本发明的结构示意图;Fig. 1 is the structural representation of the present invention;
图2是本发明上模座结构示意图;Fig. 2 is the structure schematic diagram of the upper die seat of the present invention;
图3是本发明上模座和下模座立体结构示意图;Fig. 3 is the three-dimensional structure schematic diagram of the upper die base and the lower die base of the present invention;
图4是本发明散热机构结构示意图。FIG. 4 is a schematic structural diagram of the heat dissipation mechanism of the present invention.
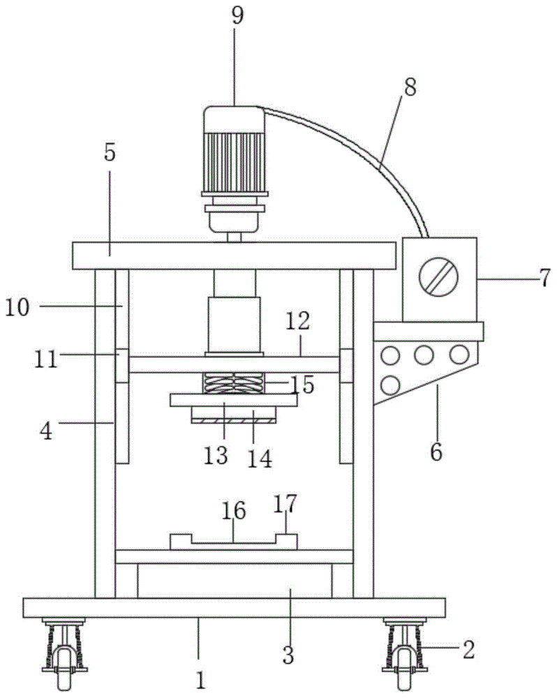
图中:1、基座;2、移动轮;3、工作台;4、立柱;5、顶板;6、支撑座;7、液压机;8、液压管路;9、液压缸;10、滑槽;11、滑块;12、升降板;13、上模座;14、凸模;15、缓冲弹簧;16、凹模;17、下模座;18、空气流通槽;19、散热机构;20、散热腔。In the figure: 1. Base; 2. Moving wheel; 3. Workbench; 4. Upright column; 5. Top plate; 6. Support seat; 7. Hydraulic press; 8. Hydraulic pipeline; 9. Hydraulic cylinder; 10. Chute ;11. Slider; 12. Lifting plate; 13. Upper die base; 14. Punch die; 15. Buffer spring; 16. Concave die; 17. Lower die base; 18. Air circulation slot; 19. Heat dissipation mechanism; 20 , cooling cavity.
具体实施方式Detailed ways
下面将结合本发明实施例中的附图,对本发明实施例中的技术方案进行清楚、完整地描述,显然,所描述的实施例仅仅是本发明一部分实施例,而不是全部的实施例。基于本发明中的实施例,本领域普通技术人员在没有做出创造性劳动前提下所获得的所有其他实施例,都属于本发明保护的范围。The technical solutions in the embodiments of the present invention will be clearly and completely described below with reference to the accompanying drawings in the embodiments of the present invention. Obviously, the described embodiments are only a part of the embodiments of the present invention, but not all of the embodiments. Based on the embodiments of the present invention, all other embodiments obtained by those of ordinary skill in the art without creative efforts shall fall within the protection scope of the present invention.
实施例:如图1-4所示,一种多功能门式液压机,包括基座1、移动轮2、工作台3、立柱4和顶板5,所述基座1的底端两侧均安装有移动轮2,所述基座1上端两侧均固定安装有立柱4,两个所述立柱4的顶端固定安装有顶板5,所述顶板5的中部安装有液压缸9,一个所述立柱4的外壁上端安装有支撑座6,所述支撑座6上固定安装有液压机7,所述液压机7和液压缸9之间固定连接有液压管路8。Example: As shown in Figures 1-4, a multifunctional gantry hydraulic press includes a
所述液压缸9的一端连接有液压杆,且液压杆贯穿顶板5的中部固定连接有升降板12,所述升降板12的两端均固定连接有滑块11,两个所述立柱4的内侧壁上均开设有滑槽10,所述滑块11滑动安装在滑槽10内,所述升降板12的底表面中部固定安装有缓冲弹簧15,所述缓冲弹簧15的底端固定安装有上模座13,所述上模座13的底端一体设有凸模14,所述基座1的上表面设有工作台3,所述工作台3的上表面设有下模座17,所述下模座17上开设有凹模16,所述凸模14和凹模16相适配,所述上模座13中部设有散热机构19,所述散热机构19包括散热腔20和空气流通槽18。One end of the
工作原理:本发明结构简单,操作方便,通过在顶板5内壁两侧设有滑槽10和滑块11,使得升降板12可以缓和的下降,同时通过在升降板12和上模座13之间连接有缓冲弹簧15,使得上模座13下压时,起到很好的缓冲,从而提高冲压效果和质量,通过在基座1底端两侧增加了移动轮2的设计,使机器移动跟搬运更加方便、快捷,本发明通过在两个立柱4的内侧壁上开设有滑槽10,使得液压缸9驱动上模座13下移时,通过升降板12两端的滑块11可在滑槽10内滑动,从而保证模具上的冲裁凸模14可以准确的进入冲型腔中,避免冲裁模具在下落时出现位移偏差的情况,解决了以往的冲裁模具因为下落时出现位移偏差,导致冲裁凸模14定位不准而压坏下模座17的问题,同时通过滑槽10和滑块11的配合起到了为冲裁凸模14精准定位的效果,提高了冲模的精确度,本发明通过在上模座13内设有散热机构19,通过设置的散热腔20和空气流通槽18的配合使用,实现对物料的快速散热,增加成型速度,通过将凸模14采用金属材料透气钢制成,使得原料在成型过程中产生的热量可以快速散去,提高了脱模速度,同时延长了模具的使用寿命,保证冲击强度的同时,提升了凸模14与型腔之间的耐磨性能,延长了使用寿命。Working principle: The present invention has a simple structure and is easy to operate. By providing the
尽管已经示出和描述了本发明的实施例,对于本领域的普通技术人员而言,可以理解在不脱离本发明的原理和精神的情况下可以对这些实施例进行多种变化、修改、替换和变型,本发明的范围由所附权利要求及其等同物限定。Although embodiments of the present invention have been shown and described, it will be understood by those skilled in the art that various changes, modifications, and substitutions can be made in these embodiments without departing from the principle and spirit of the invention and modifications, the scope of the present invention is defined by the appended claims and their equivalents.
Claims (6)
Priority Applications (1)
| Application Number | Priority Date | Filing Date | Title |
|---|---|---|---|
| CN201911081614.6A CN110666027A (en) | 2019-11-07 | 2019-11-07 | Multifunctional gate type hydraulic machine |
Applications Claiming Priority (1)
| Application Number | Priority Date | Filing Date | Title |
|---|---|---|---|
| CN201911081614.6A CN110666027A (en) | 2019-11-07 | 2019-11-07 | Multifunctional gate type hydraulic machine |
Publications (1)
| Publication Number | Publication Date |
|---|---|
| CN110666027A true CN110666027A (en) | 2020-01-10 |
Family
ID=69086322
Family Applications (1)
| Application Number | Title | Priority Date | Filing Date |
|---|---|---|---|
| CN201911081614.6A Pending CN110666027A (en) | 2019-11-07 | 2019-11-07 | Multifunctional gate type hydraulic machine |
Country Status (1)
| Country | Link |
|---|---|
| CN (1) | CN110666027A (en) |
Cited By (3)
| Publication number | Priority date | Publication date | Assignee | Title |
|---|---|---|---|---|
| CN111230019A (en) * | 2020-03-11 | 2020-06-05 | 夏喜明 | Special forging and pressing equipment for coal mine hydraulic support cylinder barrel |
| CN118893862A (en) * | 2024-09-26 | 2024-11-05 | 福建泉州艺佳乐食品有限公司 | A pressing molding machine |
| CN120902057A (en) * | 2025-10-11 | 2025-11-07 | 江苏泰力机械科技有限公司 | A rapid automatic drilling device for processing sealing components |
Citations (6)
| Publication number | Priority date | Publication date | Assignee | Title |
|---|---|---|---|---|
| CN204505888U (en) * | 2015-01-27 | 2015-07-29 | 昆山力比格液压设备有限公司 | A kind of slide unit hydraulic press |
| CN107867001A (en) * | 2017-11-10 | 2018-04-03 | 无锡瑞昌精密铸造有限公司 | Novel and multifunctional gate type hydraulic machine |
| CN108381987A (en) * | 2018-04-23 | 2018-08-10 | 郑州云启工业设备技术有限公司 | A kind of hydraulic press for processing |
| CN109332495A (en) * | 2018-11-15 | 2019-02-15 | 江苏纽克光谱科技有限公司 | A kind of press machine that machining accuracy is high |
| CN109746419A (en) * | 2019-03-05 | 2019-05-14 | 北京黄记煌餐饮管理有限责任公司 | Metal and stone material compound pot particular manufacturing craft |
| CN211161427U (en) * | 2019-11-07 | 2020-08-04 | 南通福马重型机床制造有限公司 | Multifunctional gate type hydraulic machine |
-
2019
- 2019-11-07 CN CN201911081614.6A patent/CN110666027A/en active Pending
Patent Citations (6)
| Publication number | Priority date | Publication date | Assignee | Title |
|---|---|---|---|---|
| CN204505888U (en) * | 2015-01-27 | 2015-07-29 | 昆山力比格液压设备有限公司 | A kind of slide unit hydraulic press |
| CN107867001A (en) * | 2017-11-10 | 2018-04-03 | 无锡瑞昌精密铸造有限公司 | Novel and multifunctional gate type hydraulic machine |
| CN108381987A (en) * | 2018-04-23 | 2018-08-10 | 郑州云启工业设备技术有限公司 | A kind of hydraulic press for processing |
| CN109332495A (en) * | 2018-11-15 | 2019-02-15 | 江苏纽克光谱科技有限公司 | A kind of press machine that machining accuracy is high |
| CN109746419A (en) * | 2019-03-05 | 2019-05-14 | 北京黄记煌餐饮管理有限责任公司 | Metal and stone material compound pot particular manufacturing craft |
| CN211161427U (en) * | 2019-11-07 | 2020-08-04 | 南通福马重型机床制造有限公司 | Multifunctional gate type hydraulic machine |
Cited By (4)
| Publication number | Priority date | Publication date | Assignee | Title |
|---|---|---|---|---|
| CN111230019A (en) * | 2020-03-11 | 2020-06-05 | 夏喜明 | Special forging and pressing equipment for coal mine hydraulic support cylinder barrel |
| CN118893862A (en) * | 2024-09-26 | 2024-11-05 | 福建泉州艺佳乐食品有限公司 | A pressing molding machine |
| CN120902057A (en) * | 2025-10-11 | 2025-11-07 | 江苏泰力机械科技有限公司 | A rapid automatic drilling device for processing sealing components |
| CN120902057B (en) * | 2025-10-11 | 2025-12-02 | 江苏泰力机械科技有限公司 | Quick automatic punching equipment for sealing member processing |
Similar Documents
| Publication | Publication Date | Title |
|---|---|---|
| CN211161427U (en) | Multifunctional gate type hydraulic machine | |
| CN110666027A (en) | Multifunctional gate type hydraulic machine | |
| CN101837410A (en) | Multipoint forming die based on solid particle medium back pressure | |
| CN107282812A (en) | A heat pipe radiator assembly device | |
| CN207952375U (en) | Automatic metal stamping die | |
| CN211588244U (en) | Stable single-punch die of unloading | |
| CN211539225U (en) | Stamping die of refrigerator sheet metal part | |
| CN211542145U (en) | Efficient full-automatic cylinder casing drawing of patterns mould | |
| CN218015362U (en) | Stamping device for metal processing | |
| CN101850388A (en) | Sheet metal forming die based on radial thrust and back pressure of solid particle medium | |
| CN207447049U (en) | A kind of stamping die with reciprocating | |
| CN207026168U (en) | Magnesium alloy cylindrical member extrudes preparation facilities repeatedly | |
| CN210701938U (en) | Stamping device for producing automobile hubs | |
| CN211071519U (en) | A wired earphone button forming mold | |
| CN207089363U (en) | A kind of Multifunctional punching part transfer device | |
| CN209830228U (en) | Front cover aluminum alloy die-casting mold | |
| CN209363438U (en) | A kind of insert reducing sidewall rebound | |
| CN201625726U (en) | Forming die with controllable drawbead plus radial thrust | |
| CN206561478U (en) | Novel brick molding press | |
| CN207026356U (en) | A heat pipe radiator assembly device | |
| CN207386556U (en) | A kind of powder metallurgy pressing die | |
| CN110608935A (en) | Formwork for tensile testing machine | |
| CN218798743U (en) | Die stamping damping mechanism | |
| CN221909427U (en) | Automobile part stamping die | |
| CN221754470U (en) | Aircraft skin soft forming machine |
Legal Events
| Date | Code | Title | Description |
|---|---|---|---|
| PB01 | Publication | ||
| PB01 | Publication | ||
| SE01 | Entry into force of request for substantive examination | ||
| SE01 | Entry into force of request for substantive examination | ||
| WD01 | Invention patent application deemed withdrawn after publication | ||
| WD01 | Invention patent application deemed withdrawn after publication |
Application publication date: 20200110 |
